|
|
(21), (22) Заявка: 2007145799/02, 10.12.2007
(24) Дата начала отсчета срока действия патента:
10.12.2007
(46) Опубликовано: 20.05.2009
(56) Список документов, цитированных в отчете о поиске:
SU 1541913 A1, 20.06.1997. SU 1732572 A1, 20.06.1997. SU 1827089 A1, 20.02.1996. RU 2152859 C1, 20.07.2000. DE 4114669 A1, 12.11.1992.
Адрес для переписки:
400131, г.Волгоград, пр-кт Ленина, 28, Отдел интеллектуальной собственности ВолгГТУ
|
(72) Автор(ы):
Писарев Сергей Петрович (RU), Трыков Юрий Павлович (RU), Шморгун Виктор Георгиевич (RU), Гуревич Леонид Моисеевич (RU), Проничев Дмитрий Владимирович (RU), Казак Вячеслав Фёдорович (RU), Донцов Дмитрий Юрьевич (RU), Самарский Дмитрий Сергеевич (RU)
(73) Патентообладатель(и):
Государственное образовательное учреждение высшего профессионального образования Волгоградский государственный технический университет (ВолгГТУ) (RU)
|
(54) СПОСОБ ПОЛУЧЕНИЯ ИЗДЕЛИЙ С ВНУТРЕННИМИ ПОЛОСТЯМИ СВАРКОЙ ВЗРЫВОМ
(57) Реферат:
Изобретение может быть использовано для изготовления изделий с внутренними полостями, например теплообменников, деталей электротермического и химического оборудования, теплорегуляторов и т.п. Полостеобразующие элементы размещают соосно внутри металлических трубчатых упрочняющих прослоек с внутренним диаметром, превышающим на 2,4-4 мм наружный диаметр полостеобразующих элементов. Из полученных сборок изготавливают плоский пакет под сварку взрывом и размещают его со сварочными зазорами между плакирующими пластинами толщиной, равной 1,5-1,7 толщины стенок трубчатых упрочняющих прослоек. Осуществляют сварку взрывом при скорости детонации взрывчатого вещества, равной 2190-2930 м/с, и регламентированных скоростных режимах соударения свариваемых деталей с получением при этом цельносварного изделия с внутренними полостями. Способ обеспечивает получение за один цикл сварки качественного цельносварного изделия из разнородных материалов с образованием между его элементами соединений высокой прочности и герметичности смежных полостей, при этом внутренние полости изделия имеют благоприятную овальную форму. 2 з.п. ф-лы, 5 ил., 1 табл.
Изобретение относится к технологии получения изделий сваркой взрывом и может быть использовано для изготовления изделий с внутренними полостями, например теплообменников, деталей электротермического и химического оборудования, теплорегуляторов и т.п.
Известен способ получения сверхпроводящих изделий с внутренней полостью с помощью энергии взрыва, при котором устанавливают соосно трубчатый полостеобразующий элемент с удаляемым наполнителем и трубчатую облицовку, в зазор между ними засыпают порошок сверхпроводящего материала и инициируют наружный заряд взрывчатого вещества, при этом для исключения повреждения поверхности трубчатой облицовки и повышения качества слоя из сверхпроводящего материала, между зарядом взрывчатого вещества и трубчатой облицовкой соосно размещают защитную трубчатую прослойку, между ней и трубчатой облицовкой в зазор засыпают тонкодисперсный керамический порошок, берут взрывчатое вещество со скоростью детонации 1580-3800 м/с, а процесс ведут при отношении удельной массы взрывчатого вещества к сумме удельных масс защитной трубчатой прослойки, тонкодисперсного керамического порошка, трубчатой облицовки и порошка сверхпроводящего материала, равном 0,51-0,81 (Патент РФ 1827089, М. кл. В23К 20/08, опубл. 20.02.96 в БИ 5-96).
Недостатком этого способа является использование в его схеме сварки взрывом лишь одного полостеобразующего элемента, что позволяет получать изделия цилиндрической формы лишь с одной внутренней полостью. Наличие прослойки из спрессованного керамического сверхпроводящего материала между наружной поверхностью медного полостеобразующего элемента и внутренней поверхностью трубчатой облицовки затрудняет теплообмен в поперечном направлении, что ограничивает применение изделий, полученных данным способом в теплообменной аппаратуре.
Известен способ получения сверхпроводящих изделий с внутренней полостью сваркой взрывом, при котором устанавливают соосно трубчатый полостеобразующий элемент с удаляемым водным наполнителем и наружную оболочку, в зазор между ними засыпают порошок сверхпроводящего материала и инициируют заряд взрывчатого вещества. При реализации способа между наружной поверхностью полостеобразующего элемента и слоем порошка сверхпроводящего материала помещают металлическую трубчатую упрочняющую прослойку из высокоэлектропроводного материала с внутренним диаметром на 2-4 мм большим наружного диаметра полостеобразующего элемента, при этом берут взрывчатое вещество (ВВ) со скоростью детонации 2400-3520 м/с, а процесс ведут при отношении удельной массы ВВ к сумме удельных масс наружной оболочки, порошка сверхпроводящего материала и упрочняющей прослойки, равном 1,0-1,2 (Патент РФ 1732572, опубл. 20.06.97, БИ 17/97, М. кл. В23К 20/08).
К недостаткам данного способа можно отнести возможность размещения в его схеме сварки взрывом лишь одного полостеобразующего элемента, что позволяет получать по этому способу лишь одноканальные изделия цилиндрической формы. Кроме того, наличие керамического слоя между наружной оболочкой и трубчатой упрочняющей прослойкой затрудняет теплообмен между наружным и и внутренним слоем композиционного изделия, а это весьма ограничивает возможности использования данного способа при создании деталей химического, электротермического оборудования и т.п., где требуются материалы с развитой наружной поверхностью и пониженным термическим сопротивлением.
Наиболее близким по техническому уровню и достигаемому результату является способ получения изделий с внутренними полостями сваркой взрывом, при котором устанавливают наружную металлическую облицовку в виде стальной трубчатой оболочки с зазором относительно плакируемой заготовки в виде пучка труб, например из меди, с водным наполнителем в их внутренних полостях. Между трубами помещают соединительные стержни из более легкоплавкого металла, чем медь, а сварку взрывом осуществляют с помощью заряда взрывчатого вещества, расположенного на поверхности плакирующей заготовки. После взрывного воздействия с целью увеличения площади сварных соединений проводят термообработку изделия при температуре на 5-20°С выше температуры ликвидуса металла соединительных стержней (Авторское свидетельство СССР 1541913, М. кл. В23К 20/08, опубл. в БИ 17-97).
Недостатком этого способа являются малые поперечные размеры изделия, что ограничивает их тепловую мощность, а также то, что в схеме установки плакирующей заготовки относительно плакируемой не создаются одинаковые условия деформирования трубчатых элементов на различных участках и, как следствие этого, в процессе сварки взрывом происходит лишь локальная сварка между соединяемыми элементами композиции. Для увеличения площади сварных соединений между составляющими композиционного изделия требуется дополнительная энергоемкая операция термической обработки, при которой соединительные стержни расплавляются и выполняют функции припоя. Но и после термообработки сварные соединения возникают не по всем поверхностям соприкосновения составляющих композита, что создает дополнительные термические сопротивления, затрудняющие теплообмен между веществами, располагаемыми в смежных внутренних полостях. Кроме того, высокотемпературная термообработка приводит к снижению прочности соединяемых металлов. В местах наибольших деформаций труб наблюдается повышенная шероховатость поверхностей внутренних каналов, что при эксплуатации изделий создает дополнительные гидравлические сопротивления жидкостям, прокачиваемым через внутренние каналы при эксплуатации изделий. Все это значительно ограничивает технологические области применения данного способа.
В связи с этим важнейшей задачей является создание нового способа получения плоских изделий с внутренними полостями сваркой взрывом по новой технологической схеме формирования импульсов давления в свариваемой заготовке с образованием сплошных зон сварки между боковыми поверхностями трубчатых полостеобразующих элементов и внутренними поверхностями трубчатых упрочняющих прослоек, качественных сварных соединений между плакирующими пластинами и трубчатыми упрочняющими прослойками, а также между смежными трубчатыми упрочняющими прослойками, с получением при этом высокой герметичности промежутков между смежными полостями и повышением их прочности.
Техническим результатом заявленного способа является создание новой технологической схемы сварки взрывом, обеспечивающей получение за один цикл сварки взрывом цельносварного изделия из разнородных материалов с образованием сплошных соединений между боковыми поверхностями трубчатых полостеобразующих элементов и внутренними поверхностями трубчатых упрочняющих прослоек, качественных сварных соединений между плакирующими пластинами и трубчатыми упрочняющими прослойками, а также между смежными трубчатыми упрочняющими прослойками, с получением при этом благоприятной овальной формы внутренних полостей, с обеспечением высокой прочности и герметичности промежутков между смежными полостями.
Указанный технический результат достигается тем, что в предлагаемом способе получения изделий с внутренними полостями сваркой взрывом, при котором используют полостеобразующие элементы в виде труб с удаляемым водным наполнителем, при котором полостеобразующие элементы размещают соосно внутри металлических трубчатых упрочняющих прослоек с внутренним диаметром, превышающим на 2,4-4 мм наружный диаметр полостеобразующих элементов, изготавливают из полученных сборок плоский пакет под сварку взрывом и размещают его со сварочными зазорами между плакирующими пластинами толщиной, равной 1,5-1,7 толщины стенок трубчатых упрочняющих прослоек, располагают на наружных поверхностях плакирующих пластин заряды взрывчатого вещества и осуществляют сварку взрывом путем одновременного инициирования взрыва зарядов взрывчатого вещества с направлением детонации вдоль полостеобразующих элементов, при этом процесс сварки ведут при скорости детонации взрывчатого вещества, равной 2190-2930 м/с, а сварочные зазоры между плакирующими пластинами и плоским пакетом, а также толщины зарядов взрывчатого вещества выбирают такими, чтобы скорость соударения плакирующих пластин с упрочняющими прослойками свариваемого плоского пакета была равной 390-645 м/с с получением при этом цельносварного изделия с внутренними полостями.
При осуществлении способа в качестве материала трубчатых упрочняющих прослоек используют латунь, а в качестве материала плакирующих пластин – нержавеющую сталь.
Новый способ получения изделий с внутренними полостями сваркой взрывом имеет существенные отличия по сравнению с прототипом как по физическим механизмам формирования сварных соединений между металлическими поверхностями в получаемом композиционном изделии, так и по совокупности технологических приемов и режимов их получения. Так, предложено полостеобразующие элементы размещать соосно внутри металлических трубчатых упрочняющих прослоек с внутренним диаметром, превышающим на 2,4-4 мм наружный диаметр полостеобразующих элементов, что обеспечивает необходимый сварочный зазор между поверхностями полостеобразующих элементов и трубчатых упрочняющих прослоек. При указанном сварочном зазоре ниже нижнего предела не происходит образование сплошных сварных соединений между поверхностями полостеобразующих элементов и трубчатых упрочняющих прослоек. Сварочный зазор выше предлагаемого верхнего предела является избыточным, поскольку это способствует излишнему разогреву металла упрочняющих прослоек в процессе деформирования и сварки, а это приводит к ухудшению качества получаемых изделий.
Предложено изготавливать из полученных сборок плоский пакет под сварку взрывом и размещать его симметрично со сварочными зазорами между плакирующими пластинами толщиной, равной 1,5-1,7 толщины стенок трубчатых упрочняющих прослоек, что обеспечивает в процессе сварки взрывом симметричное двухстороннее деформирование сборного плоского трубчатого пакета с наполнителем внутри полостеобразующих элементов. Плакирующие пластины повышают прочность получаемых изделий на изгиб, защищают изделия от повреждений при воздействии контактных нагрузок. Сварочные зазоры между плакирующими пластинами и плоским пакетом способствуют образованию качественных сварных соединений между металлом плакирующих пластин и трубчатых упрочняющих прослоек. При толщине плакирующих пластин менее 1,5 толщины стенок трубчатых упрочняющих прослоек возможно нарушение их сплошности в процессе сварки взрывом, что ухудшает качество получаемых изделий. Толщина плакирующих пластин более 1,7 толщины стенок трубчатых упрочняющих прослоек является избыточной, поскольку при эксплуатации изделия снижается эффективность теплообмена между веществами, находящимися во внутренних полостях и окружающей средой.
Предложено располагать на наружных поверхностях плакирующих пластин заряды взрывчатого вещества и осуществлять сварку взрывом путем одновременного инициирования взрыва зарядов взрывчатого вещества с направлением детонации вдоль полостеобразующих элементов, при этом процесс сварки вести при скорости детонации взрывчатого вещества, равной 2190-2930 м/с, а сварочные зазоры между плакирующими пластинами и плоским пакетом, а также толщины зарядов взрывчатого вещества выбирать такими, чтобы скорость соударения плакирующих пластин с упрочняющими прослойками свариваемого плоского пакета была равной 390-645 м/с, при этом в качестве материала трубчатых упрочняющих прослоек предложено использовать латунь, а в качестве материала плакирующих пластин использовать нержавеющую сталь, что обеспечивает получение цельносварного изделия с внутренними полостями.
При скорости детонации взрывчатого вещества и скорости соударения плакирующих пластин с упрочняющими прослойками свариваемого плоского пакета ниже нижнего предела не обеспечивается надежная сварка по всем поверхностям соприкосновения свариваемых металлов. При указанных скоростных режимах выше верхнего предела возможно плавление металла в зонах сварки, приводящее к снижению прочности и герметичности получаемых изделий. Возможно также нарушение сплошности свариваемых металлов.
Направление процесса детонации вдоль полостеобразующих элементов обеспечивает симметричную форму получаемых изделий, однородность процесса деформирования пакета при сварке и благодаря этому высокое качество сварных соединений. Латунь для изготовления трубчатых упрочняющих прослоек является наиболее подходящим материалом благодаря ее высокой прочности, а также теплопроводности. Нержавеющая сталь в качестве материала плакирующих пластин обеспечивает высокую прочность получаемых изделий при испытаниях на изгиб и повышает стойкость полученного изделия при воздействии агрессивных сред и повышенных контактных нагрузок.
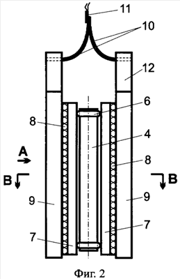
На фиг.1 изображена схема размещения полостеобразующего элемента в трубчатой упрочняющей прослойке, на фиг.2 – схема сварки взрывом изделий с внутренними полостями (вид сбоку), на фиг.3 – вид по стрелке А на фиг.1, на фиг.4 – поперечное сечение В-В схемы сварки взрывом, на фиг.5 – поперечное сечение сваренного изделия с внутренними полостями.
Предлагаемый способ получения изделий с внутренними полостями сваркой взрывом осуществляется в следующей последовательности. Очищают соединяемые металлические поверхности от окислов и загрязнений, заполняют каналы полостеобразующих элементов 1 водным наполнителем 2, а концы герметизируют герметиком 3, например пластилином. Размещают полостеобразующие элементы соосно внутри металлических трубчатых упрочняющих прослоек 4 с внутренним диаметром, превышающим на 2,4-4 мм наружный диаметр полостеобразующих элементов. Соосность обеспечивают с помощью центрирующих втулок 5. Собирают из полученных сборок плоский пакет под сварку взрывом и скрепляют его с помощью бандажей 6. Размещают пакет симметрично между двумя плакирующими пластинами с толщиной, равной 1,5-1,7 толщины стенок трубчатых упрочняющих прослоек 4. Сварочные зазоры между пакетом и плакирующими пластинами подбирают, изменяя толщину бандажной ленты. Укладывают на наружных поверхностях плакирующих пластин защитные прослойки 8 из высокоэластичного материала, например из резины, защищающие поверхности плакирующих пластин от повреждений продуктами взрыва, а на их поверхностях располагают заряды взрывчатого вещества 9 и осуществляют сварку взрывом путем одновременного инициирования взрыва зарядов взрывчатого вещества с помощью детонирующих шнуров 10 равной длины, электродетонатора 11 и генераторов плоской детонационной волны 12. Направление детонации в зарядах взрывчатого вещества осуществляется вдоль полостеобразующих элементов. Скорость детонации зарядов взрывчатого вещества должна быть равной 2190-2930 м/с. Ее регулируют путем изменения состава и толщины зарядов. Оба заряда должны быть с одинаковыми размерами и параметрами.
Сварочные зазоры между плакирующими пластинами и плоским пакетом, а также толщины зарядов взрывчатого вещества выбирают такими, чтобы скорость соударения плакирующих пластин с упрочняющими прослойками свариваемого плоского пакета была равной 390-645 м/с. В качестве материала трубчатых упрочняющих прослоек предложено использовать латунь, а в качестве материала плакирующих пластин – нержавеющую сталь. В сваренном изделии позиция 13 – сдеформированные полостеобразующие элементы, 14 – сдеформированные трубчатые упрочняющие прослойки, 15 – зоны сварки полостеобразующих элементов с трубчатыми упрочняющими прослойками, 16 – внутренние полости изделия, 17 – зоны сварки смежных трубчатых упрочняющих прослоек, 18, 19 – плакирующие слои, 20-21 – зоны сварки плакирующих пластин с трубчатыми упрочняющими прослойками.
В результате сварки взрывом получают цельносварное изделие с внутренними полостями со сплошными сварными соединениями между боковыми поверхностями трубчатых упрочняющих прослоек, с качественными сварными соединениями между плакирующими пластинами и трубчатыми упрочняющими прослойками, а также между смежными трубчатыми упрочняющими прослойками, обеспечивающими высокую прочность изделия при испытаниях на изгиб, с повышенной прочностью и герметичностью промежутков между смежными полостями. При этом получают изделия с гладкими внутренними поверхностями полостеобразующих элементов, с овальной формой поперечных сечений внутренних полостей. Удаление наполнителя из полостей после сварки взрывом происходит самопроизвольно под воздействием волн разгрузки.
Пример 1 (см. также таблицу).
В качестве полостеобразующих элементов для сборки плоского пакета используют трубы из меди Ml. Количество труб в пакете Nтр=10. Наружный диаметр труб Dнар=10 мм, внутренний – 6 мм. Длина труб – 250 мм. Заполнение полостей труб осуществляли водой, герметизацию концов труб – пластилином. В качестве трубчатых упрочняющих прослоек использовали трубы из латуни Л80 длиной 250 мм, с наружным диаметром Dн.пр=18 мм, внутренним Dв.пр=14 мм, что на 4 мм превышает наружный диаметр полостеобразующих элементов Dнар.Толщина стенки каждой трубчатой упрочняющей прослойки Туп=2 мм, количество прослоек в пакете Nпр=10. Размещают полостеобразующие элементы, заполненные водным наполнителем соосно внутри металлических трубчатых упрочняющих прослоек. Соосность обеспечивают центрирующими втулками, например, из алюминия АД1. Собирают из полученных сборок плоский пакет под сварку взрывом и скрепляют его с помощью бандажей. Размещают пакет симметрично между двумя плакирующими пластинами из стали 12Х18Н10Т длиной 270 мм, шириной 210 мм, толщиной Тп=3 мм, что составляет 1,5 Туп. Сварочные зазоры между плакирующими пластинами и плоским пакетом были равны h=1,5 мм. Укладывают на наружных поверхностях плакирующих пластин защитные прослойки из высоко эластичного материала – резины толщиной 2 мм. Ширина и длина прослоек соответствует размерам плакирующих пластин.
Располагают на наружных поверхностях защитных резиновых прослоек заряды взрывчатого вещества, в качестве которых использовали смесь аммонита 6ЖВ с аммиачной селитрой с объемным соотношением 1:3. Длина каждого заряда – 270 мм, высота Твв=60 мм, скорость детонации Dвв=2190 м/с. Синхронное инициирование фронтов детонации в зарядах взрывчатого вещества с направлением их движения вдоль труб осуществляют с помощью двух отрезков детонирующих шнуров равной длины, например 15-20 см, скрепленного с ними электродетонатора и генераторов плоской детонационной волны. При выбранных параметрах схемы сварки взрывом скорость соударения плакирующих пластин с упрочняющими прослойками свариваемого плоского пакета Vc=390 м/с.
После сварки взрывом удаляют с краев сваренных изделий материал с краевыми эффектами. В результате получают цельносварное изделие с внутренними полостями со сплошными сварными соединениями между боковыми поверхностями трубчатых полостеобразующих элементов и внутренними поверхностями трубчатых упрочняющих прослоек, с качественными сварными соединениями между плакирующими пластинами и трубчатыми упрочняющими прослойками, а также между смежными трубчатыми упрочняющими прослойками, с повышенной прочностью и герметичностью промежутков между смежными полостями. Предел прочности на растяжение таких промежутков в 1,25 раза больше, чем по прототипу. Повышенная герметичность промежутков между смежными полостями обеспечивается тем, что они состоят из четырех слоев металла, из которых два слоя из латуни и два – из меди. Повышенная прочность изделий на изгиб обеспечивается у полученного изделия наличием стальных плакирующих пластин.
Пример 2 (см. также таблицу).
То же, что в примере 1, но внесены следующие изменения. Количество полостеобразующих элементов и трубчатых упрочняющих прослоек в пакете Nтр=Nпр=11. Наружный диаметр трубчатых упрочняющих прослоек Dн.пр=14 мм, внутренний Dв.np=12,8 мм, что на 2,8 мм превышает Dнар. Туп=1,6 мм. Толщина плакирующих пластин Тп=2,5 мм, что составляет 1,6 Туп. Сварочные зазоры h=2,3 мм. В качестве зарядов взрывчатого вещества использовали смесь аммонита 6ЖВ с аммиачной селитрой с объемным соотношением 1:2, Твв=50 мм, скорость детонации
Dвв=2400 м/с, Vc=500 м/с.
Результаты получения изделий с внутренними полостями те же, что в примере 1.
Пример 3 (см. также таблицу).
То же, что в примере 1, но внесены следующие изменения. Nтр=Nпр=12. Dн.пр=14,8 мм, Dв.np=12,4 мм, что на 2,4 мм превышает Dнар. Толщина плакирующих пластин Тп=2 мм, что составляет 1,7 Туп. Сварочные зазоры между плакирующими пластинами и плоским пакетом h=2 мм. В качестве зарядов взрывчатого вещества использовали смесь аммонита 6ЖВ с аммиачной селитрой с объемным соотношением 1:1, высота заряда Твв=50 мм, скорость детонации Dвв=2930 м/с, скорость соударения плакирующих пластин с упрочняющими прослойками свариваемого плоского пакета Vc=645 м/с.


Результаты получения изделий с внутренними полостями те же, что в примере 1.
При получении изделий с внутренними полостями по прототипу, см. таблицу, пример 4, в результате сварки взрывом получают многоканальное изделие круглого сечения лишь с локальной сваркой металлических составляющих между собой. Кроме того, высокотемпературная термообработка изделий снижает прочность материалов изделий в результате процессов рекристаллизации. Внутренние поверхности полостеобразующих элементов шероховатые. Прочность перемычек между смежными полостями, а также их герметичность ниже, чем в изделиях, полученных по предлагаемому способу, что сужает возможные области применения данного способа в промышленности.
Формула изобретения
1. Способ получения цельносварного изделия с внутренними полостями сваркой взрывом, при котором используют полостеобразующие элементы в виде труб с удаляемым водным наполнителем, отличающийся тем, что полостеобразующие элементы размещают соосно внутри металлических трубчатых упрочняющих прослоек с внутренним диаметром, превышающим на 2,4-4 мм наружный диаметр полостеобразующих элементов, изготавливают из полученных сборок плоский пакет под сварку взрывом и размещают его симметрично со сварочными зазорами между плакирующими пластинами толщиной, равной 1,5-1,7 толщины стенок трубчатых упрочняющих прослоек, располагают на наружных поверхностях плакирующих пластин заряды взрывчатого вещества и осуществляют сварку взрывом путем одновременного инициирования взрыва зарядов взрывчатого вещества с направлением детонации вдоль полостеобразующих элементов, при этом процесс сварки ведут при скорости детонации взрывчатого вещества, равной 2190-2930 м/с, а сварочные зазоры между плакирующими пластинами и плоским пакетом, а также толщины зарядов взрывчатого вещества выбирают такими, чтобы скорость соударения плакирующих пластин с упрочняющими прослойками свариваемого плоского пакета была равной 390-645 м/с.
2. Способ по п.1, отличающийся тем, что в качестве материала трубчатых упрочняющих прослоек используют латунь.
3. Способ по п.1, отличающийся тем, что в качестве материала плакирующих пластин используют нержавеющую сталь.
РИСУНКИ
|
|