|
|
(21), (22) Заявка: 2005128544/02, 06.02.2004
(24) Дата начала отсчета срока действия патента:
06.02.2004
(30) Конвенционный приоритет:
14.02.2003 IT PD2003A000027
(43) Дата публикации заявки: 10.02.2006
(46) Опубликовано: 20.05.2009
(56) Список документов, цитированных в отчете о поиске:
US 6570128 A, 27.05.2003. SU 1333495 A1, 30.08.1987. SU 1291321 A1, 23.01.1987. SU 1542722 A1, 15.02.1990. US 5406051 A, 11.04.1995. ЕР 0602495 А, 22.06.1994.
(85) Дата перевода заявки PCT на национальную фазу:
14.09.2005
(86) Заявка PCT:
EP 2004/001102 20040206
(87) Публикация PCT:
WO 2004/071703 20040826
Адрес для переписки:
129090, Москва, ул. Б. Спасская, 25, стр.3, ООО “Юридическая фирма Городисский и Партнеры”, пат.пов. Ю.Д.Кузнецову, рег. 595
|
(72) Автор(ы):
РОЗЗЕТТО Джанни (IT), ТАККОН Даниэле (IT), МЕЛА Франко (IT)
(73) Патентообладатель(и):
СЕЛКО С.Р.Л. (IT)
|
(54) ГЕНЕРАТОР ДЛЯ ДУГОВОЙ СВАРКИ С ВЫСОКИМ КОЭФФИЦИЕНТОМ МОЩНОСТИ
(57) Реферат:
Изобретение относится к генератору для дуговой сварки с высоким коэффициентом мощности и может найти применение в дуговых сварочных аппаратах. Генератор состоит из каскада выпрямителя (100), за которым размещаются каскад PFC (200) и каскад инвертора (300), которые являются каскадами высокой частоты. Последний каскад подает питание на последний каскад выпрямителя для образования сварочной дуги (404). Каскад PFC (200) состоит из двух индукторов (203, 204), которые между собой имеют магнитную связь, двух диодов (212, 213), имеющих противоположное направление проводимости, двух выравнивающих конденсаторов (216, 217) и средств контроля последовательности включения и выключения двух первых выключателей таким образом, чтобы управлять формой волны тока, потребляемого каскадом выпрямителя, с приведением ее в соответствие с длиной волны линейного напряжения. Каскад инвертора включает в себя четыре триады вторых управляемых выключателей, диоды и конденсаторы, а также общее устройство управления четырех вторых выключателей и тока последней ступени, предназначенное для подачи мощности для создания сварочной дуги. Технический результат заключается в обеспечении возможности потребления из сети питания тока с высоким коэффициентом мощности, в невосприимчивости генератора к колебаниям напряжения сети питания. 5 з.п. ф-лы, 7 ил.
Область техники, к которой относится изобретение
Настоящее изобретение относится к генератору, применяемому в электросварочном аппарате, в частности настоящее изобретение относится к генератору, который преобразует однофазный или трехфазный переменный ток в постоянный ток, который управляется и адаптируется для сварочной дуги.
Уровень техники
Проблемы, возникающие в генераторах дуговых сварочных аппаратов, главным образом, связаны с низким коэффициентом мощности тока, потребляемого из сети питания.
Кроме этого, другим фактором, оказывающим отрицательное влияние на эффективность работы дугового сварочного аппарата, применяемого по известной схеме и способам, является непредсказуемое изменение напряжения питания.
Со ссылкой на уровень техники в качестве примера на фиг. 1 приводится классическая, широко применяемая схема электронного сварочного аппарата.
Схема включает в себя на стороне линии питания каскад 1 первого выпрямителя, состоящий только из диодов, за которыми стоит ряд выравнивающих конденсаторов 2.
Таким образом, выпрямленный и выровненный ток подается в блок инвертора 3, оборудованный высокочастотными электронными выключателями, через которые осуществляется питание первичной обмотки трансформатора 4.
Вторичная обмотка трансформатора 4 размещается за вторым каскадом 5 выпрямителя.
Ток на выходе со второго каскада 5 выпрямителя выравнивается с помощью индуктора 6 и обеспечивает питание сварочной дуги 7.
Генератор такого типа при работе потребляет из сети ток, имеющий характеристики типа, показанного на фиг. 2.
Сразу становится очевидным, что форма волны этого типа имеет высокую гармоническую составляющую, что приводит к низкому коэффициенту мощности.
В этой ситуации для того, чтобы обеспечить высокий уровень полезной мощности в дуге, необходимо потреблять высокое среднеквадратичное значение из сети питания.
Это оказывает существенное отрицательное влияние на сеть питания, поскольку высокая гармоническая составляющая и высокое среднеквадратичное значение потребляемого тока приводит к увеличению нагрева проводов и значительному искажению формы волны напряжения в линии питания, что, в свою очередь, увеличивает потери в ферромагнитном сердечнике подключенных трансформаторов.
Кроме этого, искажение формы волны вызывает значительные шумовые помехи в линии.
Также следует отметить, что в тех случаях, когда сварочные генераторы имеют ограниченную мощность, что имеет место при применении генераторов, предназначенных для питания систем бытового сектора, высокое значение потребляемого тока со среднеквадратичным значением вызывает срабатывание тепловой защиты в энергосистеме даже в том случае, когда мощность, подаваемая для создания сварочной дуги, является ниже, чем мощность, соответствующая нагрузке сопротивления.
Кроме этого, как уже отмечалось, генератор, работающий по схеме типа, показанного на фиг.1, неизбежно будет находиться под влиянием изменяемого напряжения питания, что будет существенно снижать показатели вышеуказанного генератора.
Учитывая эти проблемы, сварочные трансформаторы разрабатываются с дополнительными каскадами, что позволяет потреблять ток из сети питания с возможной синусоидой, т.е. генераторы рассчитываются на нагрузку сопротивления таким образом, чтобы потребитель мог использовать всю имеющуюся активную мощность.
Дополнительные каскады также автоматически адаптируют генератор к колебаниям напряжения в сети питания, обеспечивая надлежащие и устойчивые показатели генератора.
Генераторы со схемой такого типа могут быть типа, показанного на схеме, приведенной на фиг.3.
Такая схема четко показывает, что по сравнению со схемой, приведенной на фиг.1, дополнительно предусматривается каскад 8, размещаемый между блоком выпрямителя 1 и выравнивающим блоком 2.
Этот каскад, получивший название корректора коэффициента мощности (PFC), может предусматриваться при различных исполнениях.
Генераторы этого типа во всех случаях являются дорогостоящими и имеют сложную конструкцию, а зачастую являются определяющими при выборе компонентов, которые необходимы для того, чтобы выдержать высокое напряжение.
Сущность изобретения
Цель настоящего изобретения состоит в создании дугового сварочного генератора, потребляющего из сети питания ток с высоким коэффициентом мощности.
В рамках этой цели задача изобретения состоит в создании дугового сварочного генератора, который не был бы восприимчив к колебаниям напряжения, получаемого из сети питания.
Другая задача состоит в создании цепей, в которых можно было бы использовать недорогие и высокоэффективные компоненты.
Эта цель и эти задачи, а также другие задачи, которые в дальнейшем станут более очевидными, достигаются применением генератора для дугового сварочного аппарата, состоящего из каскада выпрямителя, в который подается питание из сети питания, с последующим размещением каскада PFC и каскада инвертора, оба – высокочастотного типа, при этом последний предназначен для питания выходного каскада для подачи мощности для создания сварочной дуги и характеризуется тем, что:
вышеуказанный каскад PFC состоит из двух индукторов, которые имеют магнитную связь между собой и размещаются последовательно на выходе из каскада выпрямителя; двух первых выключателей, управляемых высокой частотой, которые соединены между общей точкой соединения и двумя точками соединения соответственно на выходе обоих индукторов; двух диодов с двумя противоположными направлениями проводимости, которые соответственно соединены с точками соединения между выключателями и общими индукторами; двух выравнивающих конденсаторов, которые подключены к выходным точкам подключения вышеуказанных диодов и к общим вышеуказанным выключателям; средств, предусматриваемых для управления последовательностью включения и выключения двух вышеуказанных выключателей таким образом, чтобы придать току, потребляемому каскадом выпрямителя, форму, соответствующую форме волны напряжения в линии;
вышеуказанный каскад инвертора, в который подается питание между общими вышеуказанными выключателями высокой частоты и общей точкой соединения между вышеуказанными конденсаторами, включает в себя четыре триады, каждая состоящая из второго управляемого выключателя, диода и конденсатора, подключенного таким образом, чтобы образовались пять точек соединения, соответственно центральная точка соединения, две промежуточные точки соединения и две внешние точки соединения; при этом вышеуказанные точки соединения подключаются к точкам соединения между двумя первыми вышеуказанными выключателями и соответствующими диодами, подключаемыми к общему из двух первых электронных выключателей, соответственно с размещением между ними диода; при этом конденсатор подключается между вышеуказанными точками соединения; регулирующее устройство предусматривается для четырех вторых выключателей; ток для выходного каскада, подающего питание для создания сварочной дуги, поступает от общего из двух первых выключателей и центральной точки подключения вышеуказанных четырех триад вторых управляемых выключателей, диодов и конденсаторов.
Краткое описание чертежей
Другие характеристики и преимущества изобретения станут более очевидными после представления следующей подробной информации предпочтительного воплощения изобретения с иллюстрацией, представленной с приведением неисчерпывающих примеров на базе прилагаемых чертежей, в которых:
фиг. 1, 2, 3 и 4 – вид известных устройств и их рабочие схемы;
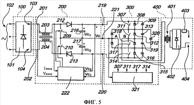
фиг. 5 – схема четырехкаскадного генератора по настоящему изобретению с иллюстрацией, в частности, его соединений;
фиг. 6 – подробный вид каскада PFC;
фиг. 7 – подробный вид каскада инвертора.
Способы реализации изобретения
Как показано на чертежах, генератор по изобретению в идеале может быть разделен на пять каскадов, которые соответственно обозначены ссылочной позицией 100 – для каскада питания от сети питания, ссылочной позицией 200 – для каскада PFC, ссылочной позицией 300 – для каскада инвертора и ссылочной позицией 400 – для каскада выхода и питания дуги.
Каскад 100 питания от сети питания включает в себя обычный выпрямительный блок с диодами 101, на который подается питание от сети 102 питания, которая может быть однофазной или трехфазной сетью.
Два провода выхода, обозначенные соответственно ссылочными позициями 103 и 104, выходят из каскада 101 и доходят до каскада PFC 200, переходя во входные провода 201 и 202.
Два индуктора 203 и 204 соответственно подключаются к входам 201 и 202 и имеют магнитную связь между собой.
Выводы обоих индукторов 203 и 204 обозначены ссылочными позициями 205 и 206 и подключаются соответственно к первой точке соединения 207 и второй точке соединения 208.
Первая клемма первого управляемого выключателя 209 подключается к точке подключения 207, а первая клемма второго управляемого выключателя 210 подключается к точке подключения 208.
Вторая клемма первого управляемого выключателя 209 и вторая клемма второго управляемого выключателя 210 подключаются к общей точке подключения 211.
Первая клемма первого диода 212 подключается к точке подключения 207, а первая клемма второго диода 213 подключается к точке подключения 208, причем два диода имеют противоположное направление проводимости.
Вторая клемма первого диода 212 подключается к точке подключения 214, а вторая клемма второго диода 213 подключается к точке подключения 215.
Первая клемма первого выравнивающего конденсатора 216 подключается к точке подключения 214, а первая клемма второго выравнивающего конденсатора 217 подключается к точке подключения 215.
Оба конденсатора 216 и 217 размещаются таким образом, чтобы обеспечить взаимно противоположную полярность, а их вторые клеммы подключаются к точке подключения 218, которая подключается к точке подключения 211.
Каскад PFC 200 имеет три провода выхода, соответственно провод 219, подключенный к точке подключения 214, и провод 220, подключенный к точке подключения 215, а также провод 221, подключенный к точке подключения 218.
Каскад 200 имеет устройство управления 222, которое управляет включением и отключением выключателей 209 и 210, которые являются устройствами с высокочастотным управлением (биполярный транзистор с изолированным затвором (IGBT) или полевой транзистор со структурой металл-окисел-полупроводник (MOSFET)).
Устройство 220 получает сигнал напряжения Vвход от входа 201 через подключение 223, токовый сигнал Iвход от провода 205 через подключение 224, сигнал напряжения Vc1 от точки подключения 214 или от конденсатора 216 через подключение 225 и сигнал напряжения Vc2 от точки подключения 215 или от конденсатора 217 через подключение 226.
На чертеже подключения 227 и 228 обозначают управление выключателями 209 и 210.
С помощью соответствующего управления последовательным включением и отключением двух выключателей 209 и 210 устройство управления 222 контролирует ток, потребляемый выпрямительным каскадом питания 100, создавая такую его форму, которая соответствует форме волны в линии напряжения, полученную от сигнала Vвход, таким образом, чтобы искажение было очень низким, а коэффициент мощности был очень высоким.
При включении выключателей 209 и 210 ток в индукторах 203 и 204 повышается с градиентом, который равен
Vвход/(L1+L2+М12),
где M12 – коэффициент, который учитывает подключение двух индукторов, тогда как диоды 212 и 213 отключены, а соответственно L1, L2 соответствуют индукторам 203 и 204.
При отключении выключателей 209 и 210 ток поступает в 203, 212, 216, 217, 213 и 204 таким образом, чтобы произвести зарядку выравнивающих конденсаторов 216 и 217 и снизить градиент, равный
– [Vвход – (Vc1 + Vc2)]/(L1 + L2 + M12).
С помощью соединения между точкой подключения 211 и точкой подключения 218 или между двумя выключателями 209 и 210 с двумя конденсаторами 216 и 217, которые имеют равное емкостное сопротивление, напряжение, подаваемое на каждый выключатель, равно Vc/2, что составляет половину от напряжения, которое возникает при схеме нормального размещения, известной как каскад PFC.
Это позволяет использовать выключатели, имеющие меньшее напряжение пробоя, и по причинам, связанным с технологией изготовления электронных выключателей, позволяет работать при больших значениях коммутационной частоты, последовательно позволяя снижать значения индукторов 203 и 204 и улучшать управление током, потребляемым из сети питания.
Насколько известно, с повышением напряжения пробоя в электронных выключателях собственное время коммутации вышеуказанных выключателей также увеличивается, а следовательно, возрастает необходимость снизить коммутационную частоту для ограничения мощности, рассеиваемой вышеуказанными выключателями.
Каскад инвертора 300 имеет высокую коммутационную частоту и включает в себя первую внешнюю точку подключения 301, которая соединяется с проводом выхода 219 каскада PFC; вторую внешнюю точку подключения 302, которая подключается к выходному проводу 220; первую промежуточную точку подключения 303, которая подключается к выходному проводу 221 с промежуточным расположением диода 304; и вторую промежуточную точку подключения 305, которая подключается к выходному проводу 221 с промежуточным диодом 306.
Диоды 304 и 306 размещаются таким образом, чтобы обеспечивалась проводимость в противоположном направлении.
Первая триада компонентов с параллельным размещением, образованная управляемым выключателем 307, диодом 308 и конденсатором 309, располагается между первой внешней точкой подключения 301 и первой промежуточной точкой подключения 303.
Вторая триада компонентов с параллельным размещением, образованная управляемым выключателем 311, диодом 312 и конденсатором 313, располагается между первой промежуточной точкой подключения 303 и центральной точкой подключения 310.
Аналогично триада компонентов с параллельным размещением, образованная третьим управляемым выключателем 314, диодом 315 и конденсатором 316, располагается между второй внешней точкой подключения 302 и второй промежуточной точкой подключения 305.
Триада компонентов с параллельным размещением, образованная четвертым управляемым выключателем 317, диодом 318 и конденсатором 319, располагается между второй промежуточной точкой подключения 305 и центральной точкой подключения 310.
Предусматривается также конденсатор 320, который подключается между двумя промежуточными точками подключения 303 и 305.
Каскад инвертора 300 также имеет устройство управления 321 для включения и отключения четырех управляемых выключателей 307, 311, 317 и 314.
С помощью подключения между точкой подключения 312, являющейся общей для диодов 304 и 306, и точкой подключения 218 максимальное напряжение, действующее на каждый управляемый выключатель, делится на два.
Такая ситуация позволяет использовать компоненты, имеющие более высокую коммутационную частоту и скорость, чем цепи, применяемые при известной схеме размещения таким образом, что можно уменьшить размеры магнитных компонентов.
Принимая во внимание соединение между каскадом 200 PFC и каскадом 300 инвертора с помощью проводов 219, 221 и 220 с использованием соответствующего управления включением и отключением выключателей, можно контролировать балансировку напряжения на конденсаторах 216 и 217 таким образом, чтобы исключить нарушение управления сварочным током.
Питание каскада 400 осуществляется от точки подключения 322 и точки подключения 310, с которыми связана первичная обмотка трансформатора 401, при этом вышеуказанный трансформатор подает питание на выпрямитель 402, с выхода которого подается питание на сварочную дугу 404 с промежуточным размещением индуктора 403.
Раскрытие заявки на патент Италии, на приоритет по которой притязает настоящая заявка на патент, включено в настоящее описание во всей своей полноте в качестве ссылки.
Формула изобретения
1. Генератор для дугового сварочного аппарата, состоящий из каскада выпрямителя, получающего питание от сети (100) питания, за которым размещаются каскад корректора коэффициента мощности (200) (PFC) и каскад (300) инвертора, причем оба являются каскадами высокой частоты, при этом последний подает питание на каскад (400) выхода для подачи мощности на сварочную дугу (404), отличающийся тем, что вышеуказанный каскад (200) PFC состоит из двух индукторов (203, 204), которые имеют между собой магнитную связь и размещаются последовательно на выходе из каскада (100) выпрямителя, двух первых высокочастотных управляемых выключателей (209, 210), соединенных между общей точкой подключения (211) и двумя точками подключения (207, 208) соответственно на выходе двух индукторов (203, 204), двух диодов (212, 213), имеющих противоположное направление проводимости, которые соответственно подключены к точкам подключения (207, 208) между выключателями (209, 210) и связанными между собой индукторами (203, 204), двух выравнивающих конденсаторов (216, 217), которые подключены к выходным точкам (214, 215) подключения вышеуказанных диодов (212, 213) и общей точке (211) подключения вышеуказанных первых выключателей (209, 210), устройство (222) управления, предоставляемое для управления последовательностью включения и отключения двух вышеуказанных выключателей (209, 210) таким образом, чтобы создать форму волны тока, потребляемого каскадом выпрямителя, в соответствии с формой волны линейного напряжения, вышеуказанный каскад инвертора (300), питание которого осуществляется между общей точкой (211) подключения первых вышеуказанных высокочастотных выключателей (209, 210) и общей точкой (218) подключения между вышеуказанными конденсаторами (216, 217), включает в себя четыре триады, каждая из которых состоит из второго управляемого выключателя (307, 311, 317, 314), диода (308, 312, 318, 315) и конденсатора (309, 313, 319, 316), подключенных таким образом, чтобы образовывалось пять точек подключения: соответственно центральная точка (310) подключения, две промежуточные точки подключения (303, 305) и две внешние точки (301, 302) подключения, при этом вышеуказанные внешние точки (301, 302) подключения подключаются к точкам подключения между вышеуказанными выключателями (209, 210) и соответствующими диодами (212, 213), вышеуказанные промежуточные точки (303, 305) подключения подключаются к общей точке (211) подключения вышеуказанных двух первых электронных выключателей (209, 210) соответственно, с промежуточным расположением диода (304, 306), конденсатора (320), подключаемого между вышеуказанными промежуточными точками (303, 305) подключения, управляющего устройства (321), также предусматриваемого для включения и отключения четырех вторых выключателей (307, 311, 317 314), причем ток для выходного каскада (400), который подается для создания сварочной дуги, проходит между точкой, расположенной между общей точкой (211) подключения двух первых выключателей (209, 210) и центральной точкой (310) подключения вышеуказанных четырех триад вторых управляемых выключателей (307, 311, 317, 314), диодов (308, 312, 318, 315) и конденсаторов (309, 313, 319, 316).
2. Генератор по п.1, характеризующийся тем, что сеть питания может быть однофазной или трехфазной сетью.
3. Генератор по п.1, характеризующийся тем, что вышеуказанные первые два выключателя (209, 210) являются выключателями типа биполярный транзистор с изолированным затвором (IGBT).
4. Генератор по п.1, характеризующийся тем, что два вышеуказанных первых выключателя (209, 210) являются выключателями типа полевой транзистор со структурой металл-окисел-полупроводник (MOSFET).
5. Генератор по п.1, характеризующийся тем, что вышеуказанное устройство (222) управления, которое управляет включением и отключением вышеуказанных первых выключателей (209, 210), получает сигнал (Vвход.) напряжения от первого входа (201) каскада (200) PFC, сигнал (Iвход.) тока от упомянутых двух индукторов (203, 204), которые имеют между собой магнитную связь, каскада (200) PFC, сигнал (Vc1) напряжения от первого из упомянутых двух выравнивающих конденсаторов (216) и сигнал (Vc2) напряжения от второго из упомянутых двух выравнивающих конденсаторов (217) и управляет током, потребляемым выпрямительным каскадом питания (100), устанавливая форму волны, полученной от сигнала (Vвход.) напряжения от первого входа (201) каскада (200) PFC, таким образом, чтобы снизить искажение и получить максимально высокий коэффициент мощности.
6. Генератор по п.1, характеризующийся тем, что вышеуказанные два диода (304, 306) каскада (300) инвертора имеют общую точку (322), которая подключается к точке (218) подключения каскада (200) PFC.
РИСУНКИ
|
|