|
|
(21), (22) Заявка: 2007145701/02, 10.12.2007
(24) Дата начала отсчета срока действия патента:
10.12.2007
(46) Опубликовано: 20.05.2009
(56) Список документов, цитированных в отчете о поиске:
СУЧКОВ O.K. Технология конструкционных материалов. – М.: Колос, 1978, с.231. SU 1688291 A1, 30.10.1991. SU 1737526 A1, 30.05.1992. SU 980172 A, 10.12.1982. SU 792295 A, 30.12.1980. RU 2208858 C1, 20.07.2003. RU 2262763 C2, 20.10.2005. RU 2115967 С1, 20.07.1998. JP 60-150611 A, 08.08.1985. JP 59-217308 A, 07.12.1984.
Адрес для переписки:
350044, г.Краснодар, ул. Калинина, 13, КГАУ, ПИО
|
(72) Автор(ы):
Тарасенко Борис Федорович (RU), Богатырев Николай Иванович (RU), Ачмиз Аскер Исмаилович (RU), Медведев Евгений Иванович (RU)
(73) Патентообладатель(и):
Федеральное государственное образовательное учреждение высшего профессионального образования “Кубанский государственный аграрный университет” (RU)
|
(54) УСТРОЙСТВО ДЛЯ ПИТАНИЯ СВАРОЧНОЙ ДУГИ
(57) Реферат:
Изобретение относится к области электромашиностроения, в частности к устройствам для питания сварочной дуги, и может найти использование в сварочном оборудовании. Устройство включает замкнутый магнитопровод с первичной и вторичной обмотками и механизм перемещения. Магнитопровод выполнен в виде двух полых П-образных изготовленных из жаростойкой пластмассы трубчатых половин, вставленных друг в друга. Трубчатые половины заполнены смесью масла и ферромагнитного порошка с высокой коэрцитивной силой. Магнитопровод оснащен магнитостриктором с излучающим элементом, который расположен внутри горизонтальной части нижней трубчатой половины. Верхняя трубчатая половина снабжена патрубком с краном. На второй нижней половине расположены обмотки, а в месте стыка половин установлены сальники. В результате достигается снижение шума за счет смеси масла и ферромагнитного порошка с высокой коэрцитивной силой и снижение металлоемкости. 2 ил.
Изобретение относится к области электромашиностроения, в частности к устройствам для питания сварочной дуги.
Известен сварочный трансформатор (см. учебник: технология конструкционных материалов / Под редакцией Г.А.Прейса, головное издательство издательского объединения «Высшая школа», 1984, с.141-142), включающий два O-образных железных магнитопровода, при этом каждый магнитопровод выполнен в виде пакета пластин, изготовленных из магнитомягкого материала (электротехнической стали). Первый магнитопровод оснащен первичной и вторичной обмотками, а второй магнитопровод – дроссельной обмоткой, включенной последовательно в цепь вторичной обмотки. Ток в трансформаторе этого типа регулируется изменением величины самоиндукции дросселя за счет увеличения или уменьшения воздушного зазора между подвижной и неподвижной частями, которыми оборудован второй магнитопровод.
Недостатками данного устройства являются: высокая металлоемкость, а также то, что его конструкция представлена двумя раздельными механизмами, что ухудшает портативность, высокий шум при работе, низкий диапазон регулирования сварочного тока, низкая эксплуатационная надежность, заключающаяся в ухудшении рабочих свойств трансформатора при внешних воздейсвиях на сердечники, которые неизбежны при транспортировке.
Наиболее близким по технической сущности и достигаемому экономическому эффекту является сварочный трансформатор типа ТС-300 (500), ТД-300 (500) (см. О.К.Сучков. Технология конструкционных материалов, «Колос», 1978 с.231), включающий O-образный магнитопровод, представленный пакетом магнитомягких стальных пластин, оснащенный первичной и вторичной обмотками, при этом вторичная выполнена подвижной при помощи механизма передвижения. Регулировка сварочного тока достигается за счет сближения или удаления обмоток друг от друга.
К недостаткам данного устройства относятся: высокий шум и металлоемкость, сердечник не должен подвергаться ударам, невысокий диапазон регулирования сварочного тока, большие габариты.
Техническим решением задачи является снижение шума и металлоемкости, повышение эксплуатационной надежности, увеличение диапазона регулирования сварочного тока и уменьшение массогабаритиных показателей.
Техническое решение задачи осуществляется тем, что в устройстве для питания сварочной дуги, включающем замкнутый магнитопровод с первичной и вторичной обмотками и механизм перемещения, согласно изобретению магнитопровод выполнен в виде двух полых П-образных изготовленных из жаростойкой пластмассы трубчатых половин, вставленных друг в друга и заполненных смесью масла и ферромагнитного порошка с высокой коэрцитивной силой, и оснащен магнитостриктором с излучающим элементом, расположенным внутри горизонтальной части трубчатой половины, при этом верхняя трубчатая половина снабжена патрубком с краном, на второй нижней половине расположены обмотки, с одной из которых соединен магнитостриктор, а в месте стыка половин установлены сальники.
Новизна технического решения обусловлена тем, что за счет конструктивных особенностей достигается снижение шума за счет смеси масла и ферромагнитного порошка с высокой коэрцитивной силой, снижение металлоемкости за счет двух полых П-образных трубчатых половин, изготовленных из жаростойкой пластмассы.
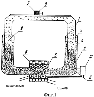
Сущность изобретения поясняет чертежами, где на фиг. 1 – устройство в нерабочем состоянии, смесь нераспределена по магнитопроводу, на фиг.2 – устройство в рабочем состоянии, где смесь распределена равномерно по магнитопроводу.
Устройство для питания сварочной дуги состоит из оболочки, выполненной в виде двух пустотелых трубчатых П-образных изготовленных из маслостойких и жаростойких пластмасс половин 1 и 2. Половины 1 и 2 вставлены друг в друг по принципу труба в трубе. Половины 1 и 2 оснащены сальниками 3, 4. На половине 2, намотана первичная 5 и вторичная 6 обмотки. Половина 1 в верхней части имеет патрубок 7 с краном 8. Через патрубок 7 и кран 8 оболочка заполняется смесью масла (растительного или минерального) с ферромагнитным порошком с высокой коэрцитивной силой, выполняющей роль магнитопровода 9. Причем магнитопровод 9 оснащен магнитостриктором 10 с излучающим устройством 11, который размешивает и распределяет смесь равномерно в магнитопроводе 9. Консистенция смеси масла и ферромагнитного порошка обеспечивает подвижность жидкого магнитопровода 9.
Устройство работает следующим образом. При подаче переменного напряжения 380 или 220 В на первичную обмотку 5 в магнитопроводе 9 создается переменный магнитный поток, который во вторичной обмотке 6 наводит эдс; обмотка 6 включена в сварочную цепь, при опущенной второй половине 1 сечения магнитопровода 9 одинаковы, тогда сварочный ток, например 300 А, – ток максимальный. При сварке меньшим током поднимаем вторую половину 1, уменьшаем площадь сечения магнитопровода и тем самым уменьшаем сварочный ток.
При включении магнитостриктора 10 с излучающим устройством 11 внутри половин 1 и 2 происходит смешивание масла с порошком. Осевший порошок перемешивается за счет излучающего устройства 11, где ультразвук представляет собой периодические механические колебания среды, колебания в упругой среде распространяются в виде волн давления. Ультразвуковые колебания сопровождаются некоторыми вторичными эффектами, используемыми для воздействия на технологические объекты.
В нерабочем состоянии под действием силы тяжести ферромагнитный порошок оседает на дно. Для равномерного распределения порошка в масле включают магнитостриктор 10 с излучающим устройством 11, который смешивает смесь масла с ферромагнитным порошком с высокой коэрцитивной силой и распределяет смесь равномерно в магнитопроводе 9.
Формула изобретения
Устройство для питания сварочной дуги, включающее замкнутый магнитопровод с первичной и вторичной обмотками и механизм перемещения, отличающееся тем, что магнитопровод выполнен в виде двух полых, П-образных, изготовленных из жаростойкой пластмассы трубчатых половин, вставленных друг в друга и заполненных смесью масла и ферромагнитного порошка с высокой коэрцитивной силой, и оснащен магнитостриктором с излучающим элементом, который расположен внутри горизонтальной части нижней трубчатой половины, при этом верхняя трубчатая половина снабжена патрубком с краном, на второй нижней половине расположены обмотки, а в месте стыка половин установлены сальники.
РИСУНКИ
|
|