|
|
(21), (22) Заявка: 2007134803/02, 18.09.2007
(24) Дата начала отсчета срока действия патента:
18.09.2007
(46) Опубликовано: 20.05.2009
(56) Список документов, цитированных в отчете о поиске:
DE 2903873 A1, 30.08.1979. SU 1590238 A1, 07.09.1990. SU 1811447 A3, 23.04.1993. SU 911152 A1, 07.03.1982. GB 2260725 A, 28.04.1993.
Адрес для переписки:
450055, Башкортостан, г.Уфа, пр-кт Октября, 150, кв.56, Р.М.Салахутдинову
|
(72) Автор(ы):
Зайцев Александр Николаевич (RU), Салахутдинов Ринат Мияссарович (RU), Косарев Тимофей Владимирович (RU), Зайцев Вячеслав Александрович (RU)
(73) Патентообладатель(и):
Общество с ограниченной ответственностью “ТИТАН ЕСМ” (RU)
|
(54) УСТРОЙСТВО ДЛЯ ЭЛЕКТРОХИМИЧЕСКОЙ ОБРАБОТКИ
(57) Реферат:
Изобретение относится к технологическому оборудованию для электрохимической обработки, в частности размерной обработки вибрирующим электродом-инструментом полостей штампов и пресс-форм, пера турбинных лопаток, а также электрохимического гравирования. Устройство для электрохимической обработки с периодическим изменением межэлектродного зазора, содержащее привод подач, состоящий из двигателя, ходового винта, гайки, и пиноль с датчиком перемещений, установленные с возможностью вертикального перемещения по направляющим портальной стойки, при этом внутри пиноли на центрирующих мембранах подвешен электрододержатель, жестко соединенный со штоком шатуна, приводимого от эксцентрикового вала электромеханического вибратора. Устройство также снабжено малоинерционным приводом микроперемещений и датчиком колебаний электрододержателя относительно пиноли, при этом шток шатуна выполнен полым и прикреплен к электрододержателю и центрирующим мембранам посредством охватывающего цилиндрического стакана и гильзы. Устройство позволяет увеличить точность и производительность обработки за счет возможности подачи импульса тока в строго синхронной последовательности на оптимальном МЭЗ и давлении электролита. 2 з.п. ф-лы, 2 ил.
Устройство относится к технологическому оборудованию для электрохимической обработки, в частности размерной обработки вибрирующим электродом инструментом полостей штампов и пресс-форм, пера турбинных лопаток, а также электрохимического гравирования.
Известно устройство для электрохимической обработки, содержащее отдельный привод подач обрабатываемой заготовки, а периодическое изменение межэлектродного зазора (МЭЗ) обеспечивается вибратором, содержащим связанный с электродвигателем эксцентриковый вал, соединенный посредством упругой рессоры шатуна со штосселем, несущим электрод-инструмент (каталог товаров Троицкого станкостроительного завода, электрохимический копировально-прошивочный станок модели 4420Ф11М).
Известно также устройство, реализующее способ размерной электроэрозионно-химической обработки (А.с. СССР 1148737, МКИ 5 В23Н 5/02, 1985.04.07), содержащее возбуждаемый от ультразвукового генератора магнитострикционный вибратор с державкой электрода-инструмента, выполненной в виде концентратора, которые обеспечивают периодическое изменение МЭЗ.
Известно также устройство контроля для электрохимической обработки вибрирующим электродом-инструментом, содержащее датчик измерения амплитуды вибрации, связанный с блоком управления источником технологического тока, которое после отключения подачи устанавливает необходимость продления обработки до совпадения измеряемой амплитуды колебаний инструмента с заданной (а.с. СССР 1164814, МКИ 5 В23Н 7/18, 1985, 06.30).
Наиболее близким по технической сущности и достигаемому результату к заявляемому является устройство для электрохимической обработки с использованием импульсного тока, обеспечивающее периодическое изменение МЭЗ, содержащее двигатель привода подач электрода-инструмента, ходовой винт, гайку и вертикально перемещаемую по направляющим портальной стойки пиноль, внутри которой на центрирующих мембранах подвешен электрододержатель, жестко соединенный со штоком шатуна, приводимого от эксцентрикового вала, электромеханического вибратора (патент DE 2903873, В23Н 7/30, 1979.08.30).
Недостатком известных устройств для электрохимической обработки с вибрацией электрода-инструмента является неопределенность положения электрода-инструмента в момент подачи импульсов технологического тока, сложность поддержания в процессе обработки постоянной амплитуды колебаний и минимального фиксированного значения МЭЗ в связи с наличием большого числа кинематических звеньев, податливости и инертности исполнительных механизмов, влиянием температурных деформаций.
Задачей изобретения является увеличение точности и производительности обработки вибрирующим электродом-инструментом за счет возможности подачи импульса тока в строго синхронной последовательности на оптимальном МЭЗ и давлении электролита и улучшения условий прокачки электролита и эвакуации продуктов анодного растворения, а также повышения эффективности защиты электрода-инструмента от коротких замыканий и сопутствующих повреждений.
Поставленная задача решается тем, что в устройстве для электрохимической обработки с периодическим изменением межэлектродного зазора, содержащем привод подач, состоящий из двигателя, ходового винта, гайки, датчика перемещений, пиноли, с возможностью вертикального перемещения по направляющим портальной стойки, при этом внутри пиноли на центрирующих мембранах подвешен электрододержатель, жестко соединенный со штоком шатуна, приводимого от эксцентрикового вала, электромеханического вибратора, в отличие от прототипа введен малоинерционный привод микроперемещений, датчик колебаний электрододержателя относительно пиноли, при этом шток шатуна выполнен полым и прикреплен к электрододержателю и центрирующим мембранам через охватывающий цилиндрический стакан и гильзу.
Кроме того, малоинерционный привод микроперемещений может быть выполнен в виде магнитострикционного преобразователя.
Кроме того, малоинерционный привод микроперемещений может быть выполнен в виде пьезоактюатора.
Шток шатуна выполнен полым для подвода электролита к электрододержателю, что обеспечивает стабилизацию температуры вибратора и охлаждение привода микроперемещений. Крепление штока шатуна к электрододержателю через охватывающий стакан обеспечивает компенсацию температурных деформаций.
Сущность изобретения заключается и в том, что для снижения ошибок от кинематических зазоров, податливости, компенсации температурных деформаций звеньев привода подач и вибратора, сохранения стабильной амплитуды колебательного движения электрода-инструмента, поддержания фиксированного минимального значения МЭЗ и стабилизации подачи импульсов технологического тока, помимо датчика перемещения пиноли, используется датчик, который контролирует возвратно-поступательные перемещения электрододержателя относительно пиноли, и при отклонении их размаха от заданных значений, изменение МЭЗ, корректируется работой встроенного привода микроперемещений, обеспечивая синхронизацию подачи импульса технологического тока на фиксированном минимальном зазоре. Для увеличения скорости прокачки электролита через МЭЗ, при отводе электрода-инструмента от заготовки, привод микроперемещений генерирует колебания ультразвуковой частоты, что улучшает условия эвакуации продуктов электрохимической обработки из МЭЗ (А.с. СССР 1013183, МКИ 5 В23Р 1/04, 1983.04.23).
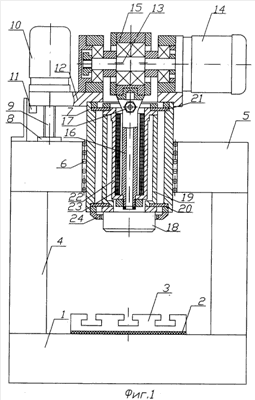
На фиг.1 показан общий вид, а на фиг.2 – функциональная схема устройства для электрохимической обработки с магнитострикционным приводом перемещений.
Устройство содержит основание 1, на котором через изоляционную проставку 2 установлен стол 3, закреплены стойки 4, стянутые поперечиной 5, на которой расположены направляющие 6 пиноли 7 и привод подач, содержащий гайку 8, ходовой винт 9 и электродвигатель 10. Подача пиноли контролируется датчиком перемещений 11. На верхнем торце пиноли 7 смонтирована плита 12, несущая электромеханический вибратор, который содержит эксцентриковый вал 13, соединенный с электродвигателем 14 и через подшипники с шатуном 15, в полый шток 16 которого ввернут штуцер 17 для подачи электролита. Электрододержатель 18 закреплен к гильзе 19, которая центрируется в отверстии пиноли 7 с помощью двух мембран 21 и 22. К верхнему торцу гильзы 19 притянут фланец стакана 22, к нижнему торцу которого жестко закреплен полый шток 16 шатуна 15. Между полым штоком 16 и стаканом 22, которые изготовлены из материалов с различными знаками магнитострикции и образуют выполненный по дифференциальной схеме составной активный элемент, размещена обмотка возбуждения 23 магнитострикционного преобразователя. Датчик колебаний 24 контролирует колебания электрододержателя относительно пиноли. Датчик перемещений 11 пиноли и датчик колебаний 24 электрододержателя соединены (фиг.2) со входом блока управления 25, выходы которого подключены к источнику питания 26 магнитострикционного преобразователя 27, ультразвуковому генератору 28 и источнику технологического тока 29.
Устройство для электрохимической обработки работает следующим образом. Зазор между установленной на столе 3 обрабатываемой деталью и закрепленным в электрододержателе 18 электродом-инструментом обеспечивается в результате сложения движения подачи пиноли 7 по направляющим 6, осуществляемого от двигателя 10 вращением ходового винта 9 в гайке 8 с возвратно-поступательным движением электрододержателя 18 от вибратора, приводимого двигателем 14, вращающим эксцентриковый вал 13, сопряженный через подшипники с шатуном 15. Полый шток 16 шатуна 15 жестко закреплен в стакане 22, фланец которого стянут с гильзой 19, подвижно сцентрированной вместе с электрододержателем 18, в пиноли 7 с помощью мембран 20, 21.
Противодействующая подаче электрода-инструмента сила давления электролита меняет заданные по условиям точности и производительности электрохимического формообразования минимальные значения и амплитуду колебаний МЭЗ. Фиксируемая датчиками колебаний 24 и перемещений 11 величина отклонения заданного МЭЗ регистрируется блоком управления 25, который формирует управляющие воздействия на источник питания 26 обмотки возбуждения 23 магнитострикционного преобразователя 27. Под действием магнитного поля в результате сложения изменения длин обоих активных элементов устанавливается МЭЗ, оптимальный для подачи импульса от источника технологического тока 29.
В случае соприкосновения обрабатываемой детали с электродом-инструментом через токонепроводящую среду, которая может возникнуть при непромыве продуктов анодного растворения или появлении пассивационных пленок появляется несоответствие МЭЗ заданному, которое также фиксируется датчиком перемещений 11 и датчиком колебаний 24. При этом блок управления 25 формирует изменения напряженности магнитного поля магнитострикционного преобразователя на увеличение зазора и отключает источник технологического тока 29 для предупреждения короткого замыкания. Для этого случая в малоинерционном приводе микроперемещений, выполненном в виде пьезоактюатора, предусматривается биполярный режим работы.
При отводе электрода-инструмента включается генератор ультразвуковых колебаний, улучшающий условия эвакуации продуктов анодного растворения.
Итак, заявляемое изобретение позволяет увеличить точность и производительность обработки вибрирующим электродом-инструментом за счет возможности подачи импульса тока в строго синхронной последовательности на оптимальном МЭЗ и давлении электролита. Кроме того, улучшаются условия прокачки электролита и эвакуации продуктов анодного растворения, а также повышается эффективность защиты электрода-инструмента от коротких замыканий и сопутствующих повреждений.
Формула изобретения
1. Устройство для электрохимической обработки с периодическим изменением межэлектродного зазора, содержащее привод подач, состоящий из двигателя, ходового винта, гайки, и пиноль с датчиком перемещений, установленные с возможностью вертикального перемещения по направляющим портальной стойки, при этом внутри пиноли на центрирующих мембранах подвешен электрододержатель, жестко соединенный со штоком шатуна, приводимого от эксцентрикового вала электромеханического вибратора, отличающееся тем, что оно снабжено малоинерционным приводом микроперемещений и датчиком колебаний электрододержателя относительно пиноли, при этом шток шатуна выполнен полым и прикреплен к электрододержателю и центрирующим мембранам посредством охватывающего цилиндрического стакана и гильзы.
2. Устройство по п.1, отличающееся тем, что малоинерционный привод микроперемещений выполнен в виде магнитострикционного преобразователя.
3. Устройство по п.1, отличающееся тем, что малоинерционный привод микроперемещений выполнен в виде пьезоактюатора.
РИСУНКИ
PC4A – Регистрация договора об уступке патента СССР или патента Российской Федерации на изобретение
Прежний патентообладатель:
Общество с ограниченной ответственностью “ТИТАН ЕСМ”
(73) Патентообладатель:
Общество с ограниченной ответственностью “ЕСМ”
Договор № РД0052582 зарегистрирован 14.07.2009
Извещение опубликовано: 27.08.2009 БИ: 24/2009
|
|