|
|
(21), (22) Заявка: 2007120380/02, 31.05.2007
(24) Дата начала отсчета срока действия патента:
31.05.2007
(43) Дата публикации заявки: 10.12.2008
(46) Опубликовано: 20.05.2009
(56) Список документов, цитированных в отчете о поиске:
SU 897411 A, 15.01.1982. SU 457548 A, 06.03.1975. SU 1750855 A1, 30.07.1992. RU 2169058 C1, 20.06.2001. DE 2746033 B2, 19.04.1979.
Адрес для переписки:
445667, Самарская обл., г. Тольятти, ул. Белорусская, 14, Тольяттинский государственный университет, патентный отдел
|
(72) Автор(ы):
Расторгуев Дмитрий Александрович (RU), Драчев Олег Иванович (RU)
(73) Патентообладатель(и):
Государственное образовательное учреждение высшего профессионального образования “Тольяттинский государственный университет” (RU)
|
(54) ВИБРАЦИОННАЯ ГОЛОВКА
(57) Реферат:
Головка содержит корпус и резонатор комплексных колебаний, предназначенный для установки инструмента. Для повышения качества и производительности обработки она снабжена размешенной в резонаторе опорной осью с надетым на нее роликом для взаимодействия с опорной многопрофильной поверхностью, выполненной на корпусе. При этом резонатор комплексных колебаний выполнен из двух частей, одна из которых имеет винтовой паз с переменным шагом до опорной оси, а другая выполнена упругой в виде пружины растяжения. Корпус может быть выполнен подвижным в осевом направлении и в нем могут быть выполнены пазы, расположенные вдоль опорной многопрофильной поверхности и расклиненные упорными винтами. Ролик может быть выполнен эксцентриковым. 3 з.п. ф-лы, 3 ил.
Изобретение относится к области металлообработки и может быть использовано для обработки глубоких высокоточных отверстий.
Известна вибрационная головка, содержащая корпус, пиноль и виброшпиндель, связанные между собой втулкой, подшипником, кольцом со штырями, установленными на оправке, причем втулка расположена на оправке под углом, а штыри выполнены подвижными [Авторское свидетельство СССР 457547, кл. В23В 35/00, 1975].
Недостатками данного устройства являются трудность регулировки параметров колебаний (частоты и амплитуды) и ограниченность диапазона этих параметров, нетехнологичность изготовления.
Известна вибросверлильная головка, содержащая шпиндель – поршень и корпус, образующие между собой рабочую полость гидравлического вибратора, причем внутри шпинделя-поршня установлен золотник, связанный с задатчиком осевых колебаний, вращающийся элемент которого выполнен в виде эксцентрика [Авторское свидетельство СССР 623658, кл. В23В 35/00, 1978].
Недостатками данного устройства являются нетехнологичность изготовления, ненадежность работы устройства вследствие возможных утечек рабочей среды, необходимость гидравлического привода.
Известно устройство для обработки глубоких отверстий, содержащее борштангу с резонатором комплексных колебаний, выполненным с распорными клиньями, расположенными в двухзаходных винтовых пазах [Патент РФ 2169058, кл. В23В 29/03, 2001].
Недостатками данного устройства являются ограниченность технологических возможностей по величине диапазона рабочих частот, амплитуд, которые определяются только собственными параметрами инструмента и реализуются в автоколебательном процессе резания.
Известно вибросверлильное устройство, выбранное за прототип, корпус которого выполнен составным, одна из его частей неподвижна, а другая установлена с возможностью осевого перемещения относительно последней и они соединены между собой посредством шлицевого соединения, причем один упругий элемент установлен между регулировочными гайками и подвижной частью корпуса, а другой – между подвижной и неподвижной частями корпуса [Авторское свидетельство СССР 897411, кл. В23В 35/00, 1982].
Недостатками данного устройства являются нетехнологичность конструкции с зубчатыми парами, сложность настройки амплитуды колебаний и ее непостоянство при заглублении инструмента из-за переменной силы резания.
Задача, на решение которой направлено заявляемое изобретение, заключается в повышении эффективности обработки глубоких отверстий с достижением следующих технических результатов: повышение точности обработки за счет снижения упругих деформаций технологической системы и увода инструмента путем снижения сил резания в условиях обработки подобных вибрационному резанию и за счет возможности регулирования динамических параметров инструмента в широком диапазоне в процессе обработки со стабилизацией микропрофиля обработанной поверхности, обеспечиваемого поддержанием на определенном уровне амплитуды и частоты колебаний; повышение производительности обработки за счет снижения времени настройки инструмента на определенный режим обработки; расширение технологических возможностей за счет возможности изменения характера вибрационного резания для черновой и чистовой обработки.
Эта задача решается тем, что вибрационная головка содержит корпус и резонатор комплексных колебаний, предназначенный для установки инструмента, и снабжена размещенной в резонаторе комплексных колебаний опорной осью с надетым на нее роликом для взаимодействия с опорной многопрофильной поверхностью, выполненной на корпусе, при этом резонатор комплексных колебаний выполнен из двух частей, одна из которых имеет винтовой паз с переменным шагом до опорной оси, а другая выполнена упругой в виде пружины растяжения. Корпус головки может быть выполнен подвижным в осевом направлении. Корпус может быть выполнен с пазами, расположенными вдоль опорной многопрофильной поверхности и расклиненными упорными винтами. Ролик может быть выполнен эксцентриковым.
Выполнение резонатора комплексных колебаний с опорной осью с надетым на нее роликом для взаимодействия с опорной многопрофильной поверхностью приводит к взаимосвязи вращающегося инструмента и неподвижного корпуса, что способствует генерированию вынужденных колебаний, кратных частоте вращения инструмента.
Выполнение опорной поверхности корпуса многопрофильной обеспечивает возможность получения вынужденных колебаний заданной частоты, формы, амплитуды.
Выполнение резонатора комплексных колебаний из двух частей позволяет одновременно генерировать при резании автоколебания заданной формы, частоты, амплитуды и вынужденные колебания, соответствующим образом связанные с автоколебаниями, что позволяет их синхронизировать и модулировать.
Выполнение одной из частей резонатора с винтовым пазом с переменным шагом до опорной оси позволяет генерировать комплексные колебания с различным соотношением продольной и крутильной компонент за счет нелинейной связности крутильных и продольных колебаний.
Выполнение другой части резонатора упругой в виде пружины растяжения позволяет создавать вынужденные продольные колебания, которые максимально способствуют дроблению стружки.
Подвижный корпус в осевом направлении приводит к силовому замыканию вращающейся борштанги, выдвигающейся со скоростью подачи, с корпусом, зафиксированным в крутильном направлении при обработке подвижным инструментом.
Выполнение корпуса с пазами, расположенными вдоль опорной многопрофильной поверхности, позволяет менять амплитуду вынужденных колебаний за счет изменения величины выступов профильной поверхности, а расклинивание пазов упорными винтами позволяет проводить точную настройку амплитуды на черновой и чистовой режим обработки с учетом заданной стойкости инструмента.
Выполнение ролика эксцентриковым расширяет технологические параметры колебаний за счет дополнительной возможности их модулирования и повышения частоты.
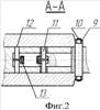
Предлагаемое изобретение иллюстрируется чертежами: на фиг.1 приведен общий вид вибрационной головки, на фиг.2 – сечение А-А на фиг.1, на фиг.3 – вариант выдвижной сверлильной головки.
Вибрационная головка (фиг.1) содержит инструмент 1, который фиксируется в резонаторе комплексных колебаний 2 с винтовым пазом переменного шага 3, который, в свою очередь, вставлен в борштангу 4. Перпендикулярно продольной оси резонатора вставлена ось 5, которая имеет постоянный контакт с корпусом 6 по многопрофильной опорной поверхности 7, вдоль которой в корпусе 6 сделаны пазы, в которые вставлены упорные винты 8. На концах оси 5 установлены ролики 9 (фиг.2), зафиксированные в продольном направлении шайбами 10. Резонатор комплексных колебаний 2 притягивается в продольном направлении к борштанге 4 через оси 11 и 12 пружиной 13.
Для возможности осуществления поступательного движения подачи борштанги 4 вибрационная головка имеет подвижный корпус 14 (фиг.3), который через осевой подшипник 15 может перемещать фланец 16 по продольным направляющим 17, фиксирующим его в направлении кручения.
Вибрационная головка работает следующим образом. Резонатору комплексных колебаний 2 сообщается вращение с частотой n. При врезании инструмента 1 в заготовку, которая перемещается со скоростью подачи S, на инструмент действует момент сил резания. Он приводит к закручиванию упругой части резонатора. За счет паза 3 с переменным шагом происходит генерирование комплексных крутильно-продольных колебаний. При вращении резонатор комплексных колебаний 2 воспринимает вынужденные продольные колебаний от оси 5, которые возникают при скольжении ролика 9 по профильной опорной поверхности 7 при растяжении – сжатии пружины 13.
Если движение продольной подачи сообщают инструменту, борштанга 4 и подвижный корпус 14 крепятся на инструментальном шпинделе станка. При выдвижении инструмента фланец 16 скользит по направляющим 17, что позволяет сообщать непрерывно перемещающемуся в осевом направлении инструменту вынужденные колебания за счет профильной опорной поверхности 7. При резании за счет заданных динамических характеристик волноводного преобразователя по двум направлениям возникают комплексные продольно-тангенциальные колебания, реализуя механизм вибрационного резания, при этом за счет продольно-тангенциальных колебаний инструмента происходит как демпфирование поперечных смещений вращающейся заготовки, так и дробление стружки и ее вибрационный отвод.
Формула изобретения
1. Вибрационная головка, содержащая корпус и резонатор комплексных колебаний, предназначенный для установки инструмента, отличающаяся тем, что она снабжена размешенной в резонаторе комплексных колебаний опорной осью с надетым на нее роликом для взаимодействия с опорной многопрофильной поверхностью, выполненной на корпусе, при этом резонатор комплексных колебаний выполнен из двух частей, одна из которых имеет винтовой паз с переменным шагом до опорной оси, а другая выполнена упругой в виде пружины растяжения.
2. Головка по п.1, отличающаяся тем, что корпус выполнен подвижным в осевом направлении.
3. Головка по п.1 или 2, отличающаяся тем, что в корпусе выполнены пазы, расположенные вдоль опорной многопрофильной поверхности и расклиненные упорными винтами.
4. Головка по любому из пп.1-3, отличающаяся тем, что ролик выполнен эксцентриковым.
РИСУНКИ
|
|