|
(21), (22) Заявка: 2006120550/02, 12.11.2004
(24) Дата начала отсчета срока действия патента:
12.11.2004
(30) Конвенционный приоритет:
14.11.2003 IT TO2003A000906
(43) Дата публикации заявки: 27.12.2007
(46) Опубликовано: 20.05.2009
(56) Список документов, цитированных в отчете о поиске:
ЕР 0933148 А1, 04.08.1999. SU 195425 A1, 01.01.1967. SU 479538 А1, 05.08.1975. RU 2069114 C1, 20.11.1996.
(85) Дата перевода заявки PCT на национальную фазу:
14.06.2006
(86) Заявка PCT:
EP 2004/052954 20041112
(87) Публикация PCT:
WO 2005/046905 20050526
Адрес для переписки:
129090, Москва, ул. Б.Спасская, 25, стр.3, ООО “Юридическая фирма Городисский и Партнеры”, пат.пов. А.В.Мицу
|
(72) Автор(ы):
ПАЛЕТТО Карло (IT)
(73) Патентообладатель(и):
О.Л.Ч.И. Инджиниринг С.Р.Л. (IT)
|
(54) СТАНОК ДЛЯ ОБРАБОТКИ ДЕТАЛЕЙ ИЗ ЛИСТОВОГО МЕТАЛЛА, В ЧАСТНОСТИ КРОМКОЗАГИБОЧНЫЙ СТАНОК, И ПРИВОДНАЯ СИСТЕМА ДЛЯ ТАКОГО СТАНКА
(57) Реферат:
Изобретение относится к кромкозагибочному производству, в частности к станкам для загибания кромок панелей из листового материала. Станок содержит подвижную часть, установленную на опорной части с возможностью поступательного движения в первом рабочем направлении к неподвижному держателю обрабатываемых деталей и от него, и приводную систему для управления движением подвижной части в рабочем направлении. На неподвижном держателе выполнена первая поверхность контактирования, которая может быть образована роликовым элементом. Приводная система станка содержит первый узел с двигателем для управления вращением приводного вала и механизм с кулачковым элементом и роликовым элементом для преобразования вращательного движения вала в поступательное движение подвижной части. Расширяются технологические возможности. 17 з.п. ф-лы, 17 ил.
Изобретение относится к станку для обработки деталей из листового металла и к приводной системе для такого станка. В частности, изобретение относится к кромкозагибочному станку для соединения загибанием кромки панелей из листового металла, например, панелей кузова автомобиля.
На Фиг.1А-1С прилагаемых чертежей схематически показана операция загибания кромки для пары панелей 1 и 2 из листового металла, т.е. соответственно наружной панели и внутренней панели. Вначале две панели 1, 2 располагают таким образом (Фиг.1A), чтобы их соответствующие плоские крайние части 3 и 4 соприкасались друг с другом на держателе обрабатываемых деталей (не показан), обычно образованном основанием, соответствующим образом профилированным в соответствии с обрабатываемыми деталями. Плоская крайняя часть 3 наружной панели 1 имеет кромку 3а, которая первоначально загнута на заданный угол (обычно на 90°) относительно плоскости частей 3 и 4 (Фиг.1А) и которая предназначена для дальнейшего загибания и прижатия к плоской крайней части 4, в результате чего последняя прикрепляется к нижерасположенной части 3. Операция загибания кромки обычно включает в себя первый этап, известный как «предварительное загибание кромки», на котором кромку 3а загибают на заданный угол (обычно на 45°) относительно плоскости крайних частей 3 и 4 посредством приложения первого усилия F1, предпочтительно перпендикулярного указанной плоскости (Фиг.1B), и последующий этап или «окончательное загибание кромки», на котором кромку 3а дополнительно загибают, пока она не соприкоснется с плоской крайней частью 4, и затем прижимают к последней посредством приложения второго усилия F2, также предпочтительно перпендикулярного плоскости частей 3 и 4 (Фиг.1С).
Для простоты в дальнейшем предполагается, что две плоские крайние части 3 и 4 панелей, соединяемых загибанием кромки, расположены в горизонтальной плоскости, и что, следовательно, направление, по которому прилагаются усилия для загибания кромки, является вертикальным. Таким образом, в описании изобретения и последующей формуле изобретения термины «горизонтальный» и «вертикальный» следует понимать как параллельные плоскости, в которой находятся крайние части панелей, соединяемых загибанием кромки, и как перпендикулярные к этой плоскости.
Вышеописанную операцию загибания кромки обычно осуществляют с использованием инструментодержателя 10 типа, аналогичного тому, который схематически показан на Фиг.2. Инструментодержатель 10 установлен на кромкозагибочном станке (не показан) таким образом, что он может передвигаться вертикально для выполнения операций предварительного загибания кромки и окончательного загибания кромки, а также передвигаться по существу горизонтально к зоне обработки или от нее для того, чтобы, например, обеспечивать установку или снятие обрабатываемых деталей.
Инструментодержатель 10 несет первый инструмент 11 для предварительного загибания кромки, имеющий рабочую поверхность 11а, наклоненную под углом предварительного загибания кромки (обычно на 45°) относительно вертикального направления, и второй инструмент 12 для окончательного загибания кромки, имеющий рабочую поверхность 12а, расположенную под углом 90° относительно вертикального направления.
Кромкозагибочный станок вышеописанного типа известен, например, из заявки на Европейский патент ЕР 0924005. Согласно этому известному техническому решению вертикальное движение осуществляется посредством винтового механизма с приводом от электродвигателя, в то время как движение к зоне обработки и от нее (в этом случае – наклонное движение) осуществляется посредством рычажного механизма с приводом от пневмоцилиндра.
Недостатком винтового механизма для осуществления вертикального движения (рабочего движения) в кромкозагибочном станке прежде всего является высокая стоимость этого механизма вследствие как высокой точности, требующейся при изготовлении винта, так и сложности электронной системы управления, необходимой для обеспечения правильной работы станка. Более того, прецизионность станка и, следовательно, качество обработанных деталей имеют тенденцию снижаться со временем в результате люфтов, вызванных износом винтового механизма.
В патенте Германии на полезную модель DE 29511071 U описана приводная система для приведения в действие инструментодержателя в станке для обработки деталей из листового металла, в частности, в гибочном или дыропробивном станке, в котором инструментодержатель установлен на опорной части станка с возможностью скольжения в вертикальном направлении. Эта известная приводная система содержит приводной вал, установленный с возможностью вращения на опорной части и несущий два дисковых кулачка, находящихся в соприкосновении с двумя роликами, установленными на инструментодержателе. Один узел из дискового кулачка и ролика управляет рабочим ходом инструментодержателя, в то время как другой узел из дискового кулачка и ролика управляет обратным ходом инструментодержателя.
Кромкозагибочная машина согласно ограничительной части независимого пункта 1 формулы изобретения известна из заявки на Европейский патент ЕР-А-0933148. В этом случае вертикальное возвратно-поступательное движение инструментодержателя осуществляется с приводом от электродвигателя, который неподвижно установлен на опорной части станка и вращает приводной вал, установленный с возможностью вращения на опорной части и соединенный с инструментодержателем посредством кулачково-рычажного механизма.
Следовательно, целью настоящего изобретения является устранение недостатков, присущих вышеописанному уровню техники, посредством создания станка для обработки деталей из листового металла, в частности, для осуществления операций по загибанию кромки, который имеет простую конструкцию, низкую стоимость и точную и надежную работу в течение времени его эксплуатации.
Эти и другие цели достигнуты посредством создания станка, имеющего отличительные признаки, определенные в отличительной части независимого пункта 1 формулы изобретения. Дополнительные преимущественные отличительные признаки изобретения определены в зависимых пунктах формулы изобретения.
Дополнительный независимый пункт 15 формулы изобретения относится к приводной системе для станка для обработки деталей из листового металла, в частности, для осуществления операций по загибанию кромки.
Получены следующие преимущества станка согласно изобретению по сравнению с предшествующим уровнем техники:
– более простая конструкция,
– более компактные размеры,
– меньшие производственные и эксплуатационные расходы,
– меньшее количество деталей,
– более высокая надежность,
– менее частое и более легкое техническое обслуживание и
– большее рабочее усилие, которое может быть приложено, и, следовательно, большая длина кромки, которая может быть обработана.
Дополнительные отличительные признаки и преимущества изобретения станут очевидными из последующего подробного описания, которое приведено лишь в качестве неограничивающего примера со ссылкой на прилагаемые чертежи, на которых:
Фиг.1А – вид сбоку в разрезе, показывающий пару панелей из листового металла, расположенных для соединения друг с другом посредством обычной двухстадийной операции загибания кромки.
Фиг.1B – вид сбоку в разрезе, показывающий две панели с Фиг.1А после этапа предварительного загибания кромки на 45°.
Фиг.1С – вид сбоку в разрезе, показывающий две панели с Фиг.1A в конце этапа окончательного загибания кромки.
Фиг.2 – вид сбоку в разрезе, показывающий инструментодержатель, выполненный с возможностью проведения операции загибания кромки, показанной на Фиг.1В и 1С.
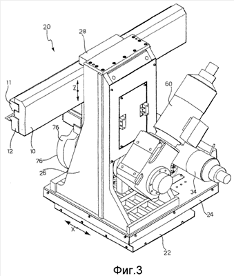
Фиг.3 – вид в перспективе сверху и с задней стороны, показывающий кромкозагибочный станок согласно изобретению.
Фиг.4 – вид в перспективе сверху и с передней стороны, показывающий кромкозагибочный станок с Фиг.3 без инструментодержателя.
Фиг.5 – вид спереди кромкозагибочного станка с Фиг.3.
Фиг.6 – вид сбоку в разрезе кромкозагибочного станка с Фиг.3.
Фиг.7 – вид сверху в перспективе, показывающий неподвижное основание кромкозагибочного станка с Фиг.3.
Фиг.8 – вид в перспективе, показывающий разрез кривошипного механизма кромкозагибочного станка с Фиг.3, предназначенного для управления продольным горизонтальным движением станка к обрабатываемой детали и от нее.
Фиг.9 – вид сверху в перспективе, показывающий основной корпус и подвижную часть кромкозагибочного станка с Фиг.3 в собранном состоянии.
Фиг.10 – вид в перспективе с разнесением деталей, показывающий основной корпус и узел из вала и кулачка для управления вертикальным движением подвижной части кромкозагибочного станка с Фиг.3.
Фиг.11 – вид в плане, показывающий контур кулачка кромкозагибочного станка с Фиг.3.
Фиг.12А-12К – частичные виды сбоку, иллюстрирующие рабочий цикл кромкозагибочного станка согласно настоящему изобретению.
Фиг.13-17 – иллюстрации угловых положений кулачка кромкозагибочного станка согласно изобретению в соответствующих характерных точках рабочего цикла, показанного на Фиг.12А-12К.
На Фиг.3-10 показан кромкозагибочный станок, обозначенный в целом ссылочной позицией 10 и содержащий:
неподвижное основание 22, предназначенное для прикрепления к полу или установке на соответствующей опорной плоскости (не показана), расположенной параллельно плоскости, в которой находятся крайние части панелей из листового металла, подлежащих соединению посредством загибания кромки,
подвижное основание 24, установленное на неподвижном основании 22 с возможностью движения параллельно последнему к зоне обработки или от нее (двойная стрелка Х), в дальнейшем называемого движением в продольном направлении,
основной корпус 26, прикрепленный к подвижному основанию 24 и имеющий по существу портальную конструкцию,
подвижную часть 28, установленную на основном корпусе 26 с возможностью движения по вертикали (двойная стрелка Z), т.е. перпендикулярно плоскости двух оснований 22, 24, и
инструментодержатель 10 того же самого типа, что и инструментодержатель, описанный выше со ссылкой на Фиг.2, который закреплен на подвижной части 28.
Для того чтобы направлять поступательное движение подвижного основания 24 в направлении X, это основание имеет пару продольных направляющих 30 (одна из которых может быть частично видна на виде в разрезе с Фиг.6), которые предназначены для скольжения по соответствующим направляющим поверхностям 32а на двух парах блоков скольжения 32, установленных на неподвижном основании 22 (Фиг.7). Поступательное движение подвижного основания 24 осуществляется посредством узла 34 с электродвигателем и зубчатой передачей через кривошипный механизм 36 (Фиг.8), который преобразует вращательное движение в прямолинейное движение.
Как показано на Фиг.7 и 8, кривошипный механизм 36 содержит вертикальный входной вал 38, соединенный наверху с узлом 34 из электродвигателя и зубчатой передачи для вращения последним. Вал 38 с возможностью вращения установлен посредством втулки 46 на опорном корпусе 40, который винтами 44 прикреплен к подвижному основанию 24 в его фланцеобразной части 42. Вал 38 в своей нижней части образует цилиндрический выступ 48, который действует в качестве кривошипа и расположен эксцентрично относительно оси вращения вала и на котором с возможностью вращения установлен ролик 50. Ролик 50 вместе с объединенным с ним выступом 48 проходит вниз через сквозное отверстие 52, выполненное в подвижном основании 24 (Фиг.9), и направляется между парой вертикальных поверхностей 54а, которые ориентированы перпендикулярно продольному направлению X и образованы соответствующими направляющими элементами 54, прикрепленными к неподвижному основанию 22.
Таким образом, когда узел 34 с электродвигателем и зубчатой передачей приводит во вращение вал 38, ролик 50 катится по направляющим поверхностями 54а неподвижного основания, в то время как вследствие силы реакции подвижное основание 24, которое кинематически связано с валом 38, движется продольно относительно неподвижного основания 22 по продольным направляющим 30, 32. Как очевидно, направление продольного движения подвижного основания 24 устанавливается посредством соответствующего регулирования направления вращения вала 38.
Для того чтобы направлять поступательное движение подвижной части 28 в направлении Z, эта часть имеет пару вертикальных направляющих 56 (Фиг.9), которые предназначены для скольжения по соответствующим направляющим поверхностям на двух парах блоков 58 скольжения (которые частично показаны на виде в разрезе с Фиг.6), установленных на основном корпусе 26, способом, сходным со способом, описанным выше в связи с подвижным основанием 24.
Вертикальное поступательное движение подвижной части 28 осуществляется посредством привода от узла 60 с электродвигателем и зубчатой передачей для вращения приводного вала 62. Узел 60 из электродвигателя и зубчатой передачи винтами 64 прикреплен к подвижной части 28 на противоположной стороне относительно зоны обработки. Вал 62, который проходит продольно, поддерживается для вращения в опорном корпусе 66, вставленном в сквозное отверстие 68 подвижной части 28.
Вал 62 образует концевую часть 70 (Фиг.6), которая имеет наружную эксцентрическую поверхность и выступает из опорного корпуса 66 по направлению к зоне обработки. На эксцентриковой части 70 закреплен кольцевой элемент 72, контур которого проходит параллельно контуру наружной эксцентрической поверхности части 70. Как вариант, может быть использована цилиндрическая концевая часть 70, соосная с валом 62 и кольцевым эксцентриковым элементом 72.
Кулачок 76 также прикреплен винтами 74 к концевой части 70 вала 62 и имеет наружную поверхность 76а с контуром, соответственно профилированным для управления вертикальным движением подвижной части 28 согласно заданному закону, как это будет более подробно описано ниже. Кулачок 76 своей наружной поверхностью 76а опирается на наружную цилиндрическую поверхность нижнего ролика 78, установленного с возможностью вращения вокруг продольной оси неподвижного вала 80, который поддерживается опорным элементом 82, прикрепленным к подвижному основанию 24 (Фиг.4 и 6).
Верхний ролик 86 (Фиг.5 и 6) с возможностью вращения установлен в опорной части 84, прикрепленной к держателю 88 обрабатываемых деталей (схематически показан на фиг.12А-I2K), при этом наружная цилиндрическая поверхность этого ролика взаимодействует с наружной поверхностью 76а кулачка 76 на этапе предварительного загибания кромки, как это будет подробно объяснено в последующей части описания изобретения.
Согласно предпочтительному варианту осуществления изобретения кромкозагибочный станок 20 выполнен для проведения операции загибания кромки типа той, которая описана во вводной части описания изобретения, то есть операции, состоящей из первого этапа предварительного загибания кромки и второго этапа окончательного загибания кромки. Теперь со ссылкой на Фиг.I2A-12К будет описан рабочий цикл, выполняемый станком 20.
Кромкозагибочный станок вначале находится в положении «установки/снятия» (Фиг.12А), в котором подвижная часть 28 отведена в продольном направлении от держателя 88 обрабатываемых деталей так, чтобы обеспечить установку деталей, подлежащих обработке с загибанием кромки (например, панелей 1 и 2, показанных на Фиг.1А-1С).
Затем (Фиг.12В) подвижная часть 28 перемещается в продольном направлении к держателю 88 обрабатываемых деталей (как это показано стрелкой BХ) до тех пор, пока инструмент 11 для предварительного загибания кромки не соприкоснется с верхней загнутой на 90° кромкой 3а панели 1 или, по крайней мере, не окажется вблизи нее. Такое положение, достигаемое станком, называется положением «начала предварительного загибания кромки».
В это время (Фиг.12С) осуществляется этап предварительного загибания кромки посредством вертикального перемещения подвижной части 28 вниз (стрелка СZ) до тех пор, пока кромка 3а панели 1 не будет загнута на 45°. Такое положение, достигнутое станком, называется положением «конца предварительного загибания кромки».
На Фиг.12D станок показан в положении «отделения после предварительного загибания кромки», достигнутом посредством вертикального перемещения подвижной части 28 вверх (стрелка Dz) так, чтобы инструмент 11 для предварительного загибания кромки был отодвинут от кромки 3а панели 1.
Затем подвижная часть 28 при продольном перемещении (стрелка EХ) отодвигается от держателя 88 обрабатываемых деталей и снова достигает положения «установки/снятия», показанного на Фиг.12Е.
На Фиг.12F кромкозагибочный станок показан в положении «подготовки для окончательного загибания кромки», достигнутом посредством вертикального перемещения подвижной части 28 вверх (стрелка FZ) до тех пор, пока рабочая поверхность 12а инструмента 12 для окончательного загибания кромки не достигнет более высокого уровня, чем уровень верхнего конца кромки 3а панели 1.
На Фиг.12G станок затем показан в положении «начала окончательного загибания кромки», достигнутом посредством продольного перемещения подвижной части 28 по направлению к держателю обрабатываемых деталей (стрелка GX) до тех пор, пока рабочая поверхность 12а инструмента 12 для окончательного загибания кромки не окажется выше кромки 3а панели 1.
В это время (Фиг.12Н) осуществляется окончательное загибание кромки, при этом подвижная часть 28 вертикально перемещается вниз (стрелка HZ) до тех пор, пока кромка 3а панели 1 не будет дополнительно загнута на 45° и, в конце концов, прижата к нижележащей кромке 4 другой панели 2. В конце этого этапа станок находится в положении, названном положением «конца окончательного загибания кромки».
На Фиг.12J станок показан в положении «отделения после окончательного загибания кромки», достигнутом посредством вертикального перемещения подвижной части 12 вверх (стрелка JZ) так, чтобы отодвинуть инструмент 12 для окончательного загибания кромки от кромки 3а.
Наконец (Фиг.12К), подвижная часть 28 снова отодвигается от держателя 88 обрабатываемых деталей посредством продольного перемещения (стрелка КХ), тем самым возвращаясь в положение «установки/снятия».
Этот рабочий цикл осуществляется посредством подачи заданной последовательности команд к узлам 34 и 60 с электродвигателями и зубчатыми передачами, которые управляют соответственно продольными и вертикальными движениями подвижной части 28. Кроме того, вертикальные движения подвижной части 28 определяются формой контура 76а кулачка 76.
Теперь со ссылкой на Фиг.11 и 13-18 будут подробно описаны форма контура 76а кулачка 76 согласно предпочтительному варианту осуществления изобретения и последовательность команд, подаваемых узлом 60 из электродвигателя и зубчатой передачи к кулачку для того, чтобы выполнялся вышеописанный рабочий цикл.
На Фиг.11 показан контур 76а кулачка 76, при этом центр вращения кулачка обозначен как 0. С другой стороны, на Фиг.13-17 показаны угловые положения, достигаемые кулачком 76 при различных вышеописанных рабочих положениях.
На первом этапе в держателе 88 обрабатываемых деталей устанавливают две панели, обрабатываемые с загибанием кромки, в то время как станок находится в положении «установки/снятия», показанном на Фиг.12А. На втором этапе подвижная часть 28 движется в продольном направлении к положению «начала предварительного загибания кромки», показанному на Фиг.12В. На этих первых двух этапах подвижная часть 28 не перемещается вертикально, а кулачок 76 удерживается в первоначальном положении, которое показано на Фиг.13 и в котором кулачок соприкасается с нижним роликом 78 в точке РАВ его контура.
На третьем этапе осуществляется предварительное загибание кромки, при котором подвижная часть 28 перемещается вертикально вниз до тех пор, пока она не достигнет положения «конца предварительного загибания кромки», показанного на Фиг.12С. Этот третий этап состоит из следующих трех подэтапов.
Кулачок 76, который опирается на нижний ролик 78 вместе со всей подвижной частью 28, соединенной с ним с возможностью передачи приводного усилия, вначале заставляют вращаться против часовой стрелки таким образом, что его точка соприкосновения с роликом 78 движется от вышеуказанной точки РАВ к второй точке PС1. Часть контура 76а кулачка, находящаяся между точками РАВ и PС1, профилирована таким образом, что она вызывает перемещение подвижной части 28 вниз до тех пор, пока рабочая поверхность 11а инструмента 11 для предварительного загибания кромки не войдет в соприкосновение с загнутой на 90° кромкой 3а наружной панели 1 из листового металла.
Часть контура 76а кулачка 76, следующая за точкой PС1, соответствовала бы дальнейшему нисходящему перемещению подвижной части 28, если последняя продолжала бы опираться кулачком 76 на нижний ролик 78. На самом деле благодаря тому, что кулачок 76 заставляют вращаться опять против часовой стрелки, подвижная часть 28 остается «подвешенной» на кромке 3а панели 1 со своим инструментом 11, в то время как кулачок 76 выходит из соприкосновения с нижним роликом 78 и начинает входить в соприкосновение с верхним роликом 86, соединенным с держателем 88 обрабатываемых деталей с возможностью передачи приводного усилия, начиная приблизительно от точки PС1*, противоположной точке PС1, или от последующей примыкающей точки. Этот второй этап предусматривает поворот приблизительно на 60°, пока кулачок 76 не войдет в соприкосновение с верхним роликом 86 в точке PС2. Так как часть контура, находящаяся между точками PС1* и PС2, представляет собой дугу окружности, то во время этого второго этапа не происходят никакие вертикальные перемещения подвижной части 28.
По мере того, как кулачок 76 продолжает вращаться, он находится в соприкосновении с верхним роликом 86 на части контура 76а, находящейся между точкой PС2 и точкой PС3, и, наконец, достигает положения, показанного на Фиг.14. Так как эта часть контура обусловливает увеличение радиального расстояния от центра вращения 0, то кулачок 76 поджимается вниз и тянет за собой подвижную часть 28 и установленный на ней инструментодержатель 10. Таким образом, инструмент 11 для предварительного загибания кромки может выполнять операцию предварительного загибания кромки, прилагая к кромке 3а панели 1 изгибающее усилие, которое является суммой силы веса подвижной части 28 и направленного вниз усилия, вызванного взаимодействием кулачка 76 с верхним роликом 86.
На четвертом этапе подвижная часть 28 движется вертикально вверх до ее возвращения в положение «начала предварительного загибания кромки». С этой целью кулачок 76 заставляют вращаться по часовой стрелке до тех пор, пока он не возвратится в первоначальное положение, показанное на Фиг.13, в котором он соприкасается с нижним роликом в точке РАВ.
На пятом этапе подвижная часть 28 движется в продольном направлении до тех пор, пока она не достигнет положения «установки/снятия», показанного на Фиг.12Е, в котором кулачок 76 удерживается неподвижным в первоначальном положении, показанном на Фиг.13.
На шестом этапе подвижная часть 28 перемещается вертикально вверх до тех пор, пока она не достигнет положения «подготовки для окончательного загибания кромки», показанного на Фиг.12F. С этой целью кулачок 76 заставляют вращаться по часовой стрелке, в результате чего точка соприкосновения с нижним роликом 78 перемещается по части контура, находящейся между точкой РАВ и точкой РF (которая совпадает с вышеуказанной точкой PС3), как это показано на Фиг.15.
На седьмом этапе подвижная часть 28 движется в продольном направлении к держателю 88 обрабатываемых деталей до тех пор, пока она не достигнет положения «начала окончательного загибания кромки», показанного на Фиг.12G, в то время как кулачок 76 удерживается неподвижным при угловом положении, показанном на Фиг.15.
На восьмом этапе осуществляют окончательное загибание кромки, перемещая подвижную часть 28 вертикально вниз вплоть до положения «конца окончательного загибания кромки», показанного на Фиг.12Н. С этой целью кулачок 76 заставляют вращаться по часовой стрелке до тех пор, пока он не достигнет углового положения, показанного на Фиг.16. Как и этап предварительного загибания кромки, этап окончательного загибания кромки также состоит из трех подэтапов.
Вначале заставляют кулачок 76 вращаться по часовой стрелке таким образом, что его точка соприкосновения с нижним роликом 78 перемещается от вышеуказанной точки РF к точке PН1. Часть контура 76а кулачка, находящаяся между точками РF и РН1, профилирована таким образом, что она вызывает нисходящее перемещение подвижной части 28 до тех пор, пока рабочая поверхность 12а инструмента 12 для окончательного загибания кромки не войдет в соприкосновение с загнутой на 45° кромкой 3а наружной панели 1 из листового металла.
По мере того, как кулачок 76 продолжает вращаться по часовой стрелке, он выходит из соприкосновения с нижним роликом 78, в то время как подвижная часть 28 остается «подвешенной» на загнутой кромке 3а. В то же самое время эксцентриковый кольцевой элемент 72, который закреплен для вращения с кулачком 76, начинает входить в зацепление с опорной поверхностью 90, образованной держателем 88 обрабатываемых деталей, а именно, опорной частью 84, прикрепленной к этому держателю (которую можно видеть на виде сбоку в разрезе с Фиг.6).
Аналогично тому, что было описано в связи с операцией предварительного загибания кромки, в результате взаимодействия между контуром эксцентрикового кольцевого элемента 72 и опорной поверхности 90 подвижная часть 28 и установленный на ней инструментодержатель 10 поджимаются вниз до тех пор, пока они не достигнут положения «конца окончательного загибания кромки». Во время этого третьего подэтапа инструмент 12 для окончательного загибания кромки прилагает к кромке 3а панели 1 изгибающее усилие, которое является суммой силы веса подвижной части 28 и направленного вниз усилия, вызванного взаимодействием эксцентрикового кольцевого элемента 72 с опорной поверхностью 90.
Благодаря соответствующему выбору размеров кольцевого эксцентрикового элемента 72 усилие, которое достигается на этапе окончательного загибания кромки, с пользой намного больше (например, больше почти в четыре раза), чем усилие, прилагаемое на этапе предварительного загибания кромки. Кроме того, так как изгибающее усилие, прилагаемое инструментом 12 к кромке 3а, по существу выравнено с усилием контакта между кольцевым эксцентриковым элементом 72 и опорной поверхностью 90 (как это видно на виде сбоку в разрезе с Фиг.6), то эти усилия не вызывают крутящий момент, который мог бы неблагоприятно повлиять на точность обработки.
На девятом этапе подвижная часть 28 перемещается вертикально вверх до тех пор, пока она не возвратится в положение «начала окончательного загибания кромки». С этой целью кулачок 76 заставляют вращаться против часовой стрелки до тех пор, пока он не возвратится в угловое положение, показанное на Фиг.16, в котором он соприкасается с нижним роликом 78 в точке РF.
Далее следует десятый этап, на котором подвижная часть 28 отодвигается в продольном направлении от держателя 88 обрабатываемых деталей до тех пор, пока она не достигнет положения «установки/снятия», показанного на Фиг.12К, в то время как кулачок 76 удерживается неподвижным в угловом положении, показанном на Фиг.16.
На последнем этапе подвижная часть 28 перемещается вертикально вниз так, чтобы возвратиться в положение начала цикла, показанное на Фиг.12А. С этой целью кулачок 76 заставляют вращаться против часовой стрелки до тех пор, пока его точкой соприкосновения с нижним роликом 76 не станет точка РАВ его контура, как это показано на Фиг.18. В это время при нахождении подвижной части 28 на месте осуществляется снятие готового изделия.
Конечно, при оставлении неизменной сущности изобретения варианты его осуществления и подробности изготовления могут сильно отличаться от тех, которые были описаны и показаны ислючительно в качестве неограничительного примера.
В частности, хотя был описан и показан предпочтительный вариант выполнения кромкозагибочного станка, предназначенного для осуществления двухстадийной операции загибания кромки (предварительного загибания кромки на 45° и окончательного загибания кромки на 90°), очевидно, что тот же самый станок может быть легко модифицирован подходящим образом для осуществления операции загибания кромки любого другого типа, например, с другим углом предварительного загибания кромки, или без предварительного загибания кромки, или опять-таки с другим углом окончательного загибания кромки.
Более того, очевидно, что станок согласно изобретению может быть также использован для выполнения других видов обработки, которые предусматривают приложение изгибающего усилия в данном направлении. Действительно, изменяя соответствующим образом контур кулачка, можно заставить инструментодержатель перемещаться согласно закону движения, подходящему для выполнения определенного вида обработки.
Формула изобретения
1. Станок (20) для обработки деталей (1, 2) из листового металла, содержащий инструментодержатель (10), держатель (88) обрабатываемых деталей, опорную часть (24, 26), подвижную часть (28), несущую инструментодержатель (10) и установленную с возможностью скольжения на опорной части (24, 26) в первом направлении (Z) или рабочем направлении, и первую приводную систему для управления движением подвижной части (28) в первом направлении (Z), при этом первая приводная система содержит первый приводной вал (62), первый узел (60) с двигателем для управления вращением первого приводного вала (62) и механизм для преобразования вращательного движения первого приводного вала (62) в поступательное движение подвижной части (28), причем указанный механизм содержит первый кулачковый элемент (76), приводимый в движение приводным валом (62), и первую поверхность (86) контактирования, выполненную для взаимодействия с контуром (76а) первого кулачкового элемента (76) для осуществления первого рабочего движения подвижной части (28), отличающийся тем, что первая поверхность (86) контактирования выполнена на держателе (88) обрабатываемых деталей.
2. Станок по п.1, отличающийся тем, что первая поверхность (86) контактирования выполнена на стороне держателя (88) обрабатываемых деталей, противоположной той, на которой расположены обрабатываемые металлические детали (1, 2).
3. Станок по п.1, отличающийся тем, что первая поверхность (86) контактирования выполнена в виде цилиндрической поверхности, образованной первым роликовым элементом, установленным с возможностью вращения на держателе (88) обрабатываемых деталей.
4. Станок по п.2, отличающийся тем, что первая поверхность(86) контактирования выполнена в виде цилиндрической поверхности, образованной первым роликовым элементом, установленным с возможностью вращения на держателе (88) обрабатываемых деталей.
5. Станок по п.1, отличающийся тем, что кулачковый элемент (76) поддерживает подвижная часть (28).
6. Станок по п.5, отличающийся тем, что первый приводной вал (62) поддерживает подвижная часть (28), а кулачковый элемент (76) установлен на первом приводном валу (62).
7. Станок по п.6, отличающийся тем, что первый узел (60) с двигателем дополнительно поддерживает подвижная часть (28).
8. Станок по п.1, отличающийся тем, что механизм для преобразования вращательного движения вала (62) в поступательное движение подвижной части (28) дополнительно содержит вторую поверхность (78) контактирования, выполненную для взаимодействия с контуром (76а) первого кулачкового элемента (76) для осуществления возвратного движения подвижной части (28).
9. Станок по п.8, отличающийся тем, что вторая поверхность (78) контактирования расположена на стороне первого кулачкового элемента (76), противоположной первой поверхности (86) контактирования.
10. Станок по п.8, отличающийся тем, что первая поверхность(86) контактирования выполнена в виде цилиндрической поверхности, образованной первым роликовым элементом, установленным с возможностью вращения на держателе (88) обрабатываемых деталей, при этом вторая поверхность (78) контактирования выполнена в виде цилиндрической поверхности, образованной вторым роликовым элементом, установленным с возможностью вращения на опорной части (24, 26).
11. Станок по п.9, отличающийся тем, что первая поверхность (86) контактирования выполнена в виде цилиндрической поверхности, образованной первым роликовым элементом, установленной с возможностью вращения на держателе (88) обрабатываемых деталей, при этом вторая поверхность (78) контактирования выполнена в виде цилиндрической поверхности, образованной вторым роликовым элементом, установленной с возможностью вращения на опорной части (24, 26).
12. Станок по п.10, отличающийся тем, что оси вращения первого кулачкового элемента (76), первого роликового элемента и второго роликового элемента, по существу, выровнены в первом направлении (Z).
13. Станок по п.11, отличающийся тем, что оси вращения первого кулачкового элемента (76), первого роликового элемента и второго роликового элемента, по существу, выровнены в первом направлении (Z).
14. Станок по любому из пп.1-13, отличающийся тем, что механизм для преобразования вращательного движения первого вала (62) в поступательное движение подвижной части (28) дополнительно содержит второй кулачковый элемент (72), приводимый в движение первым приводным валом (62), и третью поверхность (90) контактирования, выполненную для взаимодействия со вторым кулачковым элементом (72) для осуществления второго рабочего движения подвижной части (28).
15. Станок по п.14, отличающийся тем, что направление указанного первого рабочего движения подвижной части (28) совпадает с направлением указанного второго рабочего движения.
16. Станок по п.15, отличающийся тем, что инструментодержатель (10) несет первый инструмент (11) для предварительного загибания кромки и второй инструмент (12) для окончательного загибания кромки для осуществления станком операции загибания кромки на первом этапе предварительного загибания кромки и на втором этапе окончательного загибания кромки и первая приводная система выполнена с возможностью обеспечения указанного первого рабочего движения подвижной части (28) для осуществления этапа предварительного загибания кромки и указанного второго рабочего движения подвижной части (28) для осуществления этапа окончательного загибания кромки.
17. Станок по любому из пп.1-13, отличающийся тем, что он дополнительно содержит неподвижное основание (22), на котором опорная часть (24, 26) установлена с возможностью скольжения во втором направлении (X), по существу, перпендикулярном первому направлению (Z), для обеспечения движения подвижной части (28) к держателю (88) обрабатываемых деталей и от него.
18. Станок по п.17, отличающийся тем, что он дополнительно содержит вторую приводную систему для управления движением подвижной части (28) во втором направлении (X), при этом указанная вторая приводная система содержит второй узел (34) с двигателем и кривошипный механизм (36) для преобразования вращательного движения на выходе второго узла (34) с двигателем в поступательное движение подвижной части (28) во втором направлении (X).
РИСУНКИ
|