|
|
(21), (22) Заявка: 2007125912/02, 09.07.2007
(24) Дата начала отсчета срока действия патента:
09.07.2007
(43) Дата публикации заявки: 20.01.2009
(46) Опубликовано: 20.05.2009
(56) Список документов, цитированных в отчете о поиске:
RU 2063827 C1, 20.07.1996. SU 801165 A, 29.01.1979. GB 1193200 A, 28.05.1970. US 6094809 А, 01.08.2000.
Адрес для переписки:
400131, г.Волгоград, пр-кт Ленина, 28, ВолгГТУ, Отдел интеллектуальной собственности
|
(72) Автор(ы):
Суркаев Анатолий Леонидович (RU), Суркаев Вячеслав Анатольевич (RU)
(73) Патентообладатель(и):
Государственное образовательное учреждение высшего профессионального образования Волгоградский государственный технический университет (ВолгГТУ) (RU)
|
(54) СПОСОБ ОБРАБОТКИ МАТЕРИАЛОВ СТРУЕЙ ЖИДКОСТИ
(57) Реферат:
Изобретение относится к области обработки материалов мощным импульсным воздействием жидкостного потока и может быть использовано для разрушения, дробления и очистки, а также разделения преимущественно тонколистовых металлических изделий на части и получение в них отверстий. Осуществляют циклическую генерацию электрического разряда в жидкости. Создают в разрядной камере с помощью разряда парогазового пузыря высокого давления. Осуществляют выбрасывание с его помощью струи жидкости через присоединенный к разрядной камере ствол и воздействуют ею на обрабатываемый материал. При этом заполнение разрядной камеры осуществляют дозировано путем прерывания потока поступающей жидкости. Для этого перекрывают ствол запирающей иглой, соосно установленной на чашке клапана, выполненных за одно целое. Парогазовый пузырь высокого давления создают генерируемыми синхронно электрическими разрядами, возникающими на электродах в количестве не менее трех пар. Электроды располагают в зоне кольцевой полости, выполненной соосно в чашке клапана, симметрично относительно запирающей иглы и оси разрядной камеры. Причем разрядная камера имеет грушевидную форму. Расширяются технологические возможности, повышаются эффективность и КПД. 3 ил.
Изобретение относится к области обработки материалов мощным импульсным воздействием жидкостного потока и может быть использовано для разрушения, дробления и очистки, а также разделения преимущественно тонколистовых металлических изделий на части и получения в них отверстий. Предлагаемый способ может быть также использован в насосах высокого давления дизельных двигателей для увеличения дисперсности горюче-воздушной смеси, распыляемой форсункой, посредством увеличения скорости течения.
Известен способ обработки материалов жидкостью (Тихомиров Р.А. и др. Гидрорезание судостроительных материалов. Л.: Судостроение, 1987, с.35). Сущность способа заключается в том, что жидкость непрерывно истекает под большим давлением из отверстия малого диаметра и, попадая на обрабатываемую поверхность, обеспечивает отрыв частиц и снятие стружки с материала. Недостатком данного способа является невозможность обеспечения подачи жидкости по касательной к обрабатываемой поверхности в заключительной стадии обработки.
Известны также способы обработки материалов жидкостью ( 1712030, кл. B21D 26/02, 15.02.92 и 2053037, кл. B21D 26/02, 1996.01.27). Сущность способов заключается в том, что рабочую жидкость подают по касательной к обрабатываемой поверхности со скоростью, обеспечивающей взаимодействие жидкости с обрабатываемой поверхностью в течение времени, меньшего времени релаксации жидкости. В момент контакта жидкости с поверхностью обрабатываемого материала жидкость подвергается принудительному сжатию. Недостатком способов является низкая производительность, способы металлоемки и энергоемки, ограничены в технологических возможностях.
Наиболее близким к заявленному изобретению является способ обработки материалов струей жидкости ( 2063827, кл, B21D 26/12, 1996.07.20).
Данный способ включает следующие операции: циклическую генерацию электрического разряда в жидкости, создание в разрядной камере с помощью разряда парогазового пузыря высокого давления, выбрасывание с его помощью струи жидкости через присоединенный к разрядной камере ствол и воздействия ею на обрабатываемый материал, при этом перед каждым рабочим циклом примыкающую к разрядной камере часть ствола заполняют жидкостью, объем которой равен объему жидкости, выбрасываемой из ствола в этом цикле, а электрические разряды производят в зоне сопряжения камеры со стволом, обеспечивая отделение от жидкости разрядной камеры, перемещение по стволу и выбрасывание находящейся в ней жидкости.
Недостатком известного способа является то, что при генерации электрического разряда в зоне сопряжения камеры со стволом формируемый парогазовый пузырь, а соответственно ударная волна, распространяется как по направлению ствола, так и в сторону дозатора, вызывая эффект отдачи. Тем самым основная часть энергии электрического разряда затрачивается не на приобретение кинетической энергии объемом жидкости, находящегося в стволе, а на просто ударное воздействие на жидкость, находящейся в разрядной камере. Таким образом происходит неоправданная потеря энергии, создается ударно-разрушающее воздействие на структурные элементы дозатора, производительность способа находится не на высоком уровне, КПД невелик. Кроме того, высокая эффективность действия способа вызывает сомнение вследствие необходимости, вообще говоря, вертикального расположения камеры, а также заполнение части ствола жидкостью определенного объема в данном случае достаточно технически проблематично, учитывая скоростной режим работы.
Техническим результатом предлагаемого изобретения является расширение технологических возможностей, эффективность, повышение КПД.
Поставленный технический результат достигается тем, что в способе обработки материалов струей жидкости, включающем дозированное заполнение разрядной камеры жидкостью, циклическую генерацию электрического разряда в жидкости электродами для создания в разрядной камере парогазового пузыря высокого давления, выбрасывание с его помощью струи жидкости через присоединенный к разрядной камере ствол и воздействия ею на обрабатываемый материал, дозированное заполнение рабочей камеры осуществляют прерыванием потока поступающей жидкости, при этом при поступлении потока жидкости в разрядную камеру перекрывают ствол, а при прерывании потока поступающей жидкости ствол открывают, для чего используют установленный в разрядной камере с возможностью возвратно-поступательного движения клапан с чашкой, имеющей кольцевую полость и запирающую иглу, выполненную за одно целое с клапаном и соосно чашке и служащую для перекрытия и открытия ствола, при этом для создания парогазового пузыря высокого давления используют не менее трех пар электродов, которые располагают в зоне кольцевой полости чашки клапана симметрично относительно запирающей иглы и оси разрядной камеры, причем используют разрядную камеру грушевидной формы.
Применение запирающей иглы, перекрывающей ствол под воздействием упругой пружины, обеспечивает полное заполнение камеры жидкостью, т.е осуществлять точное дозирование жидкости, выбрасываемой через ствол. В процессе заполнения камеры жидкостью ствол находится в закрытом состоянии, тем самым вся конструкция способна находиться в безразличном положении относительно обрабатывающего объекта, это приводит к расширению технологических возможностей и эффективности способа.
Назначение клапана состоит в осуществлении прерывания потока поступающей в разрядную камеру жидкости и отсечении разрядной камеры от подающего канала. Вследствие чего не возникают ударно-разрушающие воздействия, действующие на конструкционные элементы устройства, нагнетающего жидкость в камеру. Электрический разряд генерируется в полости разрядной камеры, имеющей достаточно малое выходное отверстие, равное диаметру ствола, поэтому основная доля энергии разряда преобразуется в кинетическую энергию дозы жидкости, и соответственно, на приобретение последней высокой скорости истечения через ствол. Выполнение клапана и запирающей иглы за одно целое обеспечивает под действием пружины автоматическое перекрытие ствола и открытие канала для заполнения разрядной камеры жидкостью. В первые моменты протекания электрического разряда под воздействием ударной волны, падающей на клапан, осуществляются закрытие канала, прерывание потока поступающей жидкости в камеру, отсечение камеры от канала и при этом происходит открытие ствола для метания жидкости. Тем самым автоматически происходят циклическое поступление жидкостного потока в разрядную камеру и истечение его через ствол, что позитивно сказывается на эффективности способа и на повышении КПД.
Использование трех и более одновременно протекающих электрических разрядов, которые возникают между парой системы электродов, позволяет увеличить кинетическую энергию метаемой жидкости, не увеличивая при этом зарядного напряжения конденсаторного накопителя, а лишь увеличивая его электроемкость, тем самым обеспечивается безопасный режим работы. Расположение источников электрических разрядов симметрично относительно оси разрядной камеры обеспечивает равномерное распределение воздействия ударной волны на клапан, что влечет за собой эффективное перекрытие подающего жидкость канала. Формирование единого парогазового пузыря высокого давления происходит путем слияния первичных парогазовых пузырей, образованных тремя и более электрическими разрядами, генерируемых синхронно. Выполненная в чашке клапана соосно кольцевая полость, в зоне которой располагаются электроды, способствует образованию единого парогазового пузыря высокого давления от нескольких источников и организации направленного действия синхронных электрических разрядов.
Грушевидная форма разрядной камеры обеспечивает уменьшение энергетических потерь при движении жидкости в камере к стволу под действием расширяющегося парогазового пузыря и препятствует образованию паразитных механических напряжений и микротрещин в самой разрядной камере.
Все вышеперечисленные отличия представляемого изобретения от прототипа позволяют расширить технологические возможности способа, повысить его эффективность, увеличить коэффициент полезного действия.
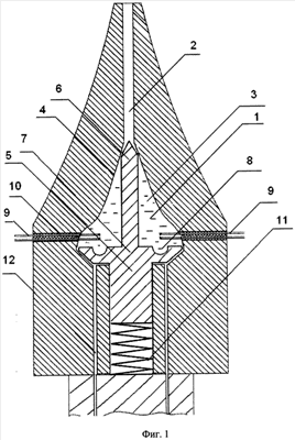
Сущность изобретения поясняется чертежами, где на фиг.1 представлена схема способа обработки материалов струей жидкости, на фиг.2 показаны клапан с кольцевой полостью на чашке и игла, выполненные за одно целое, на фиг.3 показана система электродов, попарно установленных в зоне кольцевой полости и симметрично расположенных относительно клапана.
Конструкция содержит (фиг.1) разрядную камеру 1 с примыкающим к ней стволом 2, которая заполнена рабочей жидкостью 3. Полость разрядной камеры 1 имеет грушевидную форму – линия профиля 4. В разрядной камере 1 установлен с возможностью поступательно-возвратного движения клапан 5, выполненный соосно за одно целое с запирающей иглой 6, расположенной на чашке 7 клапана 5. В чашке 7 клапана 5 имеется кольцевая полость 8, выполненная соосно с клапаном 5. В зоне кольцевой полости 8 клапана 5 расположена система электродов 9, состоящая из не менее трех пар электродов, установленных симметрично относительно запирающей иглы 6 и оси разрядной камеры 1 посредством прочных диэлектрических втулок 10. Возвратное движение клапана 5 и запирающей иглы 6 осуществляется посредством пружины 11, рабочая жидкость 3 поступает в разрядную камеру 1 по подающим каналам 12.
Предложенный способ обработки материалов струей жидкости реализуется следующим образом. Разрядная камера 1 полностью заполняется рабочей жидкостью 3, протекающей от внешнего источника по подающим каналам 12, вследствие установки запирающей иглы 6 под действием упругих сил пружины 11 в состояние перекрытия ствола 2, а клапана 5 в состояние открытия подающих каналов 12. При подаче высокого напряжения на систему электродов 9, состоящей из не менее трех пар, возникает электрический разряд между соответствующей парой электродов 9, генерирующий ударную волну и образование отдельно взятого парогазового пузыря высокого давления. Наличие синхронизации обеспечивает одновременное возбуждение и протекание процесса электрического разряда, а соответственно возникновение, распространение ударной волны и развитие парогазового пузыря высокого давления. Результирующее воздействие ударных волн, формируемых симметрично расположенными в зоне чашки 7 источниками электрического разряда, обеспечивает скоротечное перемещение клапана 5 и запирающей иглы 6, а также эффективное перекрытие подающих каналов 12 и открытие ствола 2. При дальнейшем развитии парогазовых пузырей происходит объединение последних в единый парогазовый пузырь высокого давления, а кольцевая полость 8, выполненная в чашке 7, способствует его образованию. В разрядной камере 1 формируется область с высокой концентрацией энергии. Развивающийся с высокой скоростью мощный парогазовый пузырь высокого давления вытесняет рабочую жидкость 3 из разрядной камеры 1 через ствол 2. Дозированная рабочая жидкость приобретает большую по величине кинетическую энергию и, соответственно, скорость истечения, что позволяет производить эффективную обработку материалов, при этом вся рабочая жидкость 3, находящаяся в рабочей камере 1, воздействует на обрабатываемый объект.
Формула изобретения
Способ обработки материалов струей жидкости, включающий дозированное заполнение разрядной камеры жидкостью, циклическую генерацию электрического разряда в жидкости электродами для создания в разрядной камере парогазового пузыря высокого давления, выбрасывание с его помощью струи жидкости через присоединенный к разрядной камере ствол и воздействие ею на обрабатываемый материал, отличающийся тем, что дозированное заполнение рабочей камеры осуществляют прерыванием потока поступающей жидкости, при этом при поступлении потока жидкости в разрядную камеру перекрывают ствол, а при прерывании потока поступающей жидкости ствол открывают, для чего используют установленный в разрядной камере с возможностью возвратно-поступательного движения клапан с чашкой, имеющей кольцевую полость, и запирающую иглу, выполненную за одно целое с клапаном и соосно с чашкой и служащую для перекрытия и открытия ствола, при этом для создания парогазового пузыря высокого давления используют не менее трех пар электродов, которые располагают в зоне кольцевой полости чашки клапана симметрично относительно запирающей иглы и оси разрядной камеры, причем используют разрядную камеру грушевидной формы.
РИСУНКИ
|
|