|
|
(21), (22) Заявка: 2007133838/02, 23.01.2006
(24) Дата начала отсчета срока действия патента:
23.01.2006
(30) Конвенционный приоритет:
11.02.2005 IT UD2005A000016
(46) Опубликовано: 20.05.2009
(56) Список документов, цитированных в отчете о поиске:
US 3472461 A, 14.10.1969. US 3945585 A, 23.03.1976. US 3592399 A, 13.07.1971. US 6318660 В1, 20.11.2001. US 6666398 B2, 23.12.2003. SU 897364 A, 15.01.1982. SU 270668 A, 23.11.1986.
(85) Дата перевода заявки PCT на национальную фазу:
11.09.2007
(86) Заявка PCT:
EP 2006/000547 20060123
(87) Публикация PCT:
WO 2006/084564 20060817
Адрес для переписки:
103735, Москва, ул. Ильинка, 5/2, ООО “Союзпатент”, пат.пов. Ю.В.Пинчуку, рег. 656
|
(72) Автор(ы):
КАСТЕЛЛАНИ Федерико (IT)
(73) Патентообладатель(и):
С.И.М.А.К. С.П.А. (IT)
|
(54) МОТАЛКА ДЛЯ МЕТАЛЛИЧЕСКОЙ КАТАНКИ ИЛИ ТЯНУТОЙ ПРОВОЛОКИ И/ИЛИ ПРУТКА
(57) Реферат:
Изобретение относится к моталке для металлической катанки или тянутой проволоки и/или прутка. Моталка для наматываемой в бунт катанки содержит намоточную оправку, выполненную в виде барабана с наружным фланцем, который может раскрываться для извлечения намотанного бунта, и фланцем основания, несущим нависающую оправку, и связана с соответствующими направляющими средствами для наматываемого материала, а также направляющими средствами для заправки наматываемого материала и удерживания, по меньшей мере, некоторой части первого его витка, примыкающими к оправке и к фланцу основания, при этом направляющие средства оборудованы соответствующими приводными средствами для перемещения из положения, в котором направляющие средства примыкают к оправке и к фланцу основания, в отведенное от них назад положение, направляющие средства включают в себя ряд прижимных роликов для плотного прижатия наматываемого материала в соответствующей впадине во время формирования, по меньшей мере, некоторой части первого витка материала, когда направляющая непосредственно примыкает к оправке, при этом впадина образована рядом зубьев, расположенных в виде кольца и образующих зубчатый обод для удерживания материала. Обеспечивается надежное закрепление проволоки при заправке в моталку и снижение до минимума повреждения проволоки при заправке. 3 н. и 16 з.п. ф-лы, 8 ил.
Область техники, к которой относится изобретение
Целью настоящего изобретения является создание моталки для металлической катанки или тянутой проволоки и/или прутка согласно отличительным особенностям, указанным в независимых пунктах формулы изобретения.
Кроме того, частью данного изобретения является также намоточная установка и/или поточная линия по производству такого материала, содержащая упомянутую моталку.
Уровень техники
Под проволокой и/или прутком понимается соответствующий материал в самом строгом смысле определения этих двух видов изделий, а что касается именно прутков, то также и материал сравнительно большого диаметра, и/или различный профилированный прокат, и/или профили различной формы и конфигурации, которые подлежат наматыванию в виде бунтов при помощи соответствующей оправки или барабана с соответствующими фланцами, откуда упомянутые бунты затем снимаются и передаются на обвязочную машину.
Упомянутые проволока, и/или пруток, и/или профилированный прокат, и/или профили могут производиться непрерывным или же прерывистым способом с разными скоростями как в прокатных, так и в волочильных станах, а предпочтительно – в станах горячей прокатки, но не исключительно только в них.
Определение материала или же материала, который подлежит наматыванию, понимается в контексте данного описания как любой тип вытянутого материала из числа тех, что упомянуты здесь выше.
При современном состоянии техники известны различные типы моталок для наматывания проволоки, в частности такие моталки, которые входят в состав установок, предназначенных для непрерывного производства как катанки, так и тянутой проволоки или же прутка.
В частности, в области прокатки требуется обеспечить высокие рабочие скорости, и поэтому проволоку или пруток разрезают на куски определенной длины в соответствии с предполагаемым размером наматываемого бунта, а затем распределяют их для наматывания по соответствующим направлениям в ту или иную моталку таким образом, что пока в одной моталке осуществляется наматывание проволоки и формируется бунт, из другой моталки выгружается уже готовый бунт.
Одна из основных проблем, возникающих при высоких скоростях, связана с заправкой проволоки в моталку (известную также под названием: намоточная машина или же наматыватель с оправкой), которая должна осуществляться в то время как проволока продолжает двигаться, т.е. без прекращения движения упомянутой проволоки.
В настоящее время существуют различные системы, предназначенные для заправки и извлечения конца материала, подлежащего наматыванию, которые позволяют наматывать упомянутый материал вокруг оправки моталки с небольшим натяжением, в результате чего образуется компактный бунт правильной формы, благодаря тому, что материал постоянно находится во время наматывания под небольшим натяжением.
Заправка и закрепление проволоки производятся с помощью соответствующего направляющего канала, обеспечивающего формирование, по меньшей мере, первого витка бунта или же нескольких таких первых витков.
В патентных документах US 3592399 (13 июля 1971 г.), FR 2057752, GB 1277515, DE 2027516 (MORGAN) раскрывается намоточная машина для проволоки, в которой моталка имеет входной канал, где формируется первый виток (см. описание, а также, в частности, рис.3, 4, 5, 6, 7) благодаря применению соответствующей полунаправляющей в виде дуги круга в 180°, что позволяет проволоке или прутку при заправке входить внутрь, следуя при этом форме оправке, и быстро обматываться вокруг упомянутой оправки с обеспечением плотного прилегания к ней.
Патентным документом US 3945585 от 23 марта 1976 г, (DEMAG) предусматривается наличие соответствующего канала для закрепления проволоки и формирования первых витков бунта вокруг оправки при помощи конусообразного элемента, который подается вперед и отводится назад (10, 6, 11), обеспечивая тем самым получение точной формы входного закрепляющего канала, куда вводится проволока при наматывании первых витков.
Патентным документом US 4664329 (Pali-Essex – от 12 мая 1987 г.) предусматривается наличие соответствующей направляющей и закрепляющей системы для проволоки при формировании из нее бунта при помощи полосы, которая осуществляет наматывание бунта и одновременно натягивает проволоку, заставляя тем самым намоточную оправку вращаться, благодаря чему происходит непрерывное и плотное наматывание проволоки, которая постоянно находится при этом под воздействием соответствующего усилия.
В патентном документе DE 821666 (Siemens – от 8 июля 1949 г.) раскрываются различные системы расположения направляющих каналов и закрепления проволоки (прутка), которая предназначается для формирования бунта вокруг оправки (барабана) моталки. В частности, см. описание изобретения, а также рис.1, 2, 3, 4, 5, 6, 7, на которых показаны различные технические решения, обеспечивающие заданное перемещение и зацепление или зажимание конца проволоки 3.
В патентных документах ЕР 1126934 и ЕР 1126935 (Danieli) также раскрываются направляющие системы для проволоки, предназначенные для осуществления начального этапа формирования из нее бунта и аналогичные тем, что предложены Морганом (Morgan).
Заявки на итальянский патент UD 2004 A 000006, UD 2004 A 000007 (Danieli) до некоторой степени касаются тех же самых технических решений, что и в предыдущих двух из указанных здесь выше патентных документов, при этом тоже предусматривается наличие упомянутого там канала для крепления проволоки (прутка), а также применение соответствующих клещей с динамическим управлением, предназначенных для закрепления конца материала при формировании из него первых витков.
В технических решениях, предложенных как Демагом (DEMAG), так и Даниели (DANIELI) предусматривается применение динамической закрепляющей системы, обеспечивающей захватывание проволоки клещами с последующим ее отпусканием (с отводом ее назад при применении системы, предложенной Демагом), что позволяет снять готовый бунт с намоточной головки по завершении его наматывания.
В одном из технических решений, предложенных Даниели (DANIELI), закрепляющая система для первых витков проволоки выполнена так же, как и в патентном документе US 3945585 (DEMAG), но только лишь с тем отличием, что обеспечивается движение целиком всего фланца основания, который сначала перемещается вдоль оправки, углубляя при этом входной канал для проволоки с тем, чтобы иметь возможность уложить в нем определенное число витков, а затем отводится назад, прикрывая собой только лишь часть первого витка, с последующим осуществлением намотки в обратном направлении, в результате которой образуется второй слой. Данное техническое решение является очень сложным с точки зрения его конструктивного воплощения, а также весьма дорогим, что обусловлено необходимостью применения соответствующих механизмов для перемещения такой большой массы, какой обладает фланец основания.
Кроме того, в патентном документе US-A-3472461 (PER SVEN ENGELBREKT FREDRIKSSON) также раскрывается аналогичное техническое решение.
В других технических решениях предусматривается возможность осуществления простого движения проволоки по заданному контуру, в результате чего при достаточно большом количестве витков происходит их самозакрепление.
Отличительная особенность существующих технических решений заключается в том, что предусматривается наличие соответствующей входной направляющей, обеспечивающей возможность скольжения проволоки, которое происходит, как это уже упоминалось в приведенном здесь выше описании, благодаря соответствующей форме полукруглой дугообразной направляющей, которая за счет возникающего при этом трения обеспечивает принудительное перемещение головной части проволоки таким образом, чтобы она, соответственно изгибаясь, наматывалась вокруг оправки.
Направляющая система, имеющая неподвижно закрепленный дугообразный канал без каких-либо вращающихся в нем элементов, представляет собой то неудобство, что в нем возникает довольно значительное трение, а поскольку проволока, подлежащая наматыванию, все еще продолжает находиться в горячем состоянии, поскольку она получена посредством горячей прокатки, то она исключительно очень податлива и поэтому может затягиваться в виде петель, в результате чего проволока запутывается, что приводит к вынужденным задержкам в работе намоточной установки и, как следствие, всей поточной линии в целом.
Кроме того, применение такого направляющего канала, который в изобретении Моргана (Morgan) имеет полукруглую форму с дугой в 180°, а в изобретении Даниели (Danieli) выполнен в виде двух противолежащих друг другу полукругов и охватывает при этом собой целиком оправку в пределах полного ее оборота в 360°, приводит к возникновению существенных проблем, обусловленных аккумулированием температуры, поскольку такая направляющая препятствует отводу тепла, а также связанных с ускоренным износом, поскольку материал должен скользить, прижимаясь к этим направляющим.
Кроме того, неудобство, вызванное тем, что такое техническое решение не гарантирует также надежного закрепления или зацепления материала, который подлежит наматыванию, может привести к отсоединению заправленной проволоки, и, следовательно, возможным становится ее запутывание, влекущее за собой перебои в производственном процессе с проистекающими отсюда серьезными последствиями.
Фактически, следует отметить, что оправка моталки должна вращаться с несколько большей окружной скоростью, чем скорость подачи наматываемого материала, благодаря чему подаваемый материал все время будет находиться под небольшим натяжением, что способствует компактной его намотке с получением при этом правильной формы.
Однако при этом зачастую происходит отсоединение только что заправленного материала и, следовательно, приостановление производственного процесса.
Раскрытие изобретения
Основная цель настоящего изобретения заключается в создании гораздо более эффективной и приемлемой системы, направляющей и автоматически закрепляющей подлежащий намотке материал без применения при этом динамических систем со щипцами, а также в ограничении до минимума возможности повреждения проволоки при ее заправке.
Решение этой проблемы обеспечивается благодаря отличительным признакам настоящего изобретения, указанным в независимых пунктах прилагаемой формулы изобретения.
В зависимых пунктах формулы изобретения представлены предпочтительные варианты осуществления настоящего изобретения.
Таким образом, при применении соответствующей прижимной направляющей, обращенной навстречу и снабженной роликами, наблюдается существенное уменьшение трения, благодаря чему обеспечивается возможность быстрого отвода тепла, что позволяет гораздо более эффективно прижимать конец проволоки, заправляемой в удерживающую ее систему при выполнении первого витка или же только лишь некоторой его части, благодаря чему удается избежать износа и повреждения самой проволоки.
Кроме того, благодаря применению зубчатого обода, располагающегося в основании фланца намоточной оправки и находящегося на небольшом расстоянии от самой оправки, которое определяется как в соответствии с диаметром поперечного сечения материала, подлежащего наматыванию, причем оправка работает во взаимодействии с направляющей, обращенной навстречу и снабженной зажимными роликами, расположенными на противоположных сторонах, обеспечивая проталкивание материала между зубьями, так и в соответствии с требуемым усилием зацепления оправки с упомянутым материалом, которое обеспечивается в результате прецизионного действия захвата, становится возможным идеальное, надежное и немедленное закрепление материала без какой-либо при этом опасности его отпускания, и тем самым гарантируется идеальное и быстрое формирование бунта без каких-либо препятствий.
Фактически, зажимной захват, по существу, образован:
– нижним зубчатым ободом, который вращается вместе с оправкой, причем со стороны оправки на ободе предпочтительно предусматривается наличие спиральных ребер, имеющих противоположное расположение,
– верхними роликами, расположенными в виде полуобода и установленными неподвижно, т.е., так сказать, они не вращаются по отношению к оправке, но при этом способны свободно вращаться на холостом ходу и, следовательно, они работают так же, как и верхние зубья захвата, но, оставаясь при этом в неподвижном своем положении, совершают вращательное движение, и, следовательно, они обеспечивают продвижение материала, принудительно заправляемого между нижним зубчатым ободом и наружной поверхностью оправки.
Поэтому концепция закрепляющей системы с захватом, имеющим зацепляющие зубья вместе с первым формообразованием витка, является исключительно эффективной именно в связи с применением:
– зубьев, и не в канале, как предполагается в предшествующих технических решениях, а с одной (нижней) стороны, а также
– направляющих прижимных роликов с другой (противоположной верхней стороны);
– при наличии спирального оребрения или зубчатого венца, расположенного напротив зубьев и тоже находящихся на поверхности оправки.
Кроме того, настоящее изобретение обеспечивает также возможность применения сменных зубьев, что позволяет легко переналаживать моталку для работы ее с различными типами проволоки или прутков либо профилированного проката, а также профилей, поскольку в противном случае при переходе с одного типа продукции на другой каждый раз возникала бы также еще и необходимость в замене самой намоточной машины, потому что один и тот же направляющий канал не пригоден бы был для переналаживания его под намотку материала любой формы или профиля.
Рассматривая эту возможность всего лишь только в качестве примера, сразу же становится очевидным, что при такой ее конструкции на одной и той же намоточной машине можно производить намотку самых разнообразных видов материала, а именно плоского проката или же профилированного проката либо гладких или ребристых прутков и т.д., поступающих к этой машине от одного прокатного стана или же от нескольких отдельных поточных линий прокатки.
Таким образом, весьма полезно было бы иметь в своем распоряжении такую моталку, которая способна наматывать материал, обладающий самой разнообразной формой, причем эти соображения относятся также и к взаимодействию этой моталки с соответствующими передаточными средствами, обеспечивающими перемещение бунта намотанного материала дальше по технологической цепочке, как правило, к обвязочной машине, где производится обвязывание бунта по завершении его намотки.
Краткое описание изобретения
Более полное понимание настоящего изобретения будет достигнуто с помощью прилагаемых чертежей, иллюстрирующих, в частности, предпочтительный вариант осуществления настоящего изобретения, которое, однако, не ограничивается только лишь этим своим вариантом.
На этих чертежах представлены фиг.1-7.
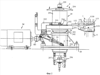
Фиг.1 – схематически изображенная в виде сбоку вертикальная проекция намоточной установки, содержащей моталку, снабженную намоточной оправкой и выполненную согласно настоящему изобретению. В данном положении намоточной оправки виден наружный верхний фланец, выполненный в виде секторов (254) и находящийся в нижнем своем положении, то есть в горизонтальном положении (наподобие лепестков раскрывшегося цветка), а именно в положении намотки, в котором производится формирование бунта наматываемого материала.
Фиг.2 представляет собой схематический вид сверху для намоточной установки, показанной на фиг.1.
Фиг.3 – представленный в увеличенном масштабе вид (в вертикальном осевом сечении, проходящем через осевую линию намоточной оправки) закрепляющей системы, предназначенной для зацепления конца наматываемого материала и формирования последующих витков.
Фиг.4 – представленный в увеличенном масштабе вид сверху для показанной на фиг.3 намоточной оправки вместе с соответствующим своим зубчатым ободом, предназначенным для зацепления наматываемого материала и выполненным согласно настоящему изобретению.
Фиг.5 представляет собой такой же вид, как и показанный на фиг.4, и рассматриваемый совместно с вырывом, изображенным на фиг.6 и показывающим в увеличенном масштабе форму и расположение зубьев, а также каким образом обеспечивается плотное прилегание проволоки или сортового проката либо прутка (материала, подлежащего наматыванию) в промежутке между зубьями и корпусом оправки; в данном конкретном случае наматываемый материал (Т1) имеет форму ребристого сортового проката, т.е. материала, имеющего преимущественное применение при строительстве железобетонных сооружений.
В данном случае ясно показано, что оребрение сортового проката (Т1) легко проходит между зубьями (252), обеспечивая при этом абсолютно надежную блокировку сортового проката; однако то же самое обеспечивается также и в том случае, когда упомянутое оребрение практически отсутствует.
Фиг.6 представляет собой схематический вид спирального зажимного оребрения (2531), выполненного на поверхности оправки с противоположной стороны относительно зубьев (252), что решающим образом способствует лучшему зажиманию проволоки и предотвращает выпадение проволоки благодаря соответствующему воздействию внутреннего тягового усилия, передаваемого спиральными канавками.
Фиг.7 – представленный в еще более увеличенном масштабе вид левой части фиг.3, где более детально показана прижимная система, снабженная роликами (2341), которые поступательно оказывают давление на проходящий мимо них сортовой прокат, удерживая его в промежутке между указанными зацепляющими зубьями (252) и оправкой (253).
Аналогично, фиг.8 является представленным в увеличенном масштабе видом правой части фиг.3, где показана не только арочная форма (2520) зуба (252) с углублением в виде арки, направленным в сторону оправки, но также и наклонная трапециевидная форма зуба с наружной его стороны (2521), благодаря чему обеспечивается соответствующий наклон зуба, а высота зуба при этом не превышает диаметра сортового проката (Т1), что позволяет избежать формирования витков, защемляющихся между двумя другими витками, а именно между первым и третьим витками проволоки при намотке бунтов.
Таким образом, следует понимать, что готовый бунт легко можно будет в этом случае снять по завершении его намотки, а минимальный промежуток, предусматриваемый в зубчатом венце между отдельными зубьями (252), не оказывает сколь-либо существенного влияния на его форму, размер или вес.
Осуществление изобретения
Из представленных здесь чертежей следует, что намоточная установка включает в свой состав моталку (2), снабженную электроприводом (М, Ml), предназначенным для привода ее оправки (25) во вращательное движение, а также полукруглыми прижимными средствами, выполненными в виде раскрытого захвата (233) и снабженного прижимными роликами (234, 2341), установленными на рычаге (232), который имеет шарнирное крепление (230) и приводится в движение при помощи возвратного рычага (231), снабженного поршнем (23), который шарнирно установлен на основании (20) моталки (2).
Таким образом, предусматривается, как это показано тонкими линиями, чтобы захват вместе с роликами (232, 233) раскрывался во внешнюю сторону и мог подниматься, а затем опускаться, прижимаясь при этом к нижнему фланцу (252) основания намоточной оправки (253), который согласно настоящему изобретению представляет собой зубчатый обод, предназначенный для удерживания наматываемого материала (252) в прижатом к зубьям этого обода состоянии.
Заправке проволоки способствует соответствующее входное устройство, выполненное в виде воронки и расположенное с входной стороны (235) захвата (232), причем сразу же за этим устройством находится первый прижимной ролик (234), и такое решение конструкции данного устройства более эффективно по сравнению с прочими входными устройствами.
Шарнирное крепление прижимного захвата (232, , 32) выполнено таким образом, чтобы обеспечивалась возможность перемещения его из положения, в котором его ролики (234, 2340, 2341) находятся в зацеплении с зубчатым ободом (252), в такое его положение, когда он находится, по существу, в отведенном назад состоянии на значительном расстоянии с наружной стороны относительно зоны намотки материала (обеспечивая при этом возможность подвести к зубчатому ободу другой комплект расположенных противоположно роликов (не показаны), способствующих намотке последних витков, когда наматываемая проволока уже больше не удерживается приводными средствами в натянутом состоянии при завершении намотки бунта, а это позволяет зажать и снять бунт, не ослабляя при этом затяжки самих витков).
Намоточная оправка (253) может приводиться во вращательное движение с разными скоростями при помощи системы электродвигателей (М, M1), которые размещаются непосредственно за установкой с той ее стороны, где располагается захват вместе с роликами (233, 234). Таким образом, намоточная система освобождается при этом от каких-либо препятствий, которые мешали бы подводить другие ортогональные ролики, имеющие противоположное расположение и способствующие формированию последних витков на заключительных стадиях намотки.
Скорость вращения оправки определяется расчетным путем таким образом, чтобы окружная скорость была все время одной и той же и соответствовала скорости линейного перемещения проволоки, причем управление работой установки осуществляется при помощи соответствующего электронного управляющего блока, расположенного на расстоянии от системы обеспечения безопасности с тем, чтобы на его работу не влияла температура, возникающая в зоне проведения работ по намотке.
Оправка состоит из убирающихся секторов, которые при совместном их перемещении в нижнем направлении с отведением их внутрь (255, 256) извлекаются из бунта по завершении его намотки и располагаются таким образом, чтобы оправка приняла коническую форму, благодаря чему облегчается снятие готового бунта с оправки в верхнем направлении и высвобождение закрепленной ранее головной части проволоки.
На фланце (251) основания предусматривается наличие расположенных поперечно канавок (2510), позволяющих захватывать бунт расположенными друг напротив друга зажимными губками, чтобы затем, приподняв бунт, извлечь его из моталки, причем упомянутый фланец входит составной частью в конструкцию самой оправки (2530), благодаря чему конструкция ее получается упрощенной и не имеет сложных механизмов, обеспечивающих возможность перемещения ее частей.
Более конкретно, оправка (2530), как упомянуто (хотя и не показано) выше, состоит из четырех секторов, шарнирно крепящихся к основанию фланца (251), и которые скрепляются между собой при снятии готового бунта с оправки, а также связаны с механизмом (не показан), обеспечивающим вращение четырех верхних секторов (254) фланца, которые при помощи оси (255) и соответствующих устройств для их перемещения (257), находящихся снизу установки, поднимаются вверх, как лепестки цветка, обеспечивая тем самым возможность снять бунт в верхнем направлении (лепестки сомкнуты).
Спереди относительно моталки (2) находится тележка (1), направляющая движение проволоки, и которая содержит горизонтальную направляющую (121) основания (10), расположенного ортогонально по отношению к средней линии перемещения материала (Х-Х), и на котором смонтирован ползун (11) со шнековой стойкой (111).
Таким образом, ползун (11) движется попеременно по команде (не показано), перемещая при этом шнековую стойку (11-111) вдоль оси (Y-Y) таким образом, чтобы она всегда находилась на одной линии, а именно занимала тангенциальное положение по отношению к диаметру наматывания бунта на оправку (253), который постепенно весьма заметно возрастает по мере увеличения диаметра наматываемого бунта.
Шнековая стойка (11-111) перемещается в вертикальном направлении при возвратно-поступательном (и, следовательно, попеременном) движении ползуна (110), который тем самым то поднимается вверх, то опускается вниз вдоль ортогональной оси (Z-Z), постепенно формируя, таким образом, во время намотки соответствующие витки, направленные то в переднем, то в заднем направлении.
С этой целью пластина ползуна, которая перемещается в вертикальном направлении (110) шнековой стойкой (111) применительно к левому или правому вращению с помощью известного электродвигателя (например, со ступенчатым управлением) и соответствующего электронного блока управления, который контролирует все перемещения намоточного устройства, поддерживает с помощью шарниров конец опорного или качающегося направляющего стержня (1131), по которому перемещается наматываемый материал, к примеру, такой как проволока, либо пруток или сортовой прокат, поступающий от соответствующего прокатного стана, оборудованного той или иной режущей системой (не показан).
Упомянутая направляющая шарнирно крепится (1130) к упомянутой пластине, что позволяет ей совершать возвратно-поступательные движения с наклоном, необходимые для формирования витков в моталке (25).
Опора (11341) направляющего стержня содержит направляющий канал для поступающего материала (113) и представляет собой входной удлинитель направляющей для проволоки (1130).
Непосредственно сразу же за этим направляющим каналом (1130-113) находится качающийся удлинитель направляющей для проволоки (112), который качается на штифте (1120), благодаря чему материал во время его намотки всегда находится под соответствующим углом наклона – один раз с наклоном вверх (при этом удлинитель направляющей для проволоки перемещается в нижнем направлении) и один раз с наклоном вниз (при этом удлинитель направляющей для проволоки перемещается в верхнем направлении), благодаря чему угол наклона материала всегда будет соответствовать углу наклона, который нужно выдерживать во время намотки проволоки на бобину, и никогда не будет ортогональным. С обеспечением при этом соответствующих преимуществ концевая часть указанного качающегося удлинителя направляющей для проволоки (112) может выполняться сменной, что позволяет подобрать такую концевую часть к удлинителю, которая соответствовала бы по своей форме тому типу материала, который подлежит наматыванию.
Продвигающийся вперед материал сходит, таким образом, с удлинителя направляющей для проволоки (112) и поступает на вход (235) захвата, снабженного направляющими роликами (233-234), где материал (Т1) постепенно прижимается этими роликами (233, 2341) в промежутке между зубчатым ободом (252) и наружной поверхностью оправки (253), в результате чего происходит принудительное зацепление этого материала (Т1).
Таким образом, материал (Т1) заклинивается в зубчатом ободе (252), что способствует натяжению проволоки с целью обеспечения плотной ее намотки на оправку (25).
Следует отметить, что с обеспечением при этом соответствующих преимуществ первый ролик на входе несколько поднутрен (234-2340), благодаря чему облегчается заправка материала (Т1) внутрь захвата, а следующие за ним ролики, имеющие цилиндрическую форму (2341), окончательно прижимают материал (Т1) в промежутке между зубчатым ободом (252) и наружной поверхностью оправки (253) до тех пор, пока этот материал не коснется днища фланца основания (251).
Разумеется, можно было бы также предусмотреть и наличие выпуклых или же ребристых роликов, расположенных в конце, обеспечив тем самым лучшее проталкивание проволоки или прутка между зубьями в заключительной стадии на выходе (т.е. на конце захвата).
Арочная форма внутренней поверхности зуба (2520) с углублением в виде арки способствует закреплению наматываемого материала и препятствует выходу материала из общей схемы его укладки.
Наружная трапециевидная форма зубьев (2521, 252) обеспечивает лучшую укладку последующих витков бунта, не препятствуя зигзагообразному их формированию.
Следует отметить, что направляющие прижимные ролики смонтированы (233) на подшипниках (2331-2332), в которые ось (2342) роликов 234 вставляется с обеспечением при этом ее свеса, где выполняется скошенный фланец (2342), соответствующий, по своей форме, наклонной трапециевидной поверхности (2521) зубьев (252). Такая улучшенная опора способствует точному и подконтрольному прохождению материала, подлежащего наматыванию. Кроме того, при такой установке ролика со свесом в направлении оправки, обеспечивается также возможность максимально приблизить его к оправке с соответствующим улучшением при этом нужной направленности движения проволоки.
Вполне естественно, что все зубья (252), как уже было указано здесь выше, выполняются сменными и разными по своей форме, что позволяет подбирать их в соответствии с различными формами и размерами материала, подлежащего наматыванию.
Очевидно, что число прижимных роликов (234) может изменяться в широких пределах.
Чтобы улучшить способность их к удерживанию материала, можно также предусмотреть выступающее спиральное оребрение для захвата материала на наружной их поверхности (2531), обращенной к оправке (253) с противоположной относительно зубьев (252) стороны.
По завершении намотки бунта оправка сокращается в диаметральном направлении, приобретая при этом коническую форму, в результате чего пруток, зажатый на первом своем намотанном витке, высвобождается, благодаря чему облегчается извлечение бунта, осуществляемое в верхнем направлении.
С обеспечением при этом соответствующих преимуществ внутренняя поверхность упомянутых зубьев (252) выполняется оребренной, и/или зубчатой, и/или с насечкой. Благодаря этому гарантируется лучшее захватывание, как и для поверхности (2520), расположенной с противоположной стороны.
Возможность замены упомянутых зубьев обеспечивается при помощи соответствующей крепежной системы, проходящей сквозь упомянутый фланец основания (251). Благодаря этому можно легко произвести замену зубьев, когда они износятся, или даже заменить их на зубья какого-либо другого типа, чтобы можно было проводить намотку других материалов.
Во избежание какого-либо риска и с целью обеспечения надлежащей безопасности целиком вся моталка помещена полностью в соответствующий кожух, изготовленный из листового металла, а для контроля за ее работой, ведущегося из расположенной на удалении от нее телевизионной диспетчерской, предусматривается наличие соответствующих телекамер, причем моталка оборудована всеми необходимыми средствами, обеспечивающими полный контроль над ее функционированием.
С обеспечением при этом соответствующих преимуществ моталка выполняется таким образом, что она имеет вертикальную ось (2) и размещена в бронированном кожухе, изготовленном из листового металла, с обеспечением доступа внутрь него через безопасную дверь, которую невозможно открыть во время работы моталки, а сверху в нем предусматривается отверстие для спуска вниз соответствующих средств для изъятия из моталки готового бунта, что позволяет вынимать этот бунт в верхнем направлении, причем внутри упомянутого кожуха предусматривается также наличие соответствующих средств управления с датчиками и видеокамерой, с помощью которых осуществляется управление работой моталки, а также контроль за нормальным протеканием этой работы из кабины дистанционного управления.
С обеспечением при этом еще больших преимуществ предусматривается оборудование прокатного стана предлагаемыми моталками, входящими в состав, по меньшей мере, двух поточных линий намотки, расположенных в технологической цепочке за прокатным станом и оснащенных соответствующей системой для непрерывной резки получаемого проката и распределения его между этими линиями намотки, причем параллельно этим идентичным друг другу моталкам, имеющим – каждая – вертикальную ось (2), между ними располагается соответствующее вертикальное передаточное устройство для извлечения готовых бунтов из моталок, снабженное стойкой с поворотным рычагом, которое предназначается для попеременного извлечения готовых бунтов таким образом, что очередной готовый бунт извлекается из одной моталки сверху в то время, когда в другой моталке происходит формирование следующего бунта, и поворотным движением указанного передаточного устройства перемещается дальше по технологической цепочке непосредственно в обвязочную машину, предназначенную для обвязывания бунтов.
Формула изобретения
1. Моталка (2) для металлической катанки или тянутой проволоки и/или прутка, которые представляют собой материал, подлежащий наматыванию его в виде бунта (Т), содержащая намоточную оправку (25-253), выполненную в виде барабана с наружным фланцем (254), который может раскрываться для извлечения намотанного бунта, и фланцем (251) основания, несущим нависающую оправку (253), и связанную с соответствующими направляющими средствами для наматываемого материала (1), а также направляющими средствами (232-233), предназначенными для заправки наматываемого материала и удерживания, по меньшей мере, некоторой части первого его витка (Т1), которые примыкают к оправке (253) и к фланцу (251) основания, при этом направляющие средства оборудованы соответствующими приводными средствами (230, 231, 23), обеспечивающими их перемещение из положения, в котором направляющие средства примыкают к оправке (253) и к фланцу (251) основания, в отведенное от них назад положение, отличающаяся тем, что направляющие средства (232-233) включают в себя ряд соответствующих прижимных роликов (234, 2341) для обеспечения плотного прижатия наматываемого материала в соответствующей впадине во время формирования, по меньшей мере, некоторой части первого витка (Т1) материала, когда направляющая непосредственно примыкает к оправке (253), и впадина образована рядом зубьев (252), расположенных в виде кольца и образующих зубчатый обод, предназначенный для удерживания указанного материала.
2. Моталка (2) по п.1, отличающаяся тем, что направляющие средства с прижимными роликами (233, 234, 2341) выполнены в виде кольца и смонтированы на рычаге (232), шарнирно установленном на оси (230), и размещены с противоположной стороны относительно направляющей системы для проволоки (1) сразу же за ней в направлении движения проволоки, при этом ось (230) шарнирного крепления, по существу, расположена ортогонально относительно линии перемещения проволоки и находится в ортогональной проекции по отношению к оси оправки, в результате чего упомянутые кольцевые направляющие средства с прижимными роликами (233, 234, 2341) в состоянии покоя подняты вверх и отведены назад на довольно значительное расстояние по отношению к линии движения наматываемого материала в направлении его перемещения, а в рабочем своем положении передвинуты вперед и опираются на упомянутый зубчатый венец (252), причем упомянутые прижимные ролики (234, 2341) выполнены вращающимися на холостом ходу.
3. Моталка (2) по п.2, отличающаяся тем, что упомянутая впадина образована зубчатым ободом (252), выступающим относительно упомянутого фланца (251) основания, прижимные ролики (234, 2341), вращающиеся на холостом ходу, имеют ось, расположенную радиально по отношению к оси оправки, и обеспечивают плотное прижимание наматываемого материала (Т1) в промежутке между зубьями (252) и оправкой (253), когда направляющая непосредственно примыкает к оправке (253).
4. Моталка (2) по п.3, отличающаяся тем, что на внутренней поверхности с противоположной стороны относительно зубчатого обода (252), со стороны оправки (253), предусмотрено оребрение или зажимные зубья (2531).
5. Моталка (2) по п.4, отличающаяся тем, что оребрение или зажимные зубья (2531) расположены, в сущности, по спирали или соответственно наклонены для обеспечения постепенного принудительного перемещения заправляемого наматываемого материала (Т1) в сторону нижнего фланца по отношению к направлению вращения, в результате чего материал проталкивается роликами (234, 23341) и перемещается со скольжением за счет тягового усилия, создаваемого оправкой, еще дальше в глубь упомянутой впадины, образованной упомянутым зубчатым ободом (252).
6. Моталка (2) по любому из пп.1-5, отличающаяся тем, что, по меньшей мере, первый ролик (34) на входе упомянутого захвата (233) имеет выемку для обеспечения возможности продвижения вперед (2340) заправляемого материала (Т1) и расположен таким образом, что он, по существу, непосредственно примыкает к входной зоне (235) для заправки проволоки.
7. Моталка (2) по любому из пп.1-5, отличающаяся тем, что, по меньшей мере, некоторые из упомянутых прижимных роликов (34) имеют цилиндрическую форму (2341).
8. Моталка (2) по любому из пп.1-5, отличающаяся тем, что упомянутые зубья (252) выполнены сменными.
9. Моталка (2) по любому из пп.1-5, отличающаяся тем, что упомянутые зубья (252) имеют выемки, обращенные внутрь (2520) в сторону оправки (253).
10. Моталка (2) по любому из пп.1-5, отличающаяся тем, что упомянутые зубья (252) имеют скошенную заднюю грань, выполненную по форме усеченного конуса и обращенную наружу (2521) в сторону, противоположную оправке (253).
11. Моталка (2) по любому из пп.1-5, отличающаяся тем, что проекция упомянутых зубьев (252) по своему размеру не превышает диаметр указанного наматываемого материала (Т1).
12. Моталка (2) по любому из пп.1-5, отличающаяся тем, что упомянутые зубья (252) размещены на упомянутом фланце (251) основания таким образом, что ось каждого из них, по существу, соответствует положению второго ряда витков бунта во время его намотки (Т-Т1), при этом указанные зубья внедряются внутрь бунта между первым рядом его витков и третьим рядом витков бунта.
13. Моталка (2) по любому из пп.1-5, отличающаяся тем, что внутренняя поверхность (2520) упомянутых зубьев (252) выполнена оребренной, и/или зубчатой, и/или с насечкой.
14. Моталка (2) по любому из пп.1-5, отличающаяся тем, что упомянутые ролики имеют скошенный фланец (2342), которым ролик при качении опирается на наклонную наружную заднюю поверхность (2521) упомянутых зубьев (252).
15. Моталка (2) по любому из пп.1-5, отличающаяся тем, что упомянутые прижимные ролики (234, 2341) смонтированы с нависанием (2343) и в рабочем положении выступают внутрь в направлении оси указанной оправки (253).
16. Моталка с вертикальной осью (2) по любому из пп.1-5, отличающаяся тем, что она размещена в бронированном кожухе, изготовленном из листового металла, с обеспечением доступа внутрь него через безопасную дверь, которую невозможно открыть во время работы моталки, и имеющем сверху предусмотренное в нем отверстие для спуска вниз соответствующих средств для извлечения из моталки готового бунта, причем указанный кожух оснащен соответствующими средствами управления с датчиками и видеокамерой, с помощью которых осуществляется управление работой моталки, а также контроль за нормальным выполнением этой работы из кабины дистанционного управления.
17. Установка для формирования бунтов из прутка или проволоки, связанная с соответствующими средствами для перемещения и обвязывания бунтов и содержащая, по меньшей мере, одну моталку, выполненную согласно любому из пп.1-10.
18. Прокатный стан, оборудованный, по меньшей мере, одной моталкой (2), выполненной согласно любому из пп.1-16.
19. Прокатный стан по п.18, который оборудован, по меньшей мере, двумя поточными линиями намотки, расположенными в технологической цепочке за прокатным станом и оснащенными соответствующей системой для непрерывной резки получаемого проката и распределения его между указанными линиями намотки, причем параллельно указанным моталкам, каждая из которых имеет вертикальную ось (2) и выполнена согласно любому из предшествующих пунктов, между ними расположено соответствующее вертикальное передаточное устройство для извлечения готовых бунтов из моталок, снабженное стойкой с поворотным рычагом и предназначенное для попеременного извлечения готовых бунтов таким образом, что очередной готовый бунт извлекается из одной моталки сверху во время формирования следующего бунта в другой моталке и поворотным движением указанного передаточного устройства перемещается дальше по технологической цепочке непосредственно в обвязочную машину для обвязывания бунтов.
РИСУНКИ
|
|