|
(21), (22) Заявка: 2006122807/02, 22.10.2004
(24) Дата начала отсчета срока действия патента:
22.10.2004
(30) Конвенционный приоритет:
27.11.2003 DE 10355977.9
(43) Дата публикации заявки: 10.01.2008
(46) Опубликовано: 20.05.2009
(56) Список документов, цитированных в отчете о поиске:
US 5085069 A, 04.02.1992. US 6546772 B2, 15.04.2003. US 5802904 A, 08.09.1998. US 5857372 A, 12.01.1992. SU 944692 A, 23.07.1982. RU 2210448 C1, 13.11.2001.
(85) Дата перевода заявки PCT на национальную фазу:
27.06.2006
(86) Заявка PCT:
EP 2004/011972 20041022
(87) Публикация PCT:
WO 2005/061138 20050707
Адрес для переписки:
129090, Москва, ул. Б. Спасская, 25, стр.3, ООО “Юридическая фирма Городисский и Партнеры”, пат.пов. Ю.Д.Кузнецову, рег. 595
|
(72) Автор(ы):
МЮНКЕР Йохен (DE), ЛАНГЕР Хендрик (DE), ВЕНДТ Штефан (DE)
(73) Патентообладатель(и):
СМС ДЕМАГ АГ (DE)
|
(54) СТАНИНА ДЛЯ ОБЖИМНЫХ КЛЕТЕЙ ПРОКАТНОГО СТАНА, ВЫПОЛНЕННАЯ ИЗ НЕСКОЛЬКИХ КОМПОНЕНТОВ
(57) Реферат:
Изобретение относится к станине для обжимных клетей прокатного стана. Станина для обжимных клетей прокатного стана выполнена из нескольких основных деталей, например, соединенных между собой посредством болтов двух поперечин и четырех продольных балок, на концах верхних и нижних продольных балок предусмотрено соответствующее соединение поперечины и продольных балок в форме крестовины, и на концах верхних продольных балок предусмотрены предварительно напряженные, действующие как шарнир винтовые стержни. Обеспечивается оптимизация разъемных обжимных клетей, сужение проема станины, оптимизация рабочей нагрузки клети. 11 з.п. ф-лы, 10 ил.
Описание
Изобретение относится к станине для обжимных клетей прокатного стана, выполненной из нескольких основных компонентов, например поперечин и продольных балок, соединенных между собой посредством болтов.
Станины для обжимных прокатных клетей представляют собой в большинстве случаев литые конструкции для монтажа необходимых для обжатия прокатываемого материала узлов, например, для установки, уравновешивания, комплекта валков, приводного механизма, двигателя и т.д.
Известны литые конструкции, состоящие из двух частей с горизонтальным стыковым швом, при этом две половины станины соединены с геометрическим замыканием, например, при помощи стяжного кольца.
Все варианты литых конструкций имеют недостаток, заключающийся в том, что изготовление массивных литых деталей всегда связано с большими сложностями и соответствующей степенью риска. Кроме того, недостатком является то, что большой вес конструкций обусловливает повышенные требования к используемому для производства оборудованию. Поэтому ограничен выбор литейных цехов и обрабатывающих предприятий, с чем сопряжены также коммерческие ограничения.
Означенная выше и практически осуществимая конструкция представляет собой разъемную станину, состоящую из соединенных между собой болтами двух поперечин и четырех продольных балок.
В основе изобретения лежит задача оптимизации обжимных клетей разъемной конструкции, что позволяет лучше учитывать сужение проема станины, рабочую нагрузку и ударное усилие (максимальное горизонтальное усилие, с которым прокатываемый материал подается на сведенные валки клети с вертикальными валками).
Поставленная задача решается согласно изобретению тем, что в форме исполнения из нескольких основных компонентов, а именно из двух поперечин и четырех продольных балок, на концах верхней и нижней продольных балок предусмотрено соответствующее соединение поперечины и продольных балок в форме крестовины, при этом по меньшей мере на концах верхней продольной балки предусмотрены предварительно напряженные, действующие как шарнир винтовые стержни. Эти предварительно напряженные винтовые стержни благодаря высокому предварительному напряжению обеспечивают долговременное надежное соединение. Поэтому, во-первых, сохраняется относительно низкое, по сравнению с усилием предварительного напряжения, дополнительное усилие винта и, во-вторых, устраняется неплотное прилегание или пульсация в стыковом шве. Шарнирное соединение посредством предварительного напряжения позволяет, кроме того, снизить сужение проема станины под нагрузкой, по отношению к сравнимой, состоящей всего лишь из двух частей обжимной клети.
Далее, за счет особой крестообразной формы на концах продольных балок оптимизируется уровень напряжения и характер напряжения в продольных балках и/или в поперечине. Моделирование на основе метода конечных элементов подтвердило обоснованность этих выводов. Кроме того, обнаружен оптимум для предварительного напряжения винта, при котором конструктивно обусловленная расточка в поперечине для монтажа установочного механизма для инструмента не существенно деформируется относительно узкого интервала заданных допусков.
В варианте реализации изобретения предусмотрено, что поперечины выполнены соответственно как одно целое и закреплены соответственно на фундаментной плите.
Далее, преимуществом является то, что поперечины за счет геометрического замыкания с продольными балками и вместе с предварительно напряженными винтовыми стержнями образуют единый узел.
Далее, изготовлению станины благоприятствует то, что по меньшей мере поперечины и продольные балки изготовлены соответственно из литых материалов.
Далее, статика обеспечивается также тем, что винтовые стержни расположены попарно симметрично средней плоскости.
Другое усовершенствование заключается в том, что в дополнение к винтовым стержням предусмотрены попарно симметрично средней плоскости болты с резьбой.
Следующая форма реализации состоит в том, что посредством крестовины, винтовых стержней и болтов с резьбой продольные балки закреплены в соответствующей поперечине. Болты с резьбой могут ввинчиваться в глухие резьбовые отверстия и располагаться с наружной стороны станины.
Соединения между поперечиной и продольными балками выполнены предпочтительно таким образом, что в поперечине предусмотрен крестообразный карман, в который входят в зацепление расположений шип и внешний шип. В выступах полок крестовин, предусмотренных на концах продольных балок, выполнены проточки под винтовые стержни и/или болты с резьбой. Размеры шипов обусловлены конструктивными особенностями поперечины, и их величина обеспечивает прохождение предварительно напряженных винтов около монтируемых в поперечине деталей соответственно через две продольные балки.
Расположенная снаружи полка крестовины или расположенная внутри полка крестовины образуют соответственно паз или шип, которые соответственно, находясь один напротив другого, взаимно согласованы друг с другом. Эти паз и шип заходят в специально подогнанный крестообразный карман поперечины, который, в свою очередь, имеет корреспондирующие паз и шип, и образуют, таким образом, геометрическое замыкание между поперечиной и продольными балками.
Характер сечения продольной балки в поперечном отношении к полкам крестовины, образующим паз или шип, соответственно к карману в поперечине, зависит от конкретных нагрузок обжимной клети, в том что касается рабочего усилия и ударного усилия, и выполнен различным по длине продольной балки. В сущности, сечение соответствует форме несущей балки, подверженной аналогичной нагрузке.
Согласно другим признакам, предусмотрено, что переходы сечения в поперечине и/или в продольных балках выполнены с соответственно большими радиусами в зависимости от рабочего усилия и ударного усилия. Тем самым обеспечивается равномерный характер напряжения.
Крестообразные карманы поперечины и крестообразные шипы на соответствующих концах продольных балок снабжены проточками. Проточки могут быть заполнены уплотнительным материалом, например силиконом. Благодаря этому не допускается попадание грязи, воды и других примесей.
Следующая форма реализации предусматривает, что для облегчения монтажа предусмотрены помимо винтовых стержней также болты с резьбой, выполненные как натяжные болты и, как винтовые стержни, содержащие выполненные в горячем состоянии проточки , резьбовые концы и центрирующие буртики. Все винтовые стержни и болты с резьбой снабжены удлиненным выходом резьбы, который позволяет осуществлять контролируемую затяжку соответствующим инструментом для предварительного напряжения, что обеспечивает надежный контроль усилия предварительного натяжения.
Один из вариантов вышеописанной конструкции может быть создан на основе того, что поперечина разделена на верхнюю часть и нижнюю часть, и верхняя часть и нижняя часть соединены между собой посредством стяжного кольца, фланцевым соединением или при помощи промежуточного элемента.
На чертежах представлены примеры реализации изобретения, которые далее поясняются более детально. Показаны:
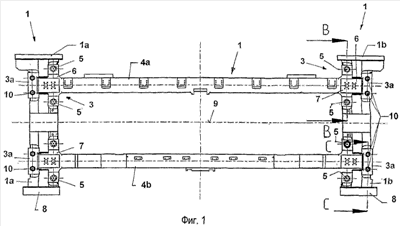
Фиг. 1 – станина в виде спереди,
Фиг. 2 – поперечина, вид в перспективе,
Фиг. 3 – отдельная продольная балка, вид в перспективе,
Фиг. 4 – разрез В-В в верхней части в передней плоскости и разрез С-С в нижней части в задней плоскости по фиг. 1,
Фиг. 5А – вид на крестовину в поперечине,
Фиг. 5В – вид сбоку относительно фиг. 5А,
Фиг. 6 – частичный разрез по концу продольной балки,
Фиг. 7 – вид сверху в направлении А (фиг. 6) на крестовину в продольной балке,
Фиг. 8 – вид винтового стержня, и
Фиг. 9 – вид болта с резьбой.
Согласно фиг. 1 основные компоненты 1 включают две поперечины 1а и 1b и четыре продольные балки 4а и 4b. На сопряжении с поперечиной 1а, 1b образованы соответственно места соединений 3 с закрывающими деталями 3а.
В показанной форме реализации основных компонентов 1 из двух поперечин 1а, 1b и четырех продольных балок 4а, 4b на соответствующем конце 6 продольной балки образована крестовина 7 из полок 11 или шипов 19.
Соединение между поперечиной 1а, 1b и продольными балками 4а, 4b, которые опираются соответственно на детально не показанную фундаментную плиту под основанием 8 поперечины, осуществляется посредством винтовых стержней 5, которые предварительно напряжены и поэтому образуют в упруго-растяжимом в осевом направлении материале и поперечно шарнир. Конец 6 продольной балки через крестовину 7 соединен посредством болтов 10 с поперечинами 1а, 1b.
В средней плоскости 9 могут быть встроены такие инструменты, как например пары прокатных валков для клетей с боковым обжатием или блоки прессов и т.п.
На основе этой станины прокатываются c боковым обжатием, то есть деформируемые с уменьшением по ширине, стальные слябы толщиной от 150 до 300 мм, при входной температуре примерно 1150°C и скоростях 1,5-6 м/с, или алюминиевые слябы толщиной до 600 мм при входной температуре примерно 540°C.
На фиг. 2 на поперечине 1а, 1b легко узнаваемы крестообразный карман 12, переходы сечения 2а и расположенный внутри паз 13а, а также расположенный снаружи паз 13b.
Согласно фиг. 3 основными компонентами 1 являются продольные балки 4а, 4b. Концы 6 продольной балки включают устроенные в форме крестовины 7 шипы 19 с расположенными снаружи полками 13, расположенными внутри пазами 13а, расположенными снаружи пазами 13b и полкой 11, снабженные переходами сечения 2b и проточками 18 в продольной балке 4а, 4b.
Поперечины 1а, 1b закреплены на фундаментной плите под основанием 8 поперечины, и согласно фиг.4, 5А и 5В, за счет крестовины 7 создаются следующие места соединений.
Винтовые стержни 5 (фиг. 4, верхняя часть) соединяют поперечину 1а, 1b соответственно с продольными балками 4а и 4b.
Болты 10 с резьбой (фиг. 4, нижняя часть) соединяют поперечину 1а, 1b с продольными балками 4а, 4b и ввинчиваются соответственно в глухое резьбовое отверстие поперечины 1а, 1b.
Поперечина 1а, 1b (фиг. 5А и 5В) за счет геометрического замыкания с продольными балками 4а, 4b и вместе с винтовыми стержнями 5 и болтами 10 с резьбой образует единый узел. Винтовые стержни 5 и болты 10 с резьбой расположены попарно симметрично средней плоскости 9.
В поперечине 1а, 1b предусмотрены карман 12 и расположенная снаружи полка 11, которые образуют крестовину 7 и соответственно взаимодействуют с образованием геометрического замыкания с расположенными внутри шипами 19а, расположенными снаружи шипами 19b продольной балки 4а, 4b (или карманами 12 поперечины 1а, 1b). В этой связи скомпонованы крестообразно расположенный внутри (или расположенный снаружи) шип 19а и расположенный снаружи (или расположенный внутри) шип 19b.
Могут быть предусмотрены также крестообразные карманы 12 лишь в поперечине 1а, 1b, в которые входят в зацепление крестообразные шипы 19а, 19b продольных балок 4а, 4b.
На крестообразных карманах 12 с полками 11, с которыми граничат пазы 11а (фиг. 5В) или шипы 19а, 19b, снаружи или внутри выполнены выточки 14. Выточки 14 могут быть заполнены уплотнительными материалами, например силиконом, которые не допускают попадание грязи и/или воды или других примесей.
Болты 10 с резьбой также могут быть выполнены как натяжные болты и аналогично винтовым стержням 5 (фиг. 8 и 9) включать проточки 15, выполненные в горячем состоянии, два резьбовых конца 16, центрирующий буртик 17 и проходить через проточки 18.
Как альтернативный вариант поперечина 1а, 1b разделена на верхнюю часть 1с и нижнюю часть 1d (фиг. 4) и верхняя часть 1с и нижняя часть 1d соединены между собой посредством стяжного кольца (не показано), фланцевым соединением или при помощи промежуточного элемента.
Перечень позиций на чертежах:
1) основной компонент;
1а) поперечина;
1b) поперечина;
1с) верхняя часть поперечины;
1d) нижняя часть поперечины;
2а) переход сечения в поперечине;
2b) переход сечения в продольной балке;
3) место соединения;
3а) покрывающие детали;
4а) продольная балка;
4b) продольная балка;
5) предварительно напряженный винтовой стержень;
6) конец продольной балки;
7) крестовина;
8) основание поперечины;
9) средняя плоскость;
10) болты с резьбой;
11) полка крестовины;
11а паз;
12) (крестообразный) карман в поперечине;
13) полка крестовины, расположенная снаружи;
13а) паз, расположенный внутри;
13b) паз, расположенный снаружи;
14) проточка;
15) проточка, выполненная в горячем состоянии;
16) резьбовой конец;
17) центрирующий буртик;
18) расточка;
19) шип;
19а) шип, расположенный внутри;
19b) шип, расположенный снаружи.
Формула изобретения
1. Станина для обжимных клетей прокатного стана, выполненная из нескольких основных компонентов (1) в виде соединенных между собой посредством болтов поперечин (1a; 1b) и продольных балок (4а, 4b), отличающаяся тем, что предусмотрены несколько основных компонентов (1) в виде двух поперечин (1а; 1b) и четырех продольных балок (4а, 4b), при этом на концах (6) верхних и нижних продольных балок предусмотрено соответствующее соединение (3) поперечины (1а, 1b) и продольных балок (4а, 4b) в форме крестовины (7) и, по меньшей мере, на концах (6) верхних продольных балок предусмотрены предварительно напряженные, действующие как шарнир винтовые стержни (5).
2. Станина по п.1, отличающаяся тем, что поперечины (1а, 1b) выполнены соответственно как одно целое и закреплены посредством опоры (8) на фундаментной плите.
3. Станина по п.1, отличающаяся тем, что поперечины (1а; 1b) вместе с продольными балками (4а; 4b) и предварительно напряженными винтовыми стержнями (5) образуют единый узел.
4. Станина по п.1, отличающаяся тем, что, по меньшей мере, поперечины (1а; 1b) и продольные балки (4а; 4b) изготовлены соответственно из литых материалов.
5. Станина по п.1, отличающаяся тем, что винтовые стержни (5) расположены попарно симметрично средней плоскости (9).
6. Станина по п.1, отличающаяся тем, что в дополнение к винтовым стержням (5) предусмотрены попарно симметричные к средней плоскости (9) болты (10) с резьбой.
7. Станина по п.1, отличающаяся тем, что продольные балки (4а; 4b) посредством крестовины (7), винтовых стержней (5) и болтов (10) с резьбой закреплены в соответствующей поперечине (1a, 1b).
8. Станина по п.1, отличающаяся тем, что в поперечине (1а; 1b) предусмотрен крестообразный карман (12), в который входят в зацепление расположенный внутри шип (19а) и расположенный снаружи шип (19b).
9. Станина по п.1, отличающаяся тем, что переходы сечения (2а; 2b) в поперечине (1а; 1b) и/или в продольных балках (4а; 4b) выполнены с соответственно большими радиусами в зависимости от рабочего усилия и ударного усилия.
10. Станина по п.1, отличающаяся тем, что крестообразные карманы (12) поперечины (1а; 1b) и крестообразные шипы (19) на соответствующих концах (6) продольных балок снабжены проточками (14).
11. Станина по п.1, отличающаяся тем, что помимо винтовых стержней (5) предусмотрены также болты (10) с резьбой, выполненные как натяжные болты и аналогично винтовым стержням (5), для облегчения монтажа имеют проточку (15), выполненную в горячем состоянии, выходы резьбы (16) и центрирующие буртики (17).
12. Станина по п.1, отличающаяся тем, что поперечина (1а; 1b) разделена на верхнюю часть (1с) и нижнюю часть (1d), при этом верхняя часть (1с) и нижняя часть (1d) соединены между собой посредством стяжного кольца, фланцевым соединением или при помощи промежуточного элемента.
РИСУНКИ
|