|
|
(21), (22) Заявка: 2007127818/12, 23.07.2007
(24) Дата начала отсчета срока действия патента:
23.07.2007
(46) Опубликовано: 20.05.2009
(56) Список документов, цитированных в отчете о поиске:
SU 939327 А, 30.06.1982. US 4993098 А, 19.02.1991. SU 611839 А, 27.05.1978.
Адрес для переписки:
127550, Москва, ул. Прянишникова, 19А, стр.9, ООО “Энерлинк”, генеральному директору В.В. Жданову
|
(72) Автор(ы):
Толмачев Николай Сергеевич (RU), Бородько Роман Анатольевич (RU), Жданов Виктор Владимирович (RU)
(73) Патентообладатель(и):
Общество с ограниченной ответственностью “Энерлинк” (RU)
|
(54) УСТРОЙСТВО ДЛЯ ОЧИСТКИ ПОВЕРХНОСТЕЙ ОТ НАЛИПШИХ ВЕЩЕСТВ
(57) Реферат:
Изобретение относится к очистке поверхностей от налипших веществ, находящихся в замкнутых объемах емкостей стационарных и транспортных средств, и может быть использовано, в частности, в химической промышленности, в строительстве, в энергетике и др. отраслях промышленности. Устройство содержит корпус с подводящей плитой, расположенные в корпусе электромагнитную катушку с якорем, подключенную к источнику импульсного электропитания, и подпружиненный шток с ударником. Катушка залита ударопрочным компаундом в каркас из брони, а шток установлен в якоре соосно ему. При этом якорь и шток с ударником выполнены с равным весом. Изобретение обеспечивает повышение эффективности очистки, увеличение срока службы устройства, расширение его функциональных возможностей при одновременном упрощении конструкции. 3 з.п. ф-лы, 2 ил.
Изобретение относится к очистке поверхностей от налипших веществ, находящихся в замкнутых объемах емкостей стационарных и транспортных средств, и может быть использовано, в частности, в химической промышленности, в строительстве, в энергетике и др. отраслях промышленности.
Известно устройство для очистки поверхности емкости от прилипшего к ней вещества (см. а.с. СССР 918220, 1978), содержащее электромагнитную катушку, помещенную в корпусе и подключенную к источнику импульсного электропитания, подпружиненный шток, подводящую плиту и пластины. Импульсами тока воздействуют на пластины, вызывая их взаимное отталкивание, основная непосредственно воздействует на стенку емкости, а дополнительная – через рычаг и обойму.
Недостатком устройства является ограниченность его использования, т.к. при мощных нагрузках импульс силы свыше 50 Нс для очистки емкостей с толщиной стенки, превышающей 5-6 мм, дополнительная пластина будет разбиваться о кронштейн. Кроме того, ответные реакции пластин будут воздействовать на катушку. Ввиду того что прочность диэлектрического корпуса сведена к минимуму (изоляционный зазор между металлом катушки и пластины должен быть минимальным), надежность катушки не позволяет использовать ее в условиях мощных нагрузок.
Ближайшим аналогом изобретения является устройство для очистки поверхности емкости от прилипшего к нему вещества встряхиванием емкостей при их разгрузке по а.с. СССР 939327, 1982, содержащее корпус с фланцем и диэлектрическим вкладышем, электромагнитную катушку, расположенный над ней ударник, амортизирующую прокладку и упругий кольцевой элемент.
Недостатком этого устройства является ограниченность его функциональных возможностей и недостаточная надежность. Так при мощном импульсе силы работа устройства ограничивается величиной зазора между диэлектрическим вкладышем и токопроводящей контактной стойкой, а также долговечностью упругого элемента, подпадающего под срезовый сдвиг от ударника, а движущиеся контакты создают хорошие условия для прогорания при токе разряда свыше 1 кА.
Задачей устройства является создание надежного в эксплуатации экономичного и простого устройства.
Технический результат, достигаемый изобретением, состоит в повышении эффективности очистки, увеличении срока службы, расширении функциональных возможностей при одновременном упрощении конструкции, универсальности устройства, позволяя применять его для любых типов и видов очищаемого оборудования.
Указанный результат достигается тем, что в устройстве для очистки поверхностей от налипших веществ, содержащем корпус с подводящей плитой, расположенные в корпусе электромагнитную катушку с якорем, подключенную к источнику импульсного электропитания, и подпружиненный шток с ударником, при этом катушка залита ударопрочным компаундом в каркас из брони, шток установлен в якоре соосно ему, а якорь и шток с ударником выполнены с равным весом.
Указанный результат достигается и тем, что ударник закреплен на штоке с возможностью перемещения, например, при помощи резьбы; что диаметр рабочей поверхности ударника составляет не менее 100 мм, а расстояние между косынками или кронштейнами составляет более 900 мм.
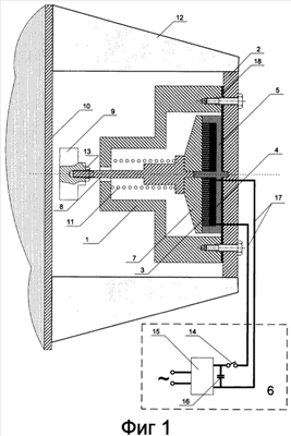
На фиг.1 схематично изображено устройство, согласно изобретению, в разрезе.
На фиг.2 – то же, но для очистки емкостей с футеровкой или вибролистом.
Устройство состоит из корпуса 1 с подводящей плитой 2, расположенных в корпусе электромагнитной катушки 3, залитой ударопрочным компаундом 4 в каркас 5 из брони и подключенной к источнику 6 импульсного электропитания, якоря 7 с установленным в нем соосно ему подпружиненным штоком 8 с ударником 9, который взаимодействует с металлической емкостью 10 для обрушения свода.
Устройство работает следующим образом.
В корпусе 1 расположены шток 8 с пружиной 11, электромагнитная катушка 3 с якорем 7, который упирается в шток 8 и сжимается подводящей плитой 2 с усилием 200-500 Н. При помощи косынки 12 или кронштейна подводящая плита 2 крепится к стенке емкости 10. Расстояние между косынками 12 или кронштейнами составляет более 900 мм.
На шток 8 навинчивается ударник 9 с контргайкой 13. Между ударником 9 и стенкой емкости 10 устанавливают необходимый зазор.
При возникновении свода веществ в емкости 10 замыкают разрядник 14. Через зарядное устройство 15 накопленная в емкости 16 энергия за очень малый промежуток времени (0,001 с) через токоподвод 17 поступает в электромагнитную катушку 3, создавая мощное электромагнитное поле. Это поле взаимодействует с якорем 7, где образуются вихревые токи. Эти токи в свою очередь создают ответное электромагнитное поле. Взаимодействие этих полей приводит в движение с большим ускорением якорь 7 со штоком 8 и ударником 9 по направлению к стенке емкости 10. При соударении ударника 9 о стенку емкости 10 последняя получает импульс механической силы. В результате колебаний вещество отделяется от стенки и происходит обрушение свода. После передачи импульса силы якорь 7, шток 8 и ударник 9 отводятся в исходное положение.
Эффективность работы зависит в большей степени от времени передачи импульсной нагрузки и частотой собственных колебаний емкости 10.
Если импульс ударной нагрузки на порядок – два меньше периода собственных колебаний, то процесс собственных колебаний идет в свободном режиме. В этом случае наиболее эффективна ударная нагрузка, получаемая при кумуляции энергии, т.е. при прижатом ударнике 9.
Усилие прижатия ударника 9 должно быть минимальным. При этом большая часть импульсной энергии генератора преобразуется в упругую деформации стенки емкости 10.
При больших массах конструкции и «жесткой» стенке емкости 10 (толщина стенки превышает 5-6 мм, наличие ребер жесткости), когда период собственных колебаний становится соизмеримым с периодом ударной нагрузки, кумулятивный способ передачи энергии будет неэффективным. При наличии «жесткой» стенки в период ударной нагрузки наблюдается наслоение ударных волн и волн собственных колебаний, что приводит к быстрому затуханию упругих колебаний.
В этом случае период импульсной ударной нагрузки необходимо увеличивать за счет разгона ударника 9. Зазор между ударником 9 и стенкой не должен превышать 20 мм, а эмпирическая зависимость толщины h стенки от величины зазора выглядит так:
~h.
При обрушении свода в «жестких» конструкциях необходимо прикладывать импульс силы свыше 50 Hc. При таких нагрузках на первый план выходит показатель надежности устройства.
В устройстве обратную реакцию от системы ударник 9, шток 8, якорь 7 принимает на себя броневой каркас 5. Часть ответной реакции гасится демпфирующей прокладкой 18. При меньших расстояниях ребра жесткости в местах крепления косынок 12 оказывают значительное влияние на расхождение ударных волн.
Ударник 9 должен иметь рабочую площадку в диаметре не менее 100 мм. В условиях мощного разгона ударника 9 и удара его о «жесткую» стенку, в последней возникают упруго-пластичные деформации. При диаметре рабочей поверхности ударника 9 менее 100 мм напряжения, возникающие при колебаниях поверхности, превышают предел текучести материала металлической стенки, и в ней происходит разрушение поверхностного слоя.
Якорь 7 и шток 8 с ударником 9 должны обладать одинаковым весом (массой). В случае, когда масса якоря 7 больше массы штока 8 с ударником 9, вся система (якорь 7, шток 8, ударник 9) приобретает ускорение и ударяется об очищаемую поверхность. Ответная реакция системы (якорь 7, шток 8, ударник 9) в обратном направлении ускоряется пружиной 11 и воздействует на броневой каркас с индуктором, разрушая последние.
Если масса штока 8 с ударником 9 будет больше массы якоря 7, то шток 8 с ударником 9 приобретают меньшую скорость. В этом случае при очень большой массе они могут просто не долететь до очищаемой поверхности. В другом случае шток 8 с ударником 9 подлетают к очищаемой поверхности с маленькой скоростью, при этом увеличивается время контакта с очищаемой поверхностью, и, как следствие, дополнительная часть энергии будет переходить в энергию пластической деформации очищаемой поверхности.
Устройство эффективно и в случае наличия в емкости 10 футеровки 19 или вибролиста (см. фиг.2). В этом случае устройство крепится к внешней стенке емкости 10 или бункера, а ударник 9 непосредственно воздействует либо на футеровку 19 или на вибролист.
Формула изобретения
1. Устройство для очистки поверхностей от налипших веществ, содержащее корпус с подводящей плитой, расположенные в корпусе электромагнитную катушку с якорем, подключенную к источнику импульсного электропитания, и подпружиненный шток с ударником, в котором катушка залита ударопрочным компаундом в каркас из брони, шток установлен в якоре соосно с ним, а якорь и шток с ударником выполнены с равным весом.
2. Устройство по п.1, отличающееся тем, что ударник закреплен на штоке с возможностью перемещения, например, при помощи резьбы.
3. Устройство по п.1, отличающееся тем, что диаметр рабочей поверхности ударника составляет не менее 100 мм.
4. Устройство по п.1, отличающееся тем, что расстояние между косынками или кронштейнами составляет более 900 мм.
РИСУНКИ
|
|