|
|
(21), (22) Заявка: 2007114939/28, 20.04.2007
(24) Дата начала отсчета срока действия патента:
20.04.2007
(46) Опубликовано: 20.05.2009
(56) Список документов, цитированных в отчете о поиске:
SU 1467498 A1, 23.03.1989. SU 341537 A1, 14.06.1972. SU 320310 A1, 04.11.1971. US 5321333 A, 14.06.1994. JP 56131221 A, 14.10.1981.
Адрес для переписки:
117187, Москва, ул. Ремизова, 15, корп.3, кв.23, А.Н.Неверову
|
(72) Автор(ы):
Неверов Александр Николаевич (RU)
(73) Патентообладатель(и):
ГОУ ВПО Московский автомобильно-дорожный институт (государственный технический университет) (RU)
|
(54) УСТРОЙСТВО ДЛЯ ПРЕОБРАЗОВАНИЯ ПРОДОЛЬНЫХ КОЛЕБАНИЙ В КРУТИЛЬНЫЕ
(57) Реферат:
Изобретение относится к ультразвуковой технике и может быть использовано в ультразвуковых установках технологического назначения, в первую очередь в установках для ультразвуковой сварки металлов и ультразвуковой разборки. Техническим результатом изобретения является повышение эффективности преобразования. Устройство представляет собой крутильно колеблющийся инструмент, жестко соединенный с двумя стержневыми колебательными системами, из которых, по крайней мере, одна является источником упругих колебаний, например, магнитострикционным или составным пьезоэлектрическим преобразователем. Оси колебательных систем лежат в одной плоскости, перпендикулярной оси инструмента, и образуют между собой угол, величина которого лежит в пределах (0; ). 2 ил.
Изобретение относится к ультразвуковой технике и может быть использовано в ультразвуковых установках технологического назначения: для ультразвуковой разборки конструкций, а также для ультразвуковой сварки металлов.
Известны устройства, в которых на выходной ступени продольно колеблющегося концентратора имеются постепенно углубляющиеся спиралевидные канавки [1]. Такая неоднородность поперечного сечения приводит к возникновению крутильной составляющей колебаний. Недостатком такой системы является наличие значительной паразитной продольной составляющей колебаний выходного торца.
Известна колебательная система, принятая в качестве прототипа, в которой к крутильно колеблющемуся инструменту симметрично присоединяются от двух до четырех излучателей продольных колебаний, причем оси этих излучателей лежат в одной плоскости и скрещиваются с осью крутильно колеблющегося инструмента [2]. Однако эффективность таких систем, определяемая как ,
где m и R – амплитуда крутильных колебаний и радиус инструмента соответственно, а um – амплитуда продольных колебаний излучателя, невелика.
Техническим результатом от использования изобретения является повышение эффективности преобразования продольных колебаний в крутильные.
Это достигается тем, что в устройстве для преобразования продольных колебаний в крутильные, содержащем крутильно колеблющийся инструмент, жестко соединенный с двумя стержневыми колебательными системами, оси которых лежат в одной плоскости, перпендикулярной оси инструмента, при этом, по крайней мере, одна из колебательных систем является источником ультразвуковых колебаний, согласно изобретению оси колебательных систем и ось инструмента пересекаются в одной точке, а угол между осями колебательных систем лежит в пределах (0; ).
Изобретение поясняется чертежами.
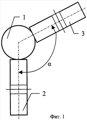
На фиг.1 изображена схема предлагаемого устройства, а на фиг.2 приведена схема, поясняющая работу устройства.
На фиг.1 и 2 приняты следующие обозначения:
– угол между осями стержневых колебательных систем,
М – переменный крутящий момент относительно оси инструмента,
О – точка пересечения осей колебательных систем и инструмента.
Стрелками показаны:
а и г – продольные механические колебания,
б и в – изгибные механические колебания.
Устройство для преобразования продольных колебаний в крутильные содержит инструмент 1, в котором возбуждаются крутильные колебания, жестко соединенный с двумя стержневыми колебательными системами 2 и 3, например, составных пьезоэлектрических преобразователей, с инструментом 1. Оси 4 и 5 колебательных систем 2 и 3 соответственно лежат в одной плоскости, перпендикулярной оси 6 инструмента 1. При этом, по крайней мере, одна из колебательных систем является источником продольных механических колебаний, например, магнитострикционным или составным пьезокерамическим преобразователем. Согласно изобретению оси 4 и 5 колебательных систем 2 и 3 соответственно и ось 6 инструмента 1 пересекаются в одной точке О, а угол между осями 4 и 5 колебательных систем 2 и 3 соответственно лежит в пределах (0; ).
Устройство работает следующим образом.
При подаче на преобразователь 2 переменного электрического напряжения в нем возбуждаются продольные механические колебания а. Посредством жесткой связи инструмента 1 в преобразователе 3 возбуждаются изгибные колебания б. Благодаря наличию моментного импеданса преобразователя 3 и жесткому соединению его с инструментом 1 на последний передается переменный крутящий момент М, который вызывает его крутильные колебания. Полученный переменный крутящий момент обусловливает возбуждение изгибных колебаний в преобразователе 2, которые, в свою очередь, вызывают появление продольных колебаний г в преобразователе 2. В преобразователях 2 и 3 возбуждаются продольные и изгибные колебания, поляризованные в плоскости рисунка, а в инструменте 1 – крутильные колебания вокруг оси 6, перпендикулярной этой плоскости.
Крутильные колебания инструмента возбуждаются изгибными колебаниями стержневых преобразователей, а не продольными, как в прототипе, поэтому они могут быть при соответствующем подборе резонансных размеров существенно выше амплитуд, достигаемых в прототипе.
Максимального значения крутящий момент достигается при резонансе системы, как и в любой ультразвуковой колебательной системе. В этом случае амплитуда крутильных колебаний инструмента ограничивается только потерями в нем и эффективностью преобразования продольных колебаний стержневых преобразователей в изгибные.
Таким образом, предлагаемое устройство, благодаря использованию двух колебательных систем, оси которых лежат в одной плоскости и пересекаются под углом, значение которого лежит в пределах (0; ), позволяет получить в инструменте крутильные колебания.
Источники информации
1. Авторское свидетельство 1124423, кл. 42s 21 а2 8, Устройство для превращения акустических продольных колебаний в сдвиговые или крутильные. 6 марта 1959.
2. Глизбург И.Л., Краснов И.И. и др. Оборудование для ультразвуковой сварки: Применение ультразвука в технологии машиностроения / Труды Всес. н.-т. конф. по применению ультразвука в промышленности ЦИНТИ электротехнической промышленности и приборостроения. М., 1961, с.111-120. (прототип)
Формула изобретения
Устройство для преобразования продольных колебаний в крутильные, содержащее крутильно-колеблющийся инструмент, жестко соединенный с двумя стержневыми колебательными системами, оси которых лежат в одной плоскости, перпендикулярной оси инструмента, и при этом, по крайней мере, одна является источником упругих колебаний, отличающееся тем, что оси колебательных систем и ось инструмента пересекаются в одной точке, а угол между осями колебательных систем лежит в пределах (0; ).
РИСУНКИ
|
|