|
(21), (22) Заявка: 2006122634/12, 01.04.2005
(24) Дата начала отсчета срока действия патента:
01.04.2005
(30) Конвенционный приоритет:
24.05.2004 EP 04012231.9
(43) Дата публикации заявки: 27.06.2008
(46) Опубликовано: 20.05.2009
(56) Список документов, цитированных в отчете о поиске:
WO 2004/003452 A1, 08.01.2004. WO 03/035241 A1, 01.05.2003. US 2002/0174978 A1, 28.11.2002. RU 2058006 C1, 10.04.1996. RU 2047075 C1, 27.10.1995.
(85) Дата перевода заявки PCT на национальную фазу:
25.12.2006
(86) Заявка PCT:
EP 2005/003439 20050401
(87) Публикация PCT:
WO 2005/115604 20051208
Адрес для переписки:
101000, Москва, М.Златоустинский пер., 10, кв.15, “ЕВРОМАРКПАТ”, пат.пов. И.А.Веселицкой, рег. 11
|
(72) Автор(ы):
ФИЛИППИ Эрманно (CH), РИЦЦИ Энрико (IT), ТАРОЦЦО Мирко (CH)
(73) Патентообладатель(и):
МЕТАНОЛ КАСАЛЕ С.А. (CH)
|
(54) ПЛАСТИНЧАТЫЙ ТЕПЛООБМЕННИК
(57) Реферат:
Пластинчатый теплообменник для теплообменного блока химического реактора имеет коробчатый корпус плоской прямоугольной формы. Корпус выполнен в виде прямоугольного параллелепипеда с внутренней полостью, соединенной с входным и выходным патрубками для подачи в нее и отбора из нее текучего теплоносителя. Распределительная труба расположена во внутренней полости корпуса, проходит вдоль длинной ее стороны и состоит из двух – наружной и внутренней – расположенных одна в другой труб. Пространство между ними сообщается через множество выполненных в наружной трубе отверстий с внутренней полостью теплообменника и с внутренней трубой. При этом внутренняя труба соединена с входным патрубком теплообменника, предназначенным для подачи в него текучего теплоносителя. Перемещение внутренней трубы относительно наружной ограничено выступами или защемлением. Также раскрывается способ изготовления пластинчатого теплообменника и химический реактор с теплообменным блоком. Конструкция теплообменника обеспечивает повышение эффективности реакции и уменьшение расхода текучего теплоносителя. 6 н. и 16 з.п. ф-лы, 7 ил.
Область техники, к которой относится изобретение
Настоящее изобретение относится к теплообменнику теплообменного блока химического реактора. Настоящее изобретение относится, в частности, к пластинчатому теплообменнику с коробчатым корпусом по существу плоской прямоугольной формы, выполненному в виде прямоугольного параллелепипеда с внутренней полостью, соединенной с патрубками для подачи и отбора из нее текучего теплоносителя, и расположенной в ней распределительной трубой, которая проходит вдоль длинной стороны корпуса. Изобретение относится также к теплообменному блоку, состоящему из нескольких пластинчатых теплообменников описанного выше типа.
Уровень техники
Известно, что для оптимального завершения экзотермических или эндотермических химических реакций, таких, например, как реакции синтеза аммиака, метанола, формальдегида или соответственно стирола, и поддержания температуры реакции в узком диапазоне возможных отклонений от предварительно вычисленного значения теоретической температуры необходимо отбирать тепло из зоны реакции, обычно от находящегося в ней слоя катализатора, или наоборот, подводить тепло в зону реакции, соответственно к находящемуся в ней слою катализатора.
Известно также, что обычно для этого используют расположенный в слое катализатора теплообменный блок, состоящий из нескольких пластинчатых теплообменников, через которые проходит текучий теплоноситель, например, в радиальном или осевом направлении.
Текучий теплоноситель в теплообменник подают через входной патрубок, соединенный с распределительной трубой, а отбирают через выходной патрубок, соединенный соответственно с коллекторной трубой.
Известно, что для повышения эффективности таких теплообменников и устранения так называемого паразитного теплообмена между текучим теплоносителем, проходящим внутри теплообменника по распределительной трубе и коллекторной трубе, и слоем катализатора обычно используют соответствующую теплоизоляцию.
В результате такого паразитного теплообмена, например, при экзотермической реакции, происходит нежелательное увеличение температуры текучего теплоносителя в распределительной трубе и создается неравномерное температурное поле и по длине достаточно длинных сторон пластинчатого теплообменника, и в слое катализатора. Иными словами, паразитный теплообмен влияет на температуру текучего теплоносителя, подаваемого в пластинчатые теплообменники, и снижает эффективность реакции из-за различной в разных по высоте теплообменника точках температуры текучего теплоносителя.
Паразитный теплообмен оказывает также существенное влияние и на расход текучего теплоносителя в пластинчатых теплообменниках. При экзотермической реакции в результате паразитного обмена со слоем катализатора и уменьшения расхода температура текучего теплоносителя в распределительной трубе увеличивается. При уменьшении расхода увеличение температуры текучего теплоносителя в распределительной и коллекторной трубах происходит более интенсивно по мере удаления от входного или выходного патрубка.
Снижение расхода текучего теплоносителя в распределительной и коллекторной трубах приводит к неравномерному теплообмену в прилегающих к ним зонах слоя катализатора и затрудняет контроль и регулирование температуры в этих зонах.
В настоящее время для теплоизоляции распределительной трубы и коллекторной трубы их покрывают слоем материала, обладающего низкой теплопроводностью. Обычно для этого используют керамические покрытия на основе оксидов циркония, иттрия, алюминия, церия, магния и их смесей.
Описанные выше пластинчатые теплообменники теплообменных блоков химических реакторов с хорошей теплоизоляцией обычно полностью отвечают своему назначению. При этом, однако, было установлено, что во многих случаях оптимальную работу теплообменника можно обеспечить и более простыми и дешевыми средствами.
Краткое изложение сущности изобретения
В основу настоящего изобретения была положена задача разработать пластинчатый теплообменник для теплообменного блока химического реактора, который по своей конструкции отвечал бы указанному выше требованию и одновременно позволял бы достаточно просто устранить недостатки, присущие известным в настоящее время теплообменникам подобного типа.
Эта задача решается с помощью предлагаемого в изобретении теплообменника указанного в начале описания типа, отличающегося тем, что его распределительная труба состоит из двух – первой или наружной и второй или внутренней – расположенных одна в другой труб, пространство между которыми сообщается через множество отверстий, выполненных в наружной трубе, с внутренней полостью теплообменника и с внутренней трубой, которая соединена с входным патрубком теплообменника, предназначенным для подачи в него текучего теплоносителя.
Другие отличительные особенности и преимущества предлагаемого в изобретении пластинчатого теплообменника для теплообменного блока химического реактора более подробно рассмотрены ниже на примере одного из вариантов его возможного выполнения со ссылкой на прилагаемые к описанию чертежи, которые лишь иллюстрируют настоящее изобретение и не ограничивают его объем.
Краткое описание чертежей
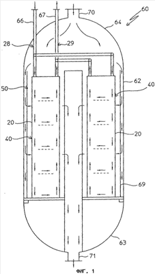
На фиг.1 схематично в продольном разрезе показан химический реактор с теплообменным блоком, состоящим из предлагаемых в изобретении пластинчатых теплообменников.
На фиг.2 схематично в аксонометрии и в увеличенном масштабе показан пластинчатый теплообменник теплообменного блока, изображенного на фиг.1.
На фиг.3 схематично в поперечном разрезе показан фрагмент теплообменника, изображенного на фиг.2.
На фиг.4 схематично в поперечном разрезе показана деталь, из которой можно изготовить один из элементов распределительной трубы пластинчатого теплообменника, выполненного в соответствии с одним из вариантов осуществления изобретения.
На фиг.5 схематично в поперечном разрезе показан внутренний элемент распределительной трубы предлагаемого в изобретении теплообменника, изготовленного из детали, изображенной на фиг.4.
На фиг.6 схематично в поперечном разрезе показана распределительная труба теплообменника, выполненного в соответствии с другим вариантом осуществления изобретения, во время сборки ее наружной трубы с элементом, изображенным на фиг.5.
На фиг.7 схематично в поперечном разрезе показана готовая распределительная труба, изображенная во время сборки на фиг.6.
Подробное описание варианта осуществления изобретения
Предлагаемый в настоящем изобретении пластинчатый теплообменник обозначенный на чертежах общей позицией 20, предназначен для использования в теплообменном блоке 40 химического реактора 60.
Химический реактор 60 имеет цилиндрический корпус 62, закрытый с противоположных концов соответственно нижним и верхним днищами 63 и 64. Внутри корпуса 62 реактора находится зона 69 реакции с обычным открытым сверху слоем 50 катализатора, в боковых стенках кожуха которого предусмотрены отверстия, через которые в слой катализатора попадают проходящие через него в радиальном или радиально-осевом направлении реагенты.
В зоне 69 реакции, а точнее, в слое 50 катализатора, расположен погруженный в массу не показанного на чертеже катализатора теплообменный блок 40. Теплообменный блок 40 имеет форму цилиндра и состоит из множества пластинчатых теплообменников 20, расположенных в разных радиальных плоскостях рядом друг с другом.
Каждый пластинчатый теплообменник 20 имеет коробчатый, по существу, плоский корпус 22 в форме прямоугольного параллелепипеда с внутренней полостью 24 и соединенными с ней входным и выходным патрубками 28 и 29 для подвода и отвода из теплообменника текучего теплоносителя.
В корпусе 22 теплообменника вдоль его длинных сторон 22а и 22b расположены составные, изготовленные из двух труб: распределительная труба 10 и коллекторная труба 11, которые входными и выходными отверстиями 26 и 27 соединены с внутренней полостью 24 теплообменника и оканчиваются выходящими из теплообменника наружу патрубками 28 и 29 для подвода и отвода текучего теплоносителя.
Необходимо отметить, что предлагаемый в изобретении теплообменник может иметь только одну составную распределительную или коллекторную трубу 10 или 11.
Короткие стороны корпуса 22 теплообменника обозначены на чертеже позициями 22с и 22d. Каждый пластинчатый теплообменник 20 изготавливают из двух уложенных друг на друга и соединенных по периметру сваркой 20с штампованных металлических листов 20а и 20b, между которыми в центре остается свободное пространство, образующее внутреннюю полость 24 теплообменника.
Входной и выходной патрубки 28 и 29, предназначенные для подачи в теплообменник и отбора из него текучего теплоносителя, соединены с патрубками 66 и 67, расположенными снаружи на верхнем днище 64 корпуса реактора 60.
В соответствии с одним из вариантов осуществления настоящего изобретения распределительную трубу 10 и коллекторную трубу 11 изготавливают из двух расположенных одна в другой первых труб 30, 31 и вторых труб 32, 33. Так, в частности, в предлагаемом в изобретении пластинчатом теплообменнике распределительная труба 10 и коллекторная труба 11 состоят из наружной трубы 30 и 31 соответственно, которые сообщаются с внутренней полостью 24 теплообменника через множество входных и выходных отверстий 26 и 27, и внутренних труб 32 и 33 соответственно.
Между внутренними трубами 32 и 33 и наружными трубами 30 и 31 соответственно имеется свободное пространство (на фиг.3 свободное пространство между внутренней трубой 32 и наружной трубой 30 обозначено позицией 30а). Внутренние трубы 32 и 33 сообщаются с соответствующим свободным пространством между трубами через множество выполненных в них отверстий 34 и 35 и оканчиваются выходящими наружу из пластинчатого теплообменника 20 входным или выходным патрубком 28 или 29, предназначенным для подачи или отбора из теплообменника текучего теплоносителя.
Наружные и внутренние трубы предпочтительно выполняют прямолинейными.
Показанная на фиг.3 внутренняя труба 32, например, с гладкими стенками и овальным поперечным сечением ниже входного патрубка 28 вставлена внутрь наружной трубы 30 с веретенообразным поперечным сечением, образованным двумя пересекающимися друг с другом окружностями равного диаметра, расстояние между центрами которых меньше их диаметра. Внутреннюю овальную трубу 32 можно изготовить обжатием из обычной круглой трубы или из готовой имеющейся в продаже трубы с овальным поперечным сечением. Необходимо отметить, что внутренняя труба 32 может иметь не только овальное, но и круглое поперечное сечение.
Отверстия 34 во внутренней трубе 32 имеют круглую форму и диаметр, который обеспечивает эффективное распределение текучего теплоносителя. С учетом потерь давления во внутренней трубе 32 отверстия 34 могут иметь разный по длине трубы диаметр.
В предлагаемом в изобретении пластинчатом теплообменнике наружные размеры внутренней трубы 32 несколько меньше размеров внутреннего отверстия наружной трубы 30. Иными словами, между наружной трубой 30, которая в поперечном сечении имеет веретенообразную форму, и овальной внутренней трубой 32 остается свободное пространство 30а. При этом, однако, наружная труба 30 должна ограничивать возможность перемещения расположенной по существу на одной с ней продольной оси внутренней трубы 32 в плоскости, перпендикулярной продольной оси, в двух взаимно перпендикулярных направлениях.
Возможность перемещения внутренней трубы относительно наружной трубы в показанном на фиг.3 варианте ограничена четырьмя расположенными в двух взаимно перпендикулярных направлениях выступами 36, выдавленными в стенке наружной трубы 30 соответствующим пуансоном. Все четыре выступа 36 наружной трубы 30 с веретенообразным поперечным сечением имеют одинаковую высоту и расположены с небольшим зазором от внутренней трубы 32 с овальным поперечным сечением. Необходимо отметить, что наружная труба 30 имеет несколько расположенных, например, через каждый метр по высоте трубы плоскостей с четырьмя выступами 36 в каждой плоскости. Выступы 36 можно также расположить и в шахматном порядке по винтовой линии в разных по высоте плоскостях наружной трубы 30.
Очевидно, что коллекторную трубу 11 в предлагаемом в изобретении пластинчатом теплообменнике конструктивно можно выполнить точно так же, как и описанную выше распределительную трубу 10.
На фиг.4, 5, 6 и 7 показан другой вариант выполнения распределительной трубы 110 предлагаемого в изобретении пластинчатого теплообменника 120.
Следует отметить, что все элементы выполненного в соответствии с этим вариантом осуществления изобретения теплообменника, которые конструктивно или функционально не отличаются от элементов описанного выше пластинчатого теплообменника 20, обозначены теми же позициями и повторно не рассматриваются.
Пластинчатый теплообменник 120 имеет распределительную трубу 110, которая состоит из наружной трубы 130, сообщающейся с внутренней полостью 24 теплообменника через множество входных отверстий 26, и расположенной внутри наружной трубы 130 внутренней трубы 132 со множеством круглых отверстий 34, которая оканчивается выходящим из корпуса теплообменника 120 наружу входным патрубком 28, предназначенным для подачи в теплообменник текучего теплоносителя.
В предлагаемой в этом варианте осуществления изобретения распределительной трубе внутренняя труба 132 имеет в поперечном сечении овальную форму и вставляется внутрь наружной трубы 130, которая в поперченном сечении имеет веретенообразную форму.
Однако в отличие от описанного выше варианта в этом варианте внутреннюю трубу 132 изготавливают из трубы круглого сечения (фиг.4) путем по меньшей мере частичного удаления лишнего металла (припуска) 138 с двух противоположных сторон ее цилиндрической стенки (фиг.5), например, фрезерованием на внешнем диаметре трубы двух противоположных плоских параллельных граней 132а и 132b.
В остальной части описания и в формуле изобретения под “лишним металлом” (“припуском”) в целом подразумевается выступающая часть, которая выступает на внешней поверхности трубы круглого сечения по ее периметру и преимущественно имеет форму кольцевого диска.
Внешние размеры внутренней трубы 132 должны быть меньше размеров внутреннего отверстия наружной трубы 130. Иными словами, в собранной из двух расположенных по существу на одной продольной оси труб распределительной трубе между наружной трубой 130, которая в поперечном сечении имеет веретенообразную форму, и овальной внутренней трубой 132 остается свободное пространство 30а, а точнее говоря, в собранном виде между наружной трубой 130, которая в поперечном сечении имеет веретенообразную форму, и вставленной в нее внутренней овальной трубой 132 остается зазор порядка нескольких миллиметров.
В собранном виде наружная труба 130 ограничивает возможность перемещения внутренней трубы 132 в плоскости, перпендикулярной продольной оси.
Возможность такого перемещения внутренней трубы относительно наружной трубы в этом варианте осуществления изобретения ограничена за счет защемления внутренней трубы в наружной трубе. Внутреннюю трубу 132 вставляют в наружную трубу 130 таким образом, чтобы две выполненные фрезерованием на ее наружном диаметре плоские грани 132а и 132b были расположены параллельно длинной оси имеющей веретенообразную форму поперечного сечения наружной трубы 130 (фиг.6) или, иными словами, параллельно хорде, проходящей через точки пересечения двух образующих фигуру веретенообразной формы дуг окружности. После установки в наружную трубу 130 внутреннюю трубу 132 поворачивают вокруг продольной оси на угол 90° (фиг.7) до упора диаметрально противоположных точек 132с и 132d круглых участков ее наружной поверхности в стенку наружной трубы 130 в точках, расположенных на оси, перпендикулярной длинной оси веретена.
Очевидно, что коллекторную трубу в выполненном по этому варианту осуществления изобретения пластинчатом теплообменнике 120 конструктивно можно выполнить точно так же, как и описанную выше распределительную трубу 110.
Предлагаемый в изобретении пластинчатый теплообменник теплообменного блока химического реактора работает следующим образом.
Реагенты, которые подают в реактор через расположенный на верхнем днище 64 патрубок 70, проходят через слой 50 катализатора. Расположенные в слое катализатора пластинчатые теплообменники 20 в зависимости от характера протекающей в реакторе химической реакции (эндотермической или экзотермической) нагревают слой 50 катализатора или отбирают из него тепло, ускоряя протекающую в нем реакцию. Продукты реакции отбирают из реактора через патрубок 71, расположенный на его нижнем днище 63.
В каждый пластинчатый теплообменник 20 из распределительной трубы 10, соединенной входным патрубком 28 с расположенным снаружи на верхнем днище реактора патрубком 66, подают текучий теплоноситель.
Подаваемый в теплообменник текучий теплоноситель проходит через внутреннюю полость 24 теплообменника и собирается в коллекторной трубе 11, из которой он через выходной патрубок 29 попадает в расположенный на верхнем днище реактора патрубок 67 и выходит из реактора.
Теплоизоляция распределительной трубы 10 и коллекторной трубы 11 в предлагаемом в изобретении пластинчатом теплообменнике обеспечивается наличием в них свободного пространства между внутренней трубой (32, 33) и наружной трубой (30, 31).
Как уже отмечалось выше, в предлагаемом в изобретении пластинчатом теплообменнике внутренняя труба не может свободно перемещаться внутри наружной трубы в плоскости, перпендикулярной продольной оси труб, и поэтому надежно защищена от поломок, причиной которых могут быть вибрации наружной трубы.
Необходимо еще раз подчеркнуть, что внутренняя труба должна свободно, с зазором входить внутрь наружной трубы, поскольку отсутствие такого зазора может при сборке изготовленных из аустенитной стали труб легко привести к заеданию.
В этой связи необходимо также отметить, что оптимальным решением этой проблемы является использование внутренней трубы с овальным поперечным сечением и наружной трубы, поперечное сечение которой имеет веретенообразную форму.
Главным преимуществом предлагаемого в изобретении пластинчатого теплообменника теплообменного блока химического реактора является простой и надежный способ теплоизоляции его распределительной и коллекторной труб. Другим преимуществом предлагаемого в изобретении пластинчатого теплообменника является возможность использования всей внешней поверхности наружной трубы распределительной и коллекторной труб для теплообмена между текучим теплоносителем, пропускаемым через теплообменник, и слоем катализатора. В предлагаемом в изобретении пластинчатом теплообменнике с направленными к его внешнему краю отверстиями внутренней трубы текучий теплоноситель для попадания во внутреннюю полость теплообменника проходит через зазор между внутренней и наружной трубами, в котором он обменивается теплом с прилегающим снаружи к теплообменнику слоем катализатора и одновременно служит теплоизоляцией текучего теплоносителя, который находится во внутренней трубе.
Очевидно, что в описанную выше конструкцию пластинчатого теплообменника можно в зависимости от конкретных требований и условий вносить различные изменения и усовершенствования, которые, однако, не должны выходить за объем изобретения, определяемый его формулой.
Формула изобретения
1. Пластинчатый теплообменник (20, 120) для теплообменного блока (40) химического реактора (60), имеющий коробчатый корпус (22), по существу, плоской прямоугольной формы, выполненный в виде прямоугольного параллелепипеда с внутренней полостью (24), соединенной с входным (28) и выходным (29) патрубками для подачи в нее и отвода из нее текучего теплоносителя и расположенной в ней распределительной трубой (10, 110), которая проходит вдоль длинной стороны (22а) корпуса (22), отличающийся тем, что распределительная труба (10, 110) состоит из двух – первой, или наружной, (30, 130) и второй, или внутренней (32, 132), расположенных одна в другой труб, пространство (32а) между которыми сообщается через множество выполненных в наружной трубе (30, 130) отверстий (26) с внутренней полостью (24) теплообменника и с внутренней трубой (32, 132), которая соединена с входным патрубком (28) теплообменника, предназначенным для подачи в него текучего теплоносителя.
2. Пластинчатый теплообменник (20, 120) по п.1, отличающийся тем, что пространство (30а) между внутренней и наружной трубами распределительной трубы (10, 110) сообщается с внутренней трубой (32, 132) через множество других отверстий (34), выполненных во внутренней трубе.
3. Пластинчатый теплообменник (20, 120) по п.2, отличающийся тем, что отверстия (34) внутренней трубы (32, 132) имеют круглую форму.
4. Пластинчатый теплообменник (20, 120) по п.3, отличающийся тем, что диаметр отверстий (34) внутренней трубы (32, 132) меняется по длине трубы.
5. Пластинчатый теплообменник (20, 120) по п.2, отличающийся тем, что выполненные в наружной трубе отверстия (26) и выполненные во внутренней трубе отверстия (34) распределены вдоль длины наружной трубы (30, 130) и внутренней трубы (32, 132) соответственно.
6. Пластинчатый теплообменник (20, 120) по п.1, отличающийся тем, что наружная труба (30, 130) и внутренняя труба (32, 132) имеют, по существу, прямолинейную форму.
7. Пластинчатый теплообменник (20, 120) по п.1, отличающийся тем, что внутренняя труба (32, 132) имеет овальное поперечное сечение.
8. Пластинчатый теплообменник (20, 120) по п.1, отличающийся тем, что наружная труба (30, 130) имеет поперечное сечение веретенообразной формы.
9. Пластинчатый теплообменник (20, 120) по п.1, отличающийся тем, что внутренняя труба (32, 132) имеет круглое поперечное сечение.
10. Пластинчатый теплообменник (20, 120) по п.1, отличающийся тем, что он имеет коллекторную трубу (11) для сбора текучего теплоносителя, проходящую вдоль другой длинной стороны (22b) корпуса (22) и состоящую из двух – первой, или наружной (31), и второй, или внутренней (33), расположенных одна в другой труб, пространство между которыми сообщается через множество выполненных в наружной трубе (31) отверстий (27) с внутренней полостью (24) теплообменника и с внутренней трубой (33), которая соединена с выходным патрубком (29) теплообменника, предназначенным для отвода из него текучего теплоносителя.
11. Способ изготовления пластинчатого теплообменника (20, 120) по п.1, отличающийся тем, что внутреннюю трубу (32, 132) вставляют внутрь наружной трубы (30, 130) соосно с ней и ограничивают возможность их взаимного перемещения в плоскости, перпендикулярной их продольной оси.
12. Способ по п.11, отличающийся тем, что внутреннюю трубу (132) изготавливают из трубы круглого сечения, с цилиндрической стенки которой с двух противоположных сторон, по меньшей мере, частично удаляют лишний металл (138).
13. Способ по п.12, отличающийся тем, что лишний металл удаляют с цилиндрической стенки трубы фрезерованием с получением на внешней поверхности трубы двух противоположных параллельных плоских граней (132а, 132b).
14. Способ по п.13, отличающийся тем, что внутреннюю трубу (132) вставляют в наружную трубу (130) таким образом, чтобы ее две плоские грани (132а, 132b) были расположены, по существу, параллельно длинной оси имеющей веретенообразную форму поперечного сечения наружной трубы (130), после чего внутреннюю трубу (132) поворачивают вокруг продольной оси на угол 90° до упора диаметрально противоположных точек (132 с, 132d) круглых участков ее наружной поверхности в стенку наружной трубы (130).
15. Пластинчатый теплообменник (20), изготовленный способом по п.11, отличающийся тем, что возможность перемещения внутренней трубы относительно наружной трубы в направлении, перпендикулярном их продольной оси, ограничена противоположными выступами (36) внутренней поверхности наружной трубы (30).
16. Пластинчатый теплообменник (20) по п.15, отличающийся тем, что указанные четыре выступа (36) расположены на одной и той же высоте наружной трубы (30).
17. Пластинчатый теплообменник (20) по п.16, отличающийся тем, что несколько групп выступов (36), по четыре в каждой, расположены на разной высоте наружной трубы (30).
18. Пластинчатый теплообменник (20) по п.15, отличающийся тем, что выступы (36) расположены на разной высоте наружной трубы (30) приблизительно в шахматном порядке, по существу, по винтовой линии.
19. Пластинчатый теплообменник (120), изготовленный способом по п.12, отличающийся тем, что возможность перемещения внутренней трубы относительно наружной трубы в направлении, перпендикулярном их продольной оси, ограничена защемлением внутренней трубы в наружной трубе.
20. Теплообменный блок (40) химического реактора (60), отличающийся тем, что он состоит из множества пластинчатых теплообменников (20, 120) по п.1.
21. Химический реактор (60) с цилиндрическим корпусом (62), который закрыт с противоположных концов соответственно нижним (63) и верхним (64) днищами и внутри которого находится зона (69) реакции со слоем (50) катализатора, в котором находится теплообменный блок (40), отличающийся тем, что теплообменный блок (40) состоит из множества пластинчатых теплообменников (20, 120) по п.1.
22. Химический реактор (60) по п.21, отличающийся тем, что его теплообменный блок (40) имеет, по существу, форму цилиндра и состоит из множества пластинчатых теплообменников (20, 120), расположенных радиально рядом друг с другом.
РИСУНКИ
|