|
|
(21), (22) Заявка: 2007104245/15, 05.09.2005
(24) Дата начала отсчета срока действия патента:
05.09.2005
(30) Конвенционный приоритет:
08.05.2005 CN 200510068362.5
(43) Дата публикации заявки: 27.09.2008
(46) Опубликовано: 20.05.2009
(56) Список документов, цитированных в отчете о поиске:
CN 1563286 А, 12.01.2005. МОРГУЛИС М.Л. и др. Рукавные фильтры. – М.: Машиностроение, 1977, с.73. SU 1584980 A1, 15.08.1990. SU 782839 A, 30.11.1980. SU 1414425 A1, 07.08.1988. US 6149716 A, 21.11.2000.
(85) Дата перевода заявки PCT на национальную фазу:
20.03.2007
(86) Заявка PCT:
CN 2005/001405 20050905
(87) Публикация PCT:
WO 2006/119681 20061116
Адрес для переписки:
101990, Москва, Петроверигский пер., 4, “Агентство Ермакова, Столярова и Партнеры”, пат.пов. Е.А.Ермаковой
|
(72) Автор(ы):
ЯО Чаошень (CN), ВЕЙ Ксинмин (CN), ХУАНЬ Донгшень (CN), ЙИ Жонгде (CN), ЛЮ Жонгкьюань (CN), ВАНГ Ронген (CN)
(73) Патентообладатель(и):
ИНСТИТУТ РАЗРАБОТКИ МЕТАЛЛУРГИЧЕСКОГО ОБОРУДОВАНИЯ ПРОВИНЦИИ ШАНДОНГ (CN)
|
(54) УСТРОЙСТВО ДЛЯ УДАЛЕНИЯ ПЫЛИ С ОБРАТНОЙ ИМПУЛЬСНОЙ ПРОДУВКОЙ ТКАНЕВОГО МЕШКА
(57) Реферат:
Изобретение предназначено для очистки газа. Устройство содержит один или несколько корпусов, сепаратор, установленный внутри корпуса и разделяющий его на две части, с верхней частью, используемой в качестве устройства для сбора газа, расположенный внутри корпуса фильтрующий тканевый мешок для сбора пыли, вход для загрязненного газа, выход для очищенного газа, первый и второй уровни системы обратной импульсной продувки тканевого мешка, содержащие патрубки обратного дутья и отводные трубы обратного дутья. Длина фильтрующего тканевого мешка составляет, по крайней мере, 8 метров. Отводная труба обратного дутья второго уровня вставлена своим концом, снабженным отверстием, внутрь фильтрующего тканевого мешка для сбора пыли на глубину, равную 1/2 длины фильтрующего тканевого мешка. Отводная труба обратного дутья второго уровня является концентрической по отношению к отводной трубе обратного дутья первого уровня и состоит из нескольких секций, соединенных друг с другом с помощью шарнирных резьбовых соединений. Технический результат: увеличение эффективности процесса удаления пыли за счет увеличения общей площади фильтрации, а также повышение КПД отдельного корпуса устройства за счет его экономичной конструкции. 1 з.п. ф-лы, 5 ил.
Область изобретения
Настоящее изобретение относится к устройствам для удаления пыли, снабженным тканевым мешком, в частности – к устройствам для удаления пыли из продуваемого потока воздуха внутри доменной печи, работа которых основана на принципе обратного импульса. Устройства такого типа обычно используют для очистки от пыли газов сухого типа в доменных печах, в сталелитейной промышленности.
Предшествующий уровень техники
Устройства для удаления пыли, снабженные тканевыми мешками, в настоящее время широко используют для удаления пыли из газовых сред или для отделения твердых компонентов от газовой смеси, особенно в тех областях, в которых применяют очистку сухих газов, в частности – в доменных печах. Согласно известным на сегодняшний день технологиям такие устройства содержат корпус, тканевый мешок для сбора пыли, сепаратор, дутьевое устройство обратного импульса, впускной и выпускной газовый коллектор, ковш для удаления шлаков, различные компоненты системы выгрузки и транспортировки шлаков и т.п.
Как показано на Фиг.1, газ с содержащейся в нем пылью движется по корпусу, поступая в него с впускного газового коллектора, далее – через тканевый мешок, в котором он фильтруется, и поступает в очищенном виде в трубу для сбора чистого газа и емкость для сбора чистого газа, установленную внутри корпуса. Наконец, чистый газ выбрасывается из трубы через выпускной газовый коллектор. Продувочный газ обратного потока подается в коллектор газа обратного потока для того, чтобы этот газ, проходя сквозь тканевый мешок, удалял пыль, осевшую на стенках этого мешка. Продувочный газ обратного потока проходит через специальный патрубок обратного потока, вставляемый в открытый конец тканевого фильтрующего мешка. Сброшенная таким образом с тканевого мешка пыль удаляется из корпуса с помощью соответствующего ковша для удаления шлаков и устройства для выгрузки шлаков через специальное отверстие. В обычных условиях используют стандартные тканевые мешки для фильтрации пыли, предназначенные для использования в корпусах печей диаметром 3.5 метра, при этом длина самого мешка составляет 6 метров при диаметре 130 мм. В корпусе печи устанавливают 192 тканевых мешка. Процесс установки варьируют в зависимости от материала, из которого изготовлен мешок, используемой газовой смеси и рабочей температуры. Однако эффективная длина тканевого фильтровального мешка не может быть увеличена из-за того, что эффективность работы систем обратного импульса, использующих для фильтрации тканевые мешки, имеет своей конечный предел. Кроме того, если увеличить длину мешка, то увеличится и количество секций корпуса устройства, что потребует большего пространства и соответственно снизит экономическую эффективность всей системы.
Задачи изобретения
С учетом недостатков устройств, известных из уровня техники, целью настоящего изобретения является разработка снабженного тканевым мешком многоуровневого устройства для удаления пыли из газового потока, основанного на принципе обратного импульса, эффективность работы которого смогла бы удовлетворить возросшие требования промышленности, при увеличении длины тканевого мешка в целях расширения площади фильтрации, с одновременной разработкой корпуса устройства, позволяющего сэкономить пространство и повысить экономическую эффективность конструкции.
Устройство для удаления пыли, основанное на принципе обратного импульса и снабженное фильтрующим тканевым мешком, включает в свою конструкцию следующие компоненты: несколько корпусов, образующих очистительную систему; сепаратор, расположенный внутри корпуса и разделяющий его на две части, при этом верхняя часть используется в качестве газового коллектора для сбора газа; емкость для сбора газа, в которой собирается очищенный газ после его фильтрации в тканевом мешке, после чего этот очищенный газ выбрасывается из колонны наружу через специальный газовый выход; фильтрующий тканевый мешок для сбора пыли, длина которого равна, по крайней мере, 8 метрам, на стенках которого оседает пыль из загрязненной газовой смеси при продувке ее через этот мешок; первый и второй уровни дутьевой системы обратного импульса; газовый вход для впуска загрязненной газовой смеси, расположенный в нижней части корпуса; газовый выход для выпуска очищенной газовой смеси, расположенный в верхней части емкости для сбора очищенного газа, установленной, в свою очередь, также внутри корпуса.
Первый уровень дутьевой системы обратного импульса для продувки газовой смеси через тканевый мешок включает в свой состав: газовый вход обратного дутья, патрубок обратного дутья и отводную трубу обратного дутья.
Второй уровень дутьевой системы обратного импульса для продувки газовой смеси через тканевый мешок включает в свой состав: патрубок обратного дутья и отводную трубу обратного дутья.
Отверстие конца отводной трубы обратного импульса первого уровня подведено к отверстию фильтрующего тканевого мешка. Отводная труба второго уровня устройства обратного импульса вставлена внутрь фильтрующего тканевого мешка через патрубок обратного дутья первого уровня и отводную трубу обратного дутья первого уровня, входя в тканевый мешок на глубину, равную примерно 1/2 всей длины этого мешка. Кроме того, патрубок обратного дутья второго уровня концентричен относительно отводной трубы обратного дутья первого уровня. В зависимости от длины тканевого мешка могут быть предусмотрены третий и более уровней дутьевой системы обратного импульса, при этом общая длина отводных труб второго уровня (а также вместе с последующими уровнями при их наличии) будет кратна 6 метрам соответственно.
Отводная труба обратного дутья второго уровня состоит из нескольких секций, соединенных друг с другом при помощи шарнирного соединения. Длина каждой секции составляет 1-2 метра.
Вышеупомянутые точки обратного вдувания газовой смеси двух уровней расположены на входе в фильтрующий тканевый мешок и на уровне его середины соответственно, то есть точка обратного вдувания каждого уровня находится в его верхней части: при этом точка обратного вдувания первого уровня располагается на входе в тканевый мешок, а точка обратного вдувания второго уровня располагается посередине этого мешка.
Вдувание газовой смеси осуществляется последовательно – либо вначале задействуется первый уровень, а затем второй уровень, либо наоборот – сначала второй, а затем первый уровень. Эти две последовательные операции могут немного перекрываться.
Изобретение позволяет в значительной степени увеличить площадь фильтрации пыли за счет увеличения длины тканевого мешка, тем самым повышая эффективность процесса фильтрации в отдельном корпусе.
Описание чертежей
На Фиг.1 изображена схема устройства для удаления пыли с использованием тканевого мешка, известного из уровня техники.
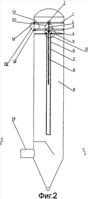
На Фиг.2 схематически изображен корпус с установленным в нем дутьевым устройством обратного импульса, снабженным тканевым мешком, в соответствии с предлагаемым изобретением;
На Фиг.3 содержится увеличенное изображение узла 1, показанного на Фиг.2;
На Фиг.4 содержится увеличенное изображение узла II, показанного на Фиг.2;
На Фиг.5 содержится увеличенное изображение узла III, показанного на Фиг.2.
Позиции на чертежах:
1 – патрубок обратного дутья второго уровня устройства
2 – отводная труба обратного дутья второго уровня устройства
3 – патрубок обратного дутья первого уровня устройства
4 – отводная труба обратного дутья первого уровня устройства
5 – сепаратор
6 – фильтрующий тканевый мешок для сбора пыли
7 – опорная рамка
8 – резьбовое шарнирное соединение
9 – корпус, в котором устанавливается устройство обратного импульса для удаления пыли, снабженное тканевым мешком
10 – емкость для сбора газа
11 – впуск трубы обратного дутья второго уровня устройства
12 – впуск трубы обратного дутья первого уровня устройства
13 – верхний фланец с крышкой
14 – верхний патрубок
15 – нижний патрубок
16 – нижний фланец
17 – фланец втулки
18 – втулка
19 – вход для загрязненного газа
20 – выход для очищенного газа
Вариант осуществления изобретения
Подробное описание настоящего изобретения далее рассматривается со ссылками на сопроводительные чертежи.
Согласно основному варианту исполнения настоящего изобретения, схематическое изображение которого представлено на Фиг.2-4, устройство обратного импульса для удаления пыли содержит корпус (9), сепаратор (5), фильтрующий тканевый мешок (6), опорную рамку (7), емкость для сбора газа (10), первый уровень системы обратного импульса, второй уровень системы обратного импульса, вход (19) для загрязненного газа, выход (20) для очищенного газа.
Первый уровень системы обратного импульса состоит из впуска (12) трубы обратного дутья, патрубка (3) обратного дутья и отводной трубы (4) обратного дутья.
Второй уровень системы обратного импульса состоит из: впуска (11) трубы обратного дутья, патрубка (1) обратного дутья и отводной трубы (2) обратного дутья.
Отводная труба (2) обратного дутья второго уровня системы обратного импульса вставлена в фильтрующий тканевый мешок через патрубок (3) обратного дутья первого уровня и отводную трубу (4) обратного дутья первого уровня. При этом глубина, на которую вставлена отводная труба (2) обратного дутья, равна примерно
1/2 длины тканевого мешка. В то же время отводная труба (2) обратного дутья второго уровня системы является концентрической по отношению к отводной трубе (4) обратного дутья первого уровня системы.
Отводная труба (2) обратного дутья второго уровня системы состоит из нескольких секций, соединенных между собой посредством шарнирного соединения, длина каждой секции равна 1-2 метрам.
Отводная труба (2) обратного дутья второго уровня соединяется с патрубком (1) обратного дутья второго уровня с помощью нижнего фланца (16), который связан с верхним фланцем (13) с крышкой. В целях проверки или ремонта отводную трубу (2) обратного дутья второго уровня отсоединяют от патрубка (1) обратного дутья второго уровня, нижнего патрубка (15) и верхнего патрубка (14) путем откручивания шарнирного резьбового соединения (8) на отводной трубе (2) обратного дутья второго уровня, открывая при этом нижний фланец (16), верхний фланец (13) с крышкой и фланец втулки (17).
Впуск трубы обратного дутья первого уровня выполнен в корпусе (9), вмещающем фильтрующий мешок для сбора пыли, и соединяет трубу с патрубком (3) обратного дутья первого уровня с помощью фланца. В корпусе (9), вмещающем фильтрующий мешок для сбора пыли, также выполнен впуск трубы обратного дутья второго уровня, связывая трубу с патрубком (1) обратного дутья второго уровня с трубой газового входа обратного потока 2-ого уровня с помощью фланца, что обеспечивает возможность легкого отсоединения патрубка (3) обратного дутья первого уровня и патрубка (1) обратного дутья второго уровня от корпуса (9), вмещающего фильтрующий тканевый мешок.
Отводная труба (2) обратного дутья второго уровня проходит сквозь патрубок (3) обратного дутья первого уровня, а также через втулку (18) и фланец втулки (17). При этом втулка (18) и фланец втулки (17) расположены в верхней части патрубка (3) обратного дутья первого уровня. После того как установка и монтаж завершены, фланец втулки (17) и отводную трубу (2) обратного дутья второго уровня надежно приваривают друг к другу, обеспечивая полную герметичность.
Газоочистка осуществляется следующим образом: загрязненный пылью газ через вход (19) попадает внутрь корпуса (9) устройства обратного импульса для удаления пыли, снабженного тканевым мешком, и затем, после очистки газа в фильтрующем тканевом мешке (6), поступает в емкость для сбора газа (10) и, наконец, в выпускной патрубок для вывода очищенного газа через выход (20).
Длина каждого фильтрующего тканевого мешка (6), установленного в корпусе (9), равна 8-12 метрам. Каждый фильтрующий тканевый мешок (6), установленный внутри корпуса (9) устройства обратного импульса для удаления пыли, очищается с помощью продувочной двухуровневой системы обратного потока, при этом точки обратного продува этой двухуровневой системы, снабженной тканевым мешком (6), располагаются на входе в вышеупомянутый мешок и посередине мешка соответственно, то есть каждая точка обратного продува располагается в верхней части каждого уровня: точка обратного продува первого уровня системы находится на уровне входа в тканевый мешок, а точка обратного продува второго уровня располагается на уровне середины тканевого мешка.
Когда осуществляется фильтрация и удаление пыли с помощью обратного потока и тканевого мешка, то два уровня системы могут работать либо одновременно, либо, в более предпочтительном варианте, по очереди, то есть сначала включается в работу первый уровень системы обратного импульса, а затем – второй уровень, или наоборот, эти две операции продувки обратным потоком могут слегка перекрывать друг друга.
Настоящее изобретение не ограничивается моделями, изложенными в настоящем описании. Возможна разработка различных модификаций, например, определенное увеличение длины фильтрующего тканевого мешка, установка третьего уровня (или большего количества уровней) устройства обратного импульса, основанного на принципе использования двухуровневой системы газового потока обратного импульса.
Формула изобретения
1. Устройство для удаления пыли с обратной импульсной продувкой тканевого мешка, содержащее один или несколько корпусов, сепаратор, установленный внутри корпуса и разделяющий его на две части, с верхней частью, используемой в качестве устройства для сбора газа, расположенный внутри корпуса фильтрующий тканевый мешок для сбора пыли, вход для загрязненного газа, расположенный в нижней части корпуса, выход для очищенного газа, расположенный в верхней части корпуса, первый уровень системы обратной импульсной продувки тканевого мешка, отличающееся тем, что первый уровень системы обратной импульсной продувки тканевого мешка содержит патрубок обратного дутья и отводную трубу обратного дутья, длина фильтрующего тканевого мешка составляет, по крайней мере, 8 м, устройство также оснащено вторым уровнем системы обратной импульсной продувки тканевого мешка, который сформирован патрубком обратного дутья и отводной трубой обратного дутья, вставленной своим концом, снабженным отверстием, внутрь фильтрующего тканевого мешка для сбора пыли, отводная труба обратного дутья второго уровня вставлена в тканевый мешок с помощью патрубка обратного дутья первого уровня и отводной трубы обратного дутья первого уровня на глубину, равную 1/2 длины фильтрующего тканевого мешка для сбора пыли, при этом отводная труба обратного дутья второго уровня является концентрической по отношению к отводной трубе обратного дутья первого уровня, а отводная труба обратного дутья второго уровня состоит из нескольких секций, соединенных друг с другом с помощью шарнирных резьбовых соединений, при этом длина каждой секции составляет 1-2 м.
2. Устройство по п.1, отличающееся тем, что оно содержит три или более уровней системы обратной импульсной продувки тканевого мешка.
РИСУНКИ
|
|