|
|
(21), (22) Заявка: 2007112179/15, 02.04.2007
(24) Дата начала отсчета срока действия патента:
02.04.2007
(43) Дата публикации заявки: 10.11.2007
(46) Опубликовано: 20.05.2009
(56) Список документов, цитированных в отчете о поиске:
RU 2082481 C1, 27.06.1997. SU 1725960 A1, 15.04.1992. SU 1080832 A, 23.03.1984. WO 2006/035102 A1, 06.04.2006. FR 1128391 A, 04.01.1957. DE 2934246 A, 26.03.1981.
Адрес для переписки:
432042, г.Ульяновск, ул. Московское шоссе, 38, ОАО “Строймаш”, а/я 1589
|
(72) Автор(ы):
Булыжёв Евгений Михайлович (RU), Булыжёв Эдуард Евгеньевич (RU)
(73) Патентообладатель(и):
Булыжёв Евгений Михайлович (RU), Булыжёв Эдуард Евгеньевич (RU)
|
(54) ПАТРОННЫЙ ФИЛЬТР
(57) Реферат:
Изобретение предназначено для очистки промышленных и бытовых жидкостей от взвешенных частиц, органических веществ, ионов тяжелых металлов. Фильтр содержит вертикальный цилиндрический съемный корпус, скрепляемый хомутом или фланцевым соединением, с одним из нескольких унифицированных распределителей. Внутри корпуса установлены с образованием сообщающихся объемов две трубы и один фильтрующий элемент в виде двух вертикальных цилиндрических перфорированных стаканов, смещенных относительно оси патрона, без перфорации в верхней части. Между стаканами размещен в оболочке фильтрующий материал на 0,75-0,95 объема. Отверстия на верхней торцевой поверхности корпуса совмещены с патрубками распределителя, соединяющими два отверстия корпуса с первым магистральным каналом подачи очищаемой жидкости, выходные отверстия труб – со вторым каналом подачи промывной жидкости, одно из трех отверстий вверху каркаса – с третьим каналом отвода промывной жидкости, отверстие осевого канала – с четвертым магистральным каналом отвода чистой жидкости. Каналы расположены на разных уровнях с понижением от первого к четвертому каналу. В фильтре предусмотрены разгрузочные и загрузочные патрубки. Технический результат: высокая производительность очистки без применения напорного оборудования, возможность произвольного набора патронов в одной кассете, возможность размещения на производственных площадях в зонах труднодоступных или ограниченного объема. 4 з.п. ф-лы, 5 ил.
Изобретение относится к фильтрованию и может быть использовано для очистки промышленных и бытовых вод от взвешенных частиц, органических веществ, ионов тяжелых металлов предприятий электронной, машиностроительной, химической и других отраслей промышленности.
Известен фильтровальный аппарат со съемным набором патронных фильтрующих элементов по патенту РФ 2070416, опубл. 20.12.1996. В фильтре, содержащем корпус в виде стакана, цилиндрический коллектор фильтрата с адаптерами для крепления фильтрующих элементов в одной из его торцевых крышек, предусмотрен дополнительный стакан, герметично закрепленный на коллекторе фильтрата, на второй торцевой крышке которого выполнены адаптеры для крепления фильтрующих элементов. Коллектор фильтрата делит камеру для очищаемой жидкости на два симметричных объема, соединенных посредством входного патрубка в виде Т-образного трубопровода, закрепленного в нижней части коллектора фильтрата соосно патрубку выхода фильтрата. Патрубки слива очищаемой жидкости и фильтрата выполнены в корпусе. Аппарат имеет сложную конструкцию, в ходе эксплуатации необходим контроль сброса воздуха, не предусмотрена промывка фильтрующих элементов.
Известен патронный фильтр по патенту РФ 2058802, опубл. 27.04.1996. Патронный фильтр содержит корпус, разделенный трубной доской на верхнюю и нижнюю камеры, фильтрующие патроны с защитными футлярами, закрепленными открытыми концами в трубной доске и установленными вертикально в нижней камере, и патрубки с задвижками, причем защитные футляры выполнены из открытопористого эластичного материала и снабжены перфорированными обоймами из жесткого материала, а верхняя и нижняя камеры снабжены двумя дополнительными патрубками с задвижками. Такая конструкция позволяет повысить эффективность регенерации защитных футляров, увеличить срок их службы и упростить эксплуатацию фильтра. Сложность конструкции не компенсирует производительность работы фильтра.
Наиболее близким к изобретению по технической сущности и достигаемому техническому эффекту является фильтр для очистки жидкости по патенту РФ 2082481, опубл. 27.06.1997. Фильтр содержит корпус с патрубками для подачи очищаемой и промывной жидкости, отвода фильтрата и промывного раствора, размещенные в корпусе вертикальные фильтрующие элементы и перегородку в его верхней части. Каждый фильтрующий элемент выполнен из стержней, расположенных в углах равностороннего пятиугольника и обтянутых послойно активированной тканью, установленной снаружи стержневого каркаса, заглушен в нижней части и закреплен в верхней части на перегородке, при этом перегородка разделяет корпус на камеры загрязненной и очищенной жидкости.
Фильтр имеет большие габариты, что создает проблемы при размещении фильтра в условиях производства, отмывка фильтрующего элемента сравнима с трудоемкостью очистки жидкости. Необходимо создание значительного напора для прохождения регенерационных растворов из центральной части малого объема на периферию боковой поверхности фильтрующего элемента.
Техническая задача изобретения заключается в том, чтобы увеличить производительность очистки без применения напорного оборудования, повысить эффективность промывки и замены фильтрующего материала, обеспечить компоновку патронов в кассеты с произвольным набором в одной кассете, обеспечить возможность размещения на производственных площадях в зонах труднодоступных или ограниченного объема.
Техническая задача решена заявляемым изобретением. Предложен патронный фильтр, содержащий корпус, патрубки для подачи очищаемой и промывной жидкости и патрубки для их отвода, поверхность фильтрования внутри корпуса, перегородку, отличающийся тем, что корпус выполнен съемным в виде вертикального цилиндрического патрона, закрытого на обоих торцах, при этом верхняя торцовая поверхность имеет отверстия для коммуникаций посредством патрубков с магистральными каналами, также корпус имеет перегородку в нижней части для создания сообщающихся объемов, а в верхней части корпус снабжен средством крепления к одному из нескольких унифицированных распределителей, имеющих патрубки, соединенные посредством вентилей с магистральными каналами подачи очищаемой жидкости, отвода чистой жидкости, подачи промывной жидкости, отвода промывной жидкости.
Поверхность фильтрования внутри корпуса образована одним фильтрующим элементом, у которого фильтрующий материал размещен внутри фильтровальной оболочки, уложенной внутри каркаса из двух концентрично расположенных вертикальных цилиндрических перфорированных стаканов с перфорацией на нижнем кольцевидном торце каркаса и без перфорации верхней части стаканов и верхнего кольцевидного торца каркаса, при этом фильтрующий материал засыпан на 0,75-0,95 объема оболочки выше уровня перфораций на величину, не меньше расстояния между стаканами.
Фильтрующий элемент и одна или более трубы внутри корпуса закреплены на перегородке и на верхней торцевой поверхности корпуса так, что фильтрующий элемент и трубы совмещены с отверстиями перегородки с образованием сообщающихся объемов, а в верхней части с соответствующими отверстиями совмещены трубы и осевой канал фильтрующего элемента, при этом ось фильтрующего элемента смещена относительно оси корпуса с возможностью размещения указанных труб в расширенной части корпуса, наибольший размер которой в поперечном сечении составляет приблизительно 0,3-0,4 диаметра фильтрующего элемента, а наименьший соответствует условию свободного распределения жидкости внутри корпуса.
Отверстия на закрытых торцах каркаса сообщаются с полостью оболочки и совмещены с отверстиями корпуса так, что два из трех отверстий вверху патрона соединены с загрузочными патрубками и два отверстия внизу патрона соединены с разгрузочными патрубками, снабженными запорной арматурой, отверстия на обоих торцах каркаса расположены диаметрально и развернуты по отношению друг к другу приблизительно под прямым углом.
Отверстия на верхней торцевой поверхности корпуса в рабочем режиме совмещены с патрубками распределителя, соединяющими два отверстия с первым магистральным каналом подачи очищаемой жидкости, выходные отверстия труб – со вторым каналом подачи промывной жидкости, одно из трех отверстий вверху каркаса – с третьим каналом отвода промывной жидкости, отверстие осевого канала – с четвертым магистральным каналом отвода чистой жидкости, причем каналы расположены на разных уровнях с понижением от первого к четвертому каналу.
Крепление корпуса патронного фильтра к распределителю может быть выполнено в виде фланцевого соединения, в виде хомута, стягиваемого посредством резьбового соединения. Соединения по месту совмещения труб и патрубков выполнены с применением уплотнителей для жидкости.
Верхняя торцовая поверхность патронного фильтра с отверстиями и средства крепления патрона имеют унифицированные исполнения для разных по высоте патронов.
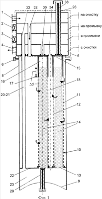
На фигуре 1-3 показан продольный разрез патрона в процессе очистки, промывки и в процессе замены фильтровальной засыпки, на фигуре 4 – вид верхней торцовой поверхности патрона с нанесенными контурами фильтрующего элемента, на фигуре 5 показан пример компоновки патронных фильтров в отдельной кассете.
Магистральные каналы 1-4 проложены в верхней зоне производственных помещений. Вдоль их трассы установлены распределители 5 в необходимом количестве. Патрубки каждого распределителя обеспечивают соединение съемных патронных фильтров с каналами. В зависимости от места установки фильтра его габариты могут отличаться один от другого, но конструкция верхней торцовой поверхности патронного фильтра и средства крепления патрона имеют унифицированные исполнения для разных по высоте патронов. Это обеспечивает быструю замену фильтров. Крепление верхней части корпуса патронного фильтра к распределителю может быть выполнено, например, в виде фланцевого соединения 6 (фигура 1) или в виде хомута 7, стягиваемого посредством резьбового соединения (фигура 5). Соединения по месту совмещения труб и патрубков выполнены с применением уплотнителей для жидкости (резиновые прокладки и пр.).
Патронный фильтр содержит съемный корпус 8 в виде вертикального цилиндрического патрона, закрытого на обоих торцах с вогнутым нижним торцом 9 для увеличения прочности корпуса. Внутри корпуса закреплен один фильтрующий элемент 10, каркас которого выполнен из двух концентрично расположенных вертикальных цилиндрических стаканов 11 и 12. На нижнем кольцевидном торце 13 каркаса и на части цилиндрической поверхности выполнена перфорация. Верхняя часть стаканов и верхний кольцевидный торец каркаса выполнены без перфорации. Насыпной фильтрующий материал 14 размещен внутри фильтровальной оболочки 15, находящейся внутри каркаса, и засыпан на 0,75-0,95 объема оболочки (высоты каркаса). Объем насыпки зависит от вида загрязнителя, а также от свойств насыпного материала. Указанный примерный объем насыпки позволяет при прохождении промывной жидкости разрыхлить фильтрующий материал 14, увеличить “живое сечение” фильтрующего слоя, что увеличивает скорость и качество регенерации фильтрослоя. Чтобы не снизить качество очистки ввиду наличия свободной от насыпки зоны 16, эта зона находится выше уровня перфораций 17 на величину не меньше расстояния d между стаканами. В этом случае направление очистки вблизи зоны 16 будет осуществляться по наикратчайшему пути, то есть от наружной перфорации каркаса 11 через фильтрующий слой в осевой канал 18.
Фильтрующий элемент 10 занимает не меньше 50% объема патрона (фигура 4). Ось 19 фильтрующего элемента смещена относительно оси корпуса, что позволило в расширенной части корпуса расположить две трубы 20 и 21. Наибольший размер расширенной части корпуса в поперечном сечении составляет приблизительно 0,3-0,4 диаметра фильтрующего элемента, а наименьший соответствует условию свободного распределения жидкости внутри корпуса, например 2-5 см. Расстояние между фильтрующим элементом и стенкой корпуса увеличивается с увеличением вязкости очищаемой жидкости, а это промышленные и бытовые воды. Выбор промежутка 2-5 см позволяет избежать застойных явлений в этой части патрона и обеспечить одинаковую пропускную способность всей фильтрующей поверхности элемента 10. Целесообразно применение в патроне двух труб, так как их суммарное сечение больше сечения одной трубы, размещенной в тех же габаритах. Увеличение числа труб усложняет подсоединение фильтра к распределителю.
В нижней части корпуса фильтрующий элемент 10 и обе трубы 20, 21 закреплены на перегородке 22 и совмещены с отверстиями перегородки с образованием сообщающихся объемов между полостями труб, нижней частью 23 корпуса и слоем с фильтрующим материалом 14 через перфорированный торец каркаса. С отверстиями верхней торцевой поверхности корпуса 8 совмещены и закреплены обе трубы 20, 21 и осевой канал 18 фильтрующего элемента 10.
Отверстия на закрытых торцах каркаса сообщаются с полостью оболочки и совмещены с отверстиями корпуса. Два отверстия 24 и 25 из трех на закрытом верхнем торце каркаса соединены с загрузочными патрубками 26. Два отверстия 27 и 28 внизу каркаса (на фигуре 4 показаны пунктиром) соединены с разгрузочными патрубками 29. Патрубки снабжены запорной арматурой и перекрыты в режиме очистки жидкости и промывки фильтрующего материала. Отверстия 24-25 и 27-28 на обоих торцах расположены диаметрально и развернуты по отношению друг к другу приблизительно под прямым углом, то есть в вертикальной проекции все отверстия расположены равномерно по окружности.
Верхняя торцевая поверхность корпуса 8 имеет отверстия для коммуникаций посредством патрубков распределителя 5, снабженных вентилями, с магистральными каналами 1-4, которые расположены на разных уровнях с понижением от 1-го к 4-му каналу. Полость патрона через два отверстия 30 и 31 и патрубки 32 подсоединена к первому магистральному каналу 1 подачи очищаемой жидкости; трубы 20, 21 посредством патрубков 33 подсоединены ко второму магистральному каналу 2 подачи промывной жидкости; осевой канал 18 посредством патрубка 34 подсоединен к четвертому магистральному каналу 4 отвода чистой жидкости; внутренний объем каркаса (фильтровальная оболочка с насыпным материалом) через отверстие 35 (фигура 4) вверху каркаса и патрубок 36 подсоединен к третьему магистральному каналу 3 отвода промывной жидкости.
Работа фильтра осуществляется в режиме очистки жидкости, в режиме промывки насыпного фильтрующего материала, также предусмотрена перезагрузка фильтра путем замены фильтрующего материала.
В режиме очистки жидкости открыты только вентили на патрубках 32 подачи очищаемой жидкости от магистрального канала 1 верхнего уровня и вентили патрубков 34 отвода чистой жидкости к магистральному каналу 4. Жидкость поступает через отверстия 30, 31 в полость корпуса 8, проходит через слой с фильтрующим материалом в осевой канал 18, и чистая жидкость самотеком выводится через патрубок 34 в магистральный канал 4 более низкого уровня, чем канал 1, в соответствии со свойством сообщающихся сосудов. Также чистая жидкость находится в трубах 20, 21 и в корпусе ниже перегородки 22 без движения ввиду закрытых патрубков 33 и 36. Преимущество одного фильтрующего элемента, если сравнить с 2-3 элементами в том же объеме корпуса, состоит в следующем. Поверхность фильтрации и прямо связанная с ней скорость фильтрации ниже в 1,2-1,6 раз. Но при этом толщина фильтровального слоя и сечение осевого канала одного элемента больше в 1,5-3 раза и, как следствие, повышается степень очистки и улучшаются условия промывки фильтрующей насыпки. Также сечение осевого канала позволяет отказаться от напорного оборудования, то есть один фильтрующий элемент в патроне создает преимущества в производительности и качестве очистки.
Фильтрующая насыпка патрона может иметь разное назначение. Периодичность регенерации фильтрующего материала путем промывки зависит от характеристики загрязняющих веществ. Например, на операциях очистки промышленных и бытовых вод от мелких и взвешенных частиц промывка патронного фильтра может осуществляться 1 раз в неделю или по мере необходимости. Причем заявленный фильтр представляет собой отдельную фильтровальную единицу, из которой фильтровальные кассеты 37 (фигура 5) или фильтровальные комплексы формируются путем подбора количества отдельных патронных фильтров. Благодаря унификации средств подсоединения фильтров к распределителям, фильтры могут быть распределены вдоль магистральных каналов и установлены на производственных площадях, мало пригодных для монтажа иного оборудования. Периодическое переключение 3-10% фильтров на промывку слоя с фильтрующим материалом не приведет к заметному снижению норм обеспечения очищенной водой.
В режиме промывки насыпного фильтрующего материала открыты только вентили на патрубках 33 подачи промывной жидкости от магистрального канала 2 второго уровня и вентили патрубков 36 отвода промывной жидкости к магистральному каналу 4. Промывная жидкость подводится через две трубы 20, 21 и закрытый объем 23 патрона ниже перегородки к кольцевому перфорированному торцу 13 фильтрующего элемента. Небольшой перепад давления 1,2-1,5 атм создается насосом на канале 4. Этого небольшого давления достаточно для того, чтобы фильтрующий насыпной материал поднялся и разрыхлился. В разреженной среде насыпки загрязняющие частицы легко вымываются. При этом расход промывной воды уменьшается, примерно, в 100 раз по сравнению с известными устройствами, так как расход пропорционален сечению канала промывки, которое в заявленном фильтре равнозначно площади перфорированного торца каркаса. С уменьшением расхода промывной жидкости снижаются энергозатраты на очистку жидкости. Промывная жидкость отводится через отверстие 35 корпуса и патрубок 36 в магистральный канал 4 более низкого уровня, чем канал 2 подвода промывной жидкости. В известных устройствах, предусматривающих промывку противотоком, “живое сечение” равнозначно площади поверхности фильтрующего элемента, промывку которого сложно обеспечить подводом жидкости через осевой канал.
Замена отработанного фильтрующего материала может осуществляться как без отсоединения от распределителя, так и на стадии замены патронного фильтра. Выгрузка отработанного фильтрующего материала осуществляется через нижние патрубки 27, 28, а насыпка нового материала – через патрубки 24, 25. Так как разгрузочные отверстия корпуса развернуты относительно загрузочных, то при движении клапана-поршня 38 перемещение насыпного материала осуществляется по всему объему фильтровальной оболочки 15.
Заявляемый патронный фильтр может быть изготовлен с использованием известных технологий и материалов и позволяет получить технический результат повышения производительности очистки жидкости без применения напорного оборудования, эффективности промывки фильтра и его размещения.
Формула изобретения
1. Патронный фильтр, содержащий корпус, патрубки для подачи жидкости и патрубки для отвода чистой и промывной жидкости, фильтрующий элемент внутри корпуса, отличающийся тем, что корпус выполнен съемным в виде вертикального цилиндрического патрона, закрытого на обоих торцах, при этом верхняя торцовая поверхность имеет отверстия для коммуникаций посредством патрубков с магистральными каналами, фильтр снабжен перегородкой в нижней части корпуса, трубами, а в верхней части корпус снабжен средством крепления к одному из нескольких унифицированных распределителей, имеющих патрубки, соединенные посредством вентилей с магистральными каналами подачи очищаемой жидкости, отвода чистой жидкости, подачи промывной жидкости, отвода промывной жидкости, при этом фильтрующий материал фильтрующего элемента размещен внутри фильтровальной оболочки, уложенной внутри каркаса, выполненного из двух концентрично расположенных вертикальных цилиндрических перфорированных стаканов с перфорацией на нижнем кольцевидном торце каркаса и без перфорации верхней части стаканов и верхнего кольцевидного торца каркаса, причем фильтрующий материал засыпан на 0,75-0,95 объема оболочки и выше уровня перфораций на величину не меньше расстояния между стаканами, при этом фильтрующий элемент и одна или более труб внутри корпуса закреплены на перегородке и на верхней торцевой поверхности корпуса так, что фильтрующий элемент и трубы совмещены с отверстиями перегородки с образованием сообщающихся объемов, а с соответствующими отверстиями верхней торцевой поверхности корпуса совмещены трубы и осевой канал фильтрующего элемента, причем ось фильтрующего элемента смещена относительно оси корпуса с возможностью размещения указанных труб в расширенной части корпуса, наибольший размер которой в поперечном сечении составляет приблизительно 0,3-0,4 диаметра фильтрующего элемента, а наименьший размер поперечного сечения соответствует условию свободного распределения жидкости внутри корпуса, при этом отверстия на закрытых торцах каркаса сообщаются с полостью оболочки и совмещены с отверстиями корпуса так, что первое и второе из трех отверстий каркаса вверху патрона соединены с загрузочными патрубками и два отверстия каркаса внизу патрона соединены с разгрузочными патрубками, снабженными запорной арматурой, указанные отверстия на обоих торцах каркаса (24-25) и (27-28) расположены диаметрально и развернуты по отношению друг к другу приблизительно под прямым углом, причем отверстия на верхней торцевой поверхности корпуса (8) в рабочем режиме совмещены с патрубками распределителя, соединяющими полость патрона через два отверстия (30, 31) с первым магистральным каналом подачи очищаемой жидкости, выходные отверстия труб – с вторым каналом подачи промывной жидкости, третье из трех указанных отверстий каркаса вверху патрона – с третьим магистральным каналом отвода промывной жидкости, отверстие осевого канала – с четвертым магистральным каналом отвода чистой жидкости, при этом каналы расположены на разных уровнях с понижением от первого к четвертому каналу.
2. Патронный фильтр по п.1, отличающийся тем, что средство крепления корпуса к распределителю выполнено в виде фланцевого соединения.
3. Патронный фильтр по п.1, отличающийся тем, что средство крепления корпуса к распределителю выполнено в виде хомута, стягиваемого посредством резьбового соединения.
4. Патронный фильтр по п.1, отличающийся тем, что все соединения по месту совмещения труб и патрубков выполнены с применением уплотнителей для жидкости.
5. Патронный фильтр по п.1, отличающийся тем, что верхняя торцовая поверхность с отверстиями и средства крепления патрона имеют унифицированные исполнения для разных по высоте патронов.
РИСУНКИ
|
|