|
|
(21), (22) Заявка: 2008101941/15, 10.01.2008
(24) Дата начала отсчета срока действия патента:
10.01.2008
(46) Опубликовано: 20.05.2009
(56) Список документов, цитированных в отчете о поиске:
RU 2286194 С2, 27.10.2006. SU 1377152 А1, 29.02.1988. US 6752860 А, 22.06.2004. GB 1221621 А, 03.02.1971. US 4478712 А, 23.10.1984.
Адрес для переписки:
199004, Санкт-Петербург, до востребования, А.В. Шипулину
|
(72) Автор(ы):
Сизинцев Павел Николаевич (RU), Шипулин Александр Владимирович (RU), Батаев Виктор Алексеевич (RU), Шатилов Виталий Иванович (RU)
(73) Патентообладатель(и):
Сизинцев Павел Николаевич (RU), Шипулин Александр Владимирович (RU), Батаев Виктор Алексеевич (RU), Шатилов Виталий Иванович (RU)
|
(54) СПОСОБ РАЗДЕЛЕНИЯ ЭМУЛЬСИИ
(57) Реферат:
Изобретение относится к способам разделения жидкостных смесей, содержащих нефтепродукты и другие органические соединения, воду, газообразные включения, и может быть использовано в нефтяной и газовой промышленности в системах сбора, подготовки и переработки углеводородного сырья, для очистки сточных вод, масел и т.д. Способ включает нагрев эмульсии, ее струйную подачу в виде вихревого закрученного потока, в центральной зоне которого центробежными силами создают пониженное давление, а в его периферийной зоне давление, обеспечивающее вытеснение легкой фазы в центральную зону закрученного потока эмульсии, отбор центрального и периферийного потоков, а также части периферийного потока на рециркуляцию в исходную эмульсию. Над закрученным потоком, направленным вверх, производят отбор газовой фазы, создают скорость движения закрученного потока, достаточную для интенсивного отбора газа за счет снижения давления в центральной зоне закрученного потока и многократного прохождения жидкости через зону сепарации. Технический результат состоит в возможности отбора тяжелой и легкой фаз жидкости, а также газовой фазы из вихревого закрученного потока эмульсии без применения отстойника. 1 ил.
Предлагаемое изобретение относится к способам разделения жидкостных смесей, содержащих нефтепродукты и другие органические соединения, воду, газообразные включения, и может быть использовано в нефтяной и газовой промышленности в системах сбора, подготовки и переработки углеводородного сырья, для очистки сточных вод, масел и т.д.
Известен способ разделения многофазных нефтесодержащих систем (Панченко В.И., Ахметзянов Ш.Х., Закиев Ф.А., Галимов Р.Х., Садыков А.Ф., патент 2211095, В04С 5/103), который предусматривает создание тангенциального вихревого потока подаваемой под давлением очищаемой среды, последующее центробежное разделение сред с удалением за счет создания отрицательного градиента давления легких фракций по оси гидроциклона в направлении, обратном поступательному перемещению очищаемой среды, и выведением более тяжелых по отношению к несущей среде фракций в обратном направлении.
Однако недостатком способа являются недостаточный уровень очистки, большие энергетические потери при сепарации, связанные с необходимостью подачи жидкостной смеси в эвольвентный канал под большим давлением, а также большие габариты, вес и стоимость установки.
Известны способ разделения многофазных сред и устройство для его осуществления (Беспалов А.А., Власенко С.А., Медведева А.А., патент 2297267, B01D 17/038), которые включают создание вихревого потока, последующее центробежное разделение сред с удалением легких фракций за счет создания отрицательного градиента давления по оси центробежного сепаратора в направлении, обратном поступательному перемещению многофазной среды, и прямоточным выведением более тяжелых по отношению к несущей среде фракций.
Однако при сепарации, например, водонефтяной смеси нефть концентрируется в приосевой зоне камеры, вода отбрасывается к наружной стенке, остальная часть потока составляет водонефтяная эмульсия, четкой границы между разделяемыми фазами нет. Следовательно, эмульсия будет удаляться либо с нефтью, либо с водой.
Известен способ газодинамической сепарации (Запорожец Е.П., Зиберт Г.К., Запорожец Е.Е., Аверкин А.И., патент 2291736, B01D 45/12), который включает закрученную подачу исходного потока высоконапорного многокомпонентного углеводородного газа в сопло, изоэнтальпийное расширение газа с охлаждением при его истечении с околозвуковой или сверхзвуковой скоростью, конденсацию компонентов в расширенном и охлажденном вращающимся потоке газа, отделение от газа конденсата, сбор конденсата в зоне с пониженным давлением, которую создают путем эжектирования из нее газовой фазы, повышение давления очищенного газового потока путем его торможения в диффузоре и удаление очищенного газа и конденсата.
Однако способ не предусматривает разделение жидкой фазы по удельному весу, требует применения высоконапорного оборудования и околозвуковых скоростей перемещения сепарируемой среды, служит только для очистки газа.
Известен способ разделения несмешивающихся жидкостей (Бойко С.И., Аджиев А.Ю., Килинник С.В., Литвиненко А.В., Шульга Т.Н., патент 2294787, B01D 17/028), который включает равномерное распределение смеси по сечению потока с последующим гравитационным ее разделением в тонком слое в режиме расслоения. Толщину формируемых в каждой зоне тонких слоев уменьшают последовательно по направлению движения потока при сохранении постоянной площади поперечного сечения разделяемого потока.
Однако разделение смеси жидкостей в вихревой трубе не предусматривает рециркуляцию потока в исходную эмульсию и отбор газовой фазы.
Известен способ вихревого крекинга нефти и нефтепродуктов (Серебряков Р.А., Бирюк В.В., Аванесян В.П., патент 2305699, C10G 9/00), включающий разделение нефти и нефтепродуктов на фракции и осуществляемый путем подачи их нефтяным насосом в вихревую гидрокавитационную установку с последующим разделением на фракции в вихревой трубе.
Однако разделение смеси жидкостей в вихревой трубе не предусматривает возврат части потока в исходную эмульсию и отбор газовой фазы.
Известен способ разделения эмульсий (Зиберт Г.К., Запорожец Е.П., Минигулов P.M., Зиберт А.Г., патент 2286194, B01D 17/038), принятый за прототип, включающий нагрев эмульсии, струйную подачу, удар струи и разделение. Исходную эмульсию подают в виде вихревого закрученного потока. В центральной зоне потока центробежными силами создают пониженное давление, равное давлению насыщенного пара низкокипящей жидкости, а в его периферийной зоне – давление, обеспечивающее вытеснение легкой фазы в центральную зону струйного закрученного потока эмульсии. Часть периферийного потока отбирают на рециркуляцию в исходную эмульсию.
Однако способ предназначен для разделения эмульсии по удельному весу и не предусматривает отбор газовой фазы непосредственно из вихревого закрученного потока. В потоке создают давление насыщенного пара низкокипящей жидкости, которое препятствует отбору газовой фазы. Газ отбирают в отстойнике, являющемся звеном в контуре рециркуляции потока эмульсии.
Целью изобретения является отбор тяжелой и легкой фаз жидкости, а также газовой фазы из вихревого закрученного потока эмульсии без применения отстойника.
Задача решается тем, что, применяя способ разделения эмульсии, включающий ее нагрев, струйную подачу исходной эмульсии в виде вихревого закрученного потока, в центральной зоне которого центробежными силами создают пониженное давление, а в его периферийной зоне давление, обеспечивающее вытеснение легкой фазы в центральную зону закрученного потока эмульсии, отбор центрального и периферийного потоков, а также части периферийного потока на рециркуляцию в исходную эмульсию, над закрученным потоком, направленным вверх, производят отбор газовой фазы, создают скорость движения закрученного потока, достаточную для интенсивного отбора газа за счет снижения давления в центральной зоне закрученного потока и многократного прохождения жидкости через зону сепарации, скорость движения закрученного потока определяют скоростью рециркуляции части периферийного потока в исходную эмульсию, интенсивность отбора жидких фаз эмульсии и высоту столба закрученного потока определяют скоростью подачи исходной эмульсии.
Такой способ позволяет без применения отстойника выводить разделенные среды четырьмя потоками: легкая фаза, тяжелая фаза, газовая фаза и смесь неразделенных фаз для повторной сепарации.
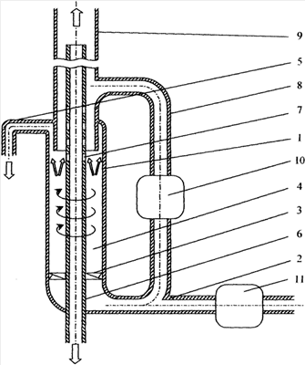
Пример устройства для реализации предлагаемого способа поясняется чертежом, на котором: 1 – корпус устройства; 2 – патрубок подвода исходной эмульсии; 3 – лопасти; 4 – камера сепарации; 5 – узел вывода тяжелой фазы; 6 – труба вывода легкой фазы; 7 – перфорация; 8 – труба потока рециркуляции; 9 – газоотвод; 10 – насос потока рециркуляции; 11 – насос подачи исходной эмульсии. Стрелками указаны направления движения жидкости и газа.
Способ реализуют следующим образом.
К корпусу устройства 1 через патрубок подвода исходной эмульсии 2 под давлением подводят смесь, содержащую тяжелые и легкие жидкости, а также газовую составляющую. Поток эмульсии, проходя через повернутые на заданный угол лопасти 3, закручивается, при этом происходит центробежное разделение фаз жидкости. Закрученный поток перемещается по камере сепарации 4. Более тяжелая фаза отбрасывается к наружной стенке камеры сепарации 4, а более легкая фаза собирается в приосевой зоне потока.
Закрученный поток перемещается по камере сепарации 4 до узла удаления тяжелой фазы 5, который представляет собой кольцевую щель, соединенную со сборной емкостью или канализацией с давлением ниже давления камеры сепарации. Более тяжелая фаза жидкости, а также взвешенные частицы и механические примеси частично удаляются.
Легкая фаза жидкости вытесняется тяжелой фазой в центральную часть закрученного потока к трубе вывода легкой фазы 6, проходящей вертикально через камеру сепарации 4, и проникает в нее через перфорацию 7. Легкую фазу жидкости выводят в накопитель с давлением ниже давления камеры сепарации.
Часть периферийного потока между слоем тяжелой фазы жидкости и приосевой зоной легкой фазы представляет собой смесь неразделенных фаз, которую выводят из камеры сепарации 4 и через трубу потока рециркуляции 8 объединяют с потоком исходной эмульсии для повторной сепарации.
Газовую фазу, отделяемую в зоне низкого давления камеры сепарации 4, выводят в газоотвод 9. Для интенсификации отделения газовой фазы в приосевой зоне в камеры сепарации 4 поддерживают низкое давление за счет высокой скорости движения закрученного потока. Интенсивному газоотделению также способствует многократное прохождение эмульсии по контуру через камеру сепарации 4 и трубу потока рециркуляции 8. Газ отделяется как в камере сепарации 4, так и в трубе вывода легкой фазы 6.
Скорость движения эмульсии через камеру сепарации 4 устанавливают с помощью насоса потока рециркуляции 10, врезанного в трубу потока рециркуляции 8 и имеющего расход, достаточный для интенсивного газоотделения, но не способствующий созданию в камере сепарации 4 турбулентных потоков, нарушающих расслаивание жидкости по удельному весу.
Многократное перекачивание эмульсии через камеру сепарации 4 и трубу потока рециркуляции 8 способствует выделению теплоты за счет диссипативных потерь турбулентного потока жидкости, нагреву потока эмульсии и снижению ее вязкости. Периферийный слой жидкости нагревается также за счет эффекта Ранка-Хэлша в вихревых трубах.
Подачу исходной эмульсии осуществляют насосом 11 с таким расчетом, чтобы столб закрученного потока перекрывал по высоте узел вывода тяжелой фазы 5, перфорацию 7 и подвод трубы потока рециркуляции 8, но не превышал верхнего среза трубы вывода легкой фазы 6. Увеличение высоты столба закрученного потока способствует повышению давления в камере сепарации 4 и отделению тяжелой и легкой фаз жидкости. Направление движения закрученного потока эмульсии через камеру сепарации 4 снизу вверх содействует выносу газовой фазы к газоотводу 9.
Для закручивания потока эмульсии возможно применение как лопастей с заданным углом поворота, так и завихрителя с тангенциальной установкой входного сопла.
При проведении сепарации возможно введение в исходную смесь химреактивов, например деэмульгатора, электролита, для повышения подвижности частиц при сепарации жидкостей высокой вязкости.
Формула изобретения
Способ разделения эмульсии, включающий ее нагрев, струйную подачу исходной эмульсии в виде вихревого закрученного потока, в центральной зоне которого центробежными силами создают пониженное давление, а в его периферийной зоне давление, обеспечивающее вытеснение легкой фазы в центральную зону закрученного потока эмульсии, отбор центрального и периферийного потоков, а также части периферийного потока на рециркуляцию в исходную эмульсию, отличающийся тем, что над закрученным потоком, направленным вверх, производят отбор газовой фазы, создают скорость движения закрученного потока, достаточную для интенсивного отбора газа, за счет снижения давления в центральной зоне закрученного потока и многократного прохождения жидкости через зону сепарации, скорость движения закрученного потока определяют скоростью рециркуляции части периферийного потока в исходную эмульсию, интенсивность отбора жидких фаз эмульсии и высоту столба закрученного потока определяют скоростью подачи исходной эмульсии.
РИСУНКИ
|
|