|
|
(21), (22) Заявка: 2006136430/12, 16.10.2006
(24) Дата начала отсчета срока действия патента:
16.10.2006
(30) Конвенционный приоритет:
17.10.2005 EP 05022553.1
(43) Дата публикации заявки: 27.04.2008
(46) Опубликовано: 20.05.2009
(56) Список документов, цитированных в отчете о поиске:
SU 1204831 A, 15.01.1986. ЕР 0225515 А, 16.06.1987. DE 3346423 А, 23.08.1984. DE 4015404 A, 19.12.1991. ВЕ 903655 А, 14.03.1986. SU 1151728 A1, 23.04.1985. RU 2229652 C1, 27.05.2004.
Адрес для переписки:
129090, Москва, ул. Б.Спасская, 25, стр. 3, ООО “Юридическая фирма Городисский и Партнеры”
|
(72) Автор(ы):
МЮЛЛЕР Харальд (DE)
(73) Патентообладатель(и):
ЗВ ШТАНЦВЕРК ГЛАРУС АГ (CH)
|
(54) ХОМУТИК ДЛЯ СПРИНКЛЕРА
(57) Реферат:
Хомутик для спринклера содержит изгибаемую петлеобразную поддерживающую скобу, концы которой имеют по одному отверстию и в закрытом положении накладываются друг на друга, при этом первое отверстие в расположенном внутри конце поддерживающей скобы перекрывается со вторым отверстием в расположенном снаружи конце поддерживающей скобы и с запорным элементом, который в смонтированном положении введен в оба отверстия и имеет радиальный выступ, опирающийся изнутри на край расположенного внутри отверстия. Для простого и надежного крепления спринклерных трубопроводов на монтажной детали предлагается, чтобы сечение второго отверстия отличалось от сечения первого отверстия и запорный элемент имел на расстоянии от радиального выступа радиальное расширение, и благодаря радиальному расширению запорный элемент удерживается без возможности потери на краю первого отверстия и вставляется во второе отверстие. 11 з.п. ф-лы, 4 ил.
Настоящее изобретение относится к обойме спринклера с изгибаемой петлеобразной поддерживающей скобой, концы которой имеют по одному отверстию и в сомкнутом положении накладываются друг на друга, при этом первое отверстие в расположенном внутри конце поддерживающей скобы перекрывается со вторым отверстием в расположенном снаружи конце поддерживающей скобы и с запорным элементом, который в смонтированном положении проведен через оба отверстия и имеет радиальный выступ, опирающийся изнутри на край расположенного внутри отверстия.
Хомутики для спринклера используют для крепления трубопроводов спринклерных установок. Так как спринклеры предпочтительно расположены в зданиях в зоне потолка, то подвесные трубопроводы закрепляют на потолке. Хомутики спринклера вышеназванного типа известны как приспособления для крепления трубопроводов, при помощи которых трубопроводы устанавливают на монтажных деталях, крепящихся на несущей конструкции, например монтажной шине или нижней стороне потолка. Во время монтажа вначале сгибают и надвигают на трубопровод петлеобразную поддерживающую скобу. После этого скобу сжимают с обеих сторон, так что оба конца накладываются внахлестку один на другой, и их отверстия перекрываются. Запорный элемент вводят в оба отверстия, а затем соединяют с закрепленной на потолке монтажной деталью, что осуществляется, как правило, навинчиванием запорного элемента на установочный штифт на монтажной детали. Однако оказалось, что пропускание запорного элемента в отверстия затруднено из-за находящегося одновременно внутри петлеобразной поддерживающей скобы спринклерного трубопровода. Прежде всего, во время выравнивания хомутика спринклера на трубопроводе относительно уже смонтированной монтажной детали часто случается так, что запорный элемент выпадает на пол из отверстий. Вследствие этого приходится искать запорный элемент на полу и вторично устанавливать его на место. Другой недостаток состоит в том, что поддерживающая скоба и запорный элемент могут быть собраны лишь непосредственно перед монтажом и, следовательно, во время всех операций, например продажи, складирования, поставки, транспортировки и т.д., они представляют собой две различные отдельные детали.
Далее, из уровня техники известно техническое решение, предусматривающее, что петлеобразная поддерживающая скоба U-образно загнута на концах и с верхней стороны вставлена в кольцевой паз запорного элемента, который в свою очередь уже завинчен на установочный штифт на монтажной детали, закрепленной на потолке. Кроме того, известен способ, когда одну боковую сторону петлеобразной поддерживающей скобы закрепляют на установочном штифте между двумя гайками, а другую боковую сторону в виде вилки насаживают на установочный штифт, где затем зажимают обе вилкообразные пластинки.
Задача настоящего изобретения заключается в создании хомутика для спринклера вышеназванного типа, простого в использовании и экономичного в изготовлении.
Задача согласно изобретению решается за счет хомутика для спринклера вышеозначенного типа, в котором сечение второго отверстия отличается от сечения первого отверстия, и запорный элемент имеет на расстоянии от радиального выступа радиальное расширение, в результате чего запорный элемент при помощи радиальных расширений прочно удерживается на краю первого отверстия и вставляется во второе отверстие.
Преимущество хомутика для спринклера согласно изобретению состоит в том, что в процессе монтажа запорный элемент больше не может случайно выпасть из отверстий. Кроме того, обеспечивается то, что также и во время транспортировки запорный элемент не может потеряться.
В предпочтительном варианте выполнения отверстия выполнены круглыми, и диаметр второго отверстия больше максимального радиального размера запорного элемента в зоне радиального расширения. Поэтому запорный элемент в любом положении вводится во второе отверстие, хотя при этом по-прежнему требуется определенное завинчивание.
В предпочтительном варианте выполнения на противоположном относительно радиального выступа конце запорный элемент имеет два расположенных одно напротив другого радиальных расширения. Благодаря радиальным расширениям запорный элемент не может выпасть из первого отверстия. Вместе с радиальным выступом создается надежная, прочная посадка.
Предпочтительно край первого отверстия снабжен выемкой, соответствующей по форме по меньшей мере одному из двух радиальных расширений, в результате чего запорный элемент можно вставить в первое отверстие. Осуществляемое вручную или механически расширение запорного элемента после заведения его в первое отверстие поддерживающей скобы исключается.
Для обеспечения прочной посадки запорный элемент заводят в первое отверстие предпочтительно только в наклонном положении, при этом вначале в отверстие вводят одно из двух радиальных расширений запорного элемента, заводя его при этом за край отверстия. Затем второе из двух радиальных расширений может пройти в отверстие в зоне выемки на краю отверстия. Если запорный элемент введен в отверстие, то вынуть его назад из отверстия можно только в вышеописанном наклонном положении, то есть запорный элемент не может выпасть или его нельзя вынуть из отверстия перпендикулярно к плоскости отверстия.
Целесообразно запорный элемент выполнить из металла, а радиальные расширения в виде отформованных как одно целое выступов или пластинок загнуть, чтобы снизить себестоимость запорного элемента.
В предпочтительном варианте запорный элемент выполнен в виде запорной гайки со сквозным отверстием с внутренней резьбой, так что крепление на монтажной детали можно осуществлять завинчиванием ее известным способом на установочный штифт.
В практическом выполнении внутренняя резьба сквозного отверстия заканчивается на расстоянии от зоны радиальных расширений. Этим обеспечивается то, что резьба не претерпевает повреждений в результате загиба пластинок. Кроме того, при креплении запорный элемент вначале может быть насажен на установочный штифт или аналогичный элемент, в результате чего хомутик для спринклера будет уже зафиксирован примерно в своем положении, прежде чем запорный элемент будет завинчиваться на установочный штифт.
Предпочтительно запорный элемент на окружной поверхности имеет шероховатую зону для удобства пользования при завинчивании на установочный штифт монтажной детали. С учетом вращения в отверстиях запорный элемент снабжен соответствующим профилем для использования инструмента.
Целесообразно поддерживающую скобу выполнить из тонкого металлического листа, и она при этом отличается радиальной упругостью. Вследствие действующих на запорный элемент в противоположных направлениях краев отверстий заведенный в отверстия запорный элемент в предмонтажном положении слегка зажат. Поэтому петлеобразную поддерживающую скобу хомутика для спринклера, который накладывают на закрепляемый трубопровод, можно сжать, так что концы заходят внахлестку один на другой, и запорный элемент, прочно закрепленный в первом отверстии, можно продеть во второе отверстие без необходимости выравнивания хомутика для спринклера относительно монтажной детали. В целях рационального разделения труда в процессе монтажа трубопроводы вначале могут быть укомплектованы хомутиками для спринклера, а на втором рабочем этапе закреплены хомутиками для спринклера на монтажных деталях.
Ниже на основе прилагаемых чертежей более детально описывается пример выполнения.
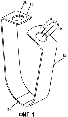
Фиг.1 – вид в перспективе петлеобразной поддерживающей скобы хомутика для спринклера;
фиг.2 – вид в перспективе запорного элемента хомутика для спринклера;
фиг.3 – вид в перспективе хомутика для спринклера, причем запорный элемент по фиг.2 введен в расположенное внутри отверстие поддерживающей скобы с фиг.1;
фиг.4 – вид в перспективе хомутика для спринклера по фиг.3, причем запорный элемент введен в оба отверстия.
На фиг.1 показана петлеобразная поддерживающая скоба 12, концы 14, 16 которой имеют первое отверстие 18 и второе отверстие 20. Поддерживающая скоба 12 изготовлена из тонкого металлического листа, при этом в исходном положении скоба разомкнута, и оба конца 14, 16 расположены на расстоянии друг от друга. Поддерживающая скоба 12 отличается упругостью, причем возникающая при сжатии сила упругости рассчитана так, что возможно сжатие скобы руками с обеих боковых сторон, так что в сомкнутом положении концы 14, 16 внахлестку заходят один на другой, а первое отверстие 18 в расположенном внутри конце 14 поддерживающей скобы 12 перекрывается со вторым отверстием 20 в расположенном снаружи конце 14 поддерживающей скобы 12. Отверстия 18, 20 круглые, при этом диаметр второго отверстия 20 больше диаметра первого отверстия 18.
В отверстия 18, 20 вводят показанный на фиг.2 запорный элемент 22. Запорный элемент 22 имеет радиальный выступ 24, который опирается изнутри на край 26 расположенного внутри отверстия 18. Через радиальный выступ осуществляется перенос собственного веса не показанного спринклерного трубопровода, который лежит на расположенном напротив концов 14, 16 закруглении 28 поддерживающей скобы 12. Перенос нагрузки с поддерживающей скобы 12 на запорный элемент 22 возможен также, например, посредством нескольких отдельных радиальных выступов вместо выполненного в примере выполнения кольцевого радиального выступа 24. На своем противоположном радиальному выступу 24 конце запорный элемент 22 снабжен двумя лежащими напротив друг друга радиальными расширениями 30, благодаря которым запорный элемент 22 прочно удерживается в первом отверстии 18.
Запорный элемент 22 изготовлен из металла, а радиальные расширения в виде отформованных как одно целое пластинок загнуты. Запорный элемент 22 выполнен в виде запорной гайки со сквозным отверстием 32 с внутренней резьбой. Внутренняя резьба выполнена в сквозном отверстии 32 на расстоянии от зоны радиальных расширений 30. Для крепления на монтажной детали, например, при помощи установочного штифта на окружной поверхности запорный элемент 22 снабжен шероховатой зоной для удобства пользования. Для повышения возможностей использования запорная гайка может быть снабжена ступенчатой резьбой, так что запорный элемент 22 может крепиться к монтажным деталям с двумя различными размерами резьбы, например М 10 и М 12.
Край 26 первого отверстия 18 выполнен с выемкой 36, форма которой примерно соответствует по меньшей мере одному из двух радиальных расширений.
Запорный элемент 22 для удерживания без возможности потери вставляют в первое отверстие 18 только в наклонном положении. При этом ось запорного элемента 22 принимает угловое положение относительно перпендикуляра к плоскости первого отверстия 18. Одно из двух радиальных расширений 30 расположено напротив выемки 36 и вводится сначала в первое отверстие 18. Другое из двух радиальных расширений 30 может затем через выемку 36 заводиться поворотом в первое отверстие 18.
На фиг.3 показан хомутик для спринклера согласно изобретению, в котором запорный элемент 22 благодаря двум радиальным расширениям 30 прочно удерживается в первом отверстии 18, после того как он уже был введен, как описано выше, в первое отверстие 18. В результате сжатия поддерживающей скобы 12 оба конца 14, 16 накладываются внахлестку один на другой, так что первое отверстие 18 перекрывается со вторым отверстием 20. Так как второе отверстие 20 имеет диаметр больший, чем наружное расстояние между двумя радиальными расширениями 30 запорного элемента 22 в зоне радиальных расширений 30, то запорный элемент 22 изнутри может быть введен через второе отверстие 20 наружу для того, чтобы закрепить его на не показанной монтажной детали. На фиг.4 показано это положение хомутика для спринклера, при этом спринклерный трубопровод, проведенный между разнесенными концами 14, 16 в петлеобразную поддерживающую скобу 12, не показан.
Формула изобретения
1. Хомутик для спринклера с изгибаемой петлеобразной поддерживающей скобой (12), концы (14, 16) которой имеют по одному отверстию (18, 20) и в сомкнутом положении накладываются друг на друга, при этом первое отверстие (18) во внутреннем конце (14) поддерживающей скобы (12) перекрывается со вторым отверстием (20) в расположенном снаружи конце (16) поддерживающей скобы (12), и с запорным элементом (22), который в смонтированном положении введен в оба отверстия (18, 20) и имеет радиальный выступ (24), опирающийся изнутри на край (26) расположенного внутри отверстия (18), отличающийся тем, что сечение второго отверстия (20) отличается от сечения первого отверстия (18) и запорный элемент (22) имеет на расстоянии от радиального выступа (24) радиальное расширение (30), за счет чего запорный элемент (22) при помощи радиального расширения (30) удерживается без возможности потери на краю (26) первого отверстия (18) и вставляется во второе отверстие (20).
2. Хомутик для спринклера по п.1, отличающийся тем, что запорный элемент (22) выполнен с возможностью вращения в отверстиях (18, 20).
3. Хомутик для спринклера по п.1, отличающийся тем, что отверстия (18, 20) выполнены круглыми и диаметр второго отверстия (20) больше максимального радиального размера запорного элемента (22) в зоне радиального расширения (30).
4. Хомутик для спринклера по п.1, отличающийся тем, что запорный элемент (22) на противоположном относительно радиального выступа (24) конце имеет два расположенных одно напротив другого радиальных расширения (30).
5. Хомутик для спринклера по п.4, отличающийся тем, что край (26) первого отверстия (18) снабжен выемкой (36), соответствующей по форме по меньшей мере одному из двух радиальных расширений (30).
6. Хомутик для спринклера по п.5, отличающийся тем, что запорный элемент (22) для удержания без возможности потери заводится в первое отверстие (18) только в наклонном положении.
7. Хомутик для спринклера по п.3, отличающийся тем, что запорный элемент (22) выполнен из металла, а радиальные расширения (30) в виде отформованных как одно целое выступов или пластинок загнуты.
8. Хомутик для спринклера по п.1, отличающийся тем, что запорный элемент (22) выполнен в виде запорной гайки со сквозным отверстием (32) с внутренней резьбой.
9. Хомутик для спринклера по п.8, отличающийся тем, что внутренняя резьба в сквозном отверстии (32) заканчивается на расстоянии от зоны радиальных расширений (30).
10. Хомутик для спринклера по п.1, отличающийся тем, что запорный элемент (22) на окружной поверхности имеет шероховатую зону (34) для удобства пользования.
11. Хомутик для спринклера по п.1, отличающийся тем, что поддерживающая скоба (12) выполнена из тонкого металлического листа.
12. Хомутик для спринклера по п.1, отличающийся тем, что поддерживающая скоба (12) отличается радиальной упругостью, благодаря которой заведенный в отверстия (18, 20) запорный элемент (22) удерживается в предмонтажном положении.
РИСУНКИ
|
|