|
|
(21), (22) Заявка: 2007131061/12, 14.08.2007
(24) Дата начала отсчета срока действия патента:
14.08.2007
(46) Опубликовано: 20.05.2009
(56) Список документов, цитированных в отчете о поиске:
Техника молодежи. – 2004, 9, стр.8-11. GB 191201510 А, 01.08.1912. JP 2003164536 А, 10.06.2003. SU 95745 А1, 01.01.1953.
Адрес для переписки:
129226, Москва, ул. Докукина, 5, корп.1, кв.18, И.А. Майсову
|
(72) Автор(ы):
Майсов Иван Александрович (RU)
(73) Патентообладатель(и):
Майсов Иван Александрович (RU)
|
(54) УСТРОЙСТВО ДЛЯ СПАСАНИЯ ЛЮДЕЙ, ТЕРПЯЩИХ БЕДСТВИЕ В ВЫСОТНОМ ЗДАНИИ
(57) Реферат:
Изобретение относится к спасательной технике. Устройство имеет подвешенную на тросах люльку. Люлька перемещается по двутавровым направляющим, закрепленным на стене высотного здания. Тросы выполнены с проходящими по их центру проводниками с термостойкой изоляцией. На люльке закреплен ручной переключатель. Переключатель управляет движением люльки. Устройство имеет электропневматическое реле задержки времени подачи напряжения на приводные электродвигатели. Техническим результатом спасательного устройства является возможность использовать изобретение для выполнения различных целей, например тушения пожара, мойки стекол, окраски, развертывания на стене здания рекламных полотнищ. 10 ил.
Изобретение относится к спасательной технике.
Известны устройства для эвакуации людей на высотных зданий, например, по патенту РФ 2297862 А62В 1/20. Это устройство, расположенное внутри здания, может опускать сверху людей, закрепившихся на канате.
Известны устройства, содержащие строительные люльки, подвешенные снаружи здания на канатах и могущие перемещаться по вертикали и горизонтали, например, устройство по патенту РФ 2074299 Е04С 3/16, которое может быть использовано и для эвакуации людей с верхних этажей здания. Недостаток этого устройства в том, что оно непригодно к немедленному использованию и совсем непригодно для небоскребов.
Наиболее близким устройством к заявленному, принятым за прототип, является схема устройства, опубликованная в журнале “Техника молодежи”, 2004, 9, стр.8-11. Это устройство имеет длинную люльку, подвешенную на двух канатах и движущуюся по вертикали по двум двутавровым направляющим, закрепленным на стене высотного здания. Однако каких-либо конкретных устройств, которыми можно было бы реверсивно перемещать люльку по стене высотного здания, как управлять этим перемещением, как содержать устройство готовым к немедленному использованию, – этого в упомянутой статье и в других источниках не обнаружено.
Задача – создать устройство, с помощью которого, сохраняя устройство много лет в состоянии готовности к немедленному использованию, можно было бы из люльки управлять реверсивными перемещениями люльки по направляющим, закрепленным на стене высотными здания.
Реализация задачи становится возможной потому, что устройство имеет подвешенную на тросах люльку, перемещающуюся по вертикальным двутавровым направляющим высотного здания, два барабана со свернутыми на них тросами, при этом барабаны имеют зубчатые венцы, взаимодействующие с выходными шестернями редукторов приводных электродвигателей, причем тросы выполнены с проходящими по их центру проводниками с термостойкой изоляцией, например асбестовыми нитями, устройство для управления реверсивными перемещениями нитями, устройство для управления реверсивными перемещениями люльки, при этом имеет закрепленный на люльке ручной переключатель, управляющий движением люльки, концевые выключатели, взаимодействующие с кулачковыми планками, закрепленными на двутавровых направляющих, кольцевые щеточные переходы, запитывающие низковольтным постоянным током проводники в тросах, электропневматическое реле задержки времени подачи напряжения на электродвигатели, при этом устройство имеет два соленоида, обмотки которых заключены в двух герметичных резервуарах, расположенных по одной оси, и два поршня, соединенные между собой штоком, при этом на штоке закреплены подвижные контакты трехфазного переключателя, подающие ток на электродвигатели.
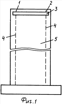
На фиг.1 показана торцевая часть высотного здания, снабженного одной люлькой, готовой к немедленному спуску на цокольные этажи высотного здания.
На фиг.2 – фронтальный вид высотного здания; пунктиром показана другая возможность крепления люльки на фронтальной части высотной здания.
На фиг.3 – схема подвески люльки и размещения приводного оборудования на чердачном этаже высотного здания.
На фиг.4 – ползун, его положение на двутавровой (двутавровой) направляющей, и соединение с люлькой.
На фиг.5 – схема взаимодействия концевого переключателя, закрепленного на ползуне, с кулачковой планкой, закрепленной на двутавровой направляющей; ползун показан в разрезе по А-А на фиг.4.
На фиг.6 – электропневматическое реле с задержкой времени срабатывания, в частичном разрезе.
На фиг.7 – разрез электропневматического реле по Б-Б на фиг.6.
На фиг.8 – схема подводки трехфазного напряжения к неподвижным контактам электропневматического реле.
На фиг.9 – ручной переключатель тока низкого напряжения, командующий движением люльки.
На фиг.10 – схема взаимодействия друг с другом элементов устройств.
Устройство имеет подвешенную на тросах 1, 2 люльку 3, перемещающуюся по двутавровым направляющим, закрепленным на стене высотного здания 5, два барабана 6, 7 со свернутыми на них тросами 1, 2, при этом щечки барабанов имеют зубчатые венцы, взаимодействующие с выходными шестернями 8, 9 редукторов 10, 11 приводных трехфазных электродвигателей 12, 13, при этом тросы выполнены с проходящими по их центру проводниками 14 с термостойкой изоляцией, например асбестовыми нитями, устройство для перемещениями люльки, имеющее закрепленный на люльке ручной переключатель 15, управляющий движением люльки, концевые выключатели 16, 17, взаимодействующие с кулачковыми планками 18, закрепленными на двутавровых направляющих 4, причем на одной из направляющих кулачковая планка закреплена внизу, а на второй направляющей – вверху, кольцевые щеточные переходы 19, 20, запитывающие низковольтным постоянным током проводники 14 в тросах, электропневматическое реле 21 задержки времени подачи переменного промышленного напряжения на электродвигатели 12, 13, два соленоида, обмотки 22, 23 которых заключены в двух 24, 25 резервуарах, расположенных по одной оси, и два 26, 27 поршня, соединенные между собой штоком 28, при этом на штоке закреплены подвижные контакты 29 трехфазного переключателя, подающие ток на электродвигатели 12, 18. Цифрой 30 обозначены: смягчающая пружина, 31 – источник постоянного тока низкого напряжения, 32 – неподвижные контакты, 33 – трехжильный кабель, 34, 35 – регулирующие вентили, 36, 37 – пружины, 38 – направляющее колесо, 39 – опорные плиты, 40 – платформа, шаровые опоры, 42 – винты, 43 – ползун, 44 – гибкий подвижный кабель.
Устройство работает следующим образом. Люлька все время в состоянии немедленной готовности стоит наверху при положении переключателя 15 в положении “стоять”. При перемещении рукояти переключателя налево – в положение “вниз” – люлька начинает двигаться вниз до тех пор, пока ролик концевого выключателя 16 не коснется кулачковой планки 18 и привод люльки автоматически отключится, а люлька, после некоторого пробега с замедлением, остановится на цокольных этажах высотного здания.
По пути вниз люльку можно остановить, чтобы принять людей, и даже направить люльку вверх, т.е. реверсировать движение люльки. Для этого из положения “вниз” рукоять переключателя может быть сразу поставлена в положение “вверх”, при этом сработает реле времени, которое автоматически введет необходимую задержку времени, чтобы дать время на предварительную остановку двигателей, причем, если подниматься до стартового положения, остановка произойдет автоматически – сработает кулачковая направляющая на другой направляющей 4 и люлька плавно остановится, коснувшись смягчающей пружины 30.
Схема по фиг.10 показывает взаимодействие элементов устройства, когда, вверху, из положения “стоять” рукоять переключателя 15 переводится в положение “вниз”, то постоянный ток низкого напряжения по цепи, обозначенной на схеме пунктиром, пойдет через замкнутый концевой выключатель 16, по проводнику 14, через вращающийся переход 19, обмотку 22 соленоида, источник 31 низкого напряжения, которым может быть, например, полупроводниковый выпрямитель или аккумулятор. При этом соленоидная обмотка 22 втягивает железный сердечник и перемещает подвижные контакты 28 влево – на неподвижные контакты 32, в результате трехфазный ток по жилам кабеля 33 приводит во вращение электродвигатели 12, 13, которые через выходные шестерни 8, 9 редукторов 10, 11 приводят в движение барабаны 6, 7 и люлька начинает спускаться. При команде “вверх” электродвигатели будут вращаться в другую сторону, поднимая люльку вверх.
Изменение величины задержки времени электропневматического реле 21 достигается регулированием скорости поступления в резервуары воздуха 24, 25 с помощью вентилей 34, 35, изменяющих площадь сечения проходных отверстий в стенках резервуаров 24, 25. Автоматическое фиксирование рукояти переключателя 15 в положение “стоять” обеспечивается пружинами 36, 37 (в крайних положениях она удерживается соленоидами).
Люлек в высотном здании одна и несколько – на всех сторонах высотного здания. Одна люлька может быть использована для выполнения других задач, например, тушения пожара, мойки окон, покраски, развертывания на стене здания рекламных полотнищ. Если люлька одна, то для выполнения работ на всех сторонах здания должны быть направляющие 4 и соответствующие проемы в стенах чердачного помещения, при этом барабаны 6, 7, направляющие колеса 38, опорные плиты 39, закрепляют не неподвижно, а на подвижных платформах 40, могущих перемещаться на шаровых опорах 41 по металлическими листам, которыми покрыт пол чердачного помещения, к другим проемам.
С опущенной вниз люльки снимают крепежные винты 42, соединяющие ползуны 43 с люлькой, поднимают ползуны вверх, а люльку переносят к новому месту у других направляющих, по которым ползуны, после соответствующих перемещений платформ 40, спускают вниз, где ползуны вновь соединяются с люлькой.
Полезный эффект устройства заключается в следующим:
– оно в течение многих лет может быть всегда готовым к немедленному использованию для спасения людей;
– управление перемещениями люльки достигается простейшим ручным переключателем, размещенным в люльке;
– наличие электропневматического реле времени максимально упрощает и делает его надежным;
– реле времени создает необходимую задержку подачи напряжения на приводные двигатели, если, в суматошной обстановке, рукоять ручного переключателя из положения “вниз” будет сразу переведена в положение “вверх”;
– устройство может быть использовано для выполнения других задач.
Формула изобретения
Устройство для спасания людей, терпящих бедствие в высотном здании, содержащее подвесную на тросах люльку, перемещающуюся по вертикальным двутавровым направляющим, закрепленным на стенах высотного здания, два барабана со свернутыми на них тросами, отличающееся тем, что устройство для управления реверсивными перемещениями люльки имеет электропневматическое реле задержки времени подачи тока на приводные трехфазные электродвигатели, перемещающие люльку, при этом реле имеет два соленоида, обмотки которых заключены в двух герметичных резервуарах, расположенных по одной прямой, и два поршня, соединенных между собой штоком, при этом на штоке закреплены подвижные контакты трехфазного переключателя, подающего ток на электродвигатели, при этом на подвесной люльке закреплены ручной переключатель, командующий перемещениями люльки, и два концевых выключателя, взаимодействующих с кулачковыми планками, закрепленными на двутавровых направляющих.
РИСУНКИ
|
|