|
|
(21), (22) Заявка: 2007114265/12, 17.04.2007
(24) Дата начала отсчета срока действия патента:
17.04.2007
(43) Дата публикации заявки: 27.10.2008
(46) Опубликовано: 20.05.2009
(56) Список документов, цитированных в отчете о поиске:
RU 2288758 C1, 10.12.2006. RU 2003124165 A, 27.02.2005. US 5944282 A, 31.08.1999. RU 2224564 C2, 27.06.2003. SU 612679 A1, 30.06.1978.
Адрес для переписки:
143966, Московская обл., г. Реутов, пр-кт Мира, 6, кв.20, В.М. Смольянинову
|
(72) Автор(ы):
Смольянинов Вячеслав Михайлович (RU), Фельдман Леонид Иосифович (RU)
(73) Патентообладатель(и):
Смольянинов Вячеслав Михайлович (RU), Фельдман Леонид Иосифович (RU)
|
(54) УСТРОЙСТВО ДЛЯ АВАРИЙНОГО СПУСКА ЧЕЛОВЕКА С ВЫСОТНОГО ОБЪЕКТА
(57) Реферат:
Изобретение относится к устройству, предназначенному для спасения людей при чрезвычайных ситуациях, преимущественно для спуска людей с верхних этажей высотных объектов при пожаре или в иных аварийных ситуациях. Устройство для аварийного спуска человека с высотного объекта содержит опорный элемент. Опорный элемент снабжен средствами крепления его на спине спасаемого человека и соединен через средства амортизации, выполненные в виде тяг, со сложенным в нем парашютом. Устройство снабжено механизмом разъединения тяг амортизации с приводом. Тяги амортизации одной группы жестко скреплены своими концами соответственно с опорным элементом и с камерой нижнего основания пневматического каркаса парашюта. Тяги другой группы одними концами жестко закреплены на нижнем основании пневматического каркаса парашюта, а другими – в механизме разъединения тяг. Посадочная гондола выполнена в виде цилиндрического тела. Внутри гондолы под опорным элементом размещена эластичная диафрагма, жестко скрепленная с камерой нижнего основания пневматического каркаса парашюта. Технический результат заключается в повышении эффективности устройства за счет исключения из работы при приземлении человека с маленькой массой части амортизирующих тяг и в повышении надежности устройства за счет изменения конструкции гондолы. 5 ил.
Изобретение относится к устройству, предназначенному для спасения людей при чрезвычайных ситуациях, преимущественно для спуска людей с верхних этажей высотных объектов при пожаре или в иных аварийных ситуациях.
Известно устройство для аварийного спуска человека с высотного объекта, содержащее опорный элемент в виде ранца, снабженного средствами крепления его на спине спасаемого человека и соединенного через промежуточную мембрану со сложенным в нем парашютом, включающим надувные камеры, предназначенные для формирования при их наддуве верхнего и нижнего оснований пневматического каркаса, образующего эластичную юбку, формирующую при ее соединении с надувными камерами конусообразный тормозной экран, средство раскрытия парашюта, и надувные камеры для формирования амортизирующей посадочной гондолы (см. патент 2228758 RU, 2005 г., МПК А62В 1/00).
Недостатком устройства является сложность амортизирующих устройств и механизмов их задействования.
Известно устройство для аварийного спуска человека с высотного объекта, содержащее опорный элемент со средствами крепления на спине спасаемого человека, соединенный через средства амортизации, выполненные в виде тяг, со сложенным в нем парашютом, включающим в себя надувные камеры, предназначенные для формирования оснований пневматического каркаса, соединенных между собой с образованием эластичной юбки, формирующей конусообразный тормозной экран, и посадочную гондолу, сформированную надувными камерами (заявка 2003124165/12 от 05.08.2003).
Недостаток этого устройства заключается в том, что оно не является унифицированным для спасаемых людей, имеющих различную массу тела. Средства амортизации рассчитываются на максимальное значение массы и, следовательно, человек, обладающий маленькой массой, при приземлении будет испытывать большие перегрузки. То есть средства спасения высотного объекта необходимо комплектовать различными вариантами устройства, что нерационально, так как заранее невозможно предугадать требуемое количество этих вариантов. Кроме того, в известном устройстве посадочная гондола не обладает достаточной жесткостью при приземлении. Это может привести к нештатной работе средств амортизации и, как следствие этого, к травмам спасаемых людей при приземлении.
Технический результат, достигаемый предлагаемым изобретением, заключается в повышении эффективности использования устройства путем исключения из работы при приземлении человека с маленькой массой части амортизирующих тяг и в повышении надежности устройства путем изменения конструкции гондолы.
Технический результат достигается тем, что известное устройство для аварийного спуска человека с высотного объекта, содержащее опорный элемент, снабженный средствами крепления его на спине спасаемого человека и соединенный через средства амортизации, выполненные в виде тяг, со сложенным в нем парашютом, включающим надувные камеры, предназначенные для формирования при их наддуве верхнего и нижнего оснований пневматического каркаса, образующего эластичную юбку, формирующую при ее соединении с надувными камерами конусообразный тормозной экран, средства раскрытия парашюта, включающие источник газа, скрепленный с опорным элементом и сообщенный с надувными камерами посредством гибкого эластичного газопровода, и надувные камеры для формирования посадочной гондолы, снабжено механизмом разъединения тяг амортизации с приводом, при этом тяги амортизации одной группы жестко скреплены своими концами соответственно с опорным элементом и с камерой нижнего основания пневматического каркаса, тяги другой группы одними концами жестко закреплены на нижнем основании пневматического каркаса, а другими – в механизме разъединения тяг, закрепленном на опорном элементе и соединенном с приводом, а посадочная гондола выполнена в виде цилиндрического тела, образованного надувными, например, цилиндрическими стойками, скрепленными между собой с образованием между стойками сквозных щелей, и снабжена в основании мембраной, имеющей отверстия, при этом внутри гондолы под опорным элементом размещена эластичная диафрагма, жестко скрепленная с камерой нижнего основания пневматического каркаса.
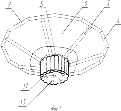
Сущность изобретения поясняется чертежами, где на фиг.1 изображен вид снизу на устройство в раскрытом положении; на фиг.2 изображен вид сверху на устройство в раскрытом положении; на фиг.3 изображен механизм разъединения тяг амортизации; на фиг.4 изображено устройство в начальный момент приземления; на фиг.5 изображено устройство в момент окончания приземления.
Устройство для аварийного спуска человека с высотного объекта содержит опорный элемент 1, закрепленный на спине спасаемого человека и соединенный со сложенным в нем парашютом 2, включающим надувные камеры 3, предназначенные для формирования при их наддуве верхнего 4 и нижнего 5 оснований пневматического каркаса парашюта, образующего эластичную юбку 6, формирующую при ее соединении с надувными камерами конусообразный тормозной экран 7, средство раскрытия парашюта, включающее источник газа 8, скрепленный с опорным элементом 1 и сообщенный посредством гибкого эластичного газопровода 9 с внутренним объемом пневматического каркаса, и надувные камеры 10 для формирования посадочной гондолы 11. Надувные камеры 10 выполнены в виде стоек, расположенных по кругу и скрепленных с эластичной мембраной 12 с отверстиями 13. Надувные камеры 10 скреплены между собой с образованием щелей 14 для выхода воздуха из полости гондолы 11 при приземлении.
Опорный элемент 1 скреплен с нижним основанием 5 с помощью разрывных амортизирующих элементов, выполненных в виде тяг 15 и 16. Амортизирующие элементы представляют собой плоские эластичные ленты, сложенные в средней части в два или несколько слоев. Слои скреплены между собой разрывными элементами, например, «липучками» с достаточным усилием разъединения или же прошиты определенным образом нитками. Тяги 15 жестко скреплены своими концами с опорным элементом 1 и нижним основанием 5. Тяги 16 одним концом жестко закреплены на нижнем основании 5, а другим закреплены с помощью штыря 17 в механизме разъединения тяг 18. Штырь фиксируется в механизме от случайного выпадения тем или иным способом. Механизм закреплен на опорном элементе 1 и снабжен приводом 19, включающим рукоятку 20 и трос 21. Механизмов в предлагаемом устройстве может быть несколько.
Устройство рассчитывается на спасение людей массой, например, от 40 до 120 килограмм. Механизм приводится в действие перед десантированием из высотного объекта, если масса спасаемого человека находится, например, в диапазоне от 40 до 70 килограмм. При большей массе механизм не задействуется.
Под опорным элементом 1 установлена эластичная диафрагма 22, жестко закрепленная на нижнем основании 5 и технологически «на живую нитку» прикрепленная к опорному элементу 1.
Принцип действия устройства заключается в гашении кинетической энергии спасаемого человека в процессе опускания его на землю.
Опорный элемент 1, например, в виде ранца крепят на спине спасаемого человека. Человек располагается в сидячем или стоячем положении на площадке или в проеме высотного объекта так, чтобы его спина с ранцем 1 была обращена в свободное пространство вне объекта. Спасаемый человек при необходимости с помощью рукоятки 20 и троса 21 выдергивает штырь 17 из механизма 18, тем самым исключая из работы группу амортизирующих тяг 16, затем приводит в действие источник газа 8, при этом парашют раскрывается и вместе со спасаемым человеком опускается на землю.
При контакте посадочной гондолы 11 с поверхностью земли кинетическая энергия спускаемого человека гасится за счет разрыва амортизирующих элементов 15 и 16, а также преодоления сопротивления сжимаемого в полости гондолы воздуха. Полость образуется надувными камерами 10, диафрагмой 22 и мембраной 12, а воздух стравливается через отверстия 13 в мембране 12 и щели 14 между камерами 10.
Формула изобретения
Устройство для аварийного спуска человека с высотного объекта, содержащее опорный элемент, снабженный средствами крепления его на спине спасаемого человека и соединенный через средства амортизации, выполненные в виде тяг, со сложенным в нем парашютом, включающим надувные камеры, предназначенные для формирования при их наддуве верхнего и нижнего оснований пневматического каркаса парашюта, образующего эластичную юбку, формирующую при ее соединении с надувными камерами конусообразный тормозной экран, средство раскрытия парашюта, включающее источник газа, скрепленный с опорным элементом и сообщенный с надувными камерами посредством газопровода, и надувные камеры для формирования посадочной гондолы, отличающееся тем, что оно снабжено механизмом разъединения тяг амортизации с приводом, при этом тяги амортизации одной группы жестко скреплены своими концами соответственно с опорным элементом и с камерой нижнего основания пневматического каркаса парашюта, тяги другой группы одними концами жестко закреплены на нижнем основании пневматического каркаса парашюта, а другими – в механизме разъединения тяг, закрепленном на опорном элементе и соединенном с приводом, а посадочная гондола выполнена в виде цилиндрического тела, образованного надувными стойками, скрепленными между собой с образованием между стойками сквозных щелей, и снабжена в основании мембраной, имеющей отверстия, при этом внутри гондолы под опорным элементом размещена эластичная диафрагма, жестко скрепленная с камерой нижнего основания пневматического каркаса парашюта.
РИСУНКИ
|
|