Патент на изобретение №2355440

Published by on




РОССИЙСКАЯ ФЕДЕРАЦИЯ



ФЕДЕРАЛЬНАЯ СЛУЖБА
ПО ИНТЕЛЛЕКТУАЛЬНОЙ СОБСТВЕННОСТИ,
ПАТЕНТАМ И ТОВАРНЫМ ЗНАКАМ
(19) RU (11) 2355440 (13) C2
(51) МПК

A61N1/32 (2006.01)

(12) ОПИСАНИЕ ИЗОБРЕТЕНИЯ К ПАТЕНТУ

Статус: по данным на 30.08.2010 – действует

(21), (22) Заявка: 2007105025/14, 05.02.2007

(24) Дата начала отсчета срока действия патента:

05.02.2007

(43) Дата публикации заявки: 20.08.2008

(46) Опубликовано: 20.05.2009

(56) Список документов, цитированных в отчете о
поиске:

Адрес для переписки:

195267, Санкт-Петербург, Гражданский пр-кт, 114, корп.1, кв.402, А.Б. Федорову

(72) Автор(ы):

Федоров Антон Борисович (RU),
Чибисова Александра Николаевна (RU),
Чибисова Юлия Михайловна (RU)

(73) Патентообладатель(и):

Федоров Антон Борисович (RU),
Чибисова Александра Николаевна (RU),
Чибисова Юлия Михайловна (RU)

(54) СПОСОБ ВОССТАНОВЛЕНИЯ НАРУШЕННЫХ ФУНКЦИЙ ГОЛОВНОГО МОЗГА

(57) Реферат:

Изобретение относится к медицине, а именно к физиотерапии. Определяют электрическую лабильность зрительной системы. Проводят электростимуляцию с электродов, один из которых установлен на веке глаза, с частотой следования импульсов электрического тока, не превышающей значений электрической лабильности зрительной системы. При этом дополнительные электроды устанавливают в проекции пораженной системы головного мозга, а при проведении электростимуляции верхнее значение частоты электрического тока соответствует значению электрической лабильности зрительной системы, нижнее значение выбирают из диапазона 3-20 Гц. Способ расширяет арсенал средств для восстановления нарушенных функций головного мозга. 7 з.п. ф-лы, 2 ил.

Изобретение относится к медицине и может быть использовано для лечения больных с нарушенными функциями головного мозга.

Известен способ восстановления зрения при атрофии зрительного нерва, заболеваниях сетчатки и амблиопии, согласно которому предварительно снимают электроэнцефалограмму для определения характеристик альфа-ритма. Электростимуляцию проводят сначала в режиме «раскачки» с частотой или амплитудной модуляцией в квазислучайном режиме, а затем проводят собственно стимуляцию – частоту выбирают исходя из показаний альфа-ритма пациента. Способ дает хорошие результаты при восстановлении функций зрения, но он не позволяет восстанавливать другие пораженные системы мозга [1].

Известный способ лечения заболеваний зрительного тракта путем лечебной электростимуляции состоит в выборе параметров воздействующих импульсов тока по данным диагностики, при которой начальную амплитуду воздействующего тока выбирают соответствующей порогу электрической чувствительности зрительной системы пациента, частоту следования импульсов соответствующей частоте электролабильности его зрительной системы. Электростимуляцию проводят сериями пачек прямоугольных импульсов через электрод, наложенный на веки, током амплитудой 10-999 мкА с частотой следования импульсов, выбираемой из диапозона 1-75 Гц. Одновременно с электростимуляцией контролируют субъективную реакцию пациента и корректируют параметры лечебного тока на основании характеристик фосфена: стабильности, распространенности, цветности, дискретности. Ориентируясь на характеристики фосфена, способ позволяет выбирать оптимальный режим электростимуляции [2].

Недостатками известного способа лечения путем электростимуляции является то, что он не восстанавливает другие пораженные системы мозга, кроме того, он недостаточно эффективен за счет «привыкания» мозга пациента к постоянным значениям частоты.

В способе восстановления нарушенных функций головного мозга путем электростимуляции его пораженных участков чрезкожно, через n электродов импульсами электрического тока, включающем определение на стадии диагностики электрической чувствительности и электрической лабильности зрительной системы пациента, при электростимуляции один из электродов устанавливают на веки глаза, электростимулирующее воздействие осуществляют током, соответствующим электрической чувствительности зрительной системы пациента, с частотой следования импульсов, не превышающей значение электрической лабильности его зрительной системы, согласно изобретению, что n электродов в количестве 2 и более устанавливают вдоль проекции нервного пути пораженной системы или в проекции пораженной структуры головного мозга, проводят электростимуляцию импульсами тока, частоту следования которых выбирают из диапазона, при этом верхнее значение частоты соответствует значению электрической лабильности зрительной системы, а нижнее значение частоты выбирают из диапазона 3-20 Гц, а при лечении осуществляют перебор стимулирующих частот.

При этом при восстановлении нарушенных зрительных функций головного мозга нижнее значение частоты следования импульсов выбирают из диапазона 7-14 Гц. При восстановлении нарушенных слуховых функций нижнее значение частоты следования импульсов выбирают из диапазона 4-9 Гц. При восстановлении нарушенных двигательных функций нижнее значение частоты следования импульсов выбирают из диапазона 8-20 Гц. При восстановлении речевых расстройств нижнее значение частоты следования импульсов выбирают из диапазона 4-18 Гц. При восстановлении нарушений памяти и внимания нижнее значение частоты следования импульсов выбирают из диапазона 3-14 Гц. Дополнительно можно проводить фотостимуляцию вспышками света с длинами волн, выбираемыми из диапазона 400-700 нм. Дополнительно также можно проводить воздействие предъявлением перед глазами пациента фигур произвольной формы, меняющих контраст по цвету.

Известно, что при стимуляции зрительной системы возможно сопутствующее улучшение работы других систем головного мозга. Было выявлено улучшение неврологического статуса и психического состояния больных с последствиями ишемического инсульта при воздействии импульсами электрического тока [3]. Однако из уровня техники авторам не известны способы направленного восстановления пораженных функций головного мозга, таких как расстройства речи, нарушения движения, снижение памяти и нарушения внимания, путем электростимуляции зрительной системы импульсами электрического тока, что указывает на соответствие изобретения критерию «изобретательский уровень».

Способ осуществляют следующим образом. Проводят установку электродов на голову пациента, руководствуясь уровнем и характером поражения головного мозга, который предварительно уточняется по данным неврологического, нейроофтальмологического, электрофизиологического и нейровизуализационных методов обследования. Один из электродов устанавливают на верхнее или нижнее веко или на коже вокруг орбиты, оставляя при этом глаз открытым. Дополнительные электроды в количестве от 1 и более размещают либо здесь же, либо вдоль проекции нервного пути пораженной системы, либо в проекции пораженной структуры головного мозга.

Далее проводят диагностику состояния зрительной системы с использованием лечебно-диагностического электростимулятора.

В зависимости от того, какие функции головного мозга нарушены, электроды как в процессе диагностики, так и при электростимуляции устанавливают следующим образом:

– при поражении зрительной системы один из электродов устанавливают на верхнее или нижнее веко, или на коже вокруг орбиты, оставляя при этом глаз открытым. Дополнительные электроды в количестве от 1 и более размещают здесь же, либо вдоль проекции нервного пути зрительного анализатора – на коже лобной, височной, теменной и затылочной областей головы.

– при нарушении слуха один из электродов устанавливают на верхнее или нижнее веко, или на коже вокруг орбиты, оставляя при этом глаз открытым. Дополнительные электроды размещают либо на верхнее или нижнее веко, или на коже вокруг орбиты, либо вокруг уха, либо в проекции нервного пути слухового анализатора – на кожу головы височной области.

– при расстройствах речи и движения один из электродов также устанавливают на верхнее или нижнее веко, или на коже вокруг орбиты, оставляя при этом глаз открытым. Дополнительные электроды размещают либо на верхнее или нижнее веко, или на коже вокруг орбиты, либо на коже височной и теменной областей, преимущественно слева (у левшей преимущественно справа) или вокруг одного или обоих ушей.

– при нарушениях памяти и внимания один из электродов устанавливают на верхнее или нижнее веко, или на коже вокруг орбиты, оставляя при этом глаз открытым. Дополнительные электроды размещают либо на верхнее или нижнее веко, или на коже вокруг орбиты, либо на коже лобной, височной и теменной областей одного или обоих полушарий.

Во всех случаях количество устанавливаемых электродов зависит от объема поражения и степени нарушения функций головного мозга – больший объем поражения требует большего количества электродов.

При установке электродов между поверхностью электрода и кожей кладут марлевую салфетку, смоченную физиологическим раствором (0,9% раствор хлористого натрия). При установке каждого из электродов контролируют значение подэлектродного сопротивления, которое не должно превышать 15 кОм, – отображается на дисплее монитора в режиме измерения подэлектродного сопротивления. При его неудовлетворительных характеристиках кожа головы в месте расположения электродов (за исключением кожи век) обрабатывается 70% раствором этилового спирта. Можно использовать токопроводящий гель.

Определяют электрическую чувствительности (ЭЧ) зрительной системы – это сила тока (в мкА), при которой возникает зрительное (вспышки света – фосфен) и/или тактильное ощущения (вибрация, покалывание). Ее значение будет соответствовать начальному значению силы воздействующего тока при электростимуляции в процессе лечения.

Далее определяют электрическую лабильности (ЭЛ) зрительной системы – это такая частота следования воздействующих на зрительную систему пациента импульсов, при которой он уже не может различать отдельные фосфены на глазу – он будет видеть белый свет. Ее значение будет соответствовать верхнему значению частоты следования импульсов (fmax) при электростимуляции в процессе лечения.

Электрочувствительность и электролабильность зрительной системы пациента определяются перед каждым сеансом.

Нижнее значение частоты (fmin) следования импульсов при электростимуляции выбирается из частотного диапазона 3-20 Гц. А именно, при восстановлении нарушенных зрительных функций нижнее значение частоты следования импульсов выбирают из диапазона 7-14 Гц; при восстановлении нарушенных слуховых функций нижнее значение частоты следования импульсов выбирают из диапазона 4-9 Гц; при восстановлении нарушенных двигательных функций нижнее значение частоты следования импульсов выбирают из диапазона 8-20 Гц; при восстановлении речевых расстройств нижнее значение частоты следования импульсов выбирают из диапазона 4-18 Гц; при восстановлении нарушений памяти и внимания нижнее значение частоты следования импульсов выбирают из диапазона 3-14 Гц.

Форма воздействующего импульса тока прямоугольная моно- или биполярная. При этом возможны следующие вариации: первая фаза отрицательная, вторая положительная; первая фаза положительная, вторая отрицательная; первая фаза отрицательная, вторая положительная, затем следующий импульс с первой фазой положительной, второй отрицательной. Также форма импульса может быть гармонической в виде синусоиды или синусоидально-импульсной формы. Выбор формы импульса определяется наилучшими характеристиками фосфена.

Длительность импульса выбирается в зависимости от преимущественной локализации поражения головного мозга, так, что при поражении в передних отделах мозга значение длительности импульса находится в диапазоне от 10 до 30 мс, а при поражении в средних отделах – от 2 до 10 мс, при поражении в задних – от 0,5 до 2 мс.

Далее проводят лечебную электростимуляцию. В ходе процедуры электростимуляции на каждый электрод поочередно подаются импульсы в количестве от 5 до 100, что составляет один цикл. Следующий цикл начинается после паузы (от 1 до 5 секунд). Набор циклов (от 5 до 100) составляет одну серию. Один лечебный сеанс может включать от 1 до 9 серий, разделенных паузами (от 1 до 3 минут). Курс лечения может состоять из 10-25 сеансов. Значение силы воздействующего тока при электростимуляции соответствует значению предварительно определенной электрочувствительности зрительной системы пациента.

В одном сеансе для каждого из n каналов определяются конкретные значения частот fmax и fmin, которые не меняются в течение этого сеанса. Каждый цикл включает определенное количество импульсов (пачка), которые последовательно подаются на все n электродов. При этом частота следования стимулирующих импульсов в рамках одного цикла остается постоянной. А при переходе от цикла к циклу частота стимулирующих импульсов меняется в пределах от fmax к fmin; но не менее чем на 0,5 Гц. При этом шаг и направление изменения частоты (уменьшение или увеличение) зависят от тяжести и давности заболевания, а также от возраста больного. Этим осуществляется перебор стимулирующих частот.

Как показал опыт, лечение оптимально в случае достижения резонанса частоты воздействующего тока с собственной частотой стимулируемой структуры. По мере лечения собственная частота, подвергаемой лечению системы или структуры мозга, изменятся в сторону нормализации, и, соответственно, частота следования импульсов меняется от цикла к циклу, от серии к серии, от сеанса к сеансу в заданных пределах. Кроме того, это позволяет избежать привыкания стимулируемой структуры мозга к одной частоте.

Во время лечения производят контроль субъективных ощущений пациента и корректировку параметров воздействующих импульсов тока. Так, при возникновении болевых ощущений у пациента силу тока уменьшают. При ослаблении или исчезновении фосфена силу тока, наоборот, увеличивают или изменяют частоту следования импульсов или их длительность.

Надо отметить, что длительность лечения минимальна при электростимуляции у детей, при грубых нарушениях функций мозга (например, при слепоте), при наличии в ЭЭГ признаков повышенной судорожной готовности, у пожилых лиц или при плохой переносимости электростимуляций. Лечение противопоказано при наличии неудаленной опухоли мозга или любом злокачественном опухолевом процессе, при эпилепсии, при остром воспалительном процессе, а также при наличии кардиостимулятора.

Важно проводить объективный контроль реакции организма пациента по изменению в процесс лечения значений подэлектродного сопротивления (импеданс). Показателем к прекращению воздействия на электроде может служить достижение здесь постоянной величины импеданса, что может определять время текущего сеанса лечения.

Одновременно с электростимуляцией или между сеансами (курсами) для достижения лучшего эффекта лечения можно проводить фотостимуляцию. Для этого используются светодиоды, расположенные перед глазом пациента. Длина волны видимого спектра диодов составляет от 400 до 700 нм. Количество одновременно включаемых диодов, их расположение зависят от степени и характера нарушения зрения, а при его нормальных значениях одинаково у всех пациентов. Каждому из n каналов электростимулятора соответствует набор определенного числа светодиодов. Фотостимуляция проводится на оба глаза или на один. Частота мелькания вспышек соответствует частоте следования импульсов, яркость подбирают индивидуально.

Также для улучшения результатов лечения одновременно с электростимуляцией или между сеансами (курсами) проводят лечебное воздействие предъявлением перед одним или обоими глазами пациента фигур произвольной формы, меняющих контраст по цвету (паттерн стимуляция). Для этой цели глаз(а) должны быть открытыми, зрительное внимание пациента должно быть фиксировано на экране. Освещение должно быть низким. При патологии рефракции дополнительно проводится коррекция линзами.

На фиг.1 представлена динамика улучшения состояния зрительных функций больного Б-к., 1982 г.р., обратившегося с жалобами на резкое снижение зрения правого глаза, практическую слепоту левого.

Клинический диагноз: Простая частичная атрофия зрительных нервов обоих глаз поствоспалительного генеза. Длительность заболевания: 14 месяцев. Прошел курс медикаментозной терапии – без эффекта. 2 курса электростимуляций в Уфе – также без изменений.

Объективно: Адекватен, сознание ясное. Со стороны ЧМН – практическая слепота обоих глаз. Симптомы Маринеску-Родовичи S=D. Сухожильные рефлексы повышены, S=D. Патологических знаков нет. Интенция при пальце-носовой пробе, S>D.

Осмотр окулиста: острота зрения правого глаза – 0,01, левого 0,005. Поля зрения: справа – абсолютная центральная скотома, слева – остаточное в височной и носовой частях. Глазное дно – ДЗН бледные монотонные, контуры четкие, артерии умеренно сужены, очаговых изменений нет. Заключение: Поствоспалительная двусторонняя оптическая нейропатия.

Курс электрических стимуляций. Стимулировался каждый глаз. Все электроды в количестве 4 были расположены на глазу. Амплитуда воздействующего тока определялась при диагностике перед каждым сеансом как электрочувствительность пациента и составляла 200-480 мкА. Значение стимулирующих частот для каждого электрода находилось в пределах от 7 Гц до значений, соответствующих максимальным значениям электрической лабильности, определяемым перед каждым сеансом. При этом, в течение одного сеанса, частота следования импульсов тока менялась на каждом электроде от 7 Гц – как нижнее значение частоты, применяемое при лечении зрительных нарушений, до 25 Гц – как соответствующее максимальному значению ЭЛ пациента, с шагом 1 Гц на каждый новый цикл.

Длительность импульса менялась в пределах от 6 до 25 мс. Для 7 сеансов форма импульса была выбрана прямоугольной биполярной, для 3 сеансов – квазисинусоидальная. Количество импульсов на каждый канал составляло от 10 до 16, количество серий – 3. Общая продолжительность курса – 10 сеансов. Одновременно на другом глазу проводилась фотостимуляция вспышками света с длительностью волны 635 нм и частотой, равной значению воздействующей частоты импульсов тока. Количество сеансов 10. Результаты лечения. Прошел 3 курса электростимуляций по данной методике. Динамика изменения остроты зрения была следующей. Первый курс: OD повышение с 0,01 до 0,02, OS – с 0,005 до 0,01. Второй курс (через 6 месяцев): OD исходно зрение повысилось до 0,09 – после 10 сеансов до 0,1, OS – 0,005 до 0,01. Третий курс: OD – исходная острота зрения к началу 3-го курса 0,2 с коррекцией 0,3-0,4 после ЭС – без динамики, OS – исходно 0,1 – стало 0,15. Итоговое улучшение зрения на правом глазу с 0,01 до 0,4, слева с 0,005 до 0,15.

Динамика изменения полей зрения правого глаза – А и левого глаза – В представлена на фиг.1. До лечения – I, после лечения – II, где 1 – границы полей зрения в норме, 2 – границы полностью пораженного участка поля зрения, 3 – сохранная область поля зрения, т.е. тот участок, которым пациент видит, 4 – границы пораженного участка поля зрения, частично восстановленного.

Из фиг.1 видно, что после лечения на правом глазу А область сохранного поля зрения 3 увеличилась за счет уменьшения области пораженного участка поля зрения 2, при этом пораженный участок поля зрения перешел из категории абсолютной потери зрения в категорию частичного восстановленного поля зрения 4.

На левом глазу В с исходно более выраженным сужением области поля зрения 3 за счет больших размеров пораженной области 2 наблюдается значительное расширение области сохранного зрения 3, однако с сохранением в центральной части пораженного участка 2.

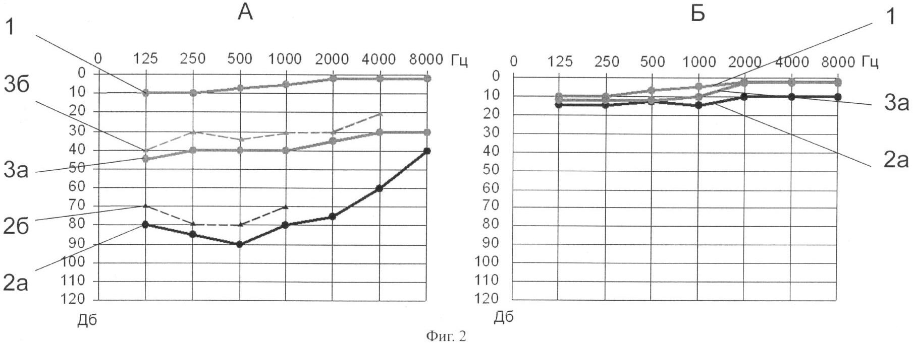
На фиг.2 представлена динамика улучшения состояния слуховых функций больной О-вой, 1989 г.р., обратившейся с жалобами на значительное снижение слуха правого уха, нарушение восприятия источника звука.

Клинический диагноз: Правосторонняя сенсоневральная тугоухость III-IV степени неясной (поствоспалительной) этиологии.

Длительность заболевания: 5 лет. Проводимое медикаментозное и физиотерапевтическое лечение – без существенного эффекта.

Объективно: состояние удовлетворительное, психомоторное развитие соответствует возрасту, в неврологическом статусе без очаговой симптоматики.

ЛОР-осмотр: наружное и среднее ухо без видимой патологии. По данным тональной аудиометрии определятся III-IV степень снижения слуха на правое ухо. Костная и воздушная проводимость совпадают.

Курс электрических стимуляций. Лечение проводили через 4 электрода, один из них был расположен на глазу контрлатерально стороне стимулируемого уха, остальные – за ухом. Значения пороговой силы тока на глазном электроде менялось в пределах 150-280 мкА, на остальных 3 электродах, расположенных на коже заушной области, – 350-550 мкА. Контролируемая в процессе лечения электрическая лабильность для электрода, расположенного на глазу, изменялась в пределах 38-45 Гц. Частота воздействующих на глазной электрод импульсов лежала в диапазоне от 10 до 45 Гц. Нижний предел выбирался из частотного диапазона нормально работающей зрительной системы, а верхний – из контролируемой электролабильности. Для других электродов, расположенных в области уха, частота воздействующих импульсов составляла 4-38 Гц. Соответственно, нижний предел выбирался из частотного диапазона нормально работающей слуховой системы, а верхний – из контролируемой электролабильности глазного электрода. Другие параметры – длительность импульса варьировала в пределах 3-15 мс, форма сигнала – прямоугольная биполярная – 11 сеансов, квазисинусоидальная – 3 сеанса; количество импульсов на каждый канал 10-16, количество серий – 4. Общая продолжительность курса – 15 сеансов. Фотостимуляция (7 сеансов) проводилась одновременно с электровоздействием на глазу, который не подвергался электростимуляции, вспышками света с длительностью волны 635 нм и частотой, равной значению межимпульсной частоты.

Результаты лечения: после 2-х курсов лечения субъективно отмечает значительное улучшение слуха на правое ухо – появилась разборчивость речи с 3 метров, шепотная речь – у ушной раковины, появилась возможность узнавать расположение источника звука. По данным аудиометрического обследования – повышение слуховых порогов справа в области низких и средних речевых частот на 15-50 дБ. Аудиометрически изменение степени сенсоневральной тугоухости: переход из III степени в I. Слева – данные прежние.

Графические зависимости восприятия тонов звука различной частоты и динамика их изменения в процессе лечения: на правом ухе А, на левом ухе – В – представлены на фиг.2. Кривая 1 соответствует восприятию звуков при нормальном слухе, кривая 2 – до лечения пациента, при этом 2а соответствует порогам восприятия звука воздушной проводимости, 2б – костной проводимости; 3 – после лечения пациента, где За соответствует порогам восприятия звуком воздушной проводимости, 3б – костной проводимости.

Как видно на фиг.2, восприятие звуков левого уха В пациента соответствует нормальному. На правом ухе А до лечения 2 отмечается снижение порогов восприятия звука при воздушной 2а и костной 2б проводимости на 40-90 дБ, преимущественно на низких частотах (до 1000 Гц). Проведенное лечение пациента дало значительное улучшение слуха, на правом ухе А, что иллюстрируют кривые 3а, 3б.

Больная И-ва., 50 лет, обратилась с жалобами на выраженную слабость в левых конечностях, нечеткость собственной речи, снижение памяти, потерю профессиональных навыков.

Клинический диагноз: Состояние после острого нарушения мозгового кровообращения ишемического характера в бассейне левой среднемозговой артерии (от 01.02.2003 г.). Левосторонний гемипарез, дизартрия, снижение памяти, внимания.

Длительность заболевания: 14 месяцев. Прошла 3 курса восстановительного лечения в отделениях реабилитации – без изменений. Электростимуляция не проводилась.

Объективно: заторможена, плохо концентрирует внимание, речь односложна, монотонна, неразборчива. Со стороны ЧМН – центральный парез VII и XII нерва слева. Симптомы орального автоматизма. Поза Вернике-Манна. Походка спастико-паретическая левосторонний спастический гемипарез. Мышечная сила в руке – 1 балл, в ноге – 2 балла. Сухожильные рефлексы S>D. Симптом Бабинского и Жуковского слева. Левосторонняя гемигипостезия. Пальценосовую пробу выполняет с интенцией с обеих сторон.

Курс электрических стимуляций. Лечение проводили через 4 электрода, два из которых были расположены на глазу контрлатерально стороне стимулируемого уха, остальные – за ухом. Значения пороговой силы тока на глазном электроде менялось в пределах 250-430 мкА, на остальных 2 электродах, расположенных на коже заушной области, – 400-650 мкА. Контролируемая в процессе лечения электрическая лабильность для электродов, расположенных на глазу, изменялась в пределах 26-34 Гц. Частота воздействующих на глазной электрод импульсов лежала в диапазоне от 8 до 34 Гц. Нижний предел выбирался из частотного диапазона нормально работающей зрительной системы, а верхний из контролируемой электролабильности. Для других электродов, расположенных в области уха, частота воздействующих импульсов составляла 8-34 Гц. Соответственно, нижний предел выбирался из частотного диапазона нормально работающей двигательной системы, а верхний – из контролируемой электролабильности глазных электрода.

Результаты лечения. После 2-го сеанса электрических стимуляций появились парастезии в левой ноге. После 5-го сеанса – в руке. Улучшился сон. Появилось учащенное мочеиспускание. К концу лечения – наросла сила в конечностях, отмечается снижение мышечного тонуса в дистальных отделах левой руки и ноги, гиперпатия в левых конечностях. Речь эмоционально окрашена, разборчива, количество односложных ответов уменьшилось. Через 1 месяц после лечения чувствует прилив сил, стала много читать, увеличилась выносливость, появилась уверенность при ходьбе. Нарос объем активных движений в левых конечностях. Поднимает руку и ногу выше горизонтальной линии. Мышечная сила в руке – 2,5-3 балла, в ноге – 2-2,5 балла. Чувствительные нарушения практически не выявляются. Речь отчетливо разборчива. Исчезло онемение в левой руке.

Приведенные примеры доказывают соответствие изобретения критерию «Промышленная применимость», так как способ может быть успешно реализован в условиях клиники при лечении больных с нарушенными функциями головного мозга – зрения, слуха, движений, речи, памяти и внимания.

Источники информации

1. Патент 2102046 «Способ восстановления зрения при атрофии зрительного нерва, заболеваниях сетчатки и амблиопии», заявка 96115896/14 от 22.08.1996, патентообладатель Институт мозга человека РАН, авторы Чибисова А.Н., Федоров А.Б.

2. Патент 2161019 «Способ лечения заболеваний зрительного тракта», заявка 2000110913/14 от 25.04.2000, патентообладатель и автор Сафина З.М.

3. Автореферат диссертации на соискании ученой степени кандидата медицинских наук «Клинико-физиологические характеристики больных с последствиями ишемического инсульта при реабилитации методом лечебных электрических воздействий» Чибисовой Ю.М., Санкт-Петербург, 2005, с.7

Формула изобретения

1. Способ восстановления нарушенных функций головного мозга, включающий определение электрической лабильности зрительной системы и проведение электростимуляции с электродов, один из которых устанавливают на веке глаза с частотой следования импульсов электрического тока, не превышающей значение электрической лабильности зрительной системы, отличающийся тем, что дополнительные электроды устанавливают в проекции пораженной системы головного мозга, а при проведении электростимуляции верхнее значение частоты электрического тока соответствует значению электрической лабильности зрительной системы, нижнее значение выбирают из диапазона 3-20 Гц.

2. Способ по п.1, отличающийся тем, что при восстановлении нарушенных зрительных функций головного мозга нижнее значение частоты следования импульсов выбирают из диапазона 7-17 Гц.

3. Способ по п.1, отличающийся тем, что при восстановлении нарушенных слуховых функций головного мозга нижнее значение частоты следования импульсов выбирают из диапазона 4-9 Гц.

4. Способ по п.1, отличающийся тем, что при восстановлении нарушенных двигательных функций головного мозга нижнее значение частоты следования импульсов выбирают из диапазона 8-20 Гц.

5. Способ по п.1, отличающийся тем, что при восстановлении речевых расстройств головного мозга нижнее значение частоты следования импульсов выбирают из диапазона 4-18 Гц.

6. Способ по п.1, отличающийся тем, что при восстановлении нарушений и памяти, и внимания нижнее значение частоты следования импульсов выбирают из диапазона 3-14 Гц.

7. Способ по пп.1-6, отличающийся тем, что дополнительно проводят фотостимуляцию вспышками света с длинами волн, выбираемыми из диапазона 400-700 н.м.

8. Способ по пп.1-6, отличающийся тем, что дополнительно проводят воздействие предъявлением перед глазами пациента фигур произвольной формы, меняющих контраст по цвету.

РИСУНКИ

Categories: BD_2355000-2355999