|
|
(21), (22) Заявка: 2008103998/14, 01.02.2008
(24) Дата начала отсчета срока действия патента:
01.02.2008
(46) Опубликовано: 20.05.2009
(56) Список документов, цитированных в отчете о поиске:
БАБУНАШВИЛИ А.М. и др. Коронарная ангиопластика. – М.: Изд-во АСВ, 1996, стр.23-29. SU 1836115 A3, 23.08.1993. SU 1028339 A1, 15.07.1983. SU 1544396 A1, 23.02.1990. RU 2164152 C2, 20.03.2001. US 2004/0230219 A1, 18.11.2004.
Адрес для переписки:
660022, г.Красноярск-22, ул. Партизана-Железняка, 1, Медицинская академия, патентный отдел
|
(72) Автор(ы):
Малков Алексей Борисович (RU), Тюрюмин Василий Сергеевич (RU), Винник Юрий Семенович (RU), Самотесов Павел Афанасьевич (RU)
(73) Патентообладатель(и):
Государственное образовательное учреждение высшего профессионального образования “КРАСНОЯРСКАЯ ГОСУДАРСТВЕННАЯ МЕДИЦИНСКАЯ АКАДЕМИЯ ФЕДЕРАЛЬНОГО АГЕНТСТВА ПО ЗДРАВООХРАНЕНИЮ И СОЦИАЛЬНОМУ РАЗВИТИЮ” (RU)
|
(54) КОРОНАРНЫЙ КАТЕТЕР
(57) Реферат:
Изобретение относится к медицине, в частности к кардиохирургии, и может быть использовано в кардиохирургической практике с целью реваскуляризации левых отделов сердца для лечения ишемической болезни сердца. Коронарный катетер состоит из базисного катетера с центральным просветом, баллонного сегмента, имеющего баллон, и шахты для раздувания баллона. Базисный катетер, каркас которого выполнен из гибкого, но прочного и термостойкого полимера, снабжен металлической втулкой с направляющим пальцем на конце. Втулка выполнена из металла, обладающего высоким сопротивлением и низкой теплопроводностью для сдерживания электрического потенциала и защиты от высокой температуры полимерного каркаса базисного катетера, с возможностью поступательного и вращательного движения в центральном просвете, имеющем сужение на дистальном конце. Базисный катетер также снабжен стержневым электродом, который выполнен из прочного металла, обладающего памятью формы, с возможностью поступательного движения внутри втулки. Шахта выполнена с меньшим просветом, чем у стандартных двухпросветных катетеров, и связана с воздушным насосом, подчиняющимся системе управления. Баллонный сегмент имеет длину не более чем в 3 раза, а диаметр расправления баллона – не более чем в 2 раза превышающие диаметр пораженной коронарной артерии. Проксимальный конец стержневого электрода подключают к рабочей фазе высокочастотной электрохирургической установки и вместе с металлической втулкой с направляющим пальцем – к движущим элементам системы управления. Изобретение позволяет реваскуляризировать миокард с низкой травматизацией коронарных артерий, осуществлять реваскуляризацию из различных участков левого коронарного бассейна, отказаться от использования коронарного проводника для проведения коронарного катетера, производить реваскуляризацию мелких сосудов дистального коронарного русла и диффузно измененных коронарных артерий. 5 ил.
Изобретение относится к медицине, в частности к кардиохирургии, и может быть использовано в кардиохирургической практике с целью реваскуляризации левых отделов сердца для лечения ишемической болезни сердца.
Известен способ лечения ишемической болезни сердца / Патент РФ 2292855, кл. А61В 18/20, БИПМ 4, 10.02.2007 г. / посредством лазерной реваскуляризации миокарда, включающий создание множественных трансмиокардиальных каналов диаметром 0,5-1,0 мм на открытом работающем сердце с помощью излучения мощного импульсного волноводного СО2-лазера с длиной волны 10,6 мкм при пиковой мощности 500-700 Вт и длительности импульса излучения 25-35 мс, которое подают на миокард при создании каждого канала в момент времени, соответствующий началу сегмента ST электрокардиограммы больного. Однако этот способ достаточно инвазивен и является строго зависимым от фаз сердечного цикла.
Известен способ хирургического лечения ишемических синдромов миокарда /Патент РФ 2163783, кл. А61В 17/00, БИПМ 7, 10.03.2001 г./, включающий перфорацию миокарда левого желудочка и формирование канала в толще миокарда вдоль коронарной артерии между перфорированными отверстиями, перфорацию верхней трети межжелудочковой перегородки с формированием канала в стенке правого желудочка. Однако этот способ весьма инвазивен и травматичен в отношении стенок обоих желудочков и межжелудочковой перегородки (неоднократная перфорация ткани сердца).
Наиболее близким к предлагаемому является способ баллонной ангиопластики /Монография «Коронарная ангиопластика», A.M.Бабунашвили, И.Х.Рабкин, В.А.Иванов, М.: Изд-во АСВ, 1996 г, стр.23-29/, заключающийся в ангиопластике венечных артерий с использованием двухпросветного баллонного катетера, состоящего из базисного катетера, имеющего баллонный сегмент со встроенным в него баллоном и содержащего центральный просвет для проведения коронарного проводника и мониторинга давления в коронарной артерии и шахту для раздувания баллона раствором контрастного вещества. Однако этот способ мало эффективен ввиду частого рестеноза коронарных артерий в первые годы после вмешательства, к тому же, его невозможно применять при реканализации тотальной окклюзии просвета венечного сосуда и затруднительно – при реваскуляризации мелких артерий дистального коронарного русла, кроме того, он весьма травматичен для коронарных артерий, что может привести к патологической диссекции, окклюзии, перфорации и разрыву стенки сосуда.
Задачей предлагаемого устройства является увеличение эффективности кровоснабжения ишемезированного миокарда левого желудочка, снижение травматичности при реваскуляризации миокарда.
Поставленную задачу решают за счет того, что базисный катетер, каркас которого выполнен из гибкого, но прочного и термостойкого полимера, снабжен металлической втулкой с направляющим пальцем на конце, выполненной из металла, обладающего высоким сопротивлением и низкой теплопроводностью для сдерживания электрического потенциала и защиты от высокой температуры полимерного каркаса базисного катетера, с возможностью поступательного и вращательного движения в центральном просвете, имеющем сужение на дистальном конце, и стержневым электродом, который выполнен из прочного металла, обладающего памятью формы, с возможностью поступательного движения внутри втулки, а шахта выполнена с меньшим просветом, чем у стандартных двухпросветных катетеров, и связана с воздушным насосом, подчиняющимся системе управления, баллонный сегмент имеет длину не более чем в 3 раза, а диаметр расправления баллона не более чем в 2 раза превышающие диаметр пораженной коронарной артерии, кроме того, проксимальный конец стержневого электрода подключают к рабочей фазе высокочастотной электрохирургической установки и вместе с металлической втулкой с направляющим пальцем – к движущим элементам системы управления.
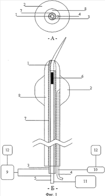
Коронарный катетер (фиг.1) содержит: 1 – направляющий палец; 2 – баллон; 3 – металлическую втулку; 4 – шахту для раздувания баллона; 5 – стержневой электрод; 6 – рентгеноконтрастный маркер; 7 – центральный просвет; 8 – базисный катетер и связан с: 9 – движущими элементами; 10 – воздушным насосом; 11 – высокочастотной электрохирургической установкой; 12 – системой управления.
Основными составляющими частями коронарного катетера являются базисный катетер (8) с размещенным на нем баллоном (2). Базисный катетер (8) оснащен стержневым электродом (5), проксимальный конец которого подключают к рабочей фазе высокочастотной электрохирургической установки (11), а также металлической втулкой (3), имеющей направляющий палец (1), которая проходит внутри центрального просвета (7), перемещается вдоль него на всем протяжении базисного катетера (8) и вращается вокруг своей оси. Стержневой электрод (5) двигается в канале втулки (3) и может выходить из дистального конца базисного катетера (8). Стержневой электрод (5) и втулку (3) подключают к движущим элементам (9), контролируемым системой управления (12), которые вращают втулку (3) и перемещают ее внутри базисного катетера (8) вдоль центрального просвета (7). Перемещение стержневого электрода (5) вдоль канала втулки (3) также происходит за счет движущих элементов (9) системы управления (12). Направляющий палец (1), которым заканчивается втулка (3), движется и вращается вместе с ней и способен выходить за пределы базисного катетера (8). Дистальная часть базисного катетера (8) имеет сужение на конце и выполнена так, что постепенно уменьшается и диаметр центрального просвета (7). Поэтому во время поступательного движения металлической втулки (3) направляющий палец (1), достигнув сужения центрального просвета (7), сгибается и выходит из дистального конца базисного катетера (8) под углом. Выйдя из базисного катетера (8), направляющий палец (1) своим концом упирается в вышедшую из базисного катетера (8) дистальную часть стержневого электрода (5) и, воздействуя на нее с разной силой, может изгибать ее под любым углом в любом направлении за счет вращения и перемещения втулки (3). Направляющий палец (1), тесно соприкасаясь с дистальной частью стержневого электрода (5), может служить элементом для его очистки от нагара из расплавленной сердечной ткани за счет быстрого вращения втулки и восстанавливать, таким образом, сниженную его проводимость. Кроме того, коронарный катетер снабжен полиэтиленовым баллоном (2), расположенным на отрезке поверхности возле дистального конца базисного катетера (8) и составляющим вместе с участком базисного катетера (8), на котором он размещен, баллонный сегмент. Баллон (2) связан с шахтой (4), которая подходит к нему с внутренней стороны и проходит внутри базисного катетера (8). Так как шахта (4) предназначена для проведения воздуха, диаметр ее просвета делают как можно меньше для экономии полезного пространства базисного катетера (8). Шахта (4) на проксимальном конце базисного катетера (8) соединена с воздушным насосом (10), подчиняющимся системе управления (12). Во время продвижения коронарного катетера баллон (2) находится в сдутом состоянии, то есть его стенка плотно прижата к поверхности базисного катетера (8). Во время установки коронарного катетера в баллон (2) с помощью воздушного насоса (10) через шахту (4) нагнетают воздух и раздувают до стойкой фиксации дистального конца коронарного катетера в просвете венечной артерии. Необходимо отметить, что баллонный сегмент предназначен лишь для закрепления дистальной части базисного катетера (8) в просвете коронарных сосудов и должен иметь длину не более чем в 3 раза, а диаметр расправления баллона (2) не более чем в 2 раза превышающие диаметр пораженной коронарной артерии, чтобы добиться надежной фиксации без повреждения стенки венечных артерий. Таким образом, система управления (12) регулирует угол, направление и расстояние, на которое перемещается стержневой электрод (5), дополнительно осуществляя его очистку, а также контролирует степень раздувания баллона (2).
Стержневой электрод (5) выполнен из прочного металла, обладающего памятью формы. Металлическая втулка (3) с направляющим пальцем (1) должна обладать высоким сопротивлением и низкой теплопроводностью для сдерживания электрического потенциала и защиты от высокой температуры полимерного каркаса базисного катетера (8). Каркас базисного катетера (8) изготавливают из гибкого, но прочного и термостойкого полимера, способного сохранять форму, структуру и электроизоляционные свойства при воздействии высоких температур металлического содержимого центрального просвета (7) на дистальном конце коронарного катетера. Коронарный катетер обладает рентгеноконтрастным маркером (6), расположенным возле дистального конца базисного катетера (8). Маркер (6) необходим для определения четкой локализации дистальной части коронарного катетера в коронарном русле в любой момент времени, а также при осуществлении манипуляций со стержневым электродом (5). Для улучшения скользящих качеств коронарного катетера можно использовать покрытия из гепарина или гидрогеля.
После стандартной подготовки пациента, налаживания мониторинга ЭКГ, настройки ангиографической аппаратуры и установки интродьюсера в периферическую артерию в устье левой коронарной артерии через интродьюсер, минуя аорту, вводят проводниковый катетер для мониторирования на его кончике артериального давления и проведения исходной коронарографии, на которой видно точное место стеноза венечного сосуда, определяющего ишемию. Затем на переднюю грудную стенку крепят пассивный электрод, который подключают к нулевой фазе высокочастотной электрохирургической установки (11). После установки в устье левой коронарной артерии проводникового катетера и контрастирования коронарного русла через него в ствол левой коронарной артерии проводят коронарный катетер, который продвигают в нужный венечный сосуд и перемещают до места стеноза, не доходя до него определенное расстояние, зависящее от анатомии сосудов локализации и размеров участка ишемии. Дистальный конец коронарного катетера удерживают в нужном участке венечного сосуда параллельно его ходу при помощи раздувания баллона (2). За правильностью проведения и установки коронарного катетера непрерывно следят по движению рентгеноконтрастного маркера (6) с помощью рентгеноскопии в нескольких проекциях. Далее из базисного катетера (8) выводят стержневой электрод (5), изгибают последний под определенным углом в направлении предполагаемой зоны ишемии миокарда левого желудочка, используя направляющий палец (1) подвижной металлической втулки (3), и ведут до участка недостаточной перфузии сердечной мышцы, перфорируя заднюю стенку коронарной артерии и часть прилегающего к ней миокарда. За продвижением стержневого электрода (5) следят с помощью рентгеноскопии под различными углами визуализации. По мере продвижения стержневого электрода (5) угол и направление прокола могут быть скорректированы поступательным и вращательным движениями втулки (3), в результате чего в каждом конкретном случае может быть выбран оптимальный вариант будущего канала. При длительной установке стержневого электрода (5) можно прибегнуть к временному сдуванию баллона (2) для предотвращения явлений ишемии миокарда и сосудистых катастроф. К тому же в эти промежутки времени можно улучшить рентгенизображение дистального сегмента стенозированной артерии, введя дополнительную порцию контраста по проводниковому катетеру. В целом контрастирование коронарного русла производят по мере необходимости на всех этапах реваскуляризации. Далее на панели высокочастотной электрохирургической установки (11) вводят нужные параметры тока (силу тока, напряжение, частоту) для создания канала нужного диаметра. После замыкания электрической цепи делают прожег канала в ткани миокарда и одновременно втягивают стержневой электрод (5) обратно внутрь базисного катетера (8), таким образом, дополнительно приваривая заднюю стенку коронарного сосуда в месте инвазии к прилежащему участку миокарда левого желудочка и герметизируя будущий канал. Во время втяжения стержневого электрода (5) направляющий палец (1) вплотную подводят к нему и запускают вращение втулки (3). При этом оставшийся на стержневом электроде (5) нагар счищают и измельчают, восстанавливая, таким образом, сниженную его проводимость. Далее процедуру повторяют, создавая нужное число интрамиокардиальных каналов из просвета коронарной артерии, заканчивающихся слепо в зоне ишемии миокарда левого желудочка. Следующим этапом является создание сквозных (трансмиокардиальных) каналов, связывающих просвет коронарной артерии с полостью левого желудочка. Для этого стержневой электрод (5) ведут из просвета коронарной артерии через толщу миокарда к эндокарду левого желудочка, насквозь прокалывая последний и выходя в полость левого желудочка. Прожег сочетают с выведением и очищением стержневого электрода (5), также как и при создании каналов, заканчивающихся слепо. При появлении возможности удачно реваскуляризировать ишемизированный участок миокарда с задействием в его кровоснабжении соседних к пораженной коронарной артерии сосудов либо при невозможности провести удачную реваскуляризацию из последней коронарный катетер проводят в близлежащие к стенозированной артерии коронарные сосуды и делают прожиги до участка ишемии непосредственно из них. Этот вариант также может быть использован в дополнение к двум основным этапам операции. Таким образом, зону ишемии миокарда кровоснабжают сразу из двух мест: из коронарного русла и артериальной кровью из полости левого желудочка. После завершения основных этапов операции и создания нужного числа каналов в стенке левого желудочка коронарный катетер медленно выводят из бассейна левой коронарной артерии, освобождая просвет проводникового катетера для проведения контрольной коронарографии в оптимальных наклонных проекциях, на которой контрастируются образованные каналы. Далее проводниковый катетер убирают из устья левой коронарной артерии и выводят из артерии доступа через интродьсер, который удаляют через 24 часа.
Схематичный пример реваскуляризации миокарда с использованием коронарного катетера показан на фиг.2-5, на которых изображен макет сердца со стенозами ветвей (8) левой венечной артерии (4), в устье которой из бедренной артерии через интродьюсер (10), минуя аорту (1), проводят и устанавливают проводниковый катетер (3) (фиг.2). Через последний проводят коронарный катетер (6) в левую коронарную артерию (4), в которой закрепляют с помощью баллона (2) (фиг.3). Далее из дистального конца коронарного катетера (6) выводят под определенным углом стержневой электрод (5) и, перфорируя им заднюю стенку венечной артерии (4) и миокард левого желудочка (7), ведут в нужном направлении до зоны ишемии в обход участкам стеноза ветвей (8) левой коронарной артерии (4). Затем в месте перфорации прожигают канал нужного диаметра, пропуская по стержневому электроду (5) электрический ток высокой силы и частоты. После неоднократного проведения стержневого электрода (5), осуществления прожига и втягивания стержневого электрода (5) обратно внутрь коронарного катетера (6) в толще миокарда левого желудочка (7) появляются тонкие слепые каналы (9), связанные с просветом левой коронарной артерии (4), по диаметру несколько больше, чем стержневой электрод (5) (фиг.4). Реваскуляризация заканчивается созданием сквозных каналов (11), проникающих из просвета левой коронарной артерии (4) в полость левого желудочка (7) (фиг.5). Из медикаментозных средств на различных этапах операции, в пред- и послеоперационном периоде используют антиагреганты (аспирин, тиклид), прямые антикоагулянты (гепарин) и вазодилататоры (нитроглицерин, нифедипин, коринфар). За 1-2 суток до операции пациенту назначают внутрь 125 мг аспирина или 250 мг тиклида в сутки и коринфар 40 мг в сутки. После установки интродьюсера внутривенно (болюсом) или внутриартериально вводят гепарин суммарно в дозе 15000-20000 ЕД, иногда добавляя внутривенную инфузию (в течение всего вмешательства) физиологического раствора с гепарином из расчета 5000 ЕД гепарина в час. Затем гепарин вводят уже интракоронарно по системе трубок и соединений, проксимально связанных с проводниковым катетером. Интракоронарно гепарин вводят сразу после создания каждого интро- и трансмиокардиального канала медленно (в течение 1-2 минут) в дозе 200-300 ЕД после предварительного сдувания баллона, а также в конце вмешательства после удаления коронарного катетера в дозе 2000 ЕД в течение 30 минут. Данный вид инфузий проводят для предотвращения тромбирования каналов на ранних этапах неоангиогенеза. Манипуляции с гепарином проводят под контролем свертываемости крови (анализы берутся периодически во время операции). Из вазодилататоров интракоронарно чаще применяют нитроглицерин, который вводят до проведения коронарного катетера в дозе 240 мг для профилактики спазматических реакций (иногда для этих целей используют нифедипин). В течение первых суток после операции (до удаления интродьсера) внутривенно проводят инфузию гепарина, растворенного в физиологическом растворе, из расчета 1000 ЕД в час под контролем свертываемости крови, который проводится каждые 45-60 минут, возобновляют прием коринфара 40 внутрь в течение 3-5 суток и назначают внутрь аспирин 125 мг либо тиклид 250 мг на 6 месяцев.
Принцип работы основан на электротермической стимуляции неоангиогенеза участка ишемии миокарда левого желудочка из просвета левой коронарной артерии в результате создания асептического некроза зоны, прилегающей к каналам, часть из которых заканчивается слепо, а другая часть проникает в полость левого желудочка.
Реваскуляризацию осуществляют с целью создания адекватного потребностям миокарда кровотока в зоне ишемии при любых функциональных нагрузках и достижения полной ликвидация симптомов или уменьшения функционального класса стенокардии.
Преимуществами предлагаемого изобретения являются: низкая травматизация коронарных сосудов в месте реваскуляризации; возможность осуществлять реваскуляризацию из различных участков левого коронарного бассейна; отсутствие необходимости использования коронарного проводника для проведения коронарного катетера; возможность реваскуляризации мелких сосудов дистального коронарного русла и диффузно измененных коронарных артерий.
Формула изобретения
Коронарный катетер, состоящий из базисного катетера с центральным просветом, баллонного сегмента, имеющего баллон, и шахты для раздувания баллона, отличающийся тем, что базисный катетер, каркас которого выполнен из гибкого, но прочного и термостойкого полимера, снабжен металлической втулкой с направляющим пальцем на конце, выполненной из металла, обладающего высоким сопротивлением и низкой теплопроводностью для сдерживания электрического потенциала и защиты от высокой температуры полимерного каркаса базисного катетера, с возможностью поступательного и вращательного движения в центральном просвете, имеющем сужение на дистальном конце, и стержневым электродом, который выполнен из прочного металла, обладающего памятью формы, с возможностью поступательного движения внутри втулки, а шахта выполнена с меньшим просветом, чем у стандартных двухпросветных катетеров, и связана с воздушным насосом, подчиняющимся системе управления, баллонный сегмент имеет длину не более чем в 3 раза, а диаметр расправления баллона не более чем в 2 раза превышающие диаметр пораженной коронарной артерии, кроме того, проксимальный конец стержневого электрода подключают к рабочей фазе высокочастотной электрохирургической установки и вместе с металлической втулкой с направляющим пальцем – к движущим элементам системы управления.
РИСУНКИ
|
|