|
(21), (22) Заявка: 2007106752/14, 22.02.2007
(24) Дата начала отсчета срока действия патента:
22.02.2007
(30) Конвенционный приоритет:
07.12.2006 KR 10-2006-0123673
(43) Дата публикации заявки: 27.08.2008
(46) Опубликовано: 20.05.2009
(56) Список документов, цитированных в отчете о поиске:
US 5626128 А, 06.05.1997. JP 2000237125 A, 05.09.2000. US 4270529 A, 02.06.1981. GB 250094, 08.04.1926. SU 1437033 A1, 28.07.1986.
Адрес для переписки:
119034, Москва, Пречистенский пер., 14, стр. 1, 4-й этаж, “Гоулингз Интернэшнл, Инк.”, пат.пов. В.А.Клюкину, рег. 005
|
(72) Автор(ы):
КАНГ Син-Бам (KR)
(73) Патентообладатель(и):
КАНГ Син-Бам (KR)
|
(54) ФИКСИРУЮЩЕЕ УСТРОЙСТВО ДЛЯ ЭНДОТРАХЕАЛЬНОЙ ТРУБКИ
(57) Реферат:
Изобретение относится к медицинской технике и раскрывает устройство для фиксации эндотрахеальной трубки. Устройство включает корпус, имеющий установочное отверстие, верхнюю обойму, предусмотренную на периферии корпуса, и нижнюю обойму, предусмотренную на периферии корпуса, которая отделена от верхней обоймы с тем, чтобы зубы пациента располагались бы между нижней обоймой и верхней обоймой. Устройство также включает крышку, в которую входит часть корпуса. Изобретение обеспечивает надежную фиксацию эндотрахеальной трубки для исключения ее смещения, когда хирургическая операция выполняется на пациенте, находящемся в наклонном положении. Устройство может быть перемещено по линии зубов, что позволяет более эффективно выполнять операцию во внутренней части рта или на миндалинах. 38 з.п. ф-лы, 43 ил.
ОБЛАСТЬ ИЗОБРЕТЕНИЯ
Настоящее изобретение относится к фиксирующему устройству для фиксации эндотрахеальной трубки. Более конкретно, настоящее изобретение относится к фиксирующему устройству для фиксации эндотрахеальной трубки, имеющему корпус со сквозным отверстием, верхнюю обойму и нижнюю обойму, отделенную от верхней обоймы, служащие для размещения зубов пациента между ними. Настоящее изобретение может также иметь крышку, которая может быть соединена с корпусом для прочного крепления интубированной эндотрахеальной трубки во время хирургической операции, когда положение пациента затрудняет фиксацию эндотрахеальной трубки, например, в наклонном положении пациента, и для обеспечения удобства в работе, когда дантист или пластический хирург выполняют операцию во внутренней части рта пациента или отоларинголог выполняет операцию на миндалинах пациента. При этом фиксирующее устройство позволяет вынимать, перемещать, разъединять или повторно соединять эндотрахеальную трубку.
ПРЕДПОСЫЛКИ СОЗДАНИЯ ИЗОБРЕТЕНИЯ
На фигуре 1 показана эндотрахеальная трубка, предназначенная для размещения в дыхательных путях. Эндотрахеальная трубка содержит переходник 1001 для подачи кислорода, трубчатый элемент 1002, манжету 1003 и клапан 1005 для надувания манжеты 1003. Эти элементы 1001, 1002, 1003 и 1005 могут быть различного размера. Манжета 1003 может или не может быть предусмотрена в зависимости от требований в конкретном случае. Когда манжета 1003 не используется, необходимо предусмотреть другое средство для фиксации эндотрахеальной трубки.
Переходник 1001 фиксируется в строго определенном положении в дыхательных путях пациента и соединяется с источником кислорода и анестетика для подачи их пациенту. Трубчатый элемент 1002 изготовлен из материалов, безвредных для человеческого тела, например из чистого полихлорвинила силицированного полихлорвинила или из чистого полиуретана. Трубчатый элемент 1002 работает как трубопровод для подачи кислорода и анестетика к легким пациента. Манжета 1003 фиксирует эндотрахеальную трубку и предотвращает обратную утечку кислорода или анестетика, подаваемого чрез эндотрахеальную трубку, из легких пациента. Манжета 1003 также должна быть изготовлена из материала, безвредного для тела человека, как и трубчатый элемент 1002, и должна иметь конструкцию, снижающую до минимума давление на дыхательные пути пациента. Однако трудно зафиксировать эндотрахеальную трубку в нужном положении только с помощью манжеты 1003. Клапан для раздувания манжеты соединен со шприцем, который раздувает манжету 1003 путем подачи воздуха через клапан 1005 в манжету 1003, чтобы зафиксировать положение эндотрахеальной трубки.
На фигуре 2 показана эндотрахеальная трубка, введенная в дыхательные пути 2003 пациента. После интубации в нужное положение эндотрахеальная трубка может быть зафиксирована в этом положении путем раздувания манжеты 1003 воздухом, подаваемьм через клапан 1005, соединенным со шприцем. При вводе эндотрахеальной трубки нужно проявить особую осторожность, чтобы не ввести ее в пищеварительный тракт 2001. На фигурах 4 и 5 манжета 1003 показана до и после раздувания соответственно.
Трубчатые устройства, такие как эндотрахеальная трубка, используемые при различных медицинских процедурах, в основном, предназначены обеспечить ввод трубки в дыхательные пути пациента, который нуждается в кислороде, лекарственной терапии или анестезии. В большинстве случаев, включая неотложную помощь и когда необходимо ввести эндотрахеальную трубку для выполнения анестезии, она исключительно важна для поддержания функции дыхательных путей. Если не обеспечить подходящее устройство проветривания или фиксации, это может окончиться повреждением мозга или даже смертью пациента. Кроме того, обезболивание является необходимой стадией при выполнении хирургической операции, поскольку это поддерживает пациента в наилучшем состоянии для хирургической операции. Для этой цели используются различные анестезирующие средства, которые делают пациента нечувствительным к боли, блокируют чувства пациента, предотвращают движение пациента и предотвращают рефлекторные действия пациента.
Эндотрахеальная трубка, с которой относится настоящее изобретение, является одним из обязательных устройств для выполнения общего наркоза, особенно для ингаляционного наркоза. Общий наркоз – тип анестезии, при которой анестезировано все тело путем интубации средства общего наркоза через дыхательные пути, чтобы отключить чувства пациента, когда концентрация анестезирующего средства достигает определенного уровня. Поскольку обслуживание дыхательных путей очень важно при выполнении такого общего наркоза, эндотрахеальная трубка, как правило, вводится в дыхательные пути перед выполнением искусственного дыхания, используя респиратор или руки. Соответственно, эндотрахеальная трубка должна быть вставлена перед общим наркозом и состояние эндотрахеальной трубки также должно быть проверено. Кроме того, диапазон медицинских случаев, требующих применения эндотрахеальной трубки, настолько широк, что не будет никаким преувеличением сказать, что эндотрахеальная трубка используется при всех операциях, требующих общего наркоза. Например, эндотрахеальная трубка используется в следующих ситуациях: для улучшения вентиляции в случае недостатка вентиляции легких; при защите легких в случае случайного кашля; лечения пациента, который имеет высокий риск вдоха содержимого желудка; при выполнении хирургической операции, требующей вентиляции под давлением выше атмосферного типа операции на груди; при выполнении хирургической операции, когда пациент должен лежать на одной стороне или в положении Тренделенбурга, когда трудно поддерживать работу дыхательных путей, используя маску и обеспечить вентиляцию при давлении выше атмосферного; при выполнении хирургической операции в цервикальной области в дыхательных путях, в которых требуется поддержка дыхательных путей; в случае, когда анестезиолог находится вне поля зрения хирургической операции, и при выполнении хирургической операции на пациенте, чьи дыхательные пути трудно обслуживать.
Такая эндотрахеальная трубка более выгодна, чем другие искусственные респираторы в следующем отношении: она может предотвратить всасывание посторонних частиц в дыхательные пути; она может обеспечить эффективную вентиляцию, сводя к минимуму мертвое пространство, где при искусственной вентиляции не происходит никакого газового обмена, а также увеличивая объем легких; она может быть введена непосредственно в дыхательные пути, не вызывая абдоминального наполнения, и она обеспечивает долговременное обслуживание дыхательных путей наиболее благоприятным способом, поскольку нет необходимости в постоянном креплении на лице пациента.
Обычно используется одноразовая эндотрахеальная трубка, сделанная из полихлорвинила, поскольку при температуре тела пациента она деформируется по форме дыхательных путей и ее гладкая внутренняя поверхность позволяет одноразовой трубке пройти через аспирационную трубку или согнутую шейку бронхиальной эндотрахеальной трубки. Размер эндотрахеальной трубки определяется ее внутренним диаметром (ID) шагами по пять миллиметров. Однако размер некоторых трубок измеряется по французскому стандарту, в котором число для указания размера определяется умножением внешнего диаметра (OD) эндотрахеальной трубки на . Соответственно, эндотрахеальные трубки с тем же французским размером могут иметь различные внутренние диаметры, если ширина стенок интубационных трубок различна. Трубка с воздушной подушкой, которая используется при лечении взрослых или детей по достижении ими определенного возраста, наполняется воздухом, чтобы поддерживать замкнутый цикл, регулируя вентиляцию легких и уменьшая возможность всасывания рвоты или крови. Трубка без воздушной подушки, которая используется при лечении детей не старше 8 лет, основана на использовании клинического давления утечки эндотрахеальной трубки, чтобы предотвратить ишемию дыхательных путей. Соответствующий размер эндотрахеальной трубки определяется, используя формулу, например, ID=(16 + возраст)×1/4, или толщину пятого пальца или размер ноздри ребенка. Соответствующие размеры для взрослых мужчин, женщин и подростков равны соответственно ID. 7.5-8.5 Fr ID. 7.0-7.5 Fr и ID. 4.0-5.5 Fr, где Fr – французский размер.
Теперь обсудим обычный способ интубирования и установки эндотрахеальной трубки и связанные с этим проблемы.
Прежде всего нужно выбрать эндотрахеальную трубку. Соответствующая эндотрахеальная трубка выбирается, учитывая различные факторы и соображения. Затем врач, в перчатках, маске и операционной одежде, должен поддерживать дыхательные пути пациента, используя свои руки при поддержании головы пациента в нейтральном или слегка наклонном положении, но не при значительном наклоне. Затем должен быть использован отсасыватель для стерилизации, и проверяются лопатка, корпус и лампочка ларингоскопа. Манжета эндотрахеальной трубки должна также быть проверена на утечку. Фиксирующее устройство, прикусной валик, шприц, тонкий зонд, смазка, стетоскоп, ингалятор и наконечник должно быть под рукой, и легкие пациента должен быть провентилированы помощником хирурга.
После окончания вышеупомянутых приготовлений выбранная эндотрахеальная трубка готова к вводу. Голова и шея пациента должны быть слегка ниже горизонтальной плоскости. При этом нужно быть очень осторожным, чтобы не переместить цервикальный позвонок в случае, если пациент имеет внешнее ранение. Затем врач должен переместить язык пациента влево, перемещая ларингоскоп к правой стороне рта, при удержании ларингоскопа левой рукой пациента. Если во рту скопилось много жидкости, ее нужно отсосать.
Ларингоскоп представляет собой устройство для рассматривания непосредственно зоны голосовой щели и содержит ручку, лопатку и источник света. Ларингоскопы делятся на две группы, основанные на типе лопатки, которой они снабжены, т.е. прямая лопатка или изогнутая лопатка. Следует использовать ларингоскоп с лопаткой соответствующей формы, соответствующим источником света и обладающий достаточной гибкостью, потому что дыхательные пути каждого человека имеют различную анатомическую форму, которая первоначально определена врожденными факторами и изменяется приобретенными болезнями. После вставления лопатки ларингоскопа в рот пациента врач поднимает ларингоскоп вверх вплоть до подъема нижней челюсти пациента. В этот момент врач должен проявить осторожность, чтобы не повредить зубы пациента и мягкие ткани рта, что может произойти, если врач будет использовать лопатку ларингоскопа как рычаг.
Затем врач интубирует эндотрахеальную трубку, постоянно наблюдая за открытой голосовой щелью. Во время интубации трубки желательно, чтобы помощник выполнил маневр Селика, удерживая и выдвигая обе стороны хряща пациента большим пальцем, указательным пальцем и средним пальцем, до тех пор, пока эндотрахеальная трубка не будет полностью интубирована.
При интубации эндотрахеальной трубки необходимо удостовериться в том, что эндотрахеальная трубка полностью введена в голосовую щель. Эндотрахеальная трубка интубируется еще на 1-2 см после того, как ее дистальный конец прошел через голосовую щель. В то же время удаляется тонкий зонд. Идеальная глубина интубации эндотрахеальной трубки достигается, когда ее дистальный конец расположен в середине голосовой щели и киля трахеи. Также отметим, что ввод трубки должен быть выполнен как можно аккуратнее, чтобы не допустить инфекции, и что операция интубации не должна быть сделана поспешно, по отношению к пациенту, который дышит самостоятельно, поскольку грубо выполненная интубация может вызывать конвульсивные спазмы в гортани и кашель.
По окончании интубации манжета раздувается до тех пор, пока она не встречает сопротивления, и затем шприц удаляется. Манжета раздувается сразу после выполнения интубации, чтобы предотвратить вышеупомянутое всасывание в дыхательные пути. Однако следует избежать излишнего раздувания манжеты, поскольку это может вызывать повреждение слизистой оболочки, дыхательных путей и пищевода.
Далее, глубина интубации измеряется по меткам шкалы на боковой поверхности эндотрахеальной трубки. Глубина должна быть изменена, если это окажется необходимым после проверки правильности выполнения интубации, выслушивая звук дыхания в обоих легких и желудка. Соответствующая глубина интубации может быть проверена, определяя, являются ли звуки дыхания обоих легких одинаковыми, слышен ли звук желудка во время вентиляции, имеется ли влага на поверхности трубки во время вентиляции, достаточно ли расширяется грудь пациента и подтвержден ли проход эндотрахеальной трубки через голосовую щель в случае интубации через рот.
Наконец, эндотрахеальная трубка должна постоянно поддерживаться руками, чтобы сохранить ее положение. Прикусной шаблон, который вставляется после интубации, предотвращает остановку дыхания пациента. Кроме того, в случае пациентов, которые не могут дышать самостоятельно, время, в течение которого искусственное дыхание останавливается для интубации эндотрахеальной трубки, должно быть менее 30 секунд.
Хотя эндотрахеальная трубка имеет много достоинств, она может вызвать осложнение после того, как хирургическая операция была закончена, например, воспаление горла и хрипоту. Воспаление горла и хрипота могут иметь место, когда общий наркоз был выполнен через эндотрахеальную трубку, интубированную в дыхательные пути. Даже при том, что воспаленное горло представляет собой временное осложнение, от которого пациент может оправиться естественным путем в пределах 72 часов, оно может вызывать серьезный дискомфорт для пациента. Вероятность воспаления горла и хрипота после хирургической операции, как известно, проявляются в пределах от 24 до 65% и в пределах от 13 до 40% соответственно. Причиной воспаленного горла и хрипоты может быть, например, диаметр эндотрахеальной трубки, тип манжеты или используемая смазка.
Чрезмерное раздутие манжеты, как известно, является главной причиной для таких осложнений. Традиционно, чтобы устранить воспаление горла используется лидокаин. Например, лидокаин вводится в манжету и проходит через мембрану манжеты, чтобы анестезировать слизистую оболочку дыхательных путей. Однако недавнее исследование показало, что лидокаин не столь эффективен. Скорее, правильное расширение манжеты было бы лучшим способом устранения воспаления горла. Чтобы заполнять манжету воздухом до нужного давления, важно установить эндотрахеальную трубку с учетом того, что манжета является важным элементом для установки эндотрахеальной трубки. Однако в обычных устройствах установка манжеты обеспечивалась только самой манжетой, что неизбежно приводит к чрезмерному раздутию манжеты, т.е. ее расширение за пределы минимального диапазона расширения, необходимого, чтобы предотвратить обратную утечку кислорода или анестезирующего газа.
Практически, очень трудно подобрать соответствующую эндотрахеальную трубку и осуществить ее интубацию и фиксацию. Даже опытный врач часто допускает ошибку, которая может вытекать из любого из многих факторов, например физического разнообразия пациентов и разнообразия ситуаций, при которых должны быть укреплены дыхательные пути. В любом случае, когда врач вводит эндотрахеальную трубку в дыхательные пути пациента и может только визуально контролировать эту операцию, врач может по ошибке ввести эндотрахеальную трубку внутрь пищевода.
Кроме того, излишняя глубина ввода может привести к интубации эндотрахеальной трубки в кровеносный сосуд, который соединен только с одним легким пациента, в результате чего воздух будет подаваться только к одному легкому, а не к обоим легким. В таком случае результат может быть фатальным. Такой результат может также иметь место, если пациент сознательно или бессознательно будет хватать рукой правильно интубированную эндотрахеальную трубку. В результате можно утверждать, что различные фатальные медицинские случаи могут иметь место, когда эндотрахеальная трубка недостаточно хорошо зафиксирована в горле пациента.
Далее, даже когда эндотрахеальная трубка интубирована правильно, возникает множество различных трудностей при фиксации интубированной трубки. Традиционно эндотрахеальная трубка фиксируется, обертывая эндотрахеальную трубку липкой лентой и прикрепляя эту ленту к коже вокруг рта. Однако такой способ не обеспечивает надежной фиксации эндотрахеальной трубки, предотвращающей ее от перемещения. Также имеется возможность того, что пациент будет сознательно или бессознательно перемещать эндотрахеальную трубку своей рукой. Особенно это относится к случаю, когда эндотрахеальная трубка интубирована в дыхательные пути ребенка, когда она может отклоняться от правильного положения в дыхательных путях даже при небольшом перемещении эндотрахеальной трубки. Кроме того, липкая лента может вызывать контактный дерматит у пациента с чувствительной кожей. Такие примеры клинически приводились много раз.
Кроме того, в основном, требуются два человека, чтобы зафиксировать эндотрахеальную трубку, используя липкую ленту, что приводит к излишней затрате человеческих ресурсов. Смещение эндотрахеальной трубки также возможно, когда пациент двигает своей шеей, чувствуя боль при удалении секреции типа флегмы из дыхательных путей, или когда его слюна приводит к отклеиванию липкой ленты. Эти проблемы наиболее серьезны при лечении младенца или ребенка.
Чтобы решить эти проблемы, было решено фиксировать эндотрахеальную трубку, прикрепляя эндотрахеальную трубку к шее пациента лентой, которая крепится к интубационной трубке. Однако даже при этой методике все еще очень трудно зафиксировать эндотрахеальную трубку точно в нужном положении. Даже если трубка точно закреплена на первой стадии, бывает необходимо перемещать установленную эндотрахеальную трубку в отдельном конкретном случае. В этом случае врач должен удалить ленту, переместить эндотрахеальную трубку и снова закрепить ленту, что является очень трудным при первой медицинской помощи в чрезвычайных ситуациях. Кроме того, прикусной шаблон устраняет возможность для пациента зажать эндотрахеальную трубку и соответственно защищает его от удушья. Прикусной шаблон также функционирует в качестве дыхательного пути для вентиляции. Традиционно, когда требуется отсасывание, чтобы удалить посторонние вещества, попавшие в рот или дыхательные пути, отсасывание осуществляется, используя место, которое остается после вставления прикусного шаблона. Однако при обычном способе фиксации эндотрахеальной трубки, используя ленту или тому подобные приспособления, такое отсасывание не может быть эффективно выполнено из-за трудности в обеспечении достаточного места для устройства всасывания или трудности в перемещении отсасывателя.
Далее, при выполнении хирургической операции во внутренней части рта или на пациенте в наклонном положении обычный способ закрепления ленты не достаточен для выполнения хирургической операции, потому что это делает смещение закрепленной эндотрахеальной трубки более вероятным. Таким образом, практика применения обычного способа доказала, что такие медицинские услуги не являются ни быстрыми, ни достаточно надежными. Проблема возрастает в случае хирургической операции для пациента в наклонном положении, когда невозможно полностью фиксировать интубированную эндотрахеальную трубку обычным путем, используя обычный способ с клейкой лентой. Таким образом, все еще существует возможность ранения или смерти пациента. Кроме того, при обычном способе манжета вероятнее всего будет иметь очень большой размер, что приводит к осложнениям после интубации эндотрахеальной трубки, например к воспалению горла.
Принимая во внимание, что эндотрахеальная трубка обычно требуется при оказании срочной первой помощи, обычный способ фиксации эндотрахеальной трубки с помощью ленты весьма проблематичен как по скорости, так и по надежности фиксации. Когда дантист или пластический хирург выполняет операцию на внутренней части рта или отоларинголог выполняет операцию на миндалинах, процедура перемещения закрепленной эндотрахеальной трубки по обычному способу очень затруднена. Аналогичным образом, чтобы удалить посторонние вещества, например жидкость изо рта или дыхательных путей, обычный способ также требует, чтобы прикрепленная лентой эндотрахеальная трубка была удалена и затем интубирована снова.
КРАТКОЕ ОПИСАНИЕ ИЗОБРЕТЕНИЯ
Решение вышеописанных проблем является целью настоящего изобретения, которое обеспечивает создание фиксирующего устройства для фиксации эндотрахеальной трубки. Это устройство обеспечивает быстрое и надежное крепление эндотрахеальной трубки, когда требуется интубация эндотрахеальной трубки при неотложной медицинской помощи или при оперировании пациента под наркозом.
Другой целью настоящего изобретения является создание фиксирующего устройства для фиксации эндотрахеальной трубки, которое позволяет одному человеку легко и точно закрепить эндотрахеальную трубку.
Еще одной целью настоящего изобретения является создание фиксирующего устройства для фиксации эндотрахеальной трубки, содержащего универсальное отверстие, которое обеспечивает более надежную фиксацию, также как и более простое и легкое отсасывание влаги, когда такое отсасывание необходимо.
Еще одной целью настоящего изобретения является создание фиксирующего устройства для фиксации эндотрахеальной трубки, содержащего нижнюю обойму, форма которой может изменяться в соответствии с ситуацией, в которой используется эндотрахеальная трубка или с условием использования, на которое рассчитана эндотрахеальная трубка, чтобы отвечать требованиям различных видов неотложной медицинской помощи.
Еще одной целью настоящего изобретения является создание устройства фиксации эндотрахеальной трубки, которое может перемещаться по зубам пациента, когда это требуется после введения эндотрахеальной трубки для проведения хирургической операции.
Еще одной целью настоящего изобретения является создание фиксирующего устройства для фиксации эндотрахеальной трубки, которое обеспечивает безопасную и надежную фиксацию эндотрахеальной трубки и может постоянно удерживать эндотрахеальную трубку точно в установленном положении, когда трубка используется при выполнении хирургической операции с возможностью отклонения эндотрахеальной трубки от первоначально установленного положения, например, при выполнении хирургической операции, когда требуется наклон пациента.
Еще одной целью настоящего изобретения является создание фиксирующего устройства для фиксации эндотрахеальной трубки, содержащего верхнюю обойму, которая является подвижной, чтобы соответствовать различной форме рта и форме зубов пациентов и обеспечить обслуживание дыхательных путей без использования дополнительных приспособлений.
Еще одной целью настоящего изобретения является создание фиксирующего устройства для фиксации эндотрахеальной трубки, которое фиксирует эндотрахеальную трубку точно и безопасно и сводит к минимуму вероятность чрезмерного расширение манжеты, чтобы предотвратить осложнение типа воспаления горла, которое может быть результатом такого чрезмерного расширения (раздувания) манжеты.
Вышеупомянутые цели настоящего изобретения могут быть достигнуты по любому из следующих примерных вариантов изобретения.
Согласно одному варианту настоящего изобретения создается устройство фиксации эндотрахеальной трубки, которое включает корпус, имеющий установочное отверстие, верхнюю обойму, расположенную на периферии корпуса, и нижнюю обойму, также расположенную на периферии корпуса, при этом нижняя обойма расположена на определенном расстоянии от верхней обоймы с тем, чтобы зубы пациента находились бы между нижней обоймой и верхней обоймой.
Согласно другому варианту настоящего изобретения устройство дополнительно включает крышку, которая имеет вогнутую часть для размещения части корпуса, чтобы зафиксировать эндотрахеальную трубку после того, как эта трубка вставлена в установочное отверстие.
Согласно другому варианту настоящего изобретения устройство дополнительно включает вставляемый элемент, который вставляется в установочное отверстие после того, как эндотрахеальная трубка вставлена в установочное отверстие.
Согласно еще одному варианту настоящего изобретения устройство дополнительно включает скрепляющий элемент, который соединяет корпус и эндотрахеальную трубку вместе после того, как эндотрахеальная трубка вставлена в установочное отверстие.
Согласно еще одному варианту настоящего изобретения корпус устройства включает первый корпус и второй корпус, причем первый корпус и второй корпус соединены вместе, чтобы закрепить эндотрахеальную трубку после того, как указанная трубка вставлена в установочное отверстие.
Согласно еще одному варианту настоящего изобретения первый корпус имеет выступ, а второй корпус имеет соответствующее углубление.
Согласно еще одному варианту настоящего изобретения выступ больше соответствующего углубления.
Согласно еще одному варианту настоящего изобретения первый корпус включает вогнутую часть, а второй корпус содержит выпуклую часть.
Согласно еще одному варианту настоящего изобретения первый корпус включает входящий замковый элемент, а второй корпус содержит охватывающий замковый элемент.
Согласно еще одному варианту настоящего изобретения корпус включает первую часть, отходящую от первой обоймы, причем первая часть имеет вырезы.
Согласно еще одному варианту настоящего изобретения крышка имеет наклонную боковую стенку так, что радиус крышки в ее нижней части больше радиуса в ее верхней части.
Согласно еще одному варианту настоящего изобретения крышка имеет резьбу на внутренней поверхности своей боковой стенки и корпус имеет резьбу на своей внешней поверхности.
Согласно еще одному варианту настоящего изобретения внутренняя поверхность боковой стенки наклонена так, что радиус крышки в нижней части внутренней поверхности больше радиуса в верхней части внутренней поверхности.
Согласно еще одному варианту настоящего изобретения корпус имеет углубление для плотной посадки на своей внешней поверхности, а крышка имеет выступ и соответствующее углубление для плотной посадки на внутренней поверхности этого корпуса.
Согласно еще одному варианту настоящего изобретения выступ больше соответствующего углубления.
Согласно еще одному варианту настоящего изобретения корпус имеет вогнутую часть на своей внешней поверхности, а крышка имеет выпуклую часть на своей внутренней поверхности.
Согласно еще одному варианту настоящего изобретения корпус имеет охватывающий замковый элемент на своей внешней поверхности, а крышка имеет входящий замковый элемент на своей внутренней поверхности.
Согласно еще одному варианту настоящего изобретения крышка имеет первую часть и вторую часть, причем указанные первая и вторая части соединены вместе, и в них размещена часть корпуса, которая фиксирует эндотрахеальную трубку.
Согласно еще одному варианту настоящего изобретения первая часть имеет выступ, а вторая часть имеет углубление для плотной посадки.
Согласно еще одному варианту настоящего изобретения выступ больше соответствующего углубления.
Согласно еще одному варианту настоящего изобретения первая часть имеет вогнутую часть, а вторая часть имеет выпуклую часть.
Согласно еще одному варианту настоящего изобретения первая часть имеет входящий замковый элемент, а вторая часть имеет охватывающий замковый элемент.
Согласно еще одному варианту настоящего изобретения верхняя обойма отделена от корпуса, и корпус имеет выступы на своей внешней поверхности, причем верхняя обойма может перемещаться по внешней поверхности корпуса с тем, чтобы она могла быть приспособлена к пациентам с различными формами зубов и внутренней части рта.
Согласно еще одному варианту настоящего изобретения корпус имеет резьбу на своей внешней поверхности, верхняя обойма имеет резьбу на своей внутренней поверхности и верхняя обойма может скользить по внешней поверхности корпуса с возможностью фиксации на этой поверхности.
Согласно еще одному варианту настоящего изобретения устройство дополнительно содержит элемент поддержки дыхательных путей, соединенный с нижней обоймой, который держит дыхательные пути открытыми.
Согласно еще одному варианту настоящего изобретения элемент поддержки дыхательных путей имеет полую часть, в которую вставляется эндотрахеальная трубка, и обойму, примыкающую к одной стороне полой части.
Согласно еще одному варианту настоящего изобретения верхняя обойма имеет множество универсальных отверстий.
Согласно еще одному варианту настоящего изобретения нижняя обойма имеет множество универсальных отверстий.
Согласно еще одному варианту настоящего изобретения крышка имеет направляющую поверхность в своей нижней части.
Согласно еще одному варианту настоящего изобретения нижняя обойма имеет шарообразную форму так, что нижняя обойма сжимается в ходе вставления и извлечения устройства и указанная нижняя обойма наполняется газом, когда устройство фиксирует эндотрахеальную трубку.
Согласно еще одному варианту настоящего изобретения верхняя обойма имеет множество универсальных отверстий.
Согласно еще одному варианту настоящего изобретения, каждая из верхней и нижней обойм имеет вогнутую часть.
Согласно еще одному варианту настоящего изобретения вогнутая часть круглая или овальная.
Согласно еще одному варианту настоящего изобретения, корпус имеет вырез для вставления в него трубки, которая используется для наполнения манжеты газом.
Согласно еще одному варианту настоящего изобретения вырез имеет размер меньше диаметра трубки.
Согласно еще одному варианту настоящего изобретения корпус имеет вырезы.
Согласно еще одному варианту настоящего изобретения крышка имеет боковую стенку с наклонной внутренней поверхностью.
Согласно еще одному варианту настоящего изобретения крышка частично соединена с корпусом.
КРАТКОЕ ОПИСАНИЕ ЧЕРТЕЖЕЙ
Эти и другие цели изобретения могут быть лучше поняты при чтении следующего подробного описания со ссылками на сопровождающие чертежи, на которых:
Фигура 1 – перспективное изображение эндотрахеальной трубки и шприца, используемого для надувания манжеты.
Фигура 2 – вид сбоку на эндотрахеальную трубку, интубированную в пациента.
Фигуры 3 и 4 – виды в частичном разрезе, иллюстрирующие манжету после расширения и перед расширением.
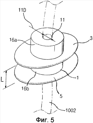
Фигура 5 – перспективное изображение фиксирующего устройства для фиксации эндотрахеальной трубки согласно одному варианту настоящего изобретения.
Фигуры 6 и 7 – вид в разрезе и перспективное изображение фиксирующего устройства для фиксации эндотрахеальной трубки согласно еще одному варианту настоящего изобретения.
Фигура 8 – перспективное изображение фиксирующего устройства для фиксации эндотрахеальной трубки с верхней обоймой и нижней обоймой согласно еще одному варианту настоящего изобретения.
Фигура 9 – перспективное изображение фиксирующего устройства для фиксации эндотрахеальной трубки с другими верхними и нижними обоймами согласно еще одному варианту настоящего изобретения.
Фигура 10 – перспективное изображение фиксирующего устройства для фиксации эндотрахеальной трубки, имеющего нижнюю обойму, согласно еще одному варианту настоящего изобретения.
Фигура 11 – перспективное изображение фиксирующего устройства для фиксации эндотрахеальной трубки согласно еще одному варианту настоящего изобретения.
Фигуры 12-16 – перспективные изображения, иллюстрирующие эндотрахеальную трубку, фиксирующего устройства для фиксации согласно различным другим вариантам настоящего изобретения.
Фигура 17 – перспективное изображение фиксирующего устройства для фиксации эндотрахеальной трубки, имеющего верхнюю обойму, которая передвигается по выступам, сформированным на нем, согласно еще одному варианту настоящего изобретения.
Фигура 18 – вид в разрезе на устройство фиксации эндотрахеальной трубки фигуры 17.
Фигура 19 – перспективное изображение фиксирующего устройства для фиксации эндотрахеальной трубки, имеющего верхнюю обойму, которая перемещается по резьбе, выполненной на этом устройстве согласно еще одному варианту настоящего изобретения.
Фигура 20 – перспективное изображение фиксирующего устройства для фиксации эндотрахеальной трубки, имеющего элемент поддержки дыхательных путей, согласно еще одному варианту настоящего изобретения.
Фигура 21 – вид в разрезе по линии А-А фигуры 20 фиксирующего устройства для фиксации эндотрахеальной трубки.
Фигура 22 – перспективное изображение фиксирующего устройства для фиксации эндотрахеальной трубки, имеющего универсальные отверстия в верхней обойме и нижней обойме согласно еще одному варианту настоящего изобретения.
Фигура 23 – перспективное изображение фиксирующего устройства для фиксации эндотрахеальной трубки, имеющего вогнутые части, выполненные в верхней обойме и нижней обойме этого устройства согласно еще одному варианту настоящего изобретения.
Фигура 24 – перспективное изображение фиксирующего устройства для фиксации эндотрахеальной трубки, имеющего шарообразную нижнюю обойму, согласно еще одному варианту настоящего изобретения.
Фигура 25 – перспективное изображение фиксирующего устройства для фиксации эндотрахеальной трубки, имеющего вырез согласно еще одному варианту настоящего изобретения.
Фигура 26 – перспективное изображение фиксирующего устройства для фиксации эндотрахеальной трубки, имеющего крышку согласно еще одному варианту настоящего изобретения.
Фигура 27 – перспективное изображение фиксирующего устройства для фиксации эндотрахеальной трубки, имеющего вырезы согласно еще одному варианту настоящего изобретения.
Фигуры 28-33 – перспективные изображения, иллюстрирующие фиксирующее устройство для фиксации эндотрахеальной трубки, имеющие крышки различной формы согласно различным другим вариантам настоящего изобретения.
Фигура 34 – фиксирующее устройство согласно еще одному варианту настоящего изобретения.
Фигуры 35-37 – перспективные изображения, иллюстрирующие крышки, которые разделены на две части, причем край одной части соединен с краем другой части при сборке этих двух частей согласно данным вариантам настоящего изобретения.
Фигуры 38-40 – перспективные изображения, иллюстрирующие крышки, которые разделены на две части согласно еще одному варианту настоящего изобретения.
Фигура 41 – вид спереди на устройство фиксации эндотрахеальной трубки по настоящему изобретению, которое может двигаться по зубам пациента.
Фигура 42 – вид сбоку в разрезе на устройство фиксации эндотрахеальной трубки по настоящему изобретению, которое размещено в пациенте.
Фигура 43 – вид сбоку в разрезе на устройство фиксации эндотрахеальной трубки, имеющее элемент поддержки дыхательных путей по настоящему изобретению, помещенный в пациента.
ПОДРОБНОЕ ОПИСАНИЕ ИЗОБРЕТЕНИЯ
Ниже подробно описываются варианты настоящего изобретения со ссылкой на сопровождающие чертежи.
На фигуре 5 показано устройство фиксации эндотрахеальной трубки согласно одному варианту настоящего изобретения, которое имеет корпус 1, верхнюю обойму 3 и нижнюю обойму 5, которые, в основном, выполнены в виде диска и окружают корпус 1.
Корпус 1 имеет полость, определяющее установочное отверстие 11, через которое вводится эндотрахеальная трубка, и предпочтительно имеет форму пустотелого цилиндра. Диаметр 11D установочного отверстия 11 должен быть определен по диаметру d эндотрахеальной трубки, которая вставляется в это отверстие. Диаметры 11D различных вариантов настоящего изобретения различны, как будет описано ниже более подробно.
Корпус также имеет первую часть 16а, которая выступает из верхней обоймы 3, и вторую часть 16b между верхней обоймой 3 и нижней обоймой 5. Первая часть 16а, выступающая из верхней обоймы 3, выступает и из зубов пациента после фиксации эндотрахеальной трубки и позволяет верхней обойме 3 двигаться по первой части 16а, чтобы соответствовать различной форме зубов или рта пациента, которые различны у разных пациентов.
Вторая часть 16b между верхней и нижней обоймами 3 и 5 входит в контакт с зубами пациента, после фиксации эндотрахеальной трубки. Длина второй части 16b изменяется по мере того, как верхняя обойма 3 перемещается по корпусу 1.
Поскольку вторая часть 16b полая и предпочтительно имеет форму пустотелого цилиндра, который входит в контакт с зубами пациента в процессе фиксации эндотрахеальной трубки, вторая часть 16b предпочтительно изготавливается из материала с достаточной жесткостью, чтобы предотвратить сжатие эндотрахеальной трубки, если пациент сознательно или подсознательно с силой кусает вторую часть 16b. Таким образом, стенка эндотрахеальной трубки не блокируется от прохода воздуха через нее. Однако также необходимо выбрать материал, который не повреждал бы зубы пациента.
Кроме того, вторая часть 16b предпочтительно имеет определенную длину L так, что верхняя обойма 3 расположена с возможностью контакта с передней поверхностью зубов, в то время как нижняя обойма 5 расположена так, что входит в контакт с задней поверхностью зубов, предотвращая, таким образом, фиксирующее устройство от перемещения назад и вперед, например в направлении С, показанном на фигуре 42, в то же время разрешая фиксирующему устройству двигаться в поперечном направлении, например в направлении В, показанном на фигуре 41.
Поскольку пациент не в состоянии укусить вторую часть 16b, чтобы предотвратить любое движение фиксирующего устройства для фиксации эндотрахеальной трубки, можно облегчить работу дантистов или пластических хирургов при операциях на внутренней части рта, или работу отоларинголога при операции на миндалинах, перемещая устройство по настоящему изобретению по зубам пациента, если это необходимо.
Как упомянуто выше, традиционно отсасывание выполняется, используя место, остающееся после вставления прикусного шаблона. Однако при обычном способе фиксации эндотрахеальной трубки такое отсасывание не может быть эффективно выполнено, потому что трудно гарантировать достаточно места для выполнения всасывания, также как перемещать эндотрахеальную трубку, если это потребуется в конкретном случае. Настоящее изобретение решает эту проблему путем создания фиксирующего устройства, которое передвигается по зубам пациента.
На фигуре 6 видно, что эндотрахеальная трубка вставляется в установочное отверстие 11, используя дополнительный установочный элемент 100, причем диаметр d эндотрахеальной трубки меньше диаметра 11D установочного отверстия 11.
Фактически диаметр 11D установочного отверстия точно соответствует диаметру d эндотрахеальной трубки. Однако, даже если диаметр d меньше диаметра 11D установочного отверстия 11, дополнительный установочный элемент 100, вставленный между эндотрахеальной трубкой и стенкой установочного отверстия 11, предотвращает возможное перемещение вставленной эндотрахеальной трубки.
Форма дополнительного установочного элемента 100 не ограничена. Например, при неотложной помощи в качестве дополнительного установочного элемента 100 может быть использована бумага.
На фигуре 7 показан самоклеющийся элемент 200, используемый для предотвращения перемещения эндотрахеальной трубки, когда диаметр d эндотрахеальной трубки меньше диаметра 11D установочного отверстия 11. Самоклеющийся элемент 200 обмотан вокруг трубчатого элемента 1002 эндотрахеальной трубки и затем крепится к фиксирующему устройству по настоящему изобретению.
Тип самоклеющегося элемента 200 также не ограничен. Например, можно использовать липкую ленту.
На фигурах 8-10 показаны различные варианты верхней обоймы 3 и нижней обоймы 5 в соответствии с другими вариантами настоящего изобретения.
Верхняя обойма 3 обращена к передней стороне зубов пациента и видима с внешней стороны, в то время как нижняя обойма 5 обращена к задней поверхности зубов и не видима с внешней стороны. Обе обоймы 3 и 5 вместе предотвращают фиксирующее устройство по настоящему изобретению от движения назад и вперед и, таким образом, не позволяют интубированной эндотрахеальной трубке двигаться назад и вперед, при разрешении движения по сторонам зубов, чтобы при необходимости облегчить чистку или отсасывание жидкости внутри рта.
Как видно из фигур 8 и 9, верхняя обойма 3 и нижняя обойма 5 могут быть круглыми, овальными или в виде пропеллера, при этом обе обоймы 3 и 5 имеют отверстие, в которое вставляется корпус 1.
Овальная обойма предпочтительно используется в случае большого универсального отверстия, которое будет обсуждено ниже. Круглая обойма желательна для расширения диапазона движения фиксирующего устройства по настоящему изобретению. Обойма с лопастями в виде пропеллера с расширенной поверхностью, обращенной к зубам, полезна для более прочной фиксации интубированной эндотрахеальной трубки.
На фигуре 10 показан другой вариант нижней обоймы 5. Нижняя обойма 5 на фигуре 10 имеет гладкую изогнутую поверхность так, что фиксирующее устройство по настоящему изобретению может снизить вероятность непроизвольного вынимания пациентом вставленного фиксирующего устройства и, таким образом, устранить рвоту пациента. Нижняя обойма 5 на фигуре 10 также имеет отверстие, в которое вставлен корпус 1. Верхняя обойма 3 может иметь форму нижней обоймы 5 на фигуре 10, хотя такая форма, вероятно, будет менее пригодна для верхней обоймы 3, чем для нижней обоймы 5.
На фигуре 11 показано фиксирующее устройство согласно еще одному варианту настоящего изобретения. Изображенное на фигуре 11 фиксирующее устройство имеет корпус 1, который разделен на две части, т.е. первый корпус 1а и второй корпус 1b. Край первого корпуса 1а соединен с краем второго корпуса 1b.
В этом варианте также предпочтительно разделить каждую из верхней обоймы 3 и нижней обоймы 5 на две части, соответственно вместе с первым корпусом 1а и вторым корпусом 1b.
Первый корпус 1а имеет выступ 13а для соединения первого корпуса 1а со вторым корпусом 1b, в котором для этой цели предусмотрено углубление для плотной посадки, в которое входит выступ для плотной посадки 13b.
Корпус 1 может иметь любое число выступов плотной посадки 13а и углублений плотной посадки 13b любой формы, которая обеспечивает плотную посадку вставного выступа 13а в углубление 13b, чтобы соединить первый корпус 1а со вторым корпусом 1b. Принимая во внимание, что фиксирующее устройство по настоящему изобретению может быть выполнено как одноразовое медицинское средство, предпочтительно, чтобы выступ 13а был бы больше углубления 13b, чтобы обеспечить плотную посадку выступа 13а в углубление 13b.
На фигуре 12, вместо выступа плотной посадки 13а и углубления плотной посадки 13b, корпус 1 имеет вогнутую часть 15b и выпуклую часть 15а. Такой способ соединения первого корпуса 1а со вторым корпусом 1b, в основном, известен как соединение типа защелки и не нуждается в подробном объяснении.
На фигуре 13, вместо выступа плотной посадки 13а и углубления плотной посадки 13b, корпус может иметь входящий замковый элемент 17а и охватывающий замковый элемент 17b. Такой способ соединения первого корпуса 1а со вторым корпусом 1b вместе, в основном, известен как соединение типа защелки. Соединение типа защелки традиционно используется, например, при вставлении аккумуляторной батареи в корпус сотового телефона. В настоящем изобретении входящий замковый элемент 17а с усилием вставляется в охватывающий замковый элемент 17b, в результате чего первый корпус 1а прочно соединяется со вторым корпусом 1b.
Хотя на фигурах 11-13 соответственно показаны первый корпус 1а, имеющий выступ для плотной посадки 13а, выпуклую часть 15а и входящий замковый элемент 17а, и второй корпус 1b, имеющий углубление для плотной посадки 13b, вогнутую часть 15b и охватывающий замковый элемент 17b, можно также изменить месторасположение соответствующих соединительных элементов на обратное.
Когда первый и второй корпусы 1а и 1b соединены вместе согласно вариантам, изображенным на фигурах 11-13, после соединения первого и второго корпусов 1 и 1b формируется установочное отверстие 11. Предпочтительно, чтобы диаметр 11D установочного отверстия 11 был бы меньше диаметра d эндотрахеальной трубки с тем, чтобы при нажатии на вставленный трубчатый элемент 1002 эндотрахеальная трубка была установлена прочно без дополнительных элементов фиксации. Очевидно, что возможны и другие механизмы фиксации в вышеупомянутых вариантах.
На фигурах 14-16 первый корпус 1а и второй корпус 1b полностью разделены на две части и затем эти две части соединены вместе, используя вышеупомянутые варианты, чтобы закрепить интубированную эндотрахеальную трубку. Выступ 13а, вогнутая часть 15а и входящие элементы замка 17а могут быть приспособлены таким же образом, как описано выше, так что детали их описания могут быть опущены.
На фигуре 17 верхняя обойма 3 может перемещаться по внешней поверхности корпуса 1. Внешняя поверхность корпуса 1 имеет выступы 18, а верхняя обойма 3 соединена с корпусом так, что между корпусом 1 и верхней обоймой 3 оставлено свободное пространство.
Причина, по которой верхняя обойма 3 сделана подвижной относительно корпуса 1, заключается в том, что каждый пациент имеет свою собственную форму зубов и внутренней части рта. Если верхняя обойма 3 отделена от нижней обоймы 5 на слишком большое расстояние, трудно фиксировать интубированную эндотрахеальную трубку. Аналогичным образом, если расстояние между верхней и нижней обоймами 3 и 5 слишком мало, то зубы пациента не могут быть вставлены между этими двумя обоймами. Соответственно, путем создания подвижности верхней обоймы 3 фиксирующее устройство по настоящему изобретению позволяет верхним и нижним обоймам 3 и 5 войти в контакт с зубами, когда вторая часть 16b корпуса 1 входит в контакт с зубами, и это обеспечивает надежную фиксацию интубированной эндотрахеальной трубки, в то время как само устройство фиксации подвижно относительно зубов пациента.
Конкретно, эта цель может быть достигнута регулировкой верхней обоймы 3 после ввода фиксирующего устройства в рот пациента. Также можно использовать фиксирующее устройство в различных медицинских ситуациях без необходимости его изготовления на заказ для конкретного пациента.
Предпочтительно внешняя поверхность корпуса 1 отделена от верхней обоймы 3 на такое расстояние, что верхняя обойма 3 могла бы быть подвинута к корпусу без значительных усилий. Также можно ограничить диапазон перемещения верхней обоймы 3, делая одни выступы 18 выступающими на большую величину, чем другие выступы 18, расположенные между верхней и нижней обоймами. Предпочтительно, чтобы верхняя обойма 3 могла бы перемещаться по внешней поверхности корпуса 1, вынуждая верхнюю обойму 3 пройти мимо выступа 18.
На фигуре 18 верхняя обойма 3 предпочтительно имеет часть 31, которая соответствует выступу 18. Например, если выступ 18 является выпуклым, верхняя обойма 3 имеет вогнутую часть 31, чтобы соответствовать выступу 18. При форме верхней обоймы 3, соответствующей форме выступа 18, верхняя обойма 3 легко перемещается по этому выступу.
На фигуре 19 внутренняя поверхность обоймы 3 соединена с внешней поверхностью корпуса 1, где корпус 1 имеет резьбу на своей внешней поверхности, в то время как верхняя обойма 3 соответственно имеет резьбу на своей внутренней поверхности. Верхняя обойма 3 может быть навинчена на резьбу 19а на внешней поверхности корпуса 1 так, что верхняя обойма 3 может перемещаться в продольном направлении корпуса 1.
Здесь размер и форма верхней обоймы 3 должны соответствовать строению рта пациента с тем, чтобы вращение верхней обоймы 3 внутри рта не могло бы быть блокировано. Как и выступ 18 на корпусе 1, резьба 19а частично выполнена на внешней поверхности корпуса, чтобы ограничить диапазон перемещения верхней обоймы 3.
На фигуре 20 показано фиксирующее устройство согласно еще одному варианту настоящего изобретения, которое содержит элемент поддержки дыхательных путей 7, соединенный с нижней обоймой 5. Элемент поддержки дыхательных путей 7, который используется, чтобы удержать язык пациента от блокирования дыхательных путей во время хирургической операции, в частности при оказании неотложной медицинской помощи, может быть элементом обычной конструкции. Элемент поддержки дыхательных путей 7 не только поддерживает дыхательные пути пациента более надежно, но он также предотвращает пациента от сознательного или бессознательного выталкивания языком фиксирующего устройства.
Кроме того, при неотложной помощи, когда очень важно поддерживать дыхательные пути пациента, элемент поддержки дыхательных путей 7 позволяет устройству по настоящему изобретению обеспечить безопасность дыхательных путей пациента и надежно закрепить эндотрахеальную трубку без потери какого-либо из преимуществ настоящего изобретения.
Поскольку эндотрахеальная трубка требуется для прохождения через элемент поддержки дыхательных путей 7 настоящего изобретения, элемент поддержки дыхательных путей 7 предпочтительно имеет полую часть 73, в которую вставляется трубчатый элемент 1002. Полая часть 73 предпочтительно цилиндрическая с осью в центре дыхательных путей, осью которых является элемент 7.
Элемент поддержки дыхательных путей 7 может также иметь одну или несколько обойм 71. Предпочтительно иметь две обоймы 71, каждая из которых является смежной полой частью 73, чтобы увеличить поверхность контакта между обоймами 71 и языком пациента, который должен находиться в стороне от его дыхательных путей.
На фигуре 22 фиксирующее устройство по настоящему изобретению имеет множество универсальных отверстий 31 и 51. Хотя одна или обе из верхней и нижней обойм 3 и 5 могут иметь универсальные отверстия, на фигуре 22 показаны универсальные отверстия 31 и 51, выполненные на обоих кольцах 3 и 5. Универсальные отверстия 31 верхней обоймы 3 служат для вставления в них дополнительного элемента, который помогает фиксировать эндотрахеальную трубку более надежно или облегчает отсасывание из полости рта. Хотя в фиксирующем устройстве по настоящему изобретению эндотрахеальная трубка может быть интубирована даже без универсальных отверстий, эти отверстия обеспечивают более надежную фиксацию.
Кроме того, в обычном способе было очень трудно выполнять отсасывание, которое требуется при хирургической операции на внутренней части рта или миндалин, или потому что дополнительный отсасыватель должен быть расположен вокруг интубированной эндотрахеальной трубки, или потому что было необходимо вынуть эндотрахеальную трубку. Универсальные отверстия решают и эту проблему.
Иными словами, дополнительный элемент, например фиксирующая лента, связанная с универсальными отверстиями 31, фиксирует эндотрахеальную трубку более надежно при выполнении хирургической операции на пациенте, например, в наклонном положении, когда имеется большая вероятность смещения интубированной эндотрахеальной трубки. Например, фиксирующая лента вставлена в универсальные отверстия 31 и обмотана вокруг шеи пациента после того, как эндотрахеальная трубка установлена в отверстии 11.
Также необходимо, чтобы универсальные отверстия 31 имели диаметр, достаточно большой для вставления отсасывающего устройства. Обычно для того, чтобы удалить посторонние жидкости из внутренней части рта или дыхательных путей при осуществлении хирургической операции, нужно открепить вставленную эндотрахеальную трубку. Однако универсальные отверстия 31 по настоящему изобретению, в которые может быть вставлен отсасывающий элемент, позволяют выполнять отсасывание без открепления интубированной эндотрахеальной трубки. Здесь нет ограничения по числу универсальных отверстий, хотя на фигуре 22 показаны только два универсальных отверстия 31.
Универсальные отверстия 51 в нижней обойме 5 могут выполнять ту же функцию, что и универсальные отверстия 31 верхней обоймы 3. Однако универсальные отверстия 51 нижней обоймы 5 предпочтительно используются только для поддержки отсасывающего элемента, поскольку в них нельзя вставить фиксирующую ленту.
На фигуре 23 вместо универсальных отверстий 31 и 51 используются вогнутые части 33 и 53. Вогнутые части 33 и 53 служат для вставления в них прибора типа бронхоскопа, имеющего диаметр, слишком большой, чтобы его можно было вставить в универсальные отверстия 31 и 51. Вогнутые части 33 и 53, соответственно предусмотренные на верхней обойме 3 и нижней обойме 5, при необходимости могут быть выполнены на одной стороне обойм.
На фигуре 24 показано фиксирующее устройство согласно еще одному варианту настоящего изобретения, в котором имеется шар 6 вместо нижней обоймы 5. Шар 6 сжимается при вставлении фиксирующего устройства. Шар 6 играет ту же роль, что и нижняя обойма 5 после того, как он будет раздут воздухом, вводимым шприцем или подобным приспособлением.
Раздутый шар 6 блокирует поступление посторонних веществ или слюны в дыхательные пути. Он также предотвращает распыление анестезирующего средства в воздухе и обеспечивает его поступление в тело пациента, как это необходимо для создания желательного эффекта анестезии.
Поскольку манжета 1003 на фигуре 1 имеет трубку 1004 и клапан 1005 для ее раздувания, шар 6 также может быть снабжен трубкой для его надувания и клапаном для подачи воздуха в трубку. Эти элементы не показаны на чертежах. На фигуре 25 на круглой поверхности корпуса 1 выполнена приемная канавка 12 согласно еще одному варианту настоящего изобретения. В приемной канавке 12 размещается трубка 1004, как показано на фигуре 1, для раздувания манжеты 1003, при этом трубка 1004 соединяет клапан 1005 с манжетой 1003.
Если трубчатый элемент 1002 объединен с трубкой 1004, приемная канавка 12 не является необходимой. Однако, когда только трубчатый элемент 1002 вставляется в установочное отверстие 11, и затем трубка 1004 соединяет клапан 1005 с манжетой 1003, легче заполнить манжету 1002 газом, вставив трубку 1004 в вырез 12.
На фигуре 26 фиксирующее устройство согласно еще одному варианту настоящего изобретения содержит крышку 9. Крышка 9 имеет форму пустотелого цилиндра, имеющего отверстие 91 для вставления в него эндотрахеальной трубки, и в нем размещается первая часть 16а корпуса 1.
Диаметр крышки 9 может быть меньше диаметра первой части 16а. В этом случае первая часть 16а может быть вставлена в крышку 9 с определенным усилием, поскольку крышка 9 сделана из деформируемого эластичного материала, например каучука или полиуретана. Вставленная эндотрахеальная трубка 1002 может быть надежно закреплена сжатием установочного отверстия 11 в результате сжатия первой части 16а, вызванного давлением, приложенным к крышке 9. Такой эластичный материал может быть применен и других вариантах настоящего изобретения.
На фигуре 27 первая часть 16а может иметь прорези 14. Первая часть 16а прижимается к прорезям 14 давлением крышки, которая вставляет первую часть 16а путем вдавливания первой части 16а в крышку 9.
Таким образом, трубчатый элемент 1002 надежно крепится к первой части 16а. Этот вариант не требует, чтобы материал крышки был эластичным, в отличие от варианта, показанного на фигуре 26.
Вырезы 14 применимы к любым вариантам настоящего изобретения и их дальнейшее описание в последующих вариантах опущено.
На фигурах 28-33 показаны различные варианты крышки 9. На фигуре 28 крышка 9 имеет резьбу 92а на ее круглой внутренней поверхности. В этом случае внешняя поверхность первой части 16а имеет резьбу 161, соответствующую резьбе 92а. Посредством такой резьбы первая часть 16а и крышка 9 могут быть легко и надежно соединена вместе.
На фигуре 29 крышка 9 может иметь наклонную поверхность 92b внутри ее боковой стенки. Радиус крышки в нижней части наклонной поверхности 92b больше радиуса верхней части наклонной поверхности так, что соединение первой части 16а с крышкой 9 закрепляет эндотрахеальную трубку более надежно. Наклонная поверхность 92 может также иметь резьбу, чтобы фиксировать интубированную эндотрахеальную трубку более надежно.
Как показано на фигурах 30-32, крышка 9 может содержать соответствующий выступ 93а для плотной посадки, выпуклую часть 94а или входящий замковый элемент 95а. Как показано в фигурах 30-32, первая часть 16а вместе с крышкой 9 содержит соответственно углубление для плотной посадки 93b, вогнутую часть 94b или охватывающий замковый элемент 95b. Выступ для плотной посадки 93а, выпуклая часть 94а или входящий замковый элемент 95а обеспечивает соединение крышки 9 с первой частью 16а.
Также возможен вариант, в котором крышка 9 содержит вырез для плотной посадки, вогнутую часть или охватывающий замковый элемент, которые здесь не показаны, тогда как первая часть 16а могла бы содержать выступ для плотной посадки, выпуклую часть или входящий замковый элемент, которые здесь также не показаны.
Крышка 9 и первая часть 16а могут быть соединены вместе тем же самым способом, что и в предыдущих вариантах, включая плотную посадку выступа 93а в вырез 93b, соединение типа нажимной защелки между выпуклой и вогнутой частями 94а и 94b и замковым соединением между охватываемым и охватывающим замковыми элементами 95а и 95b.
На фигуре 33 основание крышки 9 имеет направляющую поверхность
92 с. Направляющая поверхность 92 с входит в контакт с краем корпуса 1, когда крышка 9 соединяется с корпусом 1, обеспечивая точное расположение крышки 9 по отношению к корпусу 1.
На фигуре 34 показано фиксирующее устройство согласно еще одному варианту настоящего изобретения. Часть крышки 9 шарнирно соединена с частью корпуса 1 с помощью ремня 15 путем создания различных видов соединения крышки 9 и первой части 16а, как показано в предыдущих вариантах. Этот вариант, в котором крышка 9 частично соединена с корпусом 1, обеспечивает определенные преимущества, например предотвращает потерю крышки 9.
На фигурах 35-37 крышка 9 разделена на две части, включая первую часть 9а и вторую часть 9b. При этом первая часть 9а соответственно имеет выступ для плотной посадки 96а, выпуклую часть 97а или входящий замковый элемент 98а.
Соответственно, вторая часть 9b на фигуре 35 имеет вырез для плотной посадки 96b, вогнутую часть 97b на фигуре 36 и охватывающий замковый элемент 98b на фигуре 37. Край второй части 9b, по меньшей мере, частично входит в контакт с краем первой части 9а. Первая и вторая части 9а и 9b могут быть соединены вместе тем же способом, что описан в предыдущих вариантах, включая выступ для плотной посадки 96а и углубление 96b, соединение типа защелки между выпуклой и вогнутой частями 97а и 97b и замковое соединение между охватываемым и охватывающим элементами 98а и 98b.
В дополнение к разделению крышки 9 на две части 9а и 9b и соединению этих двух частей вместе посредством элемента соединения диаметр 91D отверстия 91 крышки 9, как показано на фигуре 12а, может быть меньше диаметра d эндотрахеальной трубки, чтобы обеспечить эластичное деформирование первой части 16а усилием при вставке эндотрахеальной трубки в отверстие 91. Вырезы 14 или резьба в предыдущих вариантах применимы и к этому варианту.
На фигурах 38-40 крышка 9 полностью разделена на первую и вторую части 9а и 9b, и затем эти две части собраны вместе таким же образом, как и на фигурах 35-37, подробности опущены.
Диаметр внутренней поверхности крышки 9, как показано в фигурах 35-40, является предпочтительно меньше, чем диаметр внешней поверхности первой части 16а с тем, чтобы первая часть 16а корпуса могла быть усилием соединена с крышкой 9, в то время как первая и вторая части 9а и 9b собраны вместе. В этом случае также отметим, что крышка 9 на фигурах 35-40 может быть соединена с первой частью 16а тем же способом, который описан в предыдущих вариантах, включая соединение плотной посадкой типа защелки и замковое соединение, детали которого здесь опущены.
Теперь опишем способ использования фиксирующего устройства согласно одному варианту настоящего изобретения. Среди различных вариантов настоящего изобретения способ использования фиксирующего устройства описывается на основе фиксирующего устройства, имеющего крышку 9, например, как показано на фигурах 41 и 43. Однако отметим, что возможности настоящего изобретения не ограничиваются одним этим примером.
Сначала корпус 1 вставляется в рот пациента при неотложной помощи, когда необходима хирургическая операция внутри рта. При вставлении корпуса 1 основание верхней обоймы 3 должно входить в контакт с передней поверхностью зубов пациента, в то время как верхняя часть нижней обоймы 5 входит в контакт с задней поверхностью зубов, регулируя длину второй части 16b так, чтобы вторая часть соответственно входила в контакт с зубами. Затем, после определения точной глубины ввода эндотрахеальной трубки, используя ларингоскоп или тому подобное устройство, трубчатый элемент 1002 вставляется в отверстие 91 крышки 9 и установочное отверстие 11 корпуса 1.
Когда эндотрахеальная трубка вставлена на нужную глубину, например, на глубину, когда манжета выходит на 1-2 см из голосовой щели, эндотрахеальная трубка временно фиксируется, раздувая манжету 1003 воздухом с помощью шприца через клапан 1005. Затем крышка 9 и первая часть 16а соединяются вместе, например, вращая крышку 9 по резьбе на корпусе 1. Кроме того, возможна более прочная фиксация, когда крышка 9 имеет наклонную поверхность 92b, первая часть 16b изготовлена из эластичного материала или первая часть имеет вырезы 14b. Фиксация происходит благодаря тому, что первая часть 16а сжимается винтовым соединением и установочное отверстие 11 также сжимается и, таким образом, круглая внешняя поверхность эндотрахеальной трубки надежно фиксируется.
Соответственно, когда резьбовое соединение крышки 9 и корпуса 1 завершено, трубчатый элемент 1002 надежно крепится к корпусу 1 с тем, чтобы нижняя обойма 5 контактировала с задней поверхностью зубов Т, тогда как верхняя обойма 3 контактирует с передней поверхностью зубов Т. Таким образом, корпус 1 фиксирующего устройства не может перемещаться назад и вперед, например в направлении С, показанном на фигуре 42, в то время как он поддерживает нужное местоположение вставленной эндотрахеальной трубки, даже если пациент сознательно или бессознательно попробует извлечь вставленную эндотрахеальную трубку. Соответственно, эндотрахеальная трубка устанавливается надежно, и манжета 1003 может быть раздута точно до той степени, при которой она предотвращает обратную утечку кислорода или анестезирующего средства и воспаление горла, которое может иметь место из-за перекачки манжеты.
Как описано выше, фиксирующее устройство по настоящему изобретению может двигаться от одной стороны к другой, например в направлении В, показанном на фигуре 41. Таким образом, фиксирующее устройство по настоящему изобретению обеспечивает большее пространство для выполнения хирургической операции дантистами, пластическими хирургами или отоларингологами и обеспечивает более легкое отсасывание во время такой хирургической операции.
Кроме того, фиксирующее устройство, снабженное элементом поддержки дыхательных путей 7, как показано на фигуре 43, расширяет поверхность контакта между обоймами 71 и языком пациента и, таким образом, предотвращает вращение языка и соответственно предотвращает изменение местоположения эндотрахеальной трубки.
Как ясно следует из вышеупомянутого описания, настоящее изобретение предлагает фиксирующее устройство, которое обеспечивает более надежное крепление эндотрахеальной трубки с помощью крышки и корпуса, чем манжета и липкая лента, и снижает вероятность того, что вставленная эндотрахеальная трубка может переместиться и выйти из заданного положения, даже если пациент, сознательно или бессознательного, касается вставленной эндотрахеальной трубки.
Кроме того, настоящее изобретение обеспечивает устройство, которое фиксирует эндотрахеальную трубку в нужном положении без использования липкой ленты, чтобы предотвратить контакт с кожей. Настоящее изобретение также позволяет одному человеку быстро и точно закрепить эндотрахеальную трубку, поскольку эндотрахеальная трубка может быть легко вставлена в отверстие крышки и в установочное отверстие корпуса при интубации и легко может быть закреплена в корпусе, вращая крышку так, что стоимость всей операции и затраты труда снижаются и врач в критических ситуациях действует более эффективно.
Кроме того, настоящее изобретение обеспечивает устройство, которое закрепляет интубированную эндотрахеальную трубку более надежно без перекачки манжеты и поддерживает эндотрахеальную трубку точно в установленном положении, когда трубка используется при выполнении хирургической операции на внутренней части рта или при хирургической операции на пациенте, находящемся в наклонном положении.
Вместе с тем настоящее изобретение обеспечивает устройство, которое позволяет закрепить эндотрахеальную трубку более надежно благодаря универсальному отверстию, в котором размещен дополнительный элемент фиксации, и обеспечивает более простое и более легкое отсасывание, когда оно необходимо.
Кроме того, настоящее изобретение обеспечивает устройство, которое может перемещаться по зубам пациента с тем, чтобы вставленная эндотрахеальная трубка могла быть перемещена без ее извлечения, и позволяет надежно закрепить эндотрахеальную трубку заново.
Далее, настоящее изобретение обеспечивает фиксирующее устройство для фиксации эндотрахеальной трубки, которое поддерживает дыхательные пути пациента без использования дополнительных элементов для поддержания дыхательных путей.
Кроме того, настоящее изобретение обеспечивает фиксирующее устройство для фиксации эндотрахеальной трубки, которое точно и безопасно закрепляет эндотрахеальную трубку и соответственно предотвращает осложнение типа воспаления горла, предотвращая чрезмерное расширение манжеты.
Хотя здесь описано несколько конкретных вариантов настоящего изобретения, специалисты в данной области понимают, эти варианты могут быть модифицированы без выхода их из духа и объема настоящего изобретения, возможности которого определены в изложенной ниже формуле изобретения.
Формула изобретения
1. Устройство для фиксации эндотрахеальной трубки, содержащее: корпус, имеющий установочное отверстие; верхнюю обойму на периферии корпуса и нижнюю обойму на периферии корпуса, при этом нижняя обойма отделена от верхней обоймы для обеспечения расположения зубов пациента между нижней обоймой и верхней обоймой, верхняя обойма отделена от корпуса, корпус имеет выступы на верхней поверхности, при этом верхняя обойма выполнена с возможностью перемещения по внешней поверхности корпуса и адаптации для пациента с различной формой зубов и внутренней части рта, крышка имеет вогнутую часть, а вогнутая часть содержит часть корпуса для фиксации эндотрахеальной трубки после того, как эндотрахеальная трубка вставлена в установочное отверстие.
2. Устройство по п.1, в котором: корпус содержит первую часть, выступающую из первой обоймы, причем первая часть имеет вырезы.
3. Устройство по п.2, в котором крышка имеет наклонную боковую стенку, причем радиус крышки в ее нижней части больше радиуса в ее верхней части.
4. Устройство по п.1, в котором крышка имеет резьбу на внутренней поверхности ее боковой стенки, а корпус имеет резьбу на его внешней поверхности.
5. Устройство по п.4, в котором внутренняя поверхность боковой стенки наклонена, а радиус крышки в нижней части внутренней поверхности больше радиуса в верхней части внутренней поверхности.
6. Устройство по п.1, в котором корпус имеет вырез для плотной посадки на своей внешней поверхности, а крышка имеет выступ для плотной посадки, соответствующий углублению для плотной посадки на своей внутренней поверхности.
7. Устройство по п.6, в котором выступ для плотной посадки больше углубления для плотной посадки.
8. Устройство по п.6, в котором корпус имеет прорези.
9. Устройство по п.1, в котором корпус имеет вогнутую часть на своей внешней поверхности, а крышка имеет выпуклую часть на своей внутренней поверхности.
10. Устройство по п.9, в котором корпус имеет прорези.
11. Устройство по п.1, в котором корпус имеет охватывающий замковый элемент на своей внешней поверхности, а крышка имеет входящий замковый элемент на своей внутренней поверхности.
12. Устройство по п.11, в котором корпус имеет прорези.
13. Устройство по п.1, в котором крышка имеет первую часть и вторую часть, причем первая часть и вторая часть соединены вместе, а часть корпуса размещена в них для закрепления эндотрахеальной трубки.
14. Устройство по п.13, в котором корпус имеет прорези.
15. Устройство по пп.13 и 14, в котором первая часть имеет выступ плотной посадки, а вторая часть имеет вырез для плотной посадки.
16. Устройство по п.15, в котором выступ плотной посадки больше, чем вырез для плотной посадки.
17. Устройство по п.1, в котором первая часть имеет вогнутую часть, а вторая часть имеет выпуклую часть.
18. Устройство по п.13, в котором первая часть имеет входящий замковый элемент, а вторая часть имеет охватывающий замковый элемент.
19. Устройство по п.1, в котором крышка имеет направляющую поверхность.
20. Устройство по п.1, в котором крышка имеет боковую стенку с наклонной внутренней поверхностью.
21. Устройство по п.1, в котором крышка частично соединена с корпусом.
22. Устройство по п.1, содержащее дополнительный установочный элемент, который выполнен с возможностью установки в установочное отверстие после того, как эндотрахеальная трубка вставлена в это установочное отверстие.
23. Устройство по п.1, дополнительно содержащее самоклеящийся элемент, в котором: самоклеящийся элемент выполнен с возможностью соединения корпуса и эндотрахеальной трубки вместе после того, как эндотрахеальная трубка вставлена в установочное отверстие.
24. Устройство по п.1, в котором: корпус содержит первый корпус и второй корпус, причем первый корпус и второй корпус соединены вместе, для закрепления эндотрахеальной трубки после того, как эндотрахеальная трубка вставлена в установочное отверстие.
25. Устройство по п.24, в котором первый корпус содержит выступ для плотной посадки, а второй корпус содержит вырез для плотной посадки.
26. Устройство по п.25, в котором выступ для плотной посадки больше выреза для плотной посадки.
27. Устройство по п.24, в котором первый корпус содержит вогнутую часть, а второй корпус содержит выпуклую часть.
28. Устройство по п.24, в котором первый корпус содержит входящий замковый элемент, а второй корпус содержит охватывающий замковый элемент.
29. Устройство по п.1, в котором: корпус имеет резьбу на своей внешней поверхности, верхняя обойма имеет резьбу на своей внутренней поверхности; верхняя обойма выполнена с возможностью скольжения по внешней поверхности корпуса и с возможностью фиксации на этой поверхности.
30. Устройство по п.1, дополнительно содержащее элемент поддержки дыхательных путей, который соединен с нижней обоймой.
31. Устройство по п.30, в котором элемент поддержки дыхательных путей содержит полую часть, в которую вставляется эндотрахеальная трубка, и обойму, примыкающую к одной стороне полой части.
32. Устройство по п.1, в котором верхняя обойма имеет множество отверстий.
33. Устройство по п.31, в котором нижняя обойма имеет множество отверстий.
34. Устройство по п.1, в котором: нижняя обойма имеет шарообразную форму; нижняя обойма выполнена с возможностью обжима в ходе вставления и извлечения устройства, а нижняя обойма выполнена с возможностью наполняться газом в процессе фиксации эндотрахеальной трубки указанным устройством.
35. Устройство по п.33, в котором верхняя обойма имеет множество отверстий.
36. Устройство по п.1, в котором каждая из верхней и нижней обойм имеет вогнутую часть.
37. Устройство по п.35, в котором вогнутая часть имеет круглую или овальную форму.
38. Устройство по п.1, в котором корпус имеет вырез для плотной посадки вставляемой в него трубки, которая используется для наполнения газом манжеты эндотрахеальной трубки.
39. Устройство по п.38, в котором диаметр выреза для плотной посадки меньше диаметра трубки.
РИСУНКИ
|