|
|
(21), (22) Заявка: 2007105682/14, 15.02.2007
(24) Дата начала отсчета срока действия патента:
15.02.2007
(43) Дата публикации заявки: 20.08.2008
(46) Опубликовано: 20.05.2009
(56) Список документов, цитированных в отчете о поиске:
ОСИПОВ Л.В. Индивидуальные ультразвуковые и компрессорные ингаляторы. – М.: Изомед, 2003. RU 2149030 C1, 20.05.2000. RU 2008938 C1, 15.03.1994. WO 0021598 A, 20.04.2000.
Адрес для переписки:
127422, Москва, ул. Тимирязевская, 1, ООО “ИЗОМЕД”, Генеральному директору Л.В. Осипову
|
(72) Автор(ы):
Осипов Лев Васильевич (RU), Гревцов Алексей Васильевич (RU), Жулев Геннадий Васильевич (RU)
(73) Патентообладатель(и):
Осипов Лев Васильевич (RU), Гревцов Алексей Васильевич (RU), Жулев Геннадий Васильевич (RU)
|
(54) СПОСОБ ПОДОГРЕВА АЭРОЗОЛЯ В КОМПРЕССОРНЫХ ИНГАЛЯТОРАХ
(57) Реферат:
Изобретение относится к медицинской технике, а именно к ингаляционной терапии. Сущность предлагаемого способа состоит в том, что в распылительной камере, работающей от действия сжатого газа, подаваемого через сопло штуцера, и в которой лекарственная жидкость всасывается в зону сопла через узкие каналы, подогрев аэрозоля производится непосредственно в зоне прохождения лекарственного раствора, а сами узкие щелевые каналы образованы штуцером, являющимся элементом нагревателя, и колпачком, располагаемым снаружи. При повышении температуры нагревателя выше определенного уровня подогрев прекращают до тех пор, пока температура не достигает установленного уровня за счет остывания нагревателя. Технический результат – повышение электробезопасности, обеспечение стерилизации камеры и сокращение времени выхода на установившийся режим нагрева аэрозоля. 1 з.п. ф-лы, 4 ил.
Изобретение относится к медицинской технике, а именно к ингаляционной терапии (аэрозольтерапии) и может быть использовано в пульмонологии, оториноларингологии, фтизиатрии и других медицинских областях, где применяются компрессорные ингаляторы.
Компрессорные ингаляторы являются наиболее распространенным типом медицинских ингаляторов, предназначенных для аэрозольтерапии. С целью создания аэрозоля в них используют компрессор для сжатия газа. Сжатый газ через гибкий шланг подают в распылительную камеру, состоящую из закрытого стаканчика, штуцера, колпачка, отражателя и загубника. Сжатый газ (чаще всего воздух), под давлением поступающий в штуцер, выходит в узкое отверстие (сопло) штуцера. В результате на выходе сопла скорость истечения воздуха резко возрастает, что приводит к локальному падению давления воздуха. Под воздействием разрежения жидкий лекарственный раствор по узким подводящим каналам, образующимся между наружной поверхностью штуцера и колпачком, надетым на штуцер, поступает к выходу сопла, где смешивается с воздушным потоком и распадается на отдельные частицы. На выходе устанавливают отражатель, который может быть частью колпачка; назначение отражателя – разбивать крупные частицы на более мелкие, которые с потоком воздуха в виде аэрозоля через загубник подают к пациенту.
Основным недостатком компрессорных ингаляторов является то, что в процессе создания аэрозоля происходит его охлаждение и снижение температуры по сравнению с температурой окружающей среды за счет дроссельного эффекта Джоуля-Томсона. Указанное снижение температуры достигает величины 4÷5 град, что приводит к нежелательным последствиям для пациентов, т.к. ингаляционная процедура с охлажденным аэрозолем является некомфортной. Подогрев аэрозоля повышает комфортность проведения процедуры и принципиально необходим для пациентов с выраженной бронхоидальной анафилаксией (повышенной чувствительностью) к холодовым раздражителям.
Известны способы и устройства, предназначенные для подогрева лекарственного аэрозоля в компрессорных ингаляторах (Осипов Л.В. «Индивидуальные ультразвуковые и компрессорные ингаляторы». М.: ИзоМед, 2003 г., стр.32-33).
Особенностью известных способов является использование электрических нагревателей, которые обеспечивают нагрев непосредственно аэрозоля после его формирования в распылительной камере (небулайзере) ингалятора.
В способе, применяемом в компрессорных ингаляторах «Пари терм» (1998 by Pan GmbH, Spezialisten fur effective Inhalation O41DO110 2/99), подогрев аэрозоля осуществляют с помощью нагревательного элемента с гофрированной поверхностью, который помещают в распылительную камеру и подсоединяют к питающему напряжению с помощью кабеля, выходящего через верх распылительной камеры рядом с загубником.
Недостатками указанного способа подогрева аэрозоля являются следующие:
1. Наличие кабеля питания нагревательного элемента возле загубника, вставляемого в рот пациента. Это требует принятия специальных мер обеспечения электробезопасности и доставляет неудобство при проведении процедуры ингаляции.
2. Отсутствие возможности стерилизации или полноценной дезинфекции нагревательного элемента, который находится внутри распылительной камеры и на котором могут осаждаться инфицированные продукты выдоха пациента.
3. Необходимость в достаточно продолжительном времени выхода на установившийся температурный режим в силу того, что нагрев осуществляется через газовую среду, плохо проводящую тепло.
4. Уменьшение точности дозирования лекарственного препарата, поступающего в виде аэрозоля к пациенту, вследствие неконтролируемого осаждения капель лекарственного раствора на поверхности нагревательного элемента в процессе прохождения мимо него аэрозоля.
Технический результат, достигаемый при использовании настоящего изобретения, заключается в обеспечении электробезопасности, повышении удобства проведения процедуры ингаляции, обеспечении стерилизации распылительной камеры вместе с нагревательным элементом, а также сокращении времени выхода на установившийся режим нагрева аэрозоля и повышении точности дозирования лекарственного препарата.
Сущность заявленного изобретения состоит в том, что в способе подогрева аэрозоля в компрессорном ингаляторе, включающем сжатие газа в компрессоре, подачу сжатого газа через гибкий шланг в штуцер распылительной камеры и создание разрежения на выходе узкого сопла штуцера для поступления под действием разрежения лекарственного раствора, залитого в распылительную камеру, по узким каналам к выходу сопла штуцера, где в результате смешивания с исходящим потоком газа лекарственный раствор превращают в струю аэрозоля, которую направляют на отражатель и после этого через загубник направляют к пациенту, согласно настоящему изобретению лекарственный раствор в процессе его прохождения через узкие каналы к выходу сопла штуцера подогревают с помощью электрического нагревателя, обеспечивающего нагрев наружной поверхности штуцера и располагаемого внизу распылительной камеры.
Изобретение предусматривает, что при повышении температуры нагревателя выше определенного уровня подогрев прекращают до тех пор, пока температура не достигнет установленного уровня за счет остывания нагревателя.
Технический результат достигается за счет предварительного нагрева тонкого слоя лекарственного раствора в процессе поступления раствора к выходу сопла штуцера перед превращением лекарственного раствора в лекарственный аэрозоль.
Это позволяет:
– повысить удобство пользования ингалятором и обеспечить необходимый уровень требований электробезопасности за счет расположения электронагревателя и кабеля питания внизу распылительной камеры;
– обеспечить возможность стерилизации или дезинфекции распылительной камеры после подогрева;
– уменьшить время выхода на режим, обеспечивающий повышенную температуру аэрозоля за счет быстрого нагрева тонкого слоя лекарственного раствора в узких каналах между нагретой поверхностью штуцера и колпачком;
– увеличить точность дозирования лекарственного препарата, поступающего в виде лекарственного препарата к пациенту вследствие отсутствия дополнительных поверхностей внутри распылительной камеры, на которых может осаждаться неконтролируемое количество аэрозоля.
Сущность настоящего изобретения поясняется примером реализации патентуемого способа нагрева аэрозоля и чертежами, на которых представлены:
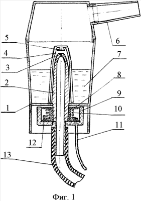
Фиг.1 – чертеж распылительной камеры, включая вариант нагревателя, реализующего предлагаемый способ.
Фиг.2 – чертеж другого варианта нагревателя для распылительной камеры, изображенной на Фиг.1.
Фиг.3 – фотография экспериментального образца устройства, изображенного на Фиг.1.
Фиг.4 – графики изменения температуры аэрозоля в зависимости от времени для экспериментальных образцов вариантов, показанных на Фиг.1 и Фиг.2 (получены в результате технических испытаний).
Способ нагрева осуществляют с помощью устройства (Фиг.1), которое входит в состав компрессорного ингалятора, состоящего из корпуса распылительной камеры 1, штуцера 2 с узким выходным отверстием 3 (соплом) в верхней части, колпачком 4 с отражателем 5 возле выхода сопла, загубника 6 и гибкого шланга 13. Для функционирования ингалятора гибкий шланг 13 подсоединяют к компрессору и в распылительную камеру наливают лекарственный раствор 7, после чего включают компрессор. В качестве компрессорного ингалятора может быть использован любой серийно выпускаемый аппарат, например, аппарат «Elisir», производимый фирмой Flaem Nuova (Италия).
Вместо пластмассового штуцера, обычно используемого в серийно выпускаемых ингаляторах, используется металлический штуцер, нижний конец которого, выходящий за пределы распылительной камеры, имеет коническую форму, что позволяет надевать на него и снимать с него нагревающее устройство. Нагревающее устройство включает в себя металлическую катушку 8, внутреннее отверстие которой имеет коническую форму, обратную конической форме нижней части штуцера, для обеспечения хорошего поверхностного контакта с целью снижения тепловых потерь при передаче тепла от катушки 8 к штуцеру 2. На металлическую катушку 8 сверху наматывают провод 10, концы которого подсоединяют к кабелю питания 11, соединенному с источником электрического напряжения. Для уменьшения излучения тепла от катушки 8 с проводом 10 в воздух катушку помещают в чашку 9, которую изготавливают из материала с хорошими теплоизолирующими свойствами.
Дополнительно на катушке 8 закрепляют термочувствительный элемент 12, который соединяют со схемой отключения питания, размещаемой вместе с источником питающего электрического напряжения.
Предлагаемый способ нагрева аэрозоля реализуют следующим образом.
В распылительную камеру 1 компрессорного ингалятора заливают необходимое количество лекарственного раствора 7, после чего включают компрессор и одновременно с ним подают электрическое напряжение на провод 10 нагревателя. Провод нагревается под действием электрического тока, тепло передается катушке 8 и через нее контактирующей с ней нижней части штуцера 2, в результате чего весь штуцер нагревается.
В процессе функционирования компрессорного ингалятора лекарственный раствор 7 под действием разрежения поступает снизу к верхней части штуцера 2 по узким каналам, образующимся между наружной поверхностью штуцера 2 и внутренней поверхностью колпачка 4, надетого на штуцер. Соприкасаясь с нагретой поверхностью штуцера, тонкий слой лекарственного раствора 7 быстро нагревается и поступает к соплу 3 штуцера 2 в нагретом виде. При образовании аэрозоля происходит его охлаждение по сравнению с температурой подаваемого лекарственного раствора, однако вследствие того, что он был предварительно нагрет, на выходе загубника 6, соединенного с распылительной камерой 1, температура аэрозоля будет выше температуры окружающей среды. Так при температуре нагрева слоя лекарственного раствора 7 в узких каналах между штуцером 2 и колпачком 4, достигающей 40-45 град. Цельсия, температура аэрозоля на выходе загубника 6 составляет 30-35 град. Цельсия, что обеспечивает комфортное вдыхание аэрозоля пациентом.
Изобретение предусматривает, что при повышении температуры нагрева выше определенной величины нагреватель отключают от питающего напряжения. Это достигается тем, что при повышении температуры выше указанной величины по сигналу от термочувствительного элемента 12 срабатывает схема отключения питающего напряжения, в результате чего нагрев прекращается, и температура нагревателя уменьшается за счет естественного процесса остывания. Необходимость в отключении питающего напряжения возникает в случае, когда в распылительной камере заканчивается лекарственный раствор, а также в случае, когда пользователь включает компрессорный ингалятор, забыв предварительно налить лекарственный раствор 7 в распылительную камеру 1.
На Фиг.2 показан еще один вариант устройства, осуществляющего предлагаемый способ нагрева аэрозоля.
Вариант на Фиг.2 отличается от ранее описанного варианта, показанного на Фиг.1 тем, что вместо металлического штуцера 2 и нагревательного элемента, включающего в себя катушку 8, провод 10 и чашку 9, используют штуцер 2, закрепленный в распылительной камере с проводом 10, армированным в тело штуцера 2 и располагаемым близко к наружной поверхности штуцера 2. Провод 10 подсоединяют к кабелю питания 11 через герметичный разъем 14. На штуцер 2 надевается колпачок, аналогичный колпачку 4 с отражателем 5, изображенными на Фиг.1 (на Фиг.2 не показаны).
Для изготовления штуцера в этом варианте используют материал с хорошими электроизоляционными и теплоизоляционными свойствами и только для наружной поверхности штуцера используют материал с хорошей теплопроводностью или металлизацию для обеспечения лучшей передачи тепла от нагреваемого провода 10 к тонкому слою лекарственного раствора 7, контактирующего с поверхностью штуцера 2.
Заявителем были изготовлены экспериментальные образцы устройств, реализующих предлагаемый способ нагрева и изображенных на Фиг.1 и Фиг.2. На Фиг.3 показана фотография экспериментального образца устройства, чертеж которого дан на Фиг.1.
На Фиг.4 приведены графики изменения температуры аэрозоля на выходе загубника в зависимости от времени после включения компрессорного ингалятора. Графики получены в процессе технических испытаний экспериментальных образцов устройств, показанных на Фиг.1 и Фиг.2. Сплошной линией изображен график изменения температуры для варианта устройства, показанного на Фиг.1, пунктирной линией изображен график для варианта устройства, показанного на Фиг.2. И в том и другом случае обеспечивается высокая скорость нагрева и короткое время выхода на установившийся режим.
Формула изобретения
1. Способ подогрева аэрозоля в компрессорном ингаляторе путем сжатия газа в компрессоре, подачи сжатого газа через гибкий шланг в штуцер распылительной камеры и создания разрежения на выходе сопла штуцера для поступления под действием разрежения к выходу сопла штуцера по узким каналам между штуцером и колпачком, надетым на штуцер, лекарственного раствора, залитого в распылительную камеру, смешивания лекарственного раствора с исходящим потоком газа над нагревательным устройством с образованием аэрозоля, отличающийся тем, что нагревательное устройство подогревает штуцер и через него тонкий слой лекарственного раствора, проходящего по узким каналам между штуцером и колпачком, до температуры 40-45°С, а при образовании аэрозоля в распылительной камере его температура на выходе загубника составляет 30-35°С.
2. Способ по п.1, отличающийся тем, что при повышении температуры нагревателя выше определенного уровня подогрев прекращают до тех пор, пока температура не достигнет установленного уровня за счет остывания нагревателя.
РИСУНКИ
|
|