|
|
(21), (22) Заявка: 2005104940/14, 15.08.2003
(24) Дата начала отсчета срока действия патента:
15.08.2003
(30) Конвенционный приоритет:
23.08.2002 CH 1452/02
(43) Дата публикации заявки: 27.05.2006
(46) Опубликовано: 20.05.2009
(56) Список документов, цитированных в отчете о поиске:
US 5163960 А, 17.11.1992. ЕР 1199049 А, 14.03.1990. DE 19741087 А, 08.04.1999. SU 1792652 A1, 07.02.1993.
(85) Дата перевода заявки PCT на национальную фазу:
23.03.2005
(86) Заявка PCT:
CH 03/00550 20030815
(87) Публикация PCT:
WO 2004/017857 20040304
Адрес для переписки:
117393, Москва, а/я 279, “Константин Шилан и Ко.”, пат.пов. К.А.Шилану, рег. 367
|
(72) Автор(ы):
МАЙЕР Йорг (CH), АЕШЛИМАНН Марсель (CH), ТОРРИАНИ Лоран (CH)
(73) Патентообладатель(и):
ВУДВЕЛДИНГ АГ (CH)
|
(54) ИМПЛАНТАТ ДЛЯ ИМПЛАНТАЦИИ В КОСТНУЮ ТКАНЬ ИЛИ В КОСТНУЮ ТКАНЬ, ДОПОЛНЕННУЮ МАТЕРИАЛОМ-ЗАМЕНИТЕЛЕМ КОСТИ
(57) Реферат:
Группа изобретений, включающая варианты имплантата и способа имплантации, относится к области медицины и может быть использована для имплантации в костную ткань человека или животного, или в костные ткани, дополненные материалом-заменителем кости. Варианты имплантата имеют, по крайней мере, часть поверхности, входящей в контакт с костной тканью, которая включает поверхностные зоны первого типа и поверхностные зоны второго типа. Поверхностные зоны второго типа включают материал, который разжижается механическими колебаниями и при помощи которого имплантат стабилизируется, по крайней мере, первично, или включают отверстия во внутреннюю зону имплантата, через которые продавливается разжижаемый материал. Поверхностные зоны первого типа выполнены с возможностью обеспечения содействия оссео-интеграции, или с возможностью обеспечения электрической или химической стимуляции. Поверхностные зоны первого и второго типов расположены так, что тянутся друг за другом и параллельно направлению имплантации. Варианты способа позволяют установить имплантат без его существенного смещения при имплантации механическими колебаниями. Поверхностные зоны первого типа остаются, по крайней мере, частично свободными от имплантации, а поверхностные зоны второго типа обеспечивают выполнение клинической функции путем воздействия на костную ткань сразу же после отверждения. Технический результат – возможность нагружения имплантата непосредственно после имплантации, повышение первичной устойчивости, возможности прохода частиц или молекул в имплантат или из него, а также электрической и химической стимуляции. 4 н. и 29 з.п. ф-лы, 16 ил.
Изобретение лежит в области медицинской технологии и относится к имплантату согласно вводной части первого независимого пункта формулы изобретения. Имплантат имплантируется в костную ткань человека или животного, или в костные ткани, дополненные материалом-заменителем кости.
Имплантатом по настоящему изобретению является, например, зубной имплантат, который, принимая на себя функцию естественного зубного корня, имплантируется в челюстную кость, и фиксации искусственной зубной коронки, моста или зубного протеза включает, например, на своем проксимальном конце место фиксации, которое после имплантации располагается в зоне костной поверхности. Зубной имплантат может обеспечить полную замену зуба, то есть в дополнение к зоне корня может также иметь имплантируемую зону коронки. Имплантат может выполнять разные функции и может подходить для имплантации в кость другого человека или животного. Вообще говоря, имплантат служит для соединения костной ткани с другой тканью, в частности с другой костной частью, или с искусственной частью, которая может усиливать или заменять часть кости (например, искусственный сустав) или зуб, или это может быть терапевтическое вспомогательное устройство (например, устройство удаления лекарственного средства, устройство дренажа или стимулирующее устройство для электрической или химической стимуляции). Сам имплантат может быть таким терапевтическим вспомогательным устройством, или он может служить для замены отсутствующей костной ткани или возможно регенерируемой костной ткани (например, после удаления опухоли), или это может быть элемент приращения для наращивания естественной кости требуемым способом.
Согласно существующему состоянию сменные структуры зуба (отдельные зубы, группы зубов, частичные протезы или полные протезы) на основе вышеупомянутых зубных имплантатов, имеющих места фиксации, устанавливаются, например, следующим образом: после удаления естественного зубного корня следует подождать пока отверстие в челюстной кости не заполнится естественно регенерированной костной тканью. В зоны регенерированной костной ткани выполняется отверстие под имплантат. В это отверстие устанавливается имплантат, при этом глубина отверстия должна быть достаточной для размещения всего имплантата, который поэтому не выходит за пределы отверстия. Внутренняя резьба, определяющая место фиксации на проксимальной грани имплантата, закрывается резьбовым колпачком. Десна сходится над резьбовым колпачком и следует подождать, пока имплантат не врастет в костную ткань и не приобретет устойчивость (вторичная устойчивость), достаточную для ожидаемой нагрузки. Затем на следующем этапе десна раскрывается над имплантатом, и резьбовой колпачок заменяется дистанционирующим устройством, при этом дистанционирующее устройство выходит за пределы десны. Сменная структура зуба фиксируется на имплантате только тогда, когда десна вокруг дистанционирующего устройства заживет. Описанная вкратце процедура лечения для пациента длится от двенадцати до восемнадцати месяцев, из которых два-три месяца приходятся на период между имплантацией и моментом, когда костная ткань зарастает вокруг имплантата, или имплантат врастает в костную ткань так, что приобретает достаточную устойчивость для восприятия нагрузки.
Первого периода ожидания (регенерация костных тканей в отверстии челюстной кости) можно избежать или его можно укоротить, если использовать имплантаты, конфигурация которых как можно точнее отвечает отверстию, что, например, описано в заявке США 6132214 (Сухонен и др. (Suhonen)).
Согласно существующему состоянию зубные имплантаты обычно состоят из чистого титана или из титанового сплава. Эти материалы обладают очень хорошей биологической совместимостью, и существуют разные известные конструкции поверхностей, которые еще больше улучшают интеграцию костной ткани. Очень часто имплантаты также включают макроскопические структуры, которые позволяют костным тканям врастать в имплантат или прорастать через него. Однако устойчивость этих известных зубных имплантатов только соответствует полной нагрузке после обеспечения полной интеграции костной ткани, то есть только, когда они вплотную обрастают костной тканью или врастают в нее, или костная ткань прорастает через них (вторичная устойчивость). В остеопоротической или мягкой кости, а также в плохо регенерируемой костной ткани, например пожилых пациентов, может случиться так, что нельзя обеспечить достаточной устойчивости имплантатов.
Первичная устойчивость вышеописанных зубных имплантатов, то есть их устойчивость непосредственно после имплантации, очень ограничена. По этой причине между имплантацией и дальнейшим наращиванием добавляется вышеупомянутое время ожидания. Первичная устойчивость упомянутых имплантатов различна для имплантатов, имеющих разную конфигурацию, но в большинстве случаев ее не достаточно для полного нагружения. Имплантаты типа резьбового штифта имеют ограничения при нагружении растяжением или сжатием, и возможно поперечными силами, в частности, когда имплантируются так, что, по крайней мере, один виток резьбы находится в корковой зоне кости. Их едва можно нагружать кручением. Имплантаты, сечение которых не круглое, то есть сечение которых отвечает форме естественного зубного корня, более устойчивы при нагружении кручением, но менее устойчивы при нагружении растяжением. То же самое относится к пластинчатым зубным имплантатам, которые могут также включать множество мест фиксации.
Недостаточная способность известных зубных имплантатов воспринимать нагрузку сразу же после имплантации привела бы к достаточно большой подвижности имплантата относительно костной ткани при нагружении, что послужило бы задержке или даже препятствовало бы интеграции костной ткани. Однако немедленное нагружение имплантатов желательно не только для сокращения продолжительности лечения, но также и во избежание атрофии челюстной кости вследствие ненагружения, то есть для стимулирования интеграции костной ткани посредством микродвижений (не превышающих физиологически приемлемый уровень) между имплантатом и костной тканью, что достижимо только при нагружении устойчивого имплантата.
Согласно существующему состоянию первичная устойчивость, в частности способность штифтовых имплантатов к нагружению растяжением и сжатием, увеличивается при использовании соответственно выполненной резьбы (США 3499222), выступающих наружу элементов (например, США 5766009, ЕР 1184006) или подобных обойме элементов. Анкерные имплантаты, используемые, в частности, для фиксации проволочных лигатур, или швов, снабжены поверхностными структурами типа зазубрин (США 4360343) для увеличения первичной и вторичной устойчивости при нагружении растяжением. Однако эти усовершенствования не позволяют нагружать имплантаты сразу же после имплантации.
Поэтому целью настоящего изобретения является имплантат для имплантации в костную ткань, или в костную ткань, дополненную материалом-заменителем кости, который обладает очень хорошей первичной устойчивостью, так, что, например, способен к нагружению сразу же после имплантации, который к тому же способен обеспечивать выполнение других клинических функций, например интеграцию костной ткани, проход частиц или молекул в имплантат или из него (доставка или дренаж), электрическую или химическую стимуляцию и т.д., и все это сразу же после имплантации. Первичная устойчивость не должна ограничивать выполнение имплантатом других клинических функций. Если имплантат, например, несет нагрузку, то есть если это, например, зубной имплантат, то он должен нагружаться насколько можно без ограничений сразу же после имплантации или, по крайней мере, значительно раньше, чем было принято для известных имплантатов, при этом, однако, интеграция костной ткани (еще одна клиническая функция) происходит в значительной мере беспрепятственно, то есть начинается сразу же после имплантации так, что можно полностью использовать вышеупомянутое положительное влияние на интеграцию костной ткани, вызванное ранним нагружением. Кроме того, ни имплантат по настоящему изобретению, ни его имплантация не должны быть значительно более сложными, чем это имеет место в случае современных имплантатов.
Настоящая цель достигается имплантатом, как это определено в пунктах формулы изобретения.
Поверхности имплантата по настоящему изобретению, которые должны контактировать с костной тканью, или вокруг которых должна, например, вырастать костная ткань, или которые должны прорастать костной тканью, включают зоны первого типа и зоны второго типа, отличные от поверхностных зон первого типа.
Поверхностные зоны первого типа обеспечивают известным образом выполнение одной или большего числа предварительно заданных клинических функций. Примерами таких клинических функций является стимуляция или, по крайней мере, обеспечение интеграции костной ткани для обеспечения хорошей вторичной устойчивости, доставка терапевтически эффективных составов в ткань, окружающую имплантат, удаление нежелательных составов из ткани, окружающей имплантат (дренаж), или электрическая или химическая стимуляция ткани, окружающей имплантат.
Например, для несущего имплантата поверхностные зоны первого типа включают, например, структуры, подходящие для устойчивого врастания в костную ткань или прорастания живой костной тканью, и они, по крайней мере, имеют отношение к биологически активной интеграции костной ткани. Кроме того, через поверхностные зоны первого типа можно доставлять соединения, обладающие, например, эффектами интеграции костной ткани, подавляющие воспаление, поражающие инфекцию, стимулирующие рост, или эти поверхности могут обеспечивать прохождение терапевтически эффективных стимулирующих импульсов.
Поверхностные зоны первого типа являются, например, биологически совместимыми поверхностями (например, из титана), и они могут включать структуры, которые подходят для врастания в костные ткани. Такие поверхности могут также покрываться материалом, включающим фосфат кальция, они могут быть модифицированы, например, фосфонатами или пептидными последовательностями, и/или они могут включать гели или полимеры, содержащие, например, факторы роста.
Поверхностные зоны второго типа предназначены для обеспечения первичной устойчивости. Для этой цели эти зоны включают материал, который может разжижаться механическими колебаниями, то есть материал, обладающий термопластичными свойствами (термопласт или композит, включающий термопластичный компонент), или тиксотропический цемент, при этом во время имплантации разжижаемый материал разжижается механическими колебаниями (например, ультразвуковыми колебаниями) и вдавливается в неровности, поры или конфигурации, специально выполненные в костных тканях, окружающих имплантат.
Материал, составляющий поверхностные зоны второго типа, образует часть внешней поверхности имплантата уже перед имплантацией, или он располагается на внутренней части имплантата, и во время имплантации он выдавливается в разжиженном состоянии через соответствующие отверстия на внешнюю поверхность имплантата, где создает локальные поверхностные зоны второго типа.
Для того, чтобы разжиженный материал поверхностных зон второго типа мог вдавливаться при имплантации в костные ткани, поверхностные зоны второго типа располагаются так, чтобы при установке имплантата в кость они контактировали с костной тканью. Это означает, например, что поверхностные зоны второго типа выходят, по крайней мере, локально за пределы поверхностных зон первого типа, или они расположены на краях имплантата, выступах и т.д. Для имплантатов, содержащих материал, образующий поверхностные зоны второго типа внутри, соответственным образом расположены отверстия для выдавливания через них разжиженного материала.
Поверхностные зоны этих двух типов расположены так и размеры разжижаемого материала и/или размеры разжижения выдерживаются так, чтобы поверхностные зоны второго типа оставались насколько можно свободными от разжиженного материала. Это дает гарантию того, что даже сразу же после имплантации не создаются препятствия для дальнейшего выполнения клинических функций зонами первого типа, или эти препятствия в значительной степени допустимы. К тому же сразу же после имплантации достижима, например, не только беспрепятственная интеграция костной ткани поверхностных зон первого типа, но и отсутствие всяких задержек такой интеграции.
Для имплантатов, которые во время имплантации перемещаются относительно костных тканей в направлении имплантации, разделение двух типов поверхностных зон достигается путем расположения этих двух типов поверхностных зон рядом друг с другом и параллельно направлению имплантации.
Так же, как и известные имплантаты, имплантат по настоящему изобретению имплантируется в отверстие, специально выполненное под имплантат возможно в заранее регенерированной костной ткани, например челюстной кости, при этом данное отверстие может вмещать имплантат целиком (корневую зону), или при этом имплантат как саморез может вводиться в костную ткань глубже, чем это позволяет отверстие. Например, отверстие может только касаться коркового слоя кости или же при соответствующей конструкции имплантата можно обойтись вообще без отверстия. Например, имплантат по настоящему изобретению может быть точной копией удаленного естественного корня неправильной формы, отвечающей форме полости в кости, и имплантироваться сразу же в эту полость.
Например, имплантат по настоящему изобретению является зубным имплантатом формы штифта или естественного зубного корня с местом фиксации на его проксимальном конце (например, глухое отверстие с внутренней резьбой или место, в котором зубной хирург может создать такое глухое отверстие) или зоной искусственной коронки. Дистальный конец имплантата может иметь форму резца и/или снабжаться боковыми самонарезными или прорезными конструкциями. У него может быть также форма пластины, диска или лопасти и быть одно или более мест фиксации, или он может быть в форме анкера, к которому, например, может крепиться провод или шов.
Имплантат по настоящему изобретению состоит из одной части и включает вышеназванные, разные поверхностные зоны, которые, например, состоят из разных материалов, или он содержит разжижаемый материал внутри и включает отверстия, через которые разжижаемый материал вдавливается с внешней стороны в имплантат. Имплантат может также состоять из двух или множества частей, при этом, чтобы сформировать имплантат, хирург соединяет эти две части или большее число частей из разных материалов.
Для имплантации имплантат по настоящему изобретению помещается в отверстие в кости (или костной ткани, дополненной материалом-заменителем кости), например в челюстной кости, и затем к нему прикладываются механические колебания, например ультразвук, и одновременно он прижимается к кости. Это приводит к тому, что разжижается, по крайней мере, часть разжижаемого материала и вдавливается в поры, поверхностные неровности и/или выполненные конфигурации окружающих костных тканях, где после отверждения между имплантатом и окружающей костной тканью, или возможно материалом-заменителем кости, образуется плотное механическое соединение. В зависимости от конструкции имплантата одновременно с разжижением он может задвигаться в костную ткань (в направлении имплантации).
Для приложения механических колебаний к установленному имплантату на его проксимальный конец, например, устанавливается сонотрод ультразвукового аппарата. Эксперименты показали, что хорошие результаты достигаются при мощности от 0,2 до 20 Вт на квадратный миллиметр активной поверхности. Частота колебаний составляет от 2 до 200 кГц.
Несущие имплантаты по настоящему изобретению (например, зубные имплантаты) включают, например, центральную часть имплантата с поверхностными зонами первого типа, выполненными, например, из металла (например, из стали, титана, сплавов кобальта-хрома), керамики или стеклоподобного материала (например, из оксида алюминия, оксида циркония, керамики или стекла из фосфата кальция), из термореактивных или высокотемпературных термопластичных полимеров (арилкетонов на основе простого полиэфира, полифтор- или полихлорэтиленов, имидов на основе простого полиэфира, сульфонов на основе простого полиэфира, поливинилхлоридов, полиуретанов, полисульфонов, полиэфиров) или из композита (например, высокотемпературного термопласта, армированного углеродными волокнами). Такие имплантаты также включают периферийную часть имплантата из разжижаемого материала, например материала с термопластичными свойствами. Разжижаемый материал может также помещаться с внутренней части полой, центральной части имплантата, при этом стенки центральной части имплантата имеют сквозные отверстия, через которые под влиянием механических колебаний продавливается разжиженный материал, чтобы образовать поверхностные зоны второго типа с внешней стороны стенок. Части имплантата могут соединяться друг с другом фирмой-изготовителем или хирургом непосредственно перед имплантацией или во время имплантации.
Имплантаты по настоящему изобретению, которые не несут нагрузку (например, имплантаты, выполняющие функцию доставки, функцию дренажа или стимулирующую функцию), могут также включать центральную часть имплантата и периферийную часть имплантата, при этом периферийная часть имплантата состоит, по крайней мере, частично из разжижаемого материала, при этом механическая устойчивость (функция по восприятию нагрузки), обязательная для имплантации, может восприниматься периферийной частью имплантата, центральная же часть имплантата обладает очень небольшой механической устойчивостью. В качестве такой центральной части имплантата может применяться, например, проницаемый контейнер, например, из пористого фосфата кальция, или из другого материала-заменителя кости, обладающего небольшой механической устойчивостью или из тонкой мембраны, при этом доставка или дренаж или стимуляция осуществляются через стенку контейнера. Центральная часть имплантата может быть также телом, например, из пористого фосфата кальция или из другого материала-заменителя кости и выполняет функцию инициации формирования или содействия формированию отсутствующей или дополнительно требуемой костной ткани. Разжижаемый материал может находиться внутри центральной части имплантата, и после разжижения он выдавливается через соответствующие отверстия на внешнюю поверхность центральной части имплантата, даже если эта часть имплантата обладает небольшой механической устойчивостью.
Имплантат по настоящему изобретению может также состоять из одного единственного материала, который может в то же самое время удовлетворять требованиям механической прочности имплантата и, возможно, места фиксации, требованиям, определяемым дальнейшими клиническими функциями поверхностных зон первого типа (например, биологическая интеграция или вторичная устойчивость соответственно), и требованию разжижаемости с помощью механических колебаний. В зависимости от обстоятельств, в разных зонах имплантата один материал может быть наполнен в разной степени (например, волокнами, нитевидными кристаллами или частицами), или в разных зонах он может быть наполнен разными материалами. В этом случае, соответствующая конструкция поверхностных зон, объединяемых в костной ткани, должна гарантировать, что после имплантации поверхностные зоны второго типа или разжиженный материал соответственно входят в контакт, в частности, с костной тканью, и что разжиженный материал не переносится на поверхностные зоны первого типа, или переносится, но только до степени, не превышающей клинические требования.
Для имплантатов с поверхностными зонами, обеспечивающими интеграцию костной ткани, желательно, чтобы разжижаемый материал, по крайней мере, частично биологически разрушался (рассасывался) так, чтобы функция устойчивости (первичная устойчивость) плотного механического соединения между имплантатом и костной тканью постепенно заменялась функцией устойчивости (вторичная устойчивость), обусловленной интеграцией костной ткани, которая повышается до такой же степени по мере рассасывания разжижаемого материала, то есть по мере снижения первичной устойчивости. В частности, в случае остеопоротической костной ткани или плохо регенерируемой костной ткани может быть выгодно постоянно сохранять первичную устойчивость в качестве дополнения к вторичной устойчивости, то есть использовать нерассасывающийся, разжижаемый материал, который может также обеспечить хорошую биологическую интеграцию (вторичная интеграция костной ткани).
Для имплантатов, не несущих нагрузку, разжижаемый материал является, по крайней мере, частично рассасывающимся, если имплантат необходимо удалять из костной ткани, или если он полностью замещается костной тканью. Если первичная устойчивость должна сохраняться, то разжижаемый материал является нерассасывающимся или только частично рассасывающимся.
В качестве рассасывающихся разжижаемых материалов подходят рассасывающиеся полимеры на основе, например, молочной кислоты и/или гликолевой кислоты (PLA, PLLA, PGA, PLGA и т.д.) или полигидроксиалканоатов (РНА), поликапролактонов (PCL), полисахаридов, полидиоксанонов (PD), полиангидридов, полипептидов или соответствующих сополимеров или смеси полимеров или композитов, содержащих упомянутые полимеры в качестве составляющих. В качестве нерассасывающихся полимеров подходят термопласты, например полиолефины, полиакрилаты, полиметакрилаты, поликарбонаты, полиамиды, полиэфиры, полиуретаны, полисульфоны, полиарилкетоны, полиимиды, сульфиды полифенила или жидкокристаллические полимеры (LCPS), полиацетаты, галогенизированные полимеры, в частности галогенизированные полиолефины, сульфиды полифенилена, полисульфоны, простые полиэфиры или соответствующие сополимеры или смеси полимеров или композиты, содержащие упомянутые полимеры в качестве составляющих. Применяемые тиксотропические системы являются рассасывающимися, частично рассасывающимися или нерассасывающимися полимерными, керамическими или гидравлическими цементами (например, Norian® компании Синтез (Synthes) или Sulfix® компании Сентерплюс (Centerpulse)).
Разжижаемый материал может содержать чужеродные фазы, или составы, выполняющие другие функции. В частности, разжижаемый материал может быть упрочнен путем смешивания волокон или нитевидных кристаллов (например, керамики на основе фосфата кальция или стекла) и таким образом представлять композит. Разжижаемый материал может также содержать компоненты, которые расширяются или растворяются (создают поры) на месте (например, полиэфиры, полисахариды, гидрогели, фосфаты натрия), или составы, которые высвобождаются по месту и обладают терапевтическим эффектом, например стимулируют заживление и регенерацию тканей (например, факторы роста, антибиотики, ингибиторы воспаления или буферные растворы, например, фосфат натрия против неблагоприятных эффектов кислого разложения). Если разжижаемый материал является рассасывающимся, высвобождение таких составов задерживается.
Часть имплантата, не включающая разжижаемый материал, не является рассасывающейся, если имплантат должен оставаться в теле пациента, или если он должен удаляться хирургически. Однако эта часть имплантата может также быть сделана, по крайней мере, частично из рассасывающегося материала, который после имплантации постепенно заменяется живой тканью.
Конструкция имплантата и выбор разжижаемого материала должны соответствовать друг другу таким образом, чтобы прочность плотного механического соединения была достаточной для ожидаемой нагрузки, и таким образом, чтобы разжижение приводило к обоснованному, то есть насколько возможно низкому, тепловыделению. Если используются разжижаемые материалы с относительно высокой температурой размягчения, необходимо обеспечить, чтобы имплантат в целом (включая разжижаемый материал) проводил механические колебания как резонатор так, чтобы разжижаемый материал разжижался в поверхностных зонах второго типа только локально, например только в зонах предусмотренных волноводов. Таким образом, высвобождаемое количество тепла может удерживаться в приемлемых пределах. В частности, при использовании материала с относительно низкой температурой размягчения или материала, разжижаемого без тепловыделения (например, тиксотропический цемент), разжижение может также производиться во внутренней части разжижаемого материала (при большом гашении возбуждающих колебаний) или в местах контакта центральной и периферийной частей имплантата.
В дальнейшем путем конструирования центральной части имплантата тепловая нагрузка на ткани при имплантации может быть уменьшена за счет использования материалов с большой теплопроводностью и/или большой теплоемкостью (например, карбид кремния) и, в зависимости от обстоятельств, за счет использования каналов, через которые циркулирует теплоноситель.
С помощью следующих фигур подробно описаны типичные варианты осуществления имплантата по настоящему изобретению.
На фигурах 1, 2А, 2В, 2С показаны три первых типовых варианта осуществления, по существу, штифтовых имплантатов по настоящему изобретению (например, зубной имплантат), при этом имплантаты включают центральную и периферийную части имплантата (на фигуре 1 – вид сбоку, на фигурах 2А-2С – поперечные сечения).
На фигуре 3 показан второй типовой вариант осуществления имплантата по настоящему изобретению (например, зубной имплантат), включающий центральную и периферийную части имплантата, при этом форма имплантата отвечает существующей полости в кости (например, полость, образованная при удалении естественного зубного корня из челюстной кости).
На фигурах 4 и 5 показаны два других варианта осуществления имплантата по настоящему изобретению (например, зубной имплантат), включающие центральную и периферийную части имплантата, при этом центральная часть имплантата отвечает имеющейся полости в кости (например, имитация естественного зубного корня) и выполнена в виде саморежущей или прорезной конструкции (поперечное сечение).
На фигуре 6 показан еще один, по существу, штифтовой вариант осуществления имплантата по настоящему изобретению (например, зубной имплантат), включающий центральную и периферийную части имплантата (вид сбоку).
На фигурах 7 и 8 показан типовой вариант осуществления имплантата по настоящему изобретению, выполненного в виде анкера (на фигуре 7 – вид сбоку; на фигуре 8 – поперечное сечение).
На фигурах 9 и 10 показан типовой вариант осуществления пластинчатого, дискового или лопастного имплантата по настоящему изобретению (например, зубной имплантат с двумя местами фиксации), вид сбоку (на фигуре 9) и вид сверху (на фигуре 10).
На фигурах 11 и 12 показан типовой вариант осуществления по существу штифтового имплантата по настоящему изобретению (например, зубной имплантат), включающий полую центральную часть имплантата (на фигуре 11 – продольное сечение; на фигуре 12 – вид сверху).
На фигуре 13 показан типовой вариант осуществления имплантата по настоящему изобретению, включающий центральную часть имплантата без соответствующей механической устойчивости.
На фигуре 14 показано приращение как еще один пример имплантата по настоящему изобретению.
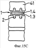
На фигурах 15 и 16 (А, В и С на каждой) показаны два варианта осуществления имплантатов для соединения двух спинных позвонков в трехмерном изображении (на фигурах 15А и 16А), во время имплантации между этими двумя позвонками – вид сбоку (на фигурах 15В и 16В), и после имплантации – вид спереди (фигуры 15С и 16С).
На фигурах 1 и 2А-2С показан типовой, штифтовой вариант осуществления имплантата по настоящему изобретению, несущий нагрузку, и поэтому это, например, зубной имплантат или ортопедический имплантат, например, для стабилизации перелома кости или фиксации опорной пластины или для использования в качестве стержня искусственной части сустава (например, бедра, колена, плеча или сустава пальца). Имплантат включает центральную часть имплантата 1 и периферийную часть имплантата 2, при этом на проксимальном конце центральной части имплантата находится, например, место фиксации 3 (например, глухое отверстие с внутренней резьбой или место, в котором хирург может создать такое глухое отверстие). Дистальный конец имплантата, например, имеет форму резца для использования в качестве самореза. Имплантат может также, как показано на поперечном сечении, изображенном на фигуре 2С, включать идущие вдоль оси саморежущие или прорезные элементы 9. Центральная часть имплантата 1 включает поверхностные зоны 4 первого типа (например, с такими свойствами, как интеграция костной ткани, ингибирование воспаления, поражение инфекции и/или стимулирование роста), идущие параллельно направлению имплантации А. Между поверхностными зонами 4 первого типа имплантат содержит поверхности для соединения с периферийной частью имплантата 2. Соединение периферийной части имплантата 2 и центральной части имплантата может быть адгезионным 5 (фиг.2А), или плотным механическим соединением, например, отдельных прорезей 5 (фигуры 2А и 2С) с зауженной разрезной щелью или поверхностей 5 с множеством отверстий или прорезей (фиг.2В). Периферийная часть имплантата 2 включает пальцы 6, которые, например, вписываются в прорези 5 или поверхностные зоны 5 и которые формируют, по крайней мере, часть поверхностных зон 8 второго типа.
Как видно из фигур 2А-2С, изобретение не устанавливает никаких требований к поперечному сечению штифтовых имплантатов, поэтому его можно выбирать в зависимости от выполняемой функции. Поэтому допустимы не только те поперечные сечения, которые показаны на трех фигурах 2А-2С, но, например, и круглое поперечное сечение центральной части имплантата с установленными на него пальцами 6, как показано на фигуре 2А.
Имплантат, представленный на фигуре 2С, может, в частности, вводиться в костную ткань, например, в значительной степени подобно саморезу. Чтобы разжижаемый материал не попадал на поверхностные зоны 4 первого типа, поверхностные зоны первого и второго типов (4 и 8) проходят рядом друг с другом и параллельно направлению имплантации А. В проксимальной зоне, где длина пути имплантации коротка, пальцы 6 могут выходить наружу в виде кольца 6 , идущего вокруг центральной части имплантата 1, и фиксироваться в прорези центральной части имплантата. Кольцо 6 не только объединяет пальцы 6 вместе в когерентную периферийную часть имплантата 2, что удобно для простоты соединения этих двух частей, возможно, хирургом, но также и представляет средство фактической первичной устойчивости имплантата в корковой ткани кости, в частности, от растяжения и кручения. При необходимости, резьба или подобная структура выполняются в корковой ткани кости так, чтобы кольцо 6 могло соединяться с этим относительно компактным слоем кости с помощью плотного механического соединения.
Для имплантата, устанавливаемого в более глубокое отверстие без смещения или только с небольшим смещением во время колебаний, поверхностные зоны первого и второго типов могут быть устроены по-другому. Поверхностные зоны 8 второго типа могут вместо пальцев 6 образовывать, например, рисунок из точек или пересекающихся линий. Таким образом, устройство поверхностных зон 8 второго типа зависит от способа имплантации. Кроме того, устройство поверхностных зон второго типа должно соответствовать первичной устойчивости, достигаемой разжижаемым материалом, то есть первичной устойчивости, которую нельзя достичь формой имплантата.
Две части 1 и 2 имплантатов, изображенных на фигурах 1 и 2А-2С, могут соединяться друг с другом фирмой-изготовителем. Периферийная часть имплантата 2 может, например, быть изготовлена литьем под давлением непосредственно на центральной части имплантата 1. Две части имплантата 1 и 2 могут также изготавливаться отдельно друг от друга и соединяться вместе хирургом только непосредственно перед имплантацией. В таком случае удобно выполнить плотное механическое соединение, или адгезионное соединение между этими двумя материалами во время имплантации, при этом материал периферийной части имплантата 2 разжижается и, например, вдавливается в отверстия или прорези, изображенные на фигуре 2В центральной части имплантата. Для этого может понадобиться снабдить внутреннюю сторону периферийной части имплантата 2, или соответствующей поверхности центральной части имплантата 1, волноводами.
Преимущество соединения частей хирургом состоит в том, что эти две части можно стерилизовать по отдельности, то есть возможно использование разных методов, адаптируемых к разным функциональным возможностям частей. Тогда не нужна стерилизация всего имплантата. Соединение частей вместе перед имплантацией позволяет фирме-изготовителю делать доступным набор центральных частей имплантата, отличающихся друг от друга, например, по длине и диаметру, и периферийных частей имплантата, отличающихся, например, по материалу или толщине пальца так, чтобы хирург мог самостоятельно соединять подходящий имплантат, точно подходящий для рассматриваемого случая (больше вариабильности при более низком количестве элементов).
Для имплантации штифтовых имплантатов, изображенных на фигурах 1 и 2А-2С, используется устройство имплантации (например, сонотрод ультразвукового устройства), дистальный конец которого в значительной степени адаптирован к проксимальной грани имплантата. При необходимости, между сонотродом и имплантатом устанавливается промежуточная деталь. К центральной части имплантата прикладывается энергия колебаний.
На фигуре 3 показан зубной имплантат по настоящему изобретению, который, в принципе, выполнен так же, как и имплантат, изображенный на фигуре 1, но его форма соответствует не известным штифтовым, или винтовым имплантатам, а, скорее, естественной полости в кости от естественного зубного корня. Между поверхностными зонами 8 второго типа, которые образованы периферийной частью имплантата 2, то есть в поверхностных зонах 4 первого типа, центральный имплантат 1 снабжен структурами, обеспечивающими подобно резьбе улучшенную анкеровку в регенерированной костной ткани (вторичная устойчивость).
На фигурах 4 и 5 показаны поперечные сечения двух следующих вариантов осуществления имплантата по настоящему изобретению, которые подходят для имплантации в существующие полости кости, например в полость, оставшуюся после удаления естественного зубного корня. Имплантат адаптирован к определенной полости и включает идущие вдоль оси саморежущие или прорезные элементы 9. Центральная часть 1 этих двух имплантатов состоит из штифтовой части 1.1 (несущая часть), например, с местом фиксации 3 или искусственной зубной коронкой и телом 1.2. Тело 1.2 формируется в другом месте, например, с использованием удаленного зубного корня, как, например, описано в заявке США 6132214 (Suhonen и другие.), или по месту, то есть в соответствующей полости.
Согласно фиг.4 тело 1.2 образует поверхностную зону 4 первого типа (например, с интеграцией костной ткани, ингибированием воспаления, поражением инфекций и/или стимулированием роста) и состоит из рассасывающегося или частично рассасывающегося материала-заменителя кости (например, фосфата кальция, полилактида, нерассасывающегося полимера с наполнителем из фосфата кальция, комбинированной системы с армирующими элементами). Периферийная часть имплантата 2 ограничена саморежущими или прорезными элементами 9, в которые вводятся, например, штифтовые части из разжижаемого материала.
Имплантат, изображенный на фигуре 4, может имплантироваться в два последовательных этапа. Сначала существующая полость заполняется материалом-заменителем кости (телом 1.2). Затем имплантируется штифтовая часть, при этом анкеровка через разжижаемый материал (периферийную часть имплантата 2) может оказывать влияние, по крайней мере, частично на материал-заменитель кости. Такие случаи показаны на фигуре 4 штрих-пунктиром.
Тело 1.2, изображенное на фигуре 5, выполнено из относительно тонкого и насколько возможно эластичного слоя из разжижаемого материала, то есть окружено периферийной частью имплантата 2, которая образует поверхность второго типа. Вместо тонкого слоя может использоваться мембрана, которая, по крайней мере, частично покрыта разжижаемым материалом. Идущие вдоль оси саморежущие или прорезные элементы 9 включают поверхности 4 первого типа. Тело 1.2 состоит из пластмассового, твердеющего материала, например из костного цемента, который может твердеть под воздействием света, ультразвука или нагрева, или из гидравлического цемента, при этом желательно, чтобы он обладал тиксотропическими свойствами. После введения в полость тело 1.2 приобретает форму полости. При приложении механических колебаний не только разжижаемый материал поверхностных зон второго типа вдавливается в поры и неровности окружающих костных тканей, но и тело принимает форму полости и возможно также затвердевает. Желательно, чтобы разжижаемый материал был рассасывающимся материалом, чтобы первичная устойчивость, созданная поверхностными зонами 8 второго типа, воспринималась вторичной устойчивостью, которая, сначала, вызывается интеграцией костной ткани тела 1.2, а при рассасывании тела интеграцией костной ткани штифтовой части 1.1.
Имплантаты, изображенные на фигурах 4 и 5, которые представляют зубные имплантаты, могут имплантироваться в челюстную кость, по существу, сразу же после удаления естественного зубного корня, потому что их форма адаптируется к полости, образованной после удаления. Благодаря первичной устойчивости, достигнутой поверхностными зонами 8 второго типа, они могут нагружаться немедленно, вызывая, таким образом, микроперемещения с физиологическим эффектом, ускоряющим интеграцию костной ткани в поверхностных зонах первого типа тела 1.2, и затем штифтовой части 1.1. Таким образом, такие зубные имплантаты сокращают время лечения даже больше, чем имплантаты, изображенные на фигурах 1-3. То же самое справедливо для имплантатов, предназначенных для имплантации в другие кости (помимо челюстных).
На фигуре 6 показан еще один штифтовой вариант осуществления имплантата по настоящему изобретению (например, зубной имплантат, имплантат для фиксации переломов костей, имплантаты для фиксации опорных пластин, стержень искусственного сустава), при этом данный имплантат включает центральную часть имплантата 1 и периферийную часть имплантата 2. Центральная часть имплантата 1 включает сквозные отверстия и/или несквозные отверстия 11 для прорастания костной ткани, при этом в данные отверстия вставляются, например, штифты 12 из разжижаемого материала, выступающие за пределы поверхности центральной части имплантата 1 и прочно фиксируемые с помощью трения. Штифты 12 вместе образуют периферийную часть имплантата 2, при этом концы штифтов выступают за пределы отверстия 11 над поверхностью 8 второго типа.
На фигурах 7 и 8 показан вид сбоку и поперечное сечение анкерного варианта осуществления имплантата по настоящему изобретению. Например, в этом варианте осуществления место фиксации 3 выполнено в виде ушка. Анкер имеет известную форму и включает щель, идущую по длине, в которую с образованием плотного механического соединения, устанавливается штифт из разжижаемого материала (периферийная часть имплантата 2). Штифт 13 выступает с обеих сторон за пределы поверхности анкера. Как известно, анкерный имплантат может включать дополнительные зазубрены 14, которые при нагружении растяжением вдавливаются в костные ткани, дополняя таким образом анкеровку периферийной части имплантата 2. Однако такие зазубрены или подобные средства фиксации не являются обязательными.
Анкерные края в виде режущих лезвий упрощают имплантацию без использования соответствующего отверстия в костных тканях или обеспечивают имплантацию в отверстия, которые выполнены только в корковой ткани кости.
На фигурах 9 и 10 показан еще один типовой вариант осуществления зубного имплантата по настоящему изобретению, имеющего форму пластины, диска или лопасти, который, например, включает два места фиксации 3 или две искусственные зубные коронки, и чья периферийная часть 2 состоит из множества штифтовых частей 13, которые помещаются в сквозные отверстия в пластине, диске или лопасти и в прорези центральной части имплантата в зонах мест фиксации.
Во время приложения механических колебаний (направление имплантации А на фигуре 9) пластинчатые, дисковые или лопастные зубные имплантаты, из которых на фигурах 9 и 10 показан один пример, размещаются в альвеолярном отростке челюсти так же, как и штифтовые зубные имплантаты. Однако они могут также имплантироваться в челюстную кость сбоку (направление имплантации А на фигуре 10), при этом для такой имплантации часть челюстной кости удаляется и после имплантации устанавливается на место.
Пластинчатые, дисковые или лопастные имплантаты применяются не только в зубном протезировании, но и ортопедии, для чего они включают соответственным образом расположенные проксимальные зоны.
На фигурах 11 и 12 показано продольное сечение и вид сверху еще одного штифтового варианта осуществления имплантата по настоящему изобретению (например, зубного имплантата или ортопедического имплантата). Центральная часть имплантата 1 выполнена в виде втулки с внутренней полостью 2 , в которой находится разжижаемый материал. Стенка втулки включает сквозные отверстия или щели 20, которые, например, располагаются рядами по оси или проходят вдоль оси. Имплантат устанавливается в полость кости и на разжижаемый материал внутренней полости 2 центральной части имплантата ставится колебательный элемент 21 (сонотрод ультразвукового аппарата), обеспечивающий подачу колебаний на этот материал и одновременно прижимающий его к дистальному концу имплантата. Посредством колебаний материал разжижается, а посредством давления он вдавливается через отверстия или щели 20 в поверхностные неровности и поры окружающих костных тканей, создавая, таким образом, плотное механическое соединение для обеспечения первичной устойчивости имплантата.
Если, как показано на фигурах 11 и 12, дистальный конец центральной части имплантата 1 выполнен в виде резца, то его можно вводить в костную ткань (по крайней мере, в губчатое вещество кости) без отверстия. Для этого подходит кольцевой сонотрод 22. Сонотрод 21 прикладывается тогда, когда имплантат достигает заданного положения в кости.
В имплантате, изображенном на фигурах 11 и 12, периферийная часть имплантата создается фактически только тогда, когда имплантат устанавливается в костную ткань, то есть создается по месту.
Разжижаемый материал, который находится во внутренней полости 2 центральной части имплантата, может быть термопластичным материалом подобно разжижаемому материалу, располагаемому с внешней стороны центральной части имплантата. Предпочтительно, однако, чтобы это был полимер или гидравлический цемент, обладающий тиксотропическими свойствами, при этом данный цемент должен твердеть после имплантации, например, при воздействии на него ультрафиолетовым светом, нагревом, механическими колебаниями или просто со временем.
При использовании в качестве разжижаемого материала термопласта, находящегося во внутренней полости 2 центральной части имплантата, волноводы, вероятно, придется располагать на внутренних поверхностях центральной части имплантата 1 или на поверхностях термопласта.
Разжижаемый материал имплантата, изображенного на фигурах 10 и 11, может вводиться в центральную часть имплантата 1 фирмой-изготовителем или хирургом. Материал вводится в виде любого количества отдельных порций, или он может вдавливается через сонотрод, по существу, непрерывно в центральную часть имплантата 1.
На фигуре 13 показан еще один типовой вариант осуществления имплантата по настоящему изобретению. В отличие от имплантатов, изображенных на предыдущих фигурах, этот имплантат разработан не для того, чтобы нести нагрузку, а, например, для удаления терапевтически эффективных соединений, для дренажа, для электрической или химической стимуляции ткани или органов или для выполнения подобных функций.
Периферийная часть имплантата состоит, по крайней мере, частично из разжижаемого материала (поверхностные зоны 8 второго типа) и выполнена в виде обоймы, обладающей достаточной устойчивость для имплантации. В обойме располагается центральная часть имплантата, которая не является несущей. Имплантат устанавливается в полость кости, и энергия колебаний прикладывается к нему устройством (сонотрод ультразвукового устройства), адаптированным к проксимальной грани имплантата. Сонотрод, который используется для имплантата, изображенного на фигуре 13, выполнен в виде полого цилиндра.
Центральная часть имплантата, составляющая поверхностные зоны 4 первого типа имплантата, изображенного на фигуре 13, выполняет, например, функцию интеграции костной ткани и состоит, например, из высокопористого фосфата кальция, из костной крошки (собственное губчатое вещество кости пациента) или из геля. Эта центральная часть может быть также устройством, с помощью которого частицы или молекулы пропускаются к окружающим тканям (устройство доставки) или удаляются из окружающих тканей (устройство дренажа), или стимулятором, при этом устройство, например, выполнено в виде проницаемого контейнера, включая стенки, которые составляют поверхностные зоны 4 первого типа.
Обойма, изображенная на фигуре 13, может снабжаться центральной частью имплантата фирмой-изготовителем, или она может заполняться, например, костной крошкой в операционной. Можно также имплантировать обойму в пустую конфигурацию и снабдить ее по месту центральной частью имплантата, при этом по месту также может устанавливаться и фиксироваться ультразвуковой сваркой покровный элемент, удерживающий центральную часть имплантата на месте.
На фигуре 14 в качестве еще одного примера имплантата по настоящему изобретению показан элемент приращения 31, который используется для наращения костной ткани на естественную костную ткань, например для увеличения альвеолярного отростка 32 челюстной кости. Этот альвеолярный отросток 32 и элемент приращения 31 показаны в разрезе и в состоянии после имплантации. Элемент приращения 31 включает центральную часть имплантата 1, состоящую из материала, стимулирующего рост костной ткани, например из высокопористого фосфата кальция. Штифты из разжижаемого материала устанавливаются, например, в сквозные отверстия (внутренние полости 2 ) центральной части имплантата 1. Для имплантации элемент приращения 31 устанавливается в соответствующим образом препарированный альвеолярный отросток челюстной кости 32 так, что штифты, например, направлены навстречу альвеолярного отростка 32. Затем, используя сонотрод 21, адаптированный к поперечному сечению штифтов, к штифтам прикладывается энергия колебаний, а в это время штифты прижимаются к альвеолярному отростку 32. К тому же, разжижаемый материал, по крайней мере, частично разжижается и вдавливается в костные ткани альвеолярного отростка челюстной кости и в материал приращения, чтобы точечно прикрепить элемент приращения 31 к альвеолярному отростку челюстной кости 32 и обеспечить контакт центральной части имплантата 1 (поверхностные зоны первого типа) с костной тканью альвеолярного отростка челюстной кости, обеспечивая, таким образом, инфильтрацию центральной части имплантата с клетками, произрастающими из естественной костной ткани сразу же после имплантации, чтобы стимулировать остеогенез. Желательно, чтобы в этом случае разжижаемый материал был рассасывающимся.
На фигурах 15А-15С и 16А-16С показаны два варианта осуществления имплантата по настоящему изобретению, используемого для соединения двух позвонков. Точно так же, как и прежде, имплантаты включают центральную часть имплантата 1, состоящую из несущей опоры 1.3 и тела 1.4, расположенного внутри опоры и проницаемого для регенеративных костных тканей. Тело 1.4 состоит, например, из высокопористого фосфата кальция, из костной крошки или геля. Форма центральной части имплантата адаптирована к естественному позвоночному диску, и имплантат включает верхние и нижние боковые отростки 40, идущие в направлении имплантации А и входящие в прорези, образованные в костной ткани позвонка.
Периферийная часть имплантата 2 по варианту осуществления, изображенному на фигурах 15, расположена на отростках 40, а по варианту осуществления, изображенному на фигурах 16, материал для периферийной части имплантата находится во внутренних полостях 2 центральной части имплантата 1, которая в зоне отростков 40 включает отверстия 20.
Имплантат, изображенный на фигуре 15 А, задвигается сонотродом 30 между двумя соответственным образом препарированными позвонками, как показано на фигуре 15В, при этом разжижаемый материал периферийной части имплантата 2 разжижается и вдавливается в костные ткани позвонка, обеспечивая, таким образом, анкеровку имплантата, как показано на фигуре 15С. Сонотрод, используемый для имплантации, существенным образом адаптирован к проксимальной грани имплантата.
Имплантат, изображенный на фигуре 16А, устанавливается между двумя позвонками, как показано на фигуре 16В, например, с использованием сонотрода 30, адаптированного существенным образом к проксимальной грани несущей опоры 1.3 центральной части имплантата 1. При установке имплантата к разжижаемому материалу с использованием сонотрода, адаптированного к проксимальной грани внутренней полости 2 , прикладывается энергия колебаний. Помимо этого материал выдавливается сквозь отверстия 20 в костную ткань позвонка 41, обеспечивая, таким образом, анкеровку имплантата в позвонке, как показано на фигуре 16С.
Имплантаты, изображенные на фигурах 15 и 16, фиксируются в позвонке сразу же после имплантации (первичная устойчивость). Поэтому нет необходимости стабилизировать эти два позвонка, как это делается в аналогах. Это делает имплантаты особенно подходящими для операций с минимальной инвазией.
Формула изобретения
1. Имплантат для имплантации в костные ткани человека или животного или костные ткани, дополненные материалом-заменителем кости, при этом, по крайней мере, часть поверхности имплантата входит в контакт с костной тканью, отличающийся тем, что упомянутая часть поверхности имплантата включает поверхностные зоны первого типа и поверхностные зоны второго типа, отличающиеся от поверхностных зон первого типа, при этом поверхностные зоны второго типа включают материал, который разжижается механическими колебаниями, и при помощи которого при имплантации механическими колебаниями имплантат стабилизируется в костной ткани, по крайней мере, первично, при этом поверхностные зоны первого типа выполнены с возможностью обеспечения воздействия оссео-интеграции и проникновения частиц или молекул из имплантата в костную ткань, окружающую имплантат, или из костной ткани, окружающей имплантат, в имплантат, или с возможностью обеспечения электрической или химической стимуляции, при этом поверхностные зоны первого и второго типов расположены так, что они тянутся рядом друг с другом и параллельно направлению имплантации, при этом имплантат выполнен с возможностью для имплантации без существенного смещения так, что при имплантации механическими колебаниями поверхностные зоны первого типа остаются, по крайней мере, частично свободными от разжиженного материала.
2. Имплантат по п.1, отличающийся тем, что он включает центральную часть имплантата, состоящую из поверхностных зон первого типа, и периферийную часть имплантата, расположенную с внешней стороны центральной части имплантата, состоящую, по крайней мере, частично из разжижаемого материала и составляющую поверхностные зоны второго типа.
3. Имплантат по п.2, отличающийся тем, что разжижаемый материал является материалом с термопластичными свойствами.
4. Имплантат по п.3, отличающийся тем, что разжижаемым материалом является полимер на основе молочной кислоты и/или гликолевой кислоты, полигидроксиалканоата, поликапролактона, полисахарида, полипептида, полидиоксанона, полиангидрида, полиолефина, полиакрилата, полиметакрилата, поликарбоната, полиамида, полиэфира, полиуретана, полисульфона, полиарилкетона, полиимида, сульфида полифенила, жидкокристаллического полимера, полиацетата, галогенизированного полимера, в частности галогенизированного полиолефина, сульфида полифенилена, полисульфона, или простого полиэфира, или сополимера, или смеси упомянутых полимеров, или композита, содержащего один из упомянутых полимеров.
5. Имплантат по одному из пп.1-4, отличающийся тем, что поверхностные зоны второго типа выступают, по крайней мере, локально над поверхностными зонами первого типа.
6. Имплантат по одному из пп.1-4, отличающийся тем, что он выполняет функцию по восприятию нагрузки, и тем, что центральная часть имплантата составляет несущий элемент имплантата.
7. Имплантат по одному из пп.1-4, отличающийся тем, что центральная часть имплантата включает несущую часть и тело переменной формы.
8. Имплантат по одному из пп.1-4, отличающийся тем, что центральная часть имплантата включает несущую опору и тело.
9. Имплантат по одному из пп.1-4, отличающийся тем, что тело включает материал-заменитель кости, костную крошку или гель.
10. Имплантат по одному из пп.1-4, отличающийся тем, что периферийная часть имплантата является несущей частью имплантата.
11. Имплантат по одному из пп.1-4, отличающийся тем, что центральная часть имплантата является контейнером с проницаемыми стенками или состоит из материала-заменителя кости, из костной крошки или геля.
12. Имплантат для имплантации в костные ткани человека или животного или костные ткани, дополненные материалом-заменителем кости, при этом, по крайней мере, часть поверхности имплантата входит в контакт с костной тканью, отличающийся тем, что имплантат включает центральную часть имплантата с внутренней полостью и с отверстиями, видимыми из внутренней полости к внешней поверхности центральной части имплантата, а также включает материал, который разжижается механическими колебаниями и способен к расположению или располагается во внутренней полости, при этом упомянутая часть поверхности имплантата включает поверхностные зоны первого типа, составленные центральной частью имплантата, и поверхностные зоны второго типа, отличающиеся от поверхностных зон первого типа, формирующиеся во время имплантации механическими колебаниями путем разжижения материала, который разжижается, и выдавливания последнего из внутренней полости, при этом поверхностные зоны второго типа включают материал, который разжижается механическими колебаниями и при помощи которого при имплантации механическими колебаниями имплантат стабилизируется в костной ткани, по крайней мере, первично, при этом поверхностные зоны первого типа выполнены с возможностью обеспечения содействия оссео-интеграции, и проникновения частиц или молекул из имплантата в костную ткань, окружающую имплантат, или из костной ткани, окружающей имплантат, в имплантат, или с возможностью обеспечения электрической или химической стимуляции, при этом отверстия расположены осевыми рядами или являются прорезями, тянущимися в осевом направлении, а поверхностные зоны первого типа расположены так, что они тянутся параллельно рядам или прорезям так, что при имплантации механическими колебаниями поверхностные зоны первого типа остаются, по крайней мере, частично свободными от разжиженного материала.
13. Имплантат по п.12, отличающийся тем, что разжижаемый материал является материалом с термопластичными свойствами или с тиксотропическими свойствами.
14. Имплантат по п.13, отличающийся тем, что разжижаемым материалом является полимер на основе молочной кислоты и/или гликолевой кислоты, полигидроксиалканоата, поликапролактона, полисахарида, полипептида, полидиоксанона, полиангидрида, полиолефина, полиакрилата, полиметакрилата, поликарбоната, полиамида, полиэфира, полиуретана, полисульфона, полиарилкетона, полиимида, сульфида полифенила, жидкокристаллического полимера, полиацетата, галогенизированного полимера, в частности галогенизированного полиолефина, сульфида полифенилена, полисульфона, или простого полиэфира, или сополимера, или смеси упомянутых полимеров, или композита, содержащего один из упомянутых полимеров, или полимерного керамического или гидравлического цемента.
15. Имплантат по одному из пп.12-14, отличающийся тем, что поверхностные зоны первого типа включают структуры, подходящие для врастания в костные ткани или прорастания через них живых костных тканей.
16. Имплантат по одному из пп.12-14, отличающийся тем, что поверхностные зоны первого типа также обладают свойствами ингибирования воспаления, поражения инфекций и/или стимулирования роста.
17. Имплантат по одному из пп.12-14, отличающийся тем, что центральная часть имплантата состоит, по крайней мере, частично из металла, металлического сплава, керамического материала, полимера или композита.
18. Имплантат по одному из пп.12-14, отличающийся тем, что центральная часть имплантата (1) включает саморежущие или прорезные элементы.
19. Имплантат по п.1 или 12, отличающийся тем, что он является зубным имплантатом, включающим, по крайней мере, одно место фиксации или, по крайней мере, одну коронковую часть.
20. Имплантат по п.1, отличающийся тем, что он является ортопедическим имплантатом.
21. Имплантат по п.1 или 12, отличающийся тем, что он имеет форму штифта, пластины, диска или лопасти, или тем, что он адаптирован или может быть адаптирован к форме заданной полости в кости.
22. Способ имплантации имплантата в костную ткань или в костную ткань, дополненную материалом-заменителем кости, включающий следующие этапы: создают имплантат, по крайней мере, часть поверхности которого предназначена для контакта с костной тканью, при этом упомянутая часть поверхности имплантата включает поверхностные зоны первого типа и поверхностные зоны второго типа, отличающиеся от поверхностных зон первого типа, при этом поверхностные зоны второго типа включают материал, который разжижается механическими колебаниями, и при этом поверхностные зоны первого типа в дальнейшем обеспечивают выполнение клинической функции, которая отличается от функции первичной стабилизации, устанавливают имплантат на костную ткань или в костную ткань, прикладывают механические колебания к имплантату с одновременным прижатием имплантата к костной ткани, разжижая, таким образом, по крайней мере, часть разжижаемого материала и вдавливая его в неровности и поры костной ткани, повторно отверждают разжижаемый материал для образования соединения с костной тканью с целью первичной стабилизации имплантата в костной ткани, отличающийся тем, что механические колебания прикладывают к имплантату частотой от 2 до 200 кГц путем установки сонотрода ультразвукового устройства на проксимальной грани имплантата, при этом размеры поверхностных зон первого и второго типов выдерживают так, и эти зоны располагаются так, что поверхностные зоны первого типа остаются, по крайней мере, частично свободными от разжижаемого материала, а устройство и расположение поверхностных зон второго типа обеспечивают в дальнейшем выполнение клинической функции путем воздействия на костную ткань сразу же после этапа повторного отверждения.
23. Способ имплантации имплантата в костную ткань или в костную ткань, дополненную материалом-заменителем кости, включающий следующие этапы: создают имплантат, по крайней мере, часть поверхности которого предназначена для контакта с костной тканью, при этом упомянутая часть поверхности имплантата включает поверхностные зоны первого типа и поверхностные зоны второго типа, отличающиеся от поверхностных зоны первого типа, при этом поверхностные зоны второго типа включают отверстия во внутреннюю полость имплантата, в которой находится материал, который разжижается механическими колебаниями, и при этом поверхностные зоны первого типа в дальнейшем обеспечивают выполнение клинической функции, которая отличается от функции первичной стабилизации, устанавливают имплантат на костную ткань или в костную ткань, прикладывают механические колебания к имплантату с одновременным вдавливанием разжижаемого материала в полость, разжижая, таким образом, по крайней мере, часть разжижаемого материала и продавливая его через отверстия, чтобы покрыть поверхностные зоны второго типа разжижаемым материалом, и вдавливая его в неровности и поры костной ткани, повторно отверждают разжижаемый материал для образования соединения с костной тканью с целью первичной стабилизации имплантата в костной ткани, отличающийся тем, что, когда механические колебания прикладывают к имплантату, и разжижаемый материал продавливают через отверстия, то размеры поверхностных зон первого и второго типов выдерживаются так, и эти зоны располагаются так, что поверхностные зоны первого типа остаются, по крайней мере, частично свободными от разжижаемого материала, а устройство и расположение поверхностных зон второго типа обеспечивают в дальнейшем выполнение клинической функции путем воздействия на костную ткань сразу же после этапа повторного отверждения.
24. Способ по п.22 или 23, отличающийся тем, что имплантат нагружается сразу же после этапа повторного отверждения.
25. Способ по п.22 или 23, отличающийся тем, что перед этапом установки в костной ткани выполняется отверстие, подходящее для установки имплантата.
26. Способ по п.23, отличающийся тем, что кость включает корковый слой, а под корковым слоем губчатое вещество кости, при этом отверстие выполняется в корковом слое, и при этом этап приложения механических колебаний и прижатия включает продвижение имплантата в губчатое вещество кости.
27. Способ по п.22 или 23, отличающийся тем, что имплантат устанавливается в костную ткань, и этап прижатия включает вдавливание имплантата как самореза в костную ткань.
28. Способ по п.22 или 23, отличающийся тем, что перед этапом установки в костной ткани выполняются неровности подходящей геометрии, в которые вдавливается разжижаемый материал.
29. Способ по п.22 или 23, отличающийся тем, что имплантат имеет форму полости в костной ткани и имплантируется в эту полость.
30. Способ по п.22 или 23, отличающийся тем, что полость создается при удалении естественного зубного корня из челюстной кости.
31. Способ по п.22 или 23, отличающийся тем, что этап создания имплантата включает объединение двух частей имплантата из двух разных материалов.
32. Способ по п.22 или 23, отличающийся тем, что после этапа повторного отверждения в проксимальном конце имплантата фиксируется еще одна часть имплантата.
33. Способ по п.22 или 23, отличающийся тем, что имплантат выполняется для соединения двух позвонков, а этап приложения механических колебаний и прижатия включает проталкивание имплантата между этими двумя позвонками.
РИСУНКИ
|
|