|
|
(21), (22) Заявка: 2007134447/12, 15.02.2005
(24) Дата начала отсчета срока действия патента:
15.02.2005
(46) Опубликовано: 20.05.2009
(56) Список документов, цитированных в отчете о поиске:
US 6237350 B1, 29.05.2001. GB 1414743 A, 19.11.1975. GB 2135036 A, 22.08.1984. US 3860306 A, 14.01.1975. JP 2003-130540 A, 08.05.2003. RU 17402 U1, 10.04.2001. RU 25382 U1, 10.10.2002.
(85) Дата перевода заявки PCT на национальную фазу:
17.09.2007
(86) Заявка PCT:
EP 2005/001520 20050215
(87) Публикация PCT:
WO 2006/086999 20060824
Адрес для переписки:
129090, Москва, ул.Б.Спасская, 25, стр.3, ООО “Юридическая фирма Городисский и Партнеры”, пат.пов. А.В.Мицу, рег. 364
|
(72) Автор(ы):
ФИНКЕНАУЭР Харри (DE)
(73) Патентообладатель(и):
КЭРРИЕР КОРПОРЕЙШН (US)
|
(54) ВИТРИНА-ХОЛОДИЛЬНИК
(57) Реферат:
Витрина-холодильник содержит витринную платформу, поддерживающую охлаждаемые товары, устройство для охлаждения, устройство для создания воздушного потока, и стерилизационное устройство для стерилизации холодного воздуха, при этом эти устройства расположены рядом с одной из вертикальных стенок витрины-холодильника, и витрина-холодильник имеет заднюю стенку, содержащую по меньшей мере две крышки, первая из которых в открытом положении обеспечивает доступ к стерилизационному устройству, а вторая из которых в открытом положении обеспечивает доступ по меньшей мере к одному из охлаждающего и вентиляционного устройств. Использование данного устройства позволит обеспечить легкий доступ к охлаждающему и вентиляционному устройствам для обслуживания, ремонта и очистки. 9 з.п. ф-лы, 3 ил.
Настоящее изобретение относится к витринам-холодильникам, содержащим витринную платформу, поддерживающую охлаждаемые товары, устройство для охлаждения и устройство для создания потока воздуха, оба из которых расположены рядом с одной из вертикальных стенок витрины-холодильника.
Обычная витрина-холодильник содержит витринную платформу, поддерживающую охлаждаемые товары, устройство для охлаждения и устройство для создания потока воздуха. Охлаждающее устройство предназначено для охлаждения потока воздуха, который должен охлаждать товары, выложенные на витринной платформе. Для этого витрина-холодильник далее содержит продувающее устройство, например вентилятор, подающий в определенном направлении поток холодного воздуха, который входит в пространство над витринной платформой с одной стороны витрины-холодильника, течет к другой стороне витрины-холодильника и течет обратно к задней стороне под витринной платформой, дополнительно охлаждая нижнюю часть этой платформы. Поток холодного воздуха может быть непрерывным или прерывистым. Оба этих режима работы в предшествующем уровне техники известны.
Обычно и охлаждающее устройство, и устройство, создающее поток воздуха расположены под витринной платформой, что создает неудобства при обслуживании, ремонте и очистке этого оборудования. С одной стороны, проблема состоит в том, что чистящий агент, используемый для очистки витринной платформы, может проникнуть сквозь швы или зазоры в витринной платформе и повредить расположенные под ней устройства. С другой стороны, для обслуживания или ремонта таких расположенных снизу устройств витринную платформу и все выложенные на ней товары приходится снимать. Эта операция достаточно трудоемка и может проводиться, только когда магазин закрыт для покупателей.
Документ DE 3347361 А1 раскрывает охлаждающее и вентиляционное устройства, расположенные у задней стенки витрины-холодильника. Доступ к охлаждающему и вентиляционному устройствам осуществляется только через дисплейное пространство внутри витрины-холодильника, что влечет известные неудобства при обслуживании, ремонте и очистке охлаждающего и вентиляционного устройств.
Таким образом, целью настоящего изобретения является обеспечение легкого доступа к охлаждающему и вентиляционному устройствам для обслуживания, ремонта и очистки.
Согласно настоящему изобретению эта цель достигается витриной-холодильником, содержащей по меньшей мере одну крышку, которая в открытом положении обеспечивает доступ к охлаждающему устройству и вентиляционному устройству.
В одном варианте настоящего изобретения охлаждающее устройство содержит испаритель и теплообменник, а вентиляционное устройство выполнено, например, как вентилятор или радиальный нагнетатель.
Согласно варианту настоящего изобретения витрина-холодильник далее содержит стерилизующее устройство для стерилизации охлаждающего воздуха. Стерилизующее устройство устраняет бактерии из охлаждающего воздуха. Это особенно важно для продуктов без обертки, таких как мясо и сыр.
Согласно варианту настоящего изобретения указанная по меньшей мере одна крышка в открытом положении дает доступ к стерилизующему устройству.
Согласно варианту настоящего изобретения витрина-холодильник имеет заднюю стенку, содержащую по меньшей мере две крышки, первая из которых в открытом положении обеспечивает доступ к стерилизационному устройству, а вторая из которых в открытом положении обеспечивает доступ по меньшей мере к одному из охлаждающего и вентиляционного устройств.
Согласно варианту настоящего изобретения охлаждающее устройство, вентиляционное устройство и стерилизующее устройство образуют модуль. Например, устройства соединяет общая рама, образующая модуль, который преимущественно содержит ручку. Ручку можно использовать, например, для извлечения модуля через открытую крышку.
Согласно варианту настоящего изобретения каждая крышка содержит механизм откидывания или петлевой механизм. Механизмы откидывания или петлевой механизм могут работать независимо или в чередующемся порядке, будучи соединенными так, что крышки открываются последовательно. В последнем случае отверстие образуется откидыванием каждой крышки, что приводит к увеличению ширины отверстия и ни одна из крышек не мешает доступу, как это может произойти при независимо навешенных на петли крышках.
Согласно варианту настоящего изобретения предлагается крышка, выполненная как складная рабочая платформа, в открытом положении обеспечивающая доступ к модулю сверху. Эта крышка в закрытом положении предназначена для образования горизонтальной платформы, которая может использоваться как рабочая платформа торговым персоналом. Обычно охлаждаемые товары, такие как мясо и т.п., выкладывают в витрине-холодильнике, содержащей частично открытый в сторону продавца верх, а со стороны покупателя закрытой стеклом или другим прозрачным материалом. Со стороны продавца в большинстве случаев выполнена рабочая платформа, на которой продавец может нарезать мясо и завернуть продаваемый продукт. Витрины-холодильники такого типа используются в мясных и молочных магазинах, супермаркетах и продовольственных магазинах.
Согласно варианту настоящего изобретения стерилизующее устройство содержит бактериальный фильтр. Стерилизующее устройство содержит фильтр, который убивает бактерии, присутствующие в охлажденном воздухе. Альтернативно стерилизующее устройство может содержать источник ультрафиолетового (УФ) излучения, расположенный в облучающей камере, в которой стерилизуется охлажденный воздух, протекающий через эту камеру. Другой альтернативой является наличие содержащей озон камеры, в которой бактерии также погибают. Очень важно обеспечить легкий доступ к стерилизационному устройству, поскольку фильтр, УФ-камера или озоновая камера требуют довольно частого обслуживания. Следовательно, если стерилизационное устройство размещено сверху модуля, то преимущества этого варианта вполне очевидны. Этот вариант обеспечивает легкий доступ сверху, например, с откидной рабочей платформы и/или сзади через первую крышку.
Далее следует более подробное описание настоящего изобретения со ссылками на прилагаемые чертежи.
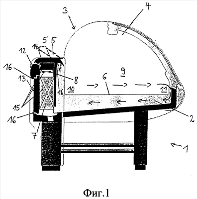
Фиг.1 – витрина-холодильник с модулем по настоящему изобретению с закрытыми крышками.
Фиг.2 – витрина-холодильник с модулем по настоящему изобретению с открытыми крышками.
Фиг.3 – витрина-холодильник с модулем по настоящему изобретению с открытой первой крышкой и закрытой второй крышкой.
На фиг.1 показана витрина-холодильник 1 с основной витриной 2, частично открытым со стороны продавца верхом 3 и частью 4 со стороны покупателя, закрытой стеклом. Для продавцов предусмотрена рабочая платформа 5 для резки или заворачивания продаваемых продуктов, например мяса или молочных продуктов. Рабочая платформа 5 выполнена откидной, как показано штриховыми линиями, обозначающими открытое положение. Продукты выкладывают на витринную платформу 6, чтобы покупатели могли хорошо их видеть со стороны покупателей через стеклянную стенку 4.
Охлаждающее устройство 7 предназначено для охлаждения потока воздуха, который должен охлаждать товары, выложенные на витринной платформе 6. Для этого охлаждающее устройство 7 соединено с вентилятором 8, являющимся вентиляционным устройством, направляющим в заданном направлении поток холодного воздуха, который входит в пространство 9 над витринной платформой 6 с задней стороны 10 основной витрины 2, течет к фронтальной стороне 11 или к стороне покупателя основной витрины 2 и течет обратно к задней стороне под витринной платформой, дополнительно охлаждая ее нижнюю часть. Этот поток на фиг. 1 показан стрелками. Рабочая платформа 5, а также первая крышка 12 и вторая крышка 13 здесь показаны в закрытом положении. Стерилизующее устройство 14 расположено на вершине модуля 15. Модуль 15 содержит охлаждающее устройство 7, вентиляционное устройство 8 и стерилизующее устройство 14. Воздух, охлажденный охлаждающим устройством 7, которое содержит испаритель и теплообменник, нагнетается вентилятором 8 для создания потока в определенном направлении, и поток течет через стерилизующее устройство 14 для уничтожения бактерий, присутствующих в охлажденном воздухе. В этом примере для стерилизации охлажденного воздуха используется УФ-камера. Поток охлажденного воздуха прогоняется через УФ-камеру, где он подвергается воздействию ультрафиолетового излучения, которое убивает большинство бактерий.
На фиг. 2 показаны первая и вторая крышки 12, 13, описанные выше со ссылками на фиг. 1, в открытом положении, обеспечивающем доступ к модулю 15 для обслуживания, ремонта и очистки. Первая крышка 12 установлена на второй крышке 13 на петле, обеспечивающей последовательный режим открывания, когда открывание второй крышки 13 возможно только после открывания первой крышки 12. Следовательно, открытая первая крышка 12 не мешает открыванию второй крышки 13, как это могло бы быть в случае независимо открывающихся откидных крышек.
В варианте, показанном на чертежах, обе крышки 12 и 13 в закрытом положении образуют заднюю стенку отсека, в котором установлен модуль 15, при этом вторая крышка 13 установлена на петле на нижней части этого отсека, а первая крышка 12 установлена на петле на свободном конце второй крышки 13, как показано на чертежах. Если необходимо получить доступ только к стерилизующему устройству 14, достаточно открыть только первую крышку. Если нужно получить доступ к охлаждающему устройству 7 и/или вентилятору 8, обе крышки 12, 13 открываются совместно.
Доступ к стерилизующему устройству 14 также возможен сверху, через откидную рабочую платформу 5, когда она поворачивается в открытое положение. Кроме того, через открытую рабочую платформу 5 из отсека можно извлечь весь модуль 15.
На фиг.3 показано, что открыта только первая крышка 12 для извлечения стерилизующего устройства 14, показанного вынутым.
Формула изобретения
1. Витрина-холодильник (1), содержащая витринную платформу (6), поддерживающую охлаждаемые товары, устройство (7) для охлаждения, устройство (8) для создания воздушного потока, и стерилизационное устройство (14) для стерилизации холодного воздуха, при этом эти устройства расположены рядом с одной из вертикальных стенок витрины-холодильника, и витрина-холодильник (10) имеет заднюю стенку, содержащую по меньшей мере две крышки (12, 13), первая из которых в открытом положении обеспечивает доступ к стерилизационному устройству (14), а вторая (13) из которых в открытом положении обеспечивает доступ по меньшей мере к одному из охлаждающего и вентиляционного устройств (7, 8).
2. Витрина-холодильник (1) по п.1, где охлаждающее устройство (7), вентиляционное устройство (8) и стерилизационное устройство (14) образуют модуль (15).
3. Витрина-холодильник (1) по п.1 или 2, где каждая крышка (12, 13, 5) содержит откидывающий или петлевой механизм (16).
4. Витрина-холодильник (1) по п.3, где откидывающий или петлевой механизм (16) каждой крышки работает независимо.
5. Витрина-холодильник (1) по п.3, где откидывающие или петлевые механизмы соединены с крышками (12, 13) так, чтобы крышки открывались последовательно.
6. Витрина-холодильник (1) по п.2, где крышка выполнена как откидная рабочая платформа (5), которая в открытом положении обеспечивает доступ к модулю (15) сверху.
7. Витрина-холодильник (1) по п.1, где стерилизующее устройство (14) содержит бактериальный фильтр.
8. Витрина-холодильник (1) по п.1, где стерилизационное устройство (14) содержит источник ультрафиолетового изучения, расположенный в камере облучения (УФ-камере).
9. Витрина-холодильник (1) по п.1, где стерилизационное устройство (14) содержит содержащую озон стерилизационную камеру.
10. Витрина-холодильник (1) по п.2, где стерилизационное устройство (14) расположено на вершине модуля (15).
РИСУНКИ
|
|