|
|
(21), (22) Заявка: 2005125423/12, 05.12.2003
(24) Дата начала отсчета срока действия патента:
05.12.2003
(30) Конвенционный приоритет:
10.01.2003 US 10/339,920
(43) Дата публикации заявки: 10.02.2006
(46) Опубликовано: 20.05.2009
(56) Список документов, цитированных в отчете о поиске:
US 4002266 А, 11.01.1977. SU 60793 А, 30.05.1960. RU 2137337 С1, 20.09.1999. US 6173664 В1, 16.01.2001. SU 1644776 A1, 30.04.1991. GB 2057835 A, 08.04.1981. SU 190687 A, 29.12.1966.
(85) Дата перевода заявки PCT на национальную фазу:
10.08.2005
(86) Заявка PCT:
EP 03/13754 20031205
(87) Публикация PCT:
WO 2004/062342 20040729
Адрес для переписки:
103735, Москва, ул. Ильинка, 5/2, ООО “Союзпатент”, пат.пов. И.М.Захаровой
|
(72) Автор(ы):
СТИВЕНС Лайл Юждин (US), КИТОН Майлз Рэймонд (US), РОМАН Роберт Джон (US), ВАЛДЕС Хосе Мигель (US)
(73) Патентообладатель(и):
ДИР ЭНД КОМПАНИ (US)
|
(54) СЕЯЛКА ДЛЯ ВЫДАЧИ СЕМЕННОГО МАТЕРИАЛА
(57) Реферат:
Сеялка для выдачи семенного материала содержит, по меньшей мере, одну систему дозирования и, по меньшей мере, одну систему выдачи семенного материала. Каждая система выдачи связана с соответствующей системой дозирования и имеет направляющую семенного материала и транспортирующее колесо с периферийным участком. Периферийный участок колеса снабжен несколькими примыкающими друг к другу отдельными поверхностями и расположен близко рядом, по меньшей мере, с одним участком направляющей семенного материала. Транспортирующее колесо выполнено в виде щетинного колеса. Отдельные поверхности колеса выполнены в виде множества щетинок, проходящих по периферийному участку, в основном, радиально. Транспортирующее колесо расположено относительно потока семенного материала вниз по течению системы дозирования с возможностью захвата взятого системой выдачи с заданной частотой семенного материала и его ускорения. Кроме того, транспортирующее колесо и направляющая семенного материала выполнены с возможностью взаимодействия между собой. В заданном месте относительно периферийного участка транспортирующего колеса с возможностью вхождения в него установлен направляющий элемент. Последний выполнен с возможностью периодического отклонения нескольких отдельных поверхностей на периферийном участке за счет вращения транспортирующего колеса. Сеялка обладает компактностью и позволяет осуществлять более точную и эффективную выдачу семенного материала. 5 з.п. ф-лы, 5 ил.
Изобретение относится к сеялке для выдачи семенного материала, содержащей, по меньшей мере, одну систему дозирования и, по меньшей мере, одну систему выдачи семенного материала, причем каждая система выдачи семенного материала связана с соответствующей системой дозирования и имеет направляющую семенного материала и транспортирующее колесо с периферийным участком, снабженным несколькими примыкающими друг к другу отдельными поверхностями, причем периферийный участок расположен близко рядом, по меньшей мере, с одним участком направляющей семенного материала и транспортирующее колесо выполнено в виде щетинного колеса, а отдельные поверхности выполнены в виде множества щетинок, проходящих по периферийному участку, в основном, радиально.
Сельскохозяйственные сеялки, например рядовая сеялка, выдают семенной материал на нужную глубину в несколько нарезанных в пашне посевных борозд. В случае рядовой сеялки несколько рядовых высевающих аппаратов приводятся обычно за счет контакта с почвой с использованием колес, приводных валов, зубчатых колес, распределительных механизмов, цепей и т.п. Каждый рядовой высевающий аппарат включает в себя раму, подвижно соединенную с держателем рабочего органа. Рама может нести главный бункер для семенного материала, бункер для гербицидов и бункер для инсектицидов. При применении гранулированных гербицидов и инсектицидов связанные с выдачей гранул в посевные борозды дозирующие механизмы могут быть выполнены относительно простыми. С другой стороны, необходимые для точного дозирования семенного материала механизмы, которые выдают семенной материал в заданном количестве и размещают в заданных относительно посевной борозды положениях, выполнены относительно сложными.
Связанные с дозированием и выдачей семенного материала механизмы можно разделить, в основном, на системы дозирования и системы выдачи семенного материала, находящиеся в связи между собой. Система дозирования принимает семенной материал из установленного на раме бункера в виде массового потока. Могут использоваться различные виды систем дозирования, например высевающие пластины, пальцевые пластины и высевающие диски. В случае системы дозирования с высевающим диском последний выполнен с несколькими удаленными друг от друга по его окружности ячейками для семенного материала. Семенной материал транспортируется в ячейки, причем в зависимости от величины и выполнения ячеек в каждую ячейку транспортируется одно или несколько зерен. В сочетании с высевающим диском может использоваться вакуум или поток сжатого воздуха, чтобы поддержать транспортировку семенного материала в ячейки. Зерна отделяют и с заданной частотой подают к системе выдачи семенного материала.
У системы дозирования, содержащей описанный выше высевающий диск, последний снабжен обычно концентричной приводной осью, которая содержит на внешнем конце приводимое посредством контакта с почвой и т.п. зубчатое колесо. Расположенная концентрично приводная ось и зубчатое колесо могут ограничивать компактность системы дозирования (например, уменьшение общей величины).
Системы выдачи семенного материала бывают управляемыми силой тяжести и поддерживаемые приводом. В случае управляемой силой тяжести системы выдачи предусмотрен семяпровод, имеющий входное отверстие, расположенное под системой дозирования семенного материала. Отделенные зерна из системы дозирования падают в семяпровод и посредством силы тяжести из выходного отверстия семяпровода – в посевную борозду. Семяпровод может быть искривлен в обратном направлении для поддержки ввода семенного материала в посевную борозду. Обратное искривление помогает далее уменьшить прыгучесть зерен в семяпроводе, когда они падают по нему в посевную борозду. Кроме того, обратное искривление помогает при этом уменьшить подскок зерна, когда оно попадает на дно посевной борозды.
Системы выдачи семенного материала поддерживаемого приводом типа можно разделить, в основном, на управляемые ленточным транспортером, управляемые поворотной задвижкой, управляемые цепным приводом или управляемые сжатым воздухом.
Эти типы систем выдачи семенного материала обеспечивают равномерную выдачу семенного материала с нужными промежутками вдоль заданной дорожки. В отношении более подробного описания подобных систем выдачи семенного материала, а также выдачи семян вообще следует сослаться на Planting Fundamentals of Machine Operation”; Breece, Erward H., PhD, et al.; Deere & Co.; 1981.
Из US 4,264,023 А известна система выдачи семенного материала, которая имеет поддерживающий ролик, выполненный упругим и тем самым имеющий возможность принимать семенной материал с различной величиной частиц.
Из US 2002/088383 A1 известно дозирующее устройство для сыпучего материала, имеющее ленточный транспортер, перемещаемый транспортирующим колесом. Ленточный транспортер имеет несколько расположенных по периметру камер, в которые семенной материал единично или в больших количествах принимается и выдается.
Из US 4 896 615 А известен семенной ящик для выдачи семенного материала. Семенной ящик имеет корпус и отверстие для выдачи семенного материала. В корпусе расположен вал, несущий несколько вращающихся щеточных колес. Щеточные колеса установлены так, что они проходят через отверстия выдачи семенного материала и перемещают семенной материал из семенного ящика благодаря вращению к отверстиям выдачи семенного материала. При этом недостаток заключается в том, что эта система имеет устройство лишь очень грубой дозировки, с помощью которого могут выдаваться лишь крупно дозируемые части сыпучего материала.
Другая система выдачи описана, например, в DE 802730 С и US 2535222 А, в которой применяется принцип транспортировки камер, размещенных по периметру транспортирующего колеса, для транспортировки семенного материала.
Лежащая в основе изобретения задача состоит в создании более точной, более эффективной и более компактной по сравнению с уровнем техники системы выдачи семенного материала.
Эта задача решается, согласно изобретению, посредством отличительной части п.1 формулы. Другие предпочтительные варианты выполнения и усовершенствования изобретения приведены в зависимых пунктах.
Согласно изобретению, сеялка описанного выше рода выполнена таким образом, что предусмотрен направляющий элемент, установленный в заданном месте относительно периферийного участка транспортирующего колеса с возможностью вхождения, причем направляющий элемент периодически отклоняет несколько отдельных поверхностей на периферийном участке за счет вращения транспортирующего колеса.
Изобретение относится к сеялке с системами дозирования и выдачи семенного материала. Система выдачи содержит ускоряющее устройство в виде транспортирующего колеса, взаимодействующего с направляющей семенного материала, имеющего внешний захватный слой с несколькими смежными отдельными поверхностями с высоким коэффициентом трения для надежного помещения семенного материала без его повреждения в приемную щель. Направляющий элемент направляет семенной материал в лежащую между транспортирующим колесом и направляющей семенного материала приемную зону, периодически отклоняя внешний захватный слой транспортирующего колеса для обеспечения надежного захвата им семенного материала.
Согласно предпочтительному варианту сеялка содержит, по меньшей мере, одну систему дозирования и систему выдачи семенного материала. Каждая система выдачи связана с соответствующей системой дозирования и включает в себя корпус с направляющей семенного материала и транспортирующим колесом, по меньшей мере, частично размещенным в корпусе. Транспортирующее колесо имеет периферийный участок с несколькими примыкающими друг к другу поверхностями, по меньшей мере, частично расположенный рядом с направляющей семенного материала, который захватывается периферийным участком с заданной частотой. Семенной материал с помощью периферийного участка транспортирующего колеса транспортируется по соседнему участку направляющей. Семенной материал выдается периферийным участком.
Одно преимущество изобретения заключается в том, что транспортирующее колесо надежным образом дозирует и ускоряет семенной материал. Другое преимущество заключается в том, что щетинки на периферийном участке транспортирующего колеса надежным образом захватывают семенной материал и транспортируют его по направляющей независимо от величины и направленности зерен.
Другое преимущество состоит в том, что внешний захватный слой на периферийном участке транспортирующего колеса может быть выполнен из различных материалов с высоким коэффициентом трения, например щетинок, пеноматериала, легкой пены, ткани, волокон или щепок.
Далее одно преимущество состоит в том, что корпус, частично охватывающий транспортирующее колесо, чтобы направлять по нему семенной материал, выполнен просто и эффективно посредством направляющей и пары боковых стенок.
Другое преимущество состоит в том, что направляющий элемент выполнен с возможностью периодического отклонения внешнего слоя транспортирующего колеса для надежного захвата семенного материала.
С помощью чертежей, изображающих пример осуществления изобретения, оно и его другие преимущества и предпочтительные усовершенствования и варианты выполнения описаны и пояснены более подробно.
На чертежах представлено:
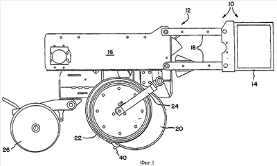
– фиг.1: вид сбоку сеялки, согласно изобретению, с рядовым высевающим аппаратом;
– фиг.2: частично с вырезом вид сбоку рядового высевающего аппарата согласно фиг.1, причем видны внутренние компоненты системы дозирования и системы выдачи семенного материала;
– фиг.3: в перспективе система дозирования и система выдачи согласно фиг.2 со снятой боковой стенкой для показа транспортирующего колеса и направляющей семенного материала;
– фиг.4: вид сбоку системы выдачи семенного материала согласно фиг.2 и 3;
– фиг.5: разрез транспортирующего колеса согласно фиг.4 по линии 5-5.
На фиг.1 и 2 изображена сеялка 10, согласно изобретению, выполненная в виде рядовой сеялки. На фиг.1 и 2 изображен отдельный рядовой высевающий аппарат 12 рядовой сеялки с несколькими рядовыми высевающими аппаратами, причем каждый рядовой высевающий аппарат 12 выполнен, в основном, идентичным и соединен с обычным держателем 14 рабочего органа. Для простоты показан лишь один рядовой высевающий аппарат 12.
Рядовой высевающий аппарат 12 содержит составную раму 16, закрепленную посредством параллельно-рычажного механизма 18 на держателе 14 рабочего органа. Держатель 14 рабочего органа соединен с приводным блоком (не показан), например сельскохозяйственным трактором. Например, держатель 14 рабочего органа может быть прицеплен к сельскохозяйственному трактору посредством трехточечного прицепа. Держатель 14 рабочего органа может быть связан с транспортными колесами, маркерами и т.д. традиционной формы, которые для простоты не показаны. Транспортные колеса заботятся известным образом о приводе рядового высевающего аппарата 12 от почвы с использованием валов, цепей, зубчатых колес, распределительных механизмов и т.д.
Рама 16 несет двухдисковый сошник 20 для образования посевной борозды в пашне. Дисковой паре двухдискового сошника 20 придана соответствующая пара колес 22 для регулирования глубины и закрывания борозды. В частности, каждое колесо 22 расположено, в основном, соосно и непосредственно рядом с внешней стороной соответствующего диска двухдискового сошника 20. Колеса 22 для регулирования глубины и закрывания борозды соединены с рамой 16 с возможностью поворота посредством соответствующих рычагов 24. Каждое колесо 22 для регулирования глубины и закрывания борозды может быть установлено с возможностью перемещения по вертикали для регулирования глубины борозды, нарезанной в пашне двухдисковым сошником 20.
Также на раме 16 установлена пара закрывающих колес 26. Закрывающие колеса 26 расположены, в основном, соосно с двухдисковым сошником 20.
Как видно на фиг.2, каждый рядовой высевающий аппарат 12 сеялки 10 несет систему 28 дозирования и систему 30 выдачи семенного материала. Система 28 дозирования содержит впускной желоб 32, который принимает семенной материал из главного питающего устройства, например установленного на раме 16 бункера. В качестве альтернативы семенной материал может содержаться также в расположенном на удалении главном бункере и подаваться к впускному желобу 32 сжатым воздухом и т.п.
Система 28 дозирования содержит также приводное колесо 34, приводящее диск 36 для семенного материала, снабженный несколькими удаленными друг от друга по окружности ячейками 38 для семенного материала. Соединительная деталь 39 (фиг.3) постоянно соединена с вакуумным устройством (не показано), создающим разрежение в выполненных в диске 36 ячейках 38. Это разрежение обеспечивает попадание семенного материала в ячейки 38 и удерживает его в ячейках 38. Семенной материал подается из ячеек 38 к системе 30 выдачи.
Система 30 выдачи содержит направляющую 40 семенного материала, которая направляет семенной материал в заданном количестве в нарезанную двухдисковым сошником 20 посевную борозду. Направляющая 40 имеет в поперечном посевной борозде направлении ширину, которая меньше ширины посевной борозды.
Транспортирующее колесо 42, представляющее собой регулятор скорости семенного материала, имеет периферийный участок, позиционированный на или вблизи направляющей 40. Транспортирующее колесо 42 захватывает взятый системой 30 выдачи с установленной частотой семенной материал и ускоряет его до скорости, которая, в основном, соответствует скорости движения сеялки 10 в направлении 44 движения. Транспортирующее колесо 42 и направляющая 40 взаимодействуют между собой для выдачи семенного материала по желаемой траектории движения и с желаемой скоростью.
С обеих сторон транспортирующего колеса 42 расположены боковые стенки 46, закрепленные на направляющей 40. Боковые стенки 46 и направляющая 40 образуют сообща корпус, частично охватывающий транспортирующее колесо 42.
Со ссылкой на фиг.4 и 5 система 30 выдачи описана ниже более подробно. Транспортирующее колесо 42 образует дозирующе-ускоряющее устройство, которое вместе с направляющей 40 выдает семенной материал с заданной частотой с нижнего конца 48 направляющей 40. Транспортирующее колесо 42 содержит, в основном, несущую ступицу 50, упругий средний слой 52 и внешний захватный слой 54. Зубчатое колесо 56 приводится цепью (не показана) за счет контакта с почвой, причем на сеялке 10 используются распространенные почвенные приводные элементы (не показаны). В качестве альтернативы зубчатое колесо 56 может приводиться также гидродвигателем, электродвигателем и т.п. Зубчатое колесо 56 приводится с частотой вращения, с которой создается тангенциальная скорость на внешнем диаметре транспортирующего колеса 42, в основном, соответствующая скорости движения сеялки 10, в зависимости от применения транспортирующее колесо 42 может приводиться, само собой, также с иной частотой вращения.
Несущая ступица 50 изготовлена из подходящего синтетического материала и представляет собой несущую деталь транспортирующего колеса 42. При этом применяется особый синтетический материал, обладающий достаточной жесткостью, так что несущая ступица 50 при нормальной работе не деформируется, В зависимости от применения несущая ступица 50 может быть изготовлена также из другого материала, например металла или композитного материала. Несущая ступица 50 выполнена, в основном, дискообразной формы и представляет собой несущую деталь упругого среднего 52 и внешнего захватного 54 слоев.
Упругий средний слой 52 расположен радиально вокруг несущей ступицы 50. Упругий средний слой 52 имеет, в основном, прямоугольное сечение, как показано на фиг.5. Слой 52 изготовлен из материала, обладающего ограниченной способностью радиальной деформации внутрь для приспосабливания к различной величине зерен и направленности семенного материала, когда он транспортируется между транспортирующим колесом 42 и направляющей 40. В изображенном примере упругий средний слой 52 изготовлен из высокоплотного пенополиуретана, имеющего плотность от 240 до 320 кг/м3. Эта плотность пены приблизительно соответствует твердости по Шору 30-40. В зависимости от применения может применяться пена с твердостью по Шору 20-70, кроме того, упругий средний слой 52 может быть изготовлен из резины, легкой пены или упругого материала иного рода.
Внешний захватный слой 54 расположен радиально вокруг упругого среднего слоя 52. Захватный слой 54 имеет периферийный участок, который образует внешний диаметр транспортирующего колеса 42. Периферийный участок внешнего захватного слоя 54 расположен вплотную рядом с участком направляющей 40. Преимущественно периферийный участок внешнего захватного слоя 54 расположен на расстоянии 0-5 мм от участка направляющей 40. В изображенном примере периферийный участок внешнего захватного слоя 54 расположен на расстоянии около 1 мм от направляющей 40.
Внешний захватный слой 54 выполнен с периферийным участком, имеющим множество смежных отдельных поверхностей. Независимо от применяемого вида смежных отдельных поверхностей, описанного ниже более подробно, гарантируется высокий коэффициент трения, за счет которого семенной материал захватывается и транспортируется с заданной частотой через зону между транспортирующим колесом 42 и направляющей 40 без существенного повреждения. В изображенном на фиг.4 и 5 примере многие смежные отдельные поверхности выполнены в виде нейлоновых щетинок, изготовленных фирмой ЗМ. Щетинки имеют приблизительно диаметр 0,0762 мм и длину 3,175 мм. В зависимости от применения материал, диаметр и длина щетинок могут варьироваться. Например, щетинки могут иметь длину около 25,4 мм и диаметр примерно до 0,6 мм. Кроме того, могут применяться и другие материалы с высоким коэффициентом трения, например пенопластовое, легкопенное, тканое, волокнистое или щелочное покрытие.
Направляющая 40 снабжена направляющим желобом 41, глубина которого возрастает от верхнего конца 49 к нижнему концу 48. Направляющий желоб 41 удерживает семенной материал по центру направляющей 40, когда он транспортируется транспортирующим колесом 42, и улучшает, кроме того, процесс движения семенного материала на нижнем конце 48 в нарезанную в пашне посевную борозду.
Под выпускным желобом 58 расположен направляющий элемент 60, проходящий от дна системы 28 дозирования до системы 30 выдачи. Направляющий элемент 60 направляет семенной материал в образованную между транспортирующим колесом 42 и направляющей 40 приемную щель. Направляющий элемент 60 может быть выполнен также с возможностью вступления в контакт с щетинками внешнего захватного слоя 54 транспортирующего колеса 42. Это локальное отклонение щетинок способствует тому, что семенной материал надежно попадает в приемную щель между транспортирующим колесом 42 и направляющей 40. В изображенном примере направляющий элемент 60 выполнен в виде пластины, ширина которой соответствует ширине транспортирующего колеса 42. Направляющий элемент 60 может быть выполнен также иначе.
Во время работы выбранный семенной материал принимается из места основного питания впускным желобом 32 системы 28 дозирования. Семенной материал удерживается одной стороной диска 36, причем диск 36 приводится приводным колесом 34 с заданной частотой вращения с использованием механического привода, гидродвигателя, электродвигателя или другого подходящего привода. Семенной материал размещается в ячейках 38 диска 36. Для поддержания транспортирования семенного материала в ячейки 38 противоположную сторону диска 36 нагружают разрежением с использованием подходящего источника вакуума. Само собой, может применяться избыточное давление на стороне диска, на которой помещают семенной материал. Семенной материал отдается системой 28 дозирования с заданной частотой через выпускной желоб 58. Направляющий элемент 60 поддерживает ввод семенного материала в приемную щель, образованную между транспортирующим колесом 42 и направляющей 40. Направляющий элемент 60 может также локально отклонять щетинки внешнего захватного слоя 54, когда они вращаются вдоль него. Отклонение щетинок поддерживает захват семенного материала и его транспортирование в соседнюю с направляющей 40 приемную щель. Промежуток приблизительно в 1 мм между периферийным участком транспортирующего колеса 42 и направляющей 40 гарантирует, что семенной материал будет захватываться внешним захватным слоем 54 без оказания на него при этом слишком большого усилия. Упругий средний слой 52 может быть также в зависимости от величины и/или направленности зерен вдавлен семенным материалом, когда он попадает в зону между транспортирующим колесом 42 и направляющей 40. Направляющий желоб 41 непрерывно возрастает по глубине и удерживает семенной материал вдоль продольной оси направляющей 40. Семенной материал ускоряется, достигая приблизительно скорости движения сеялки 10, и укладывается направляющим желобом 41 на нижнем конце 48 в нарезанную в пашне посевную борозду. Колеса 22 для регулирования глубины и закрывания и закрывающие колеса 26 закрывают посевную борозду и накрывают за счет этого находящийся в ней семенной материал.
Формула изобретения
1. Сеялка для выдачи семенного материала, содержащая, по меньшей мере, одну систему (28) дозирования и, по меньшей мере, одну систему (30) выдачи семенного материала, причем каждая система (30) выдачи связана с соответствующей системой (28) дозирования и имеет направляющую (40) семенного материала и транспортирующее колесо (42) с периферийным участком, снабженным несколькими примыкающими друг к другу отдельными поверхностями, причем периферийный участок расположен близко рядом, по меньшей мере, с одним участком направляющей (40) семенного материала, транспортирующее колесо (42) выполнено в виде щетинного колеса, а отдельные поверхности выполнены в виде множества щетинок, проходящих по периферийному участку, в основном, радиально, причем транспортирующее колесо (42) расположено относительно потока семенного материала вниз по течению системы (28) дозирования с возможностью захвата взятого системой (30) выдачи с заданной частотой семенного материала и его ускорения, причем транспортирующее колесо (42) и направляющая (40) семенного материала выполнены с возможностью взаимодействия между собой, отличающаяся тем, что предусмотрен направляющий элемент (60), установленный в заданном месте относительно периферийного участка транспортирующего колеса (42) с возможностью вхождения в него, причем направляющий элемент (60) выполнен с возможностью периодического отклонения нескольких отдельных поверхностей на периферийном участке за счет вращения транспортирующего колеса(42).
2. Сеялка по п.1, отличающаяся тем, что транспортирующее колесо (42) содержит несущую ступицу (50) и упругий средний слой (52), причем упругий средний слой (52) расположен радиально вокруг несущей ступицы (50).
3. Сеялка по п.1, отличающаяся тем, что направляющий элемент (60) содержит пластину.
4. Сеялка по п.1, отличающаяся тем, что система (30) выдачи содержит снабженный направляющей (40) семенного материала корпус, причем транспортирующее колесо (42) размещено в корпусе, по меньшей мере, частично.
5. Сеялка по п.4, отличающаяся тем, что направляющая (40) семенного материала имеет противоположные боковые поверхности, а корпус – пару боковых стенок (46), причем боковые стенки (46) расположены на противоположных боковых поверхностях направляющей (40) семенного материала.
6. Сеялка по одному из пп.1-5, отличающаяся тем, что сеялка (10) содержит несколько рядовых высевающих аппаратов (12), причем каждый рядовой высевающий аппарат (12) выполнен, по меньшей мере, с одной системой (28) дозирования и, по меньшей мере, одной системой (30) выдачи семенного материала.
РИСУНКИ
|
|