|
|
(21), (22) Заявка: 2007102130/09, 15.01.2007
(24) Дата начала отсчета срока действия патента:
15.01.2007
(43) Дата публикации заявки: 27.07.2008
(46) Опубликовано: 10.05.2009
(56) Список документов, цитированных в отчете о поиске:
US 6816974 В1, 09.11.2004. RU 10903 U1, 16.08.1999. US 6678824, 13.01.2004. US 2004/015985 A1, 22.01.2004.
Адрес для переписки:
194021, Санкт-Петербург, ул. Политехническая, 26, ФТИ им. А.Ф. Иоффе РАН, патентно-лицензионная служба, В.И. Белову
|
(72) Автор(ы):
Холкин Владимир Юрьевич (RU), Владимиров Сергей Львович (RU)
(73) Патентообладатель(и):
Холкин Владимир Юрьевич (RU), Владимиров Сергей Львович (RU)
|
(54) СПОСОБ ОГРАНИЧЕНИЯ ВРЕМЕНИ ИСПОЛЬЗОВАНИЯ ДИСПЛЕЙНОГО ПРИБОРА И УСТРОЙСТВО ДЛЯ ЕГО ОСУЩЕСТВЛЕНИЯ
(57) Реферат:
Изобретение относится к устройствам, предназначенным для контроля времени использования пользователем дисплейного прибора, такого как телевизионный приемник, персональный компьютер, ноутбук, и стимуляции занятий физической нагрузкой. Технический результат заключается в обеспечении ограничения времени использования дисплейного прибора. Устройство включает в себя тренажер и блок управления, при этом тренажер включает спортивный снаряд с датчиком регистрации выполнения упражнений и передатчик, подключенный к упомянутому датчику, а блок управления включает приемник, коммутационно-логический блок, первый таймер в виде первого счетчика и первого компаратора, второй счетчик, второй компаратор и сигнальный блок, при этом приемник подключен к первому входу второго счетчика, выход которого соединен с входом второго компаратора, выход которого подключен ко второму входу второго счетчика и первому входу первого счетчика, выход первого счетчика подключен к входу первого компаратора, выход которого соединен с входом сигнального блока и первым входом коммутационно-логического блока, первый выход которого подключен ко второму входу первого счетчика, а вход/выход коммутационно-логического блока является входом/выходом устройства, подключаемым к дисплейному прибору. 4 з.п. ф-лы, 7 ил.
Изобретение относится к способам и устройствам, предназначенным для контроля времени использования пользователем дисплейного прибора, такого как телевизионный приемник, персональный компьютер, ноутбук, и стимуляции занятий физической нагрузкой.
В настоящее время, в связи с повсеместным распространением дисплейной аппаратуры, появилась необходимость ограничения времени использования детьми такой аппаратуры в отсутствие взрослых.
Известен способ допуска пользователя к просмотру развлекательных программ (см. заявка US 20040015985, МПК H01N 7/16, опубликована 22.01.2004 г.), включающий выбор развлекательных программ, передачу информации, касающейся выбранных программ, коммуникационному устройству лица, дающего разрешение на просмотр, получение информации от коммуникационного устройства лица, дающего разрешение на просмотр, чтение переданной информации и основанное на переданной информации разрешение или запрещение просмотра развлекательной программы.
Известный способ позволяет контролировать время просмотра определенных программ, но не предусматривает при этом изменение статичного положения пользователя при работе с компьютером.
Известна система допуска пользователя к просмотру развлекательных программ (см. заявка US 20040015985, МПК H01N 7/16, опубликована 22.01.2004 г.), в которую входит контроллер просмотра программ и коммуникационное устройство. Контроллер просмотра программ включает первый блок управления, приемник программ, соединенный с первым блоком управления, для получения программ для просмотра, передатчик запроса, соединенный с первым блоком управления, для передачи запроса информации коммуникационному устройству, касающейся развлекательной программы, приемник ответа, соединенный с первым блоком управления, для получения разрешения или запрещения просмотра развлекательной программы. Коммуникационное устройство включает второй блок управления, приемник запроса, соединенный со вторым блоком управления, и передатчик ответа на запрос, соединенный со вторым блоком управления. Первый блок управления, приемник программ, передатчик запроса и приемник ответа могут быть объединены в одну настраиваемую приставку для телевизора или компьютера.
Известная система позволяет дистанционно ограничивать просмотр определенных программ или время просмотра, не предотвращает длительное статичное положение пользователя.
Известен способ ограничения времени просмотра развлекательных компьютерных программ (см. патент US 6678824, МПК H04L 9/32, опубликован 13.01.2004 г.), основанный на контроле времени просмотра образовательных программ и кредитовании времени просмотра развлекательных программ в зависимости от времени просмотра образовательных программ.
Известный способ стимулирует ребенка просматривать образовательные программы, чтобы получить возможность просматривать развлекательные программы. Однако известный способ не способствует изменению статичного положения пользователя при работе с компьютером.
Известна аппаратура для ограничения времени использования развлекательных программ на компьютере (см. патент US 6678824, МПК H04L 9/32, опубликован 13.01.2004 г.), включающая блок измерения времени использования образовательных прикладных программ и блок кредитования разрешенного времени просмотра развлекательных программ на основе измеренного времени просмотра образовательных прикладных программ. Дополнительно аппаратура может включать блок ограничения просмотра программ в определенные часы дня, а также блок, прерывающий использование развлекательных программ, когда кредит времени их просмотра исчерпан.
Известное устройство не предусматривает изменение статичного положения пользователя при работе с компьютером.
Наиболее близким к заявляемому способу по совокупности существенных признаков является способ ограничения времени использования дисплейного прибора (см. патент US 6816974, МПК H04L 9/32, опубликован 09.11.2004 г.), в соответствии с которым после его включения измеряют период времени работы дисплейного прибора, сравнивают его с заданным пороговым значением времени работы дисплейного прибора T1 и выключают дисплейный прибор, если измеренный период времени больше или равен Т1, после выключения дисплейного прибора измеряют период времени, в течение которого дисплейный прибор был выключен, сравнивают его со вторым заданным пороговым значением времени отключения дисплейного прибора T2, если измеренный период времени больше или равен Т2, то включают дисплейный прибор.
Известный способ-прототип позволяет контролировать время работы с дисплейным прибором и время отдыха пользователя, но не обеспечивает изменение его статичного (неподвижного) положения пользователя.
Наиболее близким к заявляемому устройству по совокупности существенных признаков является устройство ограничения времени использования дисплейного прибора (см. патент US 6816974, МПК H04L 9/32, опубликован 09.11.2004 г.), включающее блок управления, который включает коммутационно-логический блок, первый таймер для измерения периода времени работы дисплейного прибора и ограничения времени его работы на основе заданного порогового значении времени, первый таймер для измерения периода времени отключения дисплейного прибора и ограничения времени отключения дисплейного прибора на основе заданного порогового значении времени.
Известное устройство-прототип позволяет ограничить время работы с дисплейным прибором. Однако при работе с дисплейным прибором опасно не само время работы, в частности с компьютером, а длительное неподвижное положение пользователя. Ребенок, лишенный с помощью известного устройства доступа к дисплейному прибору, например компьютеру, находит себе другое статичное занятие, разговаривая по телефону с другом, играя на сотовом телефоне и т.п., в ожидании, когда его снова допустят к дисплейному прибору.
Задачей заявляемого технического решения являлась разработка такого способа ограничения времени использования дисплейного прибора и вариантов устройства для его осуществления, составляющих единый изобретательский замысел, которые бы стимулировали пользователя чередовать работу с дисплейным прибором и активную физическую нагрузку.
В части способа задача решается тем, что способ включает измерение периода времени Траб работы дисплейного прибора, сравнение его с заданным пороговым значением времени T1 работы дисплейного прибора, продолжение работы дисплейного прибора при Траб, меньшем T1, а при Траб, большем или равном T1, остановку работы дисплейного прибора и выработку сигнала о переходе к работе на тренажере, установку на тренажере заданных параметров физической нагрузки, определение количества выполненных упражнений Nупр на тренажере, сравнение его с заданным количеством упражнений Nуст, продолжение работы на тренажере при Nупр, меньшем Nуст, а при Nупр, большем или равном Nуст, восстановление работы дисплейного прибора.
В результате использования заявляемого технического решения помимо ограничения времени работы на дисплейном приборе обеспечивается стимуляция занятий оздоровительной физкультурой, что позволяет сохранить здоровье пользователей дисплейных приборов, в частности детей.
В качестве сигнала о переходе к работе на тренажере можно использовать звуковой или световой сигнал.
Сигнал о переходе к работе на тренажере можно отображать на экране дисплейного прибора в реальном масштабе времени.
Можно при Траб, меньшем T1, дополнительно сравнивать Траб с заданным пороговым значением времени (T1-n), где n – заданное число минут, и при Траб, большем или равном (T1-n), отображать на экране дисплейного прибора в реальном масштабе времени информацию об остановке работы дисплейного прибора через n минут. Это позволяет подготовить пользователя к предстоящей остановке дисплейного прибора.
В части устройства задача решается тем, что по первому варианту устройство для ограничения времени использования дисплейного прибора включает тренажер и блок управления, при этом тренажер включает спортивный снаряд с датчиком регистрации выполнения упражнений и передатчик, подключенный к упомянутому датчику, а блок управления включает приемник, коммутационно-логический блок, первый таймер в виде первого счетчика и первого компаратора для измерения периода времени работы дисплейного прибора и ограничения времени его работы на основе заданного порогового значении времени, второй счетчик для подсчета количества выполненных упражнений, второй компаратор и сигнальный блок, при этом приемник подключен к первому входу второго счетчика, выход которого соединен с входом второго компаратора, выход которого подключен ко второму входу второго счетчика и первому входу первого счетчика, выход первого счетчика подключен к входу первого компаратора, выход которого соединен с входом сигнального блока и первым входом коммутационно-логического блока, первый выход которого подключен ко второму входу первого счетчика, а вход/выход коммутационно-логического блока является входом/выходом устройства и подсоединяется к дисплейному прибору.
Сигнальный блок может быть выполнен в виде источника звука или источника света.
Сигнальный блок может быть выполнен в виде первого формирователя изображения, выход которого подсоединяется к дисплейному прибору.
Устройство для ограничения времени использования дисплейного прибора может быть снабжено вторым формирователем изображения и третьим компаратором, вход которого подключен к выходу первого счетчика, а выход соединен с входом второго формирователя изображения, выход которого подсоединяется к дисплейному прибору.
Заявляемое изобретение поясняется чертежами, где:
на фиг.1 изображен общий вид устройства, подключенного к телевизору;
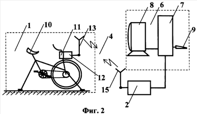
на фиг.2 показан общий вид устройства, подключенного к компьютеру;
на фиг.3 приведена блок-схема одного из вариантов устройства;
на фиг.4 изображена блок-схема другого варианта устройства;
на фиг.5 показана блок-схема третьего варианта устройства;
на фиг.6 изображена последовательность выполнения операций одного из вариантов заявляемого способа;
на фиг.7. показана последовательность выполнения операций другого варианта заявляемого способа.
Заявляемое устройство для ограничения времени использования дисплейного прибора включает тренажер 1 и блок 2 управления, соединенные проводной линией 3 (см. фиг.1) или беспроводным радиоканалом 4 (см. фиг.2). Блок 2 управления (БУ) подключают к дисплейному прибору (Дисп), в качестве которого может выступать, например, телевизор 5 или компьютер 6, включающий процессор 7, монитор 8 и клавиатуру 9. Тренажер 1 включает (см. фиг.3) спортивный снаряд 10 (Сн) с датчиком 11 регистрации выполнения упражнений (Дт) и передатчик 12 (Пер), подключенный к Дт 11. В Тренажере 1 может быть использован любой известный Сн 10. В случае использования беспроводной связи передатчик 12 (Пер) снабжают передающей антенной 13. БУ 2 включает приемник 14 (Пр), снабженный приемной антенной 15, коммутационно-логический блок 16 (Комм), первый таймер 17 в виде первого счетчика 18 (Сч1) и первого компаратора 19 (Комп1), второй счетчик 20 (Сч2), второй компаратор 21 (Комп2) и сигнальный блок 22 (СБ). СБ 22 может быть выполнен в виде источника звука (например, звонка или устройства воспроизведения заранее записанной на носитель подсказки) или источника света. Пр 14 подключен к первому входу Сч2 20, выход которого соединен с входом Комп2 21, выход которого подключен ко второму входу Сч2 20 и первому входу Сч1 18, выход которого подключен к входу Комп1 19, выход которого соединен с входом СБ 22 и первым входом Комм 16, первый выход которого подключен ко второму входу Сч1 18, а вход-выход Комм 16 является входом/выходом устройства и служит для подключения к Дисп 5. Вместо СБ 22 устройство может быть снабжено (см. фиг.4) первым формирователем 23 изображений (ФИ1) для демонстрации на Дисп 5 или мониторе 8 Дисп 6 тех или иных предупреждений пользователю, например, «Отдохните или выполните упражнения на тренажере». Заявляемое устройство для ограничения времени использования дисплейного прибора может быть снабжено (см. фиг.5) вторым формирователем 24 изображения (ФИ2) и третьим компаратором 25 (Комп3), входящим в состав первого таймера 17. Вход Комп3 25 подключают к выходу Сч1 18, а выход соединяют с входом ФИ2 24, выход которого является выходом устройства и служит для подключения к Дисп 6. Такое выполнение устройства позволяет предупредить пользователя о скором отключении дисплейного прибора. В этом случае на мониторе 8 Дисп 6 появляется, например, предупреждающая надпись: «Устройство будет отключено!».
Способ ограничения времени использования дисплейного прибора осуществляют следующим образом. Предварительно в Комп1 19 устанавливают пороговое значение времени T1 работы дисплейного прибора, определяемое санитарными требованиями для различных категорий пользователей. При включении, например, Дисп 6 (см. фиг.4, фиг.6) Комм 16 запускает первый таймер 17. Далее пользователь работает на Дисп 6. Одновременно с помощью Сч1 18 измеряется время Траб работы пользователя на Дисп 6. Комп1 19 сравнивает Траб с пороговым значением времени Т1. Как только время Траб перестанет быть меньше T1, Комп 1 19 подает сигнал ФИ1 23 и Комм 16. На мониторе 8 Дисп 6 появится, например, надпись «Выполните упражнения на тренажере», работа Дисп 6 будет принудительно остановлена, будет остановлен также первый таймер 17. После этого пользователь переходит к работе на Сн 10 тренажера 1. Предварительно в Комп2 21 устанавливают заданное количество упражнений Nуст, которые должен выполнить пользователь. Выполнение упражнений на Сн 10 контролируется Дт 11. Сигналы с выхода Дт 11 поступают на вход Пер 12 и затем при проводной связи (см. фиг.1) поступают на вход Пр 14, а при радиосвязи (см. фиг.2) поступают на передающую антенну 13 и принимаются приемной антенной 15 Пр 14. Сигнал с Пр 14 подается на Сч2 20 (который отсчитывает количество упражнений Nупр) и затем поступает в Комп2 21. Как только Nупр перестанет быть меньше Nупр, Комп2 21 подает сигнал, который производит обнуление Сч2 20, первого таймера 17 и, если работа на Дисп 6 не окончена, то запускается работа Дисп 6. Если работа пользователя на Дисп 6 закончена, то Дисп 6 выключается. Для смягчения эмоциональной нагрузки от неожиданной остановки работы Дисп 6 может быть использован вариант устройства, изображенный на фиг.5. В процессе работы (см. фиг.7) на Дисп 6 в Комп3 25 Траб сравнивается с (T1-n), где n – заданное число минут, например, 1 минута. После того как Траб перестанет быть меньше (T1-n), Комп3 25 вырабатывает сигнал, по которому ФИ2 24 выводит на монитор 8 Дисп 6 предупреждающую надпись, например «Устройство будет скоро остановлено!» или «Устройство будет остановлено через n минут!».
Заявляемое изобретение освобождает родителей от контроля времени, проводимого ребенком за дисплейным прибором, и не несет ярко-выраженного запрещающего характера. Выполнив физические упражнения, ребенок может дальше продолжать работать на дисплейном приборе. Изобретение не только позволяет сохранить здоровье ребенка, но и улучшить его. При этом отсутствие ярко выраженного запрещающего характера не создает напряжение в семье между родителями и ребенком и не толкает ребенка на поиск обходных путей: нахождение способов отключения устройства или поход в компьютерный клуб.
Формула изобретения
1. Устройство для ограничения времени использования дисплейного прибора, включающее тренажер и блок управления, при этом тренажер включает спортивный снаряд с датчиком регистрации выполнения упражнений и передатчик, подключенный к упомянутому датчику, а блок управления включает приемник, коммутационно-логический блок, первый таймер в виде первого счетчика и первого компаратора, второй счетчик, второй компаратор и сигнальный блок, при этом приемник подключен к первому входу второго счетчика, выход которого соединен с входом второго компаратора, выход которого подключен ко второму входу второго счетчика и первому входу первого счетчика, выход первого счетчика подключен к входу первого компаратора, выход которого соединен с входом сигнального блока и первым входом коммутационно-логического блока, первый выход которого подключен ко второму входу первого счетчика, а вход/выход коммутационно-логического блока является входом/выходом устройства, подключаемым к дисплейному прибору.
2. Устройство по п.1, отличающееся тем, что сигнальный блок выполнен в виде источника звука.
3. Устройство по п.1, отличающееся тем, что сигнальный блок выполнен в виде источника света.
4. Устройство по п.1, отличающееся тем, что сигнальный блок выполнен в виде первого формирователя изображения, выход которого является выходом устройства.
5. Устройство по п.1, отличающееся тем, что оно снабжено вторым формирователем изображения и третьим компаратором, вход которого подключен к выходу первого счетчика, а выход соединен с входом второго формирователя изображения, выход которого является выходом устройства.
РИСУНКИ
|
|