|
|
(21), (22) Заявка: 2008105882/09, 18.08.2006
(24) Дата начала отсчета срока действия патента:
18.08.2006
(30) Конвенционный приоритет:
18.08.2005 KR 10-2005-0075731
(46) Опубликовано: 10.05.2009
(56) Список документов, цитированных в отчете о поиске:
ЕР 1014730 А1, 28.06.2000. ЕР 1533930 A1, 25.05.2005. ЕР 0996292 A1, 26.04.2000. YAO J. et al. IP datacasting and channel error handling with DVB-H, Emerging Information Technology Conference, 15-16 August 2005. RU 2180470 C2, 10.03.2002.
(85) Дата перевода заявки PCT на национальную фазу:
15.02.2008
(86) Заявка PCT:
KR 2006/003256 20060818
(87) Публикация PCT:
WO 2007/021157 20070222
Адрес для переписки:
129090, Москва, ул.Б.Спасская, 25, стр.3, ООО “Юридическая фирма Городисский и Партнеры”, пат.пов. А.В.Мицу, рег. 364
|
(72) Автор(ы):
ЙООН Дзунг-Воок (KR), ХА Дзи-Вон (KR), КИМ Мин-Гоо (KR), ОХ Хиун-Сеок (KR)
(73) Патентообладатель(и):
САМСУНГ ЭЛЕКТРОНИКС КО., ЛТД. (KR)
|
(54) СПОСОБ И УСТРОЙСТВО ДЛЯ ДЕКОДИРОВАНИЯ ФРЕЙМА MPE-FEC В СИСТЕМЕ DVB-H
(57) Реферат:
Изобретение относится к системам цифровой широковещательной передачи данных и, в частности, к декодированию фрейма прямого исправления ошибок многопротокольной инкапсуляции (MPE-FEC) в портативной цифровой системе видеотрансляции (DVB-H). Техническим результатом является создание способа эффективного способа декодирования фрейма MPE-FEC в портативной DVB-H для приема пакета транспортного потока (TS) и восстановления датаграммы Интернет протокола (IP). Предложен способ и устройство для декодирования фрейма MPE-FEC в DVB-H. Фильтрация идентификации пакетов (PID) выполняется на пакете TS, принятом с помощью беспроводной сети, для обнаружения пакета TS, a ID таблицы обнаруживается по информации заголовка данных секции для идентификации типа данных секции. Если данные секции являются МРЕ секцией, выполняется буферизация фрейма. Если существует оставшаяся часть в области данных после сохранения IP датаграммы последней МРЕ секции, выполняется дополнение нулями на оставшейся части. Если данные секции являются секцией MPE-FEC, выполняется буферизация фрейма на данных четности, извлеченных секции MPE-FEC. 2 н. и 16 з.п. ф-лы, 8 ил.
ОБЛАСТЬ ТЕХНИКИ, К КОТОРОЙ ОТНОСИТСЯ ИЗОБРЕТЕНИЕ
Настоящее изобретение относится в целом к способу и устройству приема данных в цифровой широковещательной системе, а в частности – к способу и устройству декодирования фрейма прямого исправления ошибок многопротокольной инкапсуляции MPE-FEC в приемнике портативной цифровой системы видеотрансляции (DVB-H).
УРОВЕНЬ ТЕХНИКИ
Цифровое вещание, способное предоставлять высококачественные аудио- и видеоуслуги пользователям, было реализовано с развитием технологии сжатия аудио- и видеоданных и технологии связи. В целом, цифровое вещание относится к широковещательной службе для предоставления услуг высококачественного изображения и звука компакт-дискового (CD)-качества пользователям в месте традиционного аналогового вещания. Такое цифровое вещание включает в себя наземное вещание и спутниковое вещание. Наземное вещание относится к схеме цифрового вещания, позволяющего пользователям принимать широковещательные услуги через наземный ретранслятор. В противоположность этому, спутниковое вещание относится к схеме цифрового вещания, в которой цифровое вещание принимается с использованием спутника в качестве ретранслятора.
Примерами цифрового вещания являются цифровое аудиовещание (DAB), цифровое радиовещание (DRS), радиосистема цифрового аудио и система цифрового мультимедиа вещания (DMB), включающая услуги аудио, видео и данных. В последнее время внимание в большой степени притянуто к европейской DAB системе, т.е. к системе Eureka 147 (проект-147 Агентства европейской координации исследований), и портативной цифровой системе видеотрансляции (DVB-H), которая осуществляет мобильность и портативность наземной DVB системы (DVB-T), которая является одним из стандартов цифрового вещания.
Стандарт физического уровня системы DVB-H удовлетворяет спецификации традиционной DVB-T системы и поддерживает дополнительный метод кодирования для исправления ошибок, такую как метод прямого исправления ошибок многопротокольной инкапсуляции (MPE-FEC) для обеспечения стабильного приема при движении. В системах DVB-H данные вещания построены с использованием датаграммы интернет-протокола (IP), на датаграмме IP выполняется кодирование Рида-Соломона (RS) и таким образом создается фрейм MPE-FEC. Фрейм MPE-FEC включает в себя секцию MPE, несущую датаграмму IP, и секцию MPE-FEC, несущую данные четности, проистекающие из кодирования RS. Секция MPE и секция MPE-FEC переносятся на полезной нагрузке пакета транспортного потока (TS), который является единицей передачи в системе DVB-H и передается через физический уровень.
Фиг.1 иллюстрирует структуру данных пакета TS в традиционной системе DVB-H. Обращаясь к фиг.1, ссылочный номер 11 обозначает датаграмму IP, несущую данные вещания. Датаграмма IP 11 относится к пакету, включающему в себя адресную информацию о сетевом оконечном устройстве, которому передаются данные. Ссылочный номер 13 обозначает секцию MPE, несущую датаграмму 11 IP, или секцию MPE-FEC, несущую данные четности датаграммы 11 IP. Ссылочный номер 15 обозначает пакет TS, несущий секцию 13 MPE или секцию 13 MPE-FEC. Здесь один пакет TS может включать множество секций 13 MPE или секций 13 MPE-FEC, или одна секция 13 MPE, или секция 13 MPE-FEC может быть передана через множество пакетов 15 TS.
Как результат MPE-FEC, на датаграмме IP выполняется RS-кодирование для создания фрейма MPE-FEC. Данные фрейма MPE-FEC переконфигурируются как секции, которые являются единицами передачи. Заголовок секции и 32 бита циклической проверки избыточности (CRC) добавляются к датаграмме 11 IP, и таким образом датаграмма 11 IP переконфигурируется как секция MPE. Заголовок секции и 32 бита CRC также добавляются к данным четности, получающимся из RS-кодирования, и таким образом данные четности переконфигурируются в секцию MPE-FEC. Заголовок секции включает в себя информацию, требуемую для MPE-FEC и квантования времени, и расположен впереди каждой секции. 32 бита CRC расположены в конце каждой секции. Эти секции переносятся на полезной нагрузке пакета 15 TS и передаются через физический уровень.
Фиг.2 – блок-схема передатчика традиционной системы DVB-H. Система DVB-H фиг.1 вещает IP данные множеству пользователей через широковещательные данные и передает данные RS четности пользователям для корректировки широковещательных данных.
На фиг.2 кодировщик 201 MPE-FEC генерирует секцию MPE, включающую датаграмму IP для передачи датаграммы IP, предоставленной как широковещательные данные в единицах секций, и секцию MPE-FEC, включающую данные четности для прямого исправления ошибок (FEC) секции MPE. Данные четности генерируются хорошо известным внешним методом, выраженным RS-кодированием. Выход кодировщика 201 MPE-FEC передается на процессор 203 квантования времени для обработки разделения по времени для разбивки широковещательных данных. Единственный пакет MPE-FEC передается за единственный короткий период. Датаграмма IP, подвергающаяся квантованию по времени, обрабатывается потоковой обработкой с высоким приоритетом (HP) и конвертируется в последовательный/параллельный сигнал согласно порядку модуляции и иерархическому или неиерархическому режиму.
На фиг.2 битовый перемежитель 205 и символьный перемежитель 207 выполняют основанные на битах и на символах перемежения для рассеяния ошибок передачи. Перемеженный сигнал подвергается символьному преобразованию посредством символьного преобразователя 209 согласно способу модуляции, такому как кодирование квадратурно-фазовым сдвигом (QPSK), 16 квадратурной амплитудной модуляции (QAM), 64 QAM и затем передается на инверсное быстрое преобразование Фурье (EFFT) 211. IFFT 211 преобразует сигнал частотной области в сигнал временной области. Защитный интервал вставляется в сигнал IFFT обработки блоком вставки защитных интервалов (не показан) для создания основополосного символа мультиплексирования с ортогональным частотным разделением (OFDM). Символ OFDM подвергается импульсному формированию посредством цифрового группового фильтра и обрабатывается радиочастотным модулятором 213, таким образом являясь передаваемым как пакет TS, который является DVB-H сигналом, с помощью антенны 215.
Приемник системы DVB-H принимает пакет TS через физический уровень и восстанавливает датаграмму IP, включающую широковещательные данные. Таким образом, приемник требует методики декодирования MPE-FEC для того, чтобы раздельно извлечь секцию MPE и секцию MPE-FEC из пакета TS и сконфигурировать восстановленные данные как фрейм MPE-FEC для восстановления датаграммы IP. Детализированный стандарт для методики передачи системы DVB-H был предложен, но стандарт для методики приема системы DVB-H, такой как MPE-FEC декодирование, предложен не был.
СУЩНОСТЬ ИЗОБРЕТЕНИЯ
Таким образом, целью настоящего изобретения является предоставление способа и устройства для декодирования фрейма MPE-FEC в системе DVB-H для приема пакета TS и восстановления датаграммы IP, которая является широковещательными данными.
Согласно настоящему изобретению предоставлен способ для декодирования фрейма прямого исправления ошибок многопротокольной инкапсуляции (MPE-FEC) в приемнике цифровой системы видеотрансляции (DVB). Способ включает в себя шаги, на которых выполняют фильтрацию идентификации пакета (PID) на пакете транспортного потока (TS), принятом через беспроводную сеть, для обнаружения пакета TS, включающего в себя данные секции секции многопортокольной инкапсуляции (MPE), или MPE-FEC секцию, обнаруживают ID таблицы из информации заголовка данных секции для идентификации типа данных секции, если данные секции являются секцией MPE, выполняют буферизацию фрейма на IP датаграмме, извлеченной из секции MPE в области данных в буфере, если существует остаточная часть в области данных после сохранения датаграммы IP последней секции MPE, выполняют дополнение нулями в оставшейся части, если данные секции являются секцией MPE-FEC, выполняют буферизацию фрейма на данных четности, извлеченных из секции MPE-FEC, и выполняют декодирование Рида-Соломона (RS) на датаграмме IP с использованием данных четности для вывода скорректированной от ошибок датаграммы IP.
Согласно настоящему изобретению предусмотрено устройство для декодирования фрейма MPE-FEC в приемнике системы DVB. Устройство включает в себя буфер для сохранения датаграммы IP секции MPE, извлеченной из принятого пакета TS в области данных, и раздельного сохранения данных четности секции MPE-FEC в области четности, RS-декодер для выполнения корректировки ошибок датаграммы IP с использованием данных четности и контроллер для выполнения фильтрации PID для обнаружения пакета TS, включающего данные секции, проверки ID таблицы информации заголовка секции MPE и секции MPE-FEC, извлечения датаграммы IP и данных четности для сохранения их в буфере и, если существует остаточная часть в области данных после сохранения IP датаграммы последней секции MPE, выполнения дополнения нулями в оставшейся части буфера и выполнения RS-декодирования на датаграммы IP и дополненных нулями данных через посредство RS-декодера.
КРАТКОЕ ОПИСАНИЕ ЧЕРТЕЖЕЙ
Вышеприведенные и другие цели, признаки и преимущества настоящего изобретения станут более очевидными из следующего подробного описания, будучи воспринятыми в соединении с сопроводительными чертежами, на которых:
фиг.1 иллюстрирует структуру данных пакета TS в традиционной системе DVB-H;
фиг.2 – блок-схема передатчика традиционной системы DVB-H;
фиг.3 – блок-схема приемника системы DVB-H согласно настоящему изобретению;
фиг.4 – схема последовательности операций, иллюстрирующая способ декодирования фрейма MPE-FEC согласно настоящему изобретению;
фиг.5 – схема устройства для декодирования фрейма MPE-FEC согласно настоящему изобретению;
фиг.6A по 6D – схемы последовательности операций, иллюстрирующие способ декодирования фрейма MPE-FEC согласно настоящему изобретению;
фиг.7 – структура данных, иллюстрирующая циклическую буферизацию в способе декодирования фрейма MPE-FEC согласно настоящему изобретению;
фиг.8A – изображение, иллюстрирующее буферизацию буфера фрейма в способе декодирования фрейма MPE-FEC согласно настоящему изобретению; и
фиг.8B – изображение, иллюстрирующее маркирование информации достоверности буфера стирания в способе декодирования фрейма MPE-FEC согласно настоящему изобретению.
ПОДРОБНОЕ ОПИСАНИЕ ПРЕДПОЧТИТЕЛЬНЫХ ВАРИАНТОВ
ОСУЩЕСТВЛЕНИЯ ИЗОБРЕТЕНИЯ
Предпочтительные варианты осуществления настоящего изобретения далее будут подробно описаны со ссылкой на прилагаемые чертежи. В последующем описании подробное описание известных функций и конфигураций, включенных в материалы настоящей заявки, было опущено для целей ясности и краткости.
Фиг.3 – блок-схема приемника системы DVB-H согласно настоящему изобретению.
Обращаясь к фиг.3, пакет TS, принятый от беспроводной сети, принят радиочастотным демодулятором 303 с помощью антенны 301 и OFDM символы пакета TS обратно преобразованы по частоте в цифровой сигнал радиочастотным демодулятором 303. Цифровой сигнал преобразован в сигнал частотной области через посредство быстрого преобразования 305 Фурье (FFT). Обратный символьный преобразователь 307 выполняет обратное символьное преобразование принятого сигнала согласно способу модуляции, такому как QPSK, 16 QAM, или 64 QAM. Символьный обращенный перемежитель 309 и битовый обращенный перемежитель 311 выполняют обратное перемежение на основе символов и на основе битов для восстановления исходного сигнала. Процессор 313 квантования по времени повторяет операцию переключения для принятия пакета TS, включающего фрейм MPE-FEC в каждом коротком периоде. Здесь короткий период может быть проверен посредством приема информации дельта t, включенной в заголовки секций секции MPE и секции MPE-FEC для указания времени начала следующего короткого периода.
Декодер 315 MPE-FEC выполняет фильтрацию PID. Таким образом, если обнаружен PID пакета, определенного для переноса секции MPE или секции MPE-FEC, из информации заголовка TS пакета, декодер 315 MPE-FEC считает секцию MPE или секцию MPE-FEC принятой. Если не обнаружен PID пакета определенного для переноски секции MPE или секции MPE-FEC, декодер 315 MPE-FEC принимает специфичную для программы информацию/служебную информацию (PSI/SI), которая будет упоминаться как информация широковещательной службы, из пакета TS для приема служебной информации, относящейся к приему вещания, такая как информация о том, применять ли квантование времени и MPE-FEC. Декодер 315 MPE-FEC, принимающий информацию широковещательной службы (PSI/SI), отдельно сохраняет датаграмму IP секции MPE и данные четности секции MPE-FEC, в области данных и четности внутреннего буфера и выполняет RS-декодирование для восстановления исходных данных вещания.
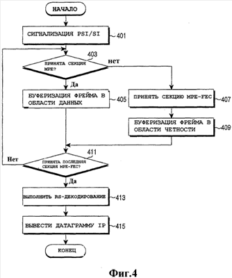
Фиг.4 – схема последовательности операций, иллюстрирующая способ декодирования фрейма MPE-FEC согласно настоящему изобретению. Шаги на фиг.4 выполняются декодером 315 MPE-FEC с фиг.3.
На шаге 401 декодер 315 MPE-FEC выполняет фильтрацию PID на пакете TS, принятом от демодулятора физического уровня для обнаружения пакета TS, несущего секцию MPE или секцию MPE-FEC, и определяет, применять ли квантование по времени и MPE-FEC для других пакетов, считающихся включающими информацию широковещательной службы (PSI/SI). Настоящее изобретение предлагает способ декодирования фрейма MPE-FEC, и таким образом допускается, что MPE-FEC применяется в этом описании. После приема информации широковещательной службы (PSI/SI), если декодер 315 MPE-FEC принимает пакет TS, включающий MPE-PID в информацию заголовка, он рассматривает данные, включенные в полезную нагрузку как являющиеся секцией MPE или секцией MPE-FEC.
На шаге 403 декодер 315 MPE-FEC проверяет ID таблицы из информации заголовка данных секции, извлеченных из пакета TS, для определения, являются ли данные секции секцией MPE, включающей датаграмму IP, или секцией MPE-FEC, включающей данные четности датаграммы IP. Если принятые данные секции являются секцией MPE, декодер 315 MPE-FEC выполняет буферизацию фрейма на датаграмме IP соответствующей секции MPE в области данных внутреннего буфера. Если принятые данные секции являются секцией MPE-FEC, декодер 315 MPE-FEC выполняет буферизацию фрейма на данных четности соответствующей секции MPE-FEC в области четности внутреннего буфера.
На шаге 411 декодер 315 MPE-FEC проверяет параметр реального времени из информации заголовка секции MPE-FEC для определения, является ли принятая в текущий момент секция MPE-FEC последней секцией MPE-FEC фрейма MPE-FEC. Если принятая секция MPE-FEC не является последней секцией MPE-FEC, декодер 315 MPE-FEC переходит к шагу 403 для продолжения приема секции MPE или секции MPE-FEC фрейма MPE-FEC и выполнения буферизации фреймов. Если принятая секция MPE-FEC является последней секцией MPE-FEC, декодер 315 MPE-FEC выполняет RS-декодирование для исправления ошибки датаграммы IP с использованием данных четности, сохраненных во внутреннем буфере.
На шаге 415 декодер 315 MPE-FEC выводит исправленную от ошибок датаграмму IP на верхний уровень и отображает датаграмму IP как широковещательные данные через терминал пользователя.
Фиг.5 – схема последовательности операций, иллюстрирующая способ декодирования фрейма MPE-FEC согласно настоящему изобретению. Устройство соответствует декодеру 315 MPE-FEC на фиг.3.
Устройство включает буфер 510 для временного хранения датаграммы IP секции MPE, извлеченной из принятого пакета TS и данных четности секции MPE-FEC, извлеченной из пакета TS, RS-декодер 530 для исправления ошибок датаграммы IP с использованием данных четности и контроллер 550 для управления общим функционированием устройства, такого как анализ PSI/SI, переданного от передатчика через физический уровень, для определения, применять ли MPE-FEC, извлечения датаграммы IP и данных четности из секции MPE и секции MPE-FEC для сохранения извлеченной датаграммы IP и данных четности в буфере 510 и выполнения RS-декодирования датаграммы IP посредством RS-декодера 530.
На фиг.5 буфер 510 включает циклический буфер 511 для выполнения CRC на секции MPE и секции MPE-FEC, буфер 513 для отдельного хранения датаграммы IP секции MPE и данных четности секции MPE-FEC для RS-декодирования и буфер 515 стирания для маркировки информации достоверности, относящейся к датаграмме IP и данным четности результата CRC. При приеме пакета TS контроллер 550 анализирует широковещательную информацию для определения, применять ли MPE-FEC, и сохраняет секцию MPE или секцию MPE-FEC, остающуюся после удаления информации заголовка из пакета TS в циклическом буфере 511 для выполнения CRC.
Если результат CRC равен ‘ХОРОШО’, контроллер 550 проверяет информацию заголовка, соответствующую данным секции для сохранения полезной нагрузки (датаграммы IP) секции MPE в области данных буфера 513 фрейма и полезной нагрузки (данные четности) секции MPE-FEC в области четности буфера 513 фрейма. Согласно результату CRC контроллер 550 отмечает нормальный или ненормальный прием датаграммы IP и данных четности как информацию достоверности в буфере 515 стирания, выполняет RS-декодирование на датаграмме IP, имеющей ошибку приема, через посредство RS-декодера 530, используя данные четности, и выводит исправленную от ошибок датаграмму IP на верхний уровень.
Если информация достоверности отмечена во всех областях буфера 515 стирания (т.е. все датаграммы IP фрейма MPE-FEC нормально приняты), контроллер 550 пропускает RS-декодирование.
Фиг.6A по 6D – схемы последовательности операций, иллюстрирующие способ декодирования фрейма MPE-FEC согласно настоящему изобретению.
Обращаясь к фиг.6A, контроллер 550 с фиг.5 принимает пакет TS c физического уровня на шаге 601 и выполняет фильтрацию PID на принятом пакете TS на шаге 603. Если MPE PID пакета TS, несущего секцию MPE или секцию MPE-FEC, не обнаружен как результат фильтрации PID, контроллер 550 считает принятый пакет TS в качестве пакета, несущего PSI/SI, и анализирует PSI/SI для определения, применять ли квантование по времени и MPE-FEC на шаге 605. Контроллер 550 переходит к шагу 601 для приема следующего пакета TS. Если MPE PID обнаруживает из принятого пакета TS, контроллер 550 считает принятый пакет как пакет, несущий секцию MPE или секцию MPE, и переходит к шагу 607.
На шаге 607, если контроллер 550 определяет, не применять MPE-FEC в результате анализа PSI/SI, он переходит к шагу 609 для приема только секции MPE-FEC из пакета TS. Если контроллер 550 определяет, что нужно применить MPE-FEC на шаге 607, он переходит к шагу 611 для удаления 4-байтного заголовка из пакета TS, как показано на фиг.7, и последовательно сохраняет полезную нагрузку 15 из 184 байт в циклическом буфере 511 с фиг.5 в единицах байтов. Целью циклической буферизации является выполнение CRC на только что принятых секции MPE или секции MPE-FEC и сохранение принятых данных, пока полезная нагрузка секции, включающей датаграмму IP или данные четности, передается буферу 513 фрейма. Если последний адрес циклического буфера 511 заполнен данными, следующей позицией сохранения будет адрес “0”.
На шаге 611 контроллер 550 проверяет начало и конец секции MPE или секции MPE-FEC, переданные через посредство полезной нагрузки пакета TS, и выполняет проверку CRC, всякий раз когда определен ID таблицы, которая будет описана ниже, для того чтобы получить информацию достоверности для выполнения RS-декодирования на фрейме MPE-FEC, включающем секцию MPE и секцию MPE-FEC. Этот процесс называется обнаружением секции. Когда секция MPE или секция MPE-FEC передается, 32 бита CRC добавляются в конце каждой секции. В настоящем изобретении, если сгенерирован CRC ‘ХОРОШО’, контроллер 550 считает интервал проверки, имеющий CRC ‘ХОРОШО’, имеющим по меньшей мере одну секцию MPE или секцию MPE-FEC и извлекает информацию, требуемую для декодирования фрейма MPE-FEC из информации заголовка соответствующей секции.
Начало и конец секции MPE или секции MPE-FEC проверяются через посредство проверки CRC и соответствуют интервалу, во время которого функционирует проверочное устройство. Интервал может быть проверен с использованием длины секции.
Таблица 1 демонстрирует информацию, требуемую для декодирования фрейма MPE-FEC среди информации заголовка, извлеченной из секции MPE или секции MPE-FEC.
| Таблица 1 |
| Информация заголовка |
Содержимое |
| Table_id |
Обозначает тип секции MPE или секции MPE-FEC |
| Section_length |
Обозначает длину секции от четвертого байта секции до конца секции, включая 32 бита CRC |
| Padding_columns |
Обозначает количество дополненных нулями колонок в области данных фрейма MPE-FEC (0-190) |
| Table_boundary |
Обозначает, что текущая секция является последней секцией в области данных или области четности фрейма MPE-FEC (если установлен в ‘1’) |
| Address |
Обозначает положение первого байта полезной нагрузки только что принятой секции в каждой области фрейма MPE-FEC |
Контроллер 550 включает по меньшей мере одно проверочное устройство CRC (не показано). Контроллер 550 может выполнять многократные проверки CRC, назначая новое проверочное устройство CRC, всякий раз, когда обнаружен ID таблицы, пока результат проверки CRC равен ‘ХОРОШО’. После того, как контроллер 550 извлекает информацию заголовка данных секции, обнаруженную на шаге 611, он сравнивает интервал проверки CRC проверяющего устройства CRC, указывающего CRC ‘ХОРОШО’, с длинной секции информации заголовка, показанной в таблице 1. Если интервал проверки CRC и длина секции равны, контроллер 50 определяет, что только что принятая секция принята нормально. Такая работа контроллера 550 предназначена для более точного определения секции и может выполняться выборочно.
После завершения обнаружения секции на шаге 611 контроллер 550 читает ID таблицы Таблицы 1 из информации заголовка обнаруженной секции для определения, является ли обнаруженная секция секцией MPE или секцией MPE-FEC на шаге 613. Если обнаруженная секция определена как являющаяся секцией MPE на шаге 613, контроллер 550 переходит на шаг 615 фигуры 6B для удаления информации заголовка и битов CRC из секции MPE и выполняет буферизацию фрейма на датаграмме IP секции MPE в области данных буфера 513 фрейма. Поскольку буферизированная фреймом датаграмма IP является достоверными данными, которые переносят проверку CRC, контроллер 550 отмечает информацию достоверности касательно байтов датаграммы IP на буфере 515 стирания.
Фиг.8A является представлением, показывающим буферизацию буфера 513 фрейма согласно настоящему изобретению. Как показано на фиг.8A, буфер 513 фрейма включает в себя область 810 данных (таблицу данных приложения) для хранения датаграммы IP, предоставленной как широковещательные данные, и область 820 четности (таблицу RS-данных) для хранения данных четности для RS-декодирования датаграммы IP. Таким образом, например, если контроллер 550 обнаруживает секцию MPE, имеющую ID таблицы ‘0x3e’ из информации заголовка, полезная нагрузка секции MPE сохранена в области 810 данных. Если контроллер 550 обнаруживает секцию MPE-FEC, имеющую ID таблицы ‘0x78’, полезная нагрузка секции MPE-FEC сохранена в области 820 данных.
Фиг.8B является представлением, объясняющим маркировку информации достоверности буфера 515 стирания согласно настоящему изобретению. Как показано на фиг.8B, буфер стирания 515 имеет структуру, соответствующую буферу 513 фрейма, включающему область 810 данных (таблицу данных приложения), в которой сохранена (отмечена) информация достоверности датаграммы IP, и область 820 четности (таблицу RS-данных), в которой сохранена (отмечена) информация достоверности данных четности.
На фиг.8A и 8B незаштрихованные части 801 обозначают данные, отмеченные информацией достоверности CRC ‘ХОРОШО’, а заштрихованные области 803 обозначают недостоверные байты, которые не отмечены информацией достоверности. Область 810 данных и область 820 четности, адрес сохранения данных определяются независимо, и адрес буфера, в котором полезная нагрузка каждой секции должна быть сохранена, обозначены информацией адреса (адресом) таблицы 1, которая может быть получена во время извлечения информации заголовка.
Возвращаясь к фиг.6B, после отметки информации достоверности в буфере 515 стирания на шаге 617 контроллер 550 проверяет информацию границы таблицы (table_boundary) из информации заголовка секции MPE для определения, является ли только что принятая секция MPE последней секцией MPE, которая занимает область 810 данных фиг.8A на шаге 619. Если информация границы таблицы установлена в ‘0’, контроллер 550 определяет, что только что принятая секция MPE не является последней секцией MPE, и идет на шаг 623 для проверки, соответствует ли конец секции MPE концу пакета TS. Поскольку длина пакета TS фиксирована 188 байтами, конец пакета TS может быть проверена счетом принятых байтов. Если конец секции MPE равен концу пакета TS, контроллер 550 переходит на шаг 601 для приема следующего пакета TS. Пока конец секции MPE равен концу пакета TS, контроллер 550 переходит на шаг 611 для обнаружения следующей секции MPE или секции MPE-FEC из только что принятого пакета TS.
Только что принятая секция MPE может быть не последней секцией MPE, но может быть концом пакета TS на шагах 619 и 623, поскольку секция MPE или секция MPE-FEC может быть передана через посредство множества пакетов TS, если количество секций MPE или секций MPE-FEC велико, как описано со ссылкой на фиг.1. Например, если информация границы таблицы установлена в ‘1’ на шаге 619, контроллер 550 определяет, что только что принятая секция MPE является последней секцией MPE, и поверяет информацию достоверности буфера 515 стирания на шаге 621 для определения, является ли информация достоверности всех датаграмм IP отмеченной в области 810 данных.
Если информация достоверности всех датаграмм IP отмечена в области 810 данных, это обозначает, что все датаграммы IP в области 810 данных нормально приняты. Таким образом, контроллер 550 пропускает RS-декодирование для исправления ошибок и выводит датаграмму IP буфера 513 фрейма на верхний уровень на шаге 625. Если информация достоверности по меньшей мере одной датаграммы IP не отмечена в области 810 данных, контроллер 550 возвращается к шагу 601 через шаг 623 для приема следующего пакета TS или переходит на шаг 613 для приема секции MPE-FEC для RS-декодирования.
Как описано выше, устройство для декодирования фрейма MPE-FEC принимает секцию MPE. Далее в этом документе RS-декодирование секции MPE будет описано в подробностях со ссылкой на фиг. с 6C по 6D.
На шаге 613 фиг.6A контроллер 550 проверяет ID таблицы таблицы 1 из информации заголовка секции. Если обнаруженная секция является секцией MPE-FEC, контроллер 550 переходит на шаг 627 фиг.6C для проверки информации количества колонок заполнения нулями (padding_columns) из информации заголовка секции MPE-FEC и проверяет часть данных области 810 данных, которые должны быть заполнены ‘0’ вместо данных. Другими словами, область 810 данных может быть передана со стороны передачи без того, чтобы быть полностью заполненной датаграммами IP. В этом случае область 810 данных, которые не заполнены полностью датаграммами IP, заполнены ‘0’ байтами (далее в этом документе – заполнение нулями), переносит RS-декодирование, и фактически на передаются.
Таким образом, для того чтобы для принимающей стороны точно декодировать фрейм MPE-FEC, часть колонки заполнения, которая не передана, должна быть заполнена до RS-декодирования. Количество заполненных нулями частей обозначается в единицах колонок, и контроллер 550 проверяет информацию количества колонок заполнения (paddig_columns) для заполнения нулями. Контроллер 550 выполняет обработку заполнения колонок для случаев, когда датаграмма 805 IP (датаграмма 9 IP на фиг.8A) последней секции MPE-FEC, переданной со стороны передачи, передана нормально и когда датаграмма 805 IP последней секции MPE не принята нормально. В настоящем изобретении фиг.8A соответствует первому случаю, а фиг.8B соответствует второму случаю.
В первом случае контроллер 550 переходит к шагу 631 для выполнения заполнения нулями на оставшейся части области 810 данных после сохранения датаграммы IP последней секции MPE и отмечает информацию достоверности в соответствующей позиции буфера 515 стирания. Во втором случае, поскольку последняя секция MPE не принята нормально и таким образом начальный байт для заполнения нулями не может быть определен, контроллер 550 переходит к шагу 633 для выполнения заполнения нулями на байтах, соответствующих количеству колонок заполнения, указанному информацией количества колонок заполнения (padding_columns), за исключением колонок 807 на фиг.8B, и отмечает заполненные нулями части информацией достоверности. На фиг.8B количество колонок заполнения равно 2.
При первоначальной установке буфер 515 стирания на фиг.5 не отмечен информацией достоверности и вся его область помещена в незаштрихованную область, т.е. недостоверные байты. Таким образом, отдельная маркировка информацией достоверности не требуется для недостоверных байтов, которые не имеют в качестве результата CRC ‘ХОРОШО’.
Если обработка колонки заполнения и маркировка информации достоверности не выполнена на только что принятой секции MPE-FEC на шагах с 627 по 633 или информация количества колонок заполнения (padding_columns) не проверена на шаге 627, контроллер 550 переходит к шагу 635 для извлечения данных четности секции MPE-FEC, выполняет буферизацию фрейма на области 820 четности на фиг.8A и отмечает информацию достоверности области 820 четности с использованием результата CRC шага 611 на шаге 639.
На фиг.6D контроллер 550 проверяет информацию границ таблицы (table_boundary) из информации заголовка текущей секции MPE-FEC для определения, является ли секция MPE-FEC последней секцией MPE-FEC, которая занимает область 820 четности на фиг.8A на шаге 641. Например, если информация границы таблицы установлена в ‘0’, контроллер 550 определяет, что только что текущая секция MPE-FEC не является последней секцией MPE-FEC, и идет на шаг 643 для проверки, соответствует ли конец секции MPE-FEC концу пакета TS. Если конец секции MPE равен концу пакета TS, контроллер 550 возвращается на шаг 601 для приема следующего пакета TS. Пока конец секции MPE-FEC равен концу пакета TS, контроллер 550 переходит на шаг 611 для обнаружения следующей секции MPE или секции MPE-FEC из только что принятого пакета TS.
Тем не менее, если информация границы таблицы установлена в ‘1’, контроллер 550 определяет, что текущая секция MPE-FEC является последней секцией MPE-FEC и переходит на шаг 645 для выполнения RS-декодирования на датаграмме IP области 810 данных с использованием данных четности области 820 четности и выводит скорректированные от ошибок датаграммы IP на верхний уровень на шаге 647.
Как описано выше, согласно настоящему изобретению для декодирования фрейма MPE-FEC в приемнике системы DVB-H секция MPE и секция MPE-FEC обнаруживаются раздельно из пакета TS, и обнаруженная секция MPE и секция MPE-FEC буферизируются и подвергаются RS-декодированию, таким образом восстанавливая датаграмму IP в качестве широковещательных данных.
Несмотря на то, что настоящее изобретение было подробно показано и описано со ссылкой на предпочтительные варианты его осуществления, специалистами в данной области техники будет понято, что в нем могут быть сделаны различные изменения по форме и содержанию, не выходя из сущности и объема изобретения.
Формула изобретения
1. Способ декодирования фрейма прямого исправления ошибок многопротокольной инкапсуляции (MPE-FEC) в приемнике цифровой системы видеотрансляции (DVB-H), способ, содержащий шаги, на которых: выполняют фильтрацию идентификаторов пакетов (PID) на пакете транспортного потока (TS), принятом через беспроводную сеть, для обнаружения пакета TS, включающего в себя данные секции многопротокольной инкапсуляции (МРЕ), или секции MPE-FEC; обнаруживают ID таблицы из информации заголовка данных секции для идентификации типа данных секции; выполняют циклическую проверки избыточности (CRC) на полезной нагрузке соответствующей секции, если обнаружен ID таблицы; выполняют буферизацию фрейма на датаграмме IP, извлеченной из секции МРЕ в области данных буфера, если данные секции являются секцией МРЕ; выполняют дополнение нулями на оставшейся части области данных, если существует оставшаяся часть в области данных после сохранения датаграммы IP последней секции МРЕ; выполняют буферизацию фрейма на данных четности, извлеченных из секции MPE-FEC, если данные секции являются секцией MPE-FEC; и выполняют декодирование Рида-Соломона (RS) на датаграмме IP с использованием данных четности для вывода исправленной от ошибок датаграммы IP.
2. Способ по п.1, в котором если PID, соответствующий данным секции, не обнаружен в качестве результата фильтрации PID во время обнаружения пакета TS, анализируют информацию широковещательной службы, включенную в пакет TS для определения, применять ли MPE-FEC.
3. Способ по п.1, в котором шаг проверки CRC выполняют по меньшей мере одним устройством проверки CRC, назначенном при каждом обнаружении ID таблицы, пока результат CRC показывает нормальный результат.
4. Способ по п.1, в котором шаг буферизации фрейма выполняют на данных секции, имеющих результат CRC, показывающий нормальный результат.
5. Способ по п.4, содержащий также шаг, на котором маркируют информацию достоверности данных секции, имеющих результат CRC, показывающий нормальный результат, во внутреннем буфере.
6. Способ по п.5, содержащий также шаг, на котором выводят датаграмму IP на верхний уровень без RS декодирования на датаграмме IP, если информация достоверности всех датаграмм IP фрейма MPE-FEC отмечена.
7. Способ по п.1, содержащий также шаг, на котором выполняют циклическую буферизацию для проверки CRC на полезной нагрузке секции МРЕ, и полезной нагрузке секции MPE-FEC до выполнения буферизации фрейма.
8. Способ по п.1, в котором данные дополненной нулями части области данных заполняют напрямую ‘0’ без получения приемником.
9. Способ по п.8, содержащий также шаг, на котором выполняют дополнение нулями только на колонках дополнения, проверенных из информации заголовка секции MPE-FEC в области данных, если последняя секция МРЕ не проверена.
10. Устройство для декодирования фрейма прямого исправления ошибок многопротокольной инкапсуляции (MPE-FEC) в приемнике цифровой системы видеотрансляции (DVB-H), устройство, содержащее: буфер для сохранения датаграммы IP секции многопротокольной инкапсуляции (МРЕ), извлеченной из принятого пакета транспортного потока (TS), в области данных и отдельного сохранения данных четности секции MPE-FEC в области четности; декодер Рида-Соломона (RS) для выполнения исправления ошибок датаграммы IP с использованием данных четности; и контроллер для выполнения фильтрации пакетного идентификатора (PID) для обнаружения пакета TS, включающего данные секции, проверки ID таблицы из информации заголовка секции МРЕ и секции MPE-FEC, выполнения циклической проверки избыточности (CRC) на полезной нагрузке соответствующей секции, если обнаружен ID таблицы, извлечения датаграммы IP и данных четности для сохранения ее в буфере, и если существует оставшаяся часть в области данных после сохранения датаграммы IP последней секции МРЕ, выполнения дополнения нулями на оставшейся части буфера, и выполнение RS-декодирования на датаграмме IP и дополненных нулями данных через RS-декодер.
11. Устройство по п.10, в котором буфер содержит: циклический буфер для выполнения проверки CRC на полезной нагрузке секции МРЕ, и полезной нагрузки секции МРЕ; и буфер фрейма для отдельного хранения датаграммы IP секции МРЕ и данных четности секцией MPE-FEC, и выполнения RS-декодирования.
12. Устройство по п.10, в котором контроллер анализирует информацию широковещательной службы, включенную в пакет TS, для определения, применять ли MPE-FEC, если PID, соответствующий данным секции, не обнаружен в качестве результата фильтрации PID.
13. Устройство по п.10, в котором контроллер включает в себя по меньшей мере одно устройство проверки CRC, дополнительно назначает устройство проверки CRC при каждом обнаружении ID таблицы при каждом обнаружении ID таблицы, и выполняет проверку CRC, пока результат CRC показывает нормальный результат.
14. Устройство по п.10, в котором контроллер сохраняет только данные секции, имеющие результат CRC, показывающий результат нормально в буфере.
15. Устройство по п.14, в котором буфер также содержит буфер надежности для маркировки информации достоверности согласно результату CRC, отметкам информации достоверности контроллера данных секции, имеющим результат CRC, указывающим нормальный результат, в буфере достоверности.
16. Устройство по п.15, в котором контроллер выводит датаграмму IP на верхний уровень без RS декодирования на датаграмме IP, если отмечена информация достоверности всех датаграмм IP фрейма MPE-FEC.
17. Устройство по п.10, в котором контроллер напрямую заполняет данные дополненной нулями части области данных с ‘0’.
18. Устройство по п.17, в котором контроллер выполняет дополнение нулями только на колонках дополнения, проверенных из информации заголовка секции MPE-FEC в области данных, если последняя секция МРЕ не проверена.
РИСУНКИ
|
|