|
(21), (22) Заявка: 2006145657/09, 06.06.2005
(24) Дата начала отсчета срока действия патента:
06.06.2005
(30) Конвенционный приоритет:
04.06.2004 NO 20042311
(43) Дата публикации заявки: 20.07.2008
(46) Опубликовано: 10.05.2009
(56) Список документов, цитированных в отчете о поиске:
US 4498127 А, 05.02.1985. RU 2037948 C1, 19.05.1995. SU 547017 A1, 15.02.1977. EP 0472928 A, 04.03.1992.
(85) Дата перевода заявки PCT на национальную фазу:
09.01.2007
(86) Заявка PCT:
NO 2005/000192 20050606
(87) Публикация PCT:
WO 2005/119892 20051215
Адрес для переписки:
191036, Санкт-Петербург, а/я 24, “НЕВИНПАТ”, пат.пов. А.В.Поликарпову
|
(72) Автор(ы):
ДЬЮВЕ Свейн Магне (NO), ХЮСТАД Эгиль (NO)
(73) Патентообладатель(и):
Вяртсиля Норвей АС (NO)
|
(54) СИЛОВАЯ СИСТЕМА ПОДАЧИ ЭЛЕКТРОПИТАНИЯ С МАЛЫМИ ПОТЕРЯМИ
(57) Реферат:
Использование в электротехнике для питания электродвигателей. Технический результат заключается в снижении токов короткого замыкания в сети и уменьшении потерь мощности в трансформаторе. Система подачи электропитания содержит выпрямительный мост (3), подающий ток в двигатель и имеющий два входа РА и РВ переменного тока, а также по меньшей мере один выход для подачи питания в указанный двигатель М, при этом между указанными входами включен YD трансформатор (2), содержащий обмотки, соединенные звездой и треугольником, и обеспечивающий фазовый сдвиг между указанными вводами около 30° на выбранной основной частоте, а также вторую обмотку, соединенную звездой, с углом 150° относительно первой обмотки, соединенной звездой. 2 з.п. ф-лы, 4 ил.
Настоящее изобретение относится к силовой системе подачи электропитания с малыми потерями, включающей выпрямительный мост и инвертор, подающий ток в двигатель, причем выпрямительный мост имеет два входа для подачи переменного тока, а также по меньшей мере один выход для подачи питания в указанный двигатель.
При подводке электропитания к электродвигателям, например в дизельных электрических силовых установках или в системах нагрева трубопровода на морских платформах, обычно используют выпрямительный мост, включенный в трехфазную электросеть через трансформатор, причем указанный трансформатор обеспечивает подключение двух подводов переменного тока к вводам выпрямительного моста. Однако этому решению присуща проблема, связанная с генерацией помех, включающих высшие гармоники напряжения, которые складываются с полным током нагрузки, идущим через обмотки трансформатора, что представляет собой угрозу для имеющейся электрической схемы в выпрямительном мосте и остальной электрической сети, а также увеличивает потери мощности в трансформаторе. Эта проблема особенно актуальна для 5-й и 7-й гармоник.
Для компенсации 5-й и 7-й токовых гармоник выход трансформаторов приспосабливают для подачи в выпрямительный мост сигналов, между которыми имеется фазовый сдвиг приблизительно 30°. Цель настоящего изобретения заключается в усовершенствовании такого устройства. Специальная конструкция трансформатора с малыми потерями в сочетании с небольшим фильтром позволяет значительно снизить потери в трансформаторе и уменьшить полные нелинейные искажения в системе питания в целом. В патенте США 5446643 дан пример фильтрации 5-й и 7-й гармоник тока за счет трансформаторной связи.
В патенте США 4498127 описана трансформаторная связь, использованная в преобразователе частоты. Этот патент относится к одному из вариантов 12-импульсного силового трансформатора, предназначенного для преобразователя, в котором преобразование мощности осуществляется посредством выпрямительного моста. Таким образом, если к этому устройству подключен симметричный источник питания, первые гармоники идут через трансформатор до выпрямителей. Цель изобретения заключается в подаче первой гармоники непосредственно из источника питания в преобразователь частоты. Кроме того, целью настоящего изобретения является снижение тока короткого замыкания в системе с использованием трансформатора в распределительной электросети.
Цели настоящего изобретения достигаются в соответствии с пунктами формулы изобретения.
Таким образом, настоящее изобретение относится к силовой системе подачи электропитания, в которой трансформатор включен между указанными входами, причем этот трансформатор содержит (но этим не ограничивается) обмотки, соединенные звездой и треугольником, и способен обеспечить между указанными входами сдвиг фаз приблизительно 30° на выбранной основной частоте. При этом 5-я и 7-я гармоники исчезают или по меньшей мере в значительной степени подавляются. Согласно предпочтительному варианту выполнения настоящего изобретения подача электропитания на входы трансформатора осуществляется симметрично, чтобы через трансформатор не проходил ток на основной частоте. Таким образом, трансформатор действует как фильтр гармоник.
Кроме того, согласно другому варианту выполнения настоящего изобретения трансформатор системы содержит также вторую обмотку, включенную звездой и имеющую угол 150° относительно первой обмотки, включенной звездой, для подавления 11-й и 13-й гармоник.
Таким образом, настоящее изобретение обеспечивает создание системы, которая улучшает использование низковольтного оборудования путем снижения уровня токов короткого замыкания в сети.
Ниже настоящее изобретение описано со ссылками на сопровождающие чертежи с иллюстративными примерами.
На фиг.1 иллюстрируется известное техническое решение.
На фиг.2 иллюстрируется настоящее изобретение.
На фиг.3 показан предпочтительный вариант выполнения настоящего изобретения.
На фиг.4 показана эквивалентная схема, соответствующая настоящему изобретению.
На фиг.1 показан генератор или источник питания Р, соединенный с трансформатором 1 для подачи напряжения на два входа выпрямительного моста 3, например для питания двигателя М. Как сказано выше, недостатком этого решения являются потери в трансформаторе, а также наличие гармоник.
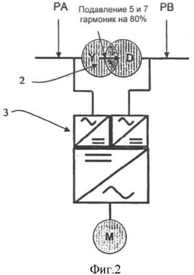
Как показано на фиг.2, настоящее изобретение относится к решению, в котором шины РА и РВ переменного тока идут к двум входам выпрямительного моста. Между этими входами находится трансформаторное устройство, имеющее обмотки с конфигурацией звезда/треугольник (YD), предпочтительно со структурой D0Y11, которая обеспечивает фазовый сдвиг 30°. Такое подключение хорошо известно и в дальнейшем описываться не будет.
Специфическое соединение обмоток трансформатора согласно векторной группе D0Y11 стандарта Международной электротехнической комиссии всегда обеспечивает между двумя обмотками фазовый сдвиг 30°, как зафиксировано в нормах Международной электротехнической комиссии IEC 76. Этот фазовый сдвиг 30° измеряется на основной частоте, которая обычно составляет 50 или 60 Гц. 6-Импульсный выпрямитель, связанный с источником трехфазного напряжения, вносит в систему под нагрузкой гармоники тока. Ток гармоник при таком искажении равен Ithd=6n+1 (n=1, 2, 3 ).
Эти гармоники тока будут иметь дополнительный фазовый сдвиг, который можно вычислить как фазовый сдвиг колебания основной частоты, умноженный на порядок гармоники. Кроме того, углы фазового сдвига для 5-й и 7-й гармоник будут противоположными по направлению.
Хорошо известно, что 5-я и 7-я гармоники после трансформатора будут иметь полный сдвиг фаз 180°. Это видно из следующих уравнений:
5th= 1+5 =30°+5·30°=180°
7th= 1-7 =30°-7·30°=-180°
Используя эти выводы, можно построить эквивалентную схему, показанную на фиг.4, для системного анализа настоящего изобретения. На фиг.4 используются следующие обозначения:
IR1 = ток 5-й или 7-й гармоники от выпрямителя 1.
IR2 = ток 5-й или 7-й гармоники от выпрямителя 2.
ZT = импеданс короткого замыкания в LLC-трансформаторе, относящийся к 5-й и 7-й гармоникам.
Xd”1 = сверхпереходное реактивное сопротивление в генераторе 1, относящееся к 5-й и 7-й гармоникам тока.
Xd”2 = сверхпереходное реактивное сопротивление в генераторе 2, относящееся к 5-й и 7-й гармоникам тока.
IT = ток гармоник в LLC-трансформаторе.
Ig1 и Ig2 – ток гармоник в генераторе.
Используя закон Кирхгофа для контура тока в эквивалентной схеме, получаем следующие уравнения:



Решение этих уравнений дает следующий результат:

Для симметричного устройства, в котором РА и РВ на фиг.2 и 3 являются симметричными, т.е. Xd”1=Xd”2 и IR1=IR2, уравнения можно упростить следующим образом:


Искажения напряжения Uthd от каждого отдельного компонента, измеренные на выходах генератора, равны токам гармоник, введенным в генератор, умноженным на сверхпереходное реактивное сопротивление:

Таким образом, поскольку входы выпрямительного моста параллельны, через трансформатор не передается большая мощность, а фазовый сдвиг 30° отфильтровывает и, таким образом, подавляет 5-ю и 7-ю гармоники подаваемой мощности.
Так, вариант выполнения настоящего изобретения, показанный на фиг.2, обеспечивает уменьшение токов 5-й и 7-ой гармоник, протекающих через генератор, приблизительно на 75-85%. Согласно предпочтительному варианту выполнения настоящего изобретения мощность подается симметрично, так что через LLC-трансформатор не протекает никакой ток основной частоты (60 Гц), и, поскольку остаются только потери, обусловленные токами гармоник, они снижены до 10-20% от номинальных потерь.
Кроме того, искажения напряжения вследствие 5-й и 7-й гармоник уменьшаются до менее чем 3%. Если одно из напряжений питания пропадет, то через LLC-трансформатор будет течь приблизительно 50% тока нагрузки. При асимметричной подаче питания будет наблюдаться лишь небольшое возрастание коэффициента нелинейных искажений.
На фиг.3 показан предпочтительный вариант выполнения настоящего изобретения, в котором в устройство введена третья обмотка для подавления 11-й и 13-й гармоник. Таким образом, трансформатор обеспечивает векторную группу D0/Y11/Y5 и фазовый сдвиг 150° или 180° для третьей обмотки относительно основных обмоток. Теория для этого случая по существу совпадает с изложенной выше и поэтому здесь не рассматривается.
Вышеописанные варианты выполнения настоящего изобретения основаны на использовании устройства с напряжением питанием 690 В и частотой 60 Гц. Адаптация этих параметров для практического использования очевидна для специалистов в данной области техники и не будет описываться подробно.
Формула изобретения
1. Силовая система подачи электропитания с малыми потерями, содержащая выпрямительный мост для подачи тока в двигатель, причем выпрямительный мост имеет два входа для подачи питания переменного тока, а также, по меньшей мере, один выход для подачи питания в указанный двигатель, между указанными входами включен трансформатор YD, содержащий обмотки, соединенные звездой и треугольником, и обеспечивающий фазовый сдвиг между указанными входами около 30° на выбранной основной частоте, при этом трансформатор включает также вторую обмотку, соединенную звездой, с углом 150° относительно первой обмотки, соединенной звездой.
2. Силовая система по п.1, в которой указанная подача питания переменного тока выполняется симметрично.
3. Силовая система по п.1, в которой указанный трансформатор YD образует векторную группу D0/Y1, так что обмотки в целом образуют векторную группу D0/Y11/Y5.
РИСУНКИ
|