|
|
(21), (22) Заявка: 2007142766/06, 19.11.2007
(24) Дата начала отсчета срока действия патента:
19.11.2007
(46) Опубликовано: 10.05.2009
(56) Список документов, цитированных в отчете о поиске:
RU 2154140 С2, 10.08.2000. RU 2022195 С1, 30.10.1994. RU 2270392 С2, 20.02.2006. DE 10021345 А1, 15.11.2001. GB 930921 А, 10.07.1963.
Адрес для переписки:
636039, Томская обл., Северск, ул. Курчатова, 1, ОАО Сибирский химический комбинат, ПИО
|
(72) Автор(ы):
Филин Игорь Александрович (RU), Зюзин Александр Васильевич (RU)
(73) Патентообладатель(и):
Открытое акционерное общество “Сибирский химический комбинат” (RU)
|
(54) УЗЕЛ ПРИМЫКАНИЯ ГИДРОИЗОЛЯЦИОННЫХ СЛОЕВ К ТРУБАМ
(57) Реферат:
Узел предназначен для защиты строительных конструкций и оборудования особо точных производств от вибрационных воздействий и может быть использован для связи кровли зданий с выхлопными, вентиляционными и прочими трубами, испытывающими воздействие вибрации. Узел содержит защитный фартук, закрепленный на трубе, переходной бортик с установленными в нем анкерными болтами и прижимное кольцо, надетое на анкерные болты. Прижимное кольцо выполнено разъемным по плоскости, перпендикулярной его оси, снабжено верхней и нижней отбортовками, выполненными по его внутреннему диаметру, снабжено сферическим упругим антифрикционным вкладышем, закрепленным на внутренней поверхности прижимного кольца со стороны трубы. Труба снабжена шаровым сегментом, образующим с антифрикционным вкладышем шарнир, прижимное кольцо надето на анкерные болты переходного бортика через виброгасящую прокладку. Отбортовки кольца снабжены виброгасящими кольцевыми втулками, имеющими виброгасящие пальцы. Технический результат – повышение срока службы кровли. 2 ил.
Изобретение относится к средствам защиты строительных конструкций и оборудования особо точных производств от вибрационных воздействий и может быть использовано для связи кровли зданий с выхлопными, вентиляционными и прочими трубами, испытывающими воздействие вибрации.
Известна подвижная подвеска трубопровода, включающая несущую конструкцию, присоединенную к ней тягу и смонтированный на тяге уменьшитель нагрузки пружины, связанный с трубопроводом посредством свесов и коромысла. Подвеска оснащена тележкой с эксцентриковыми катками, опирающимися на неподвижную плиту. Платформа тележки выполнена в виде кольцевой сферической пары, составленной из наружного кольца с закрепленными на нем эксцентриковыми катками и внутреннего кольца с опертой на него несущей конструкцией, выполненной арочного типа, с размещенной под ней подвеской (патент РФ N 2022195, МПК F16L 3/20, опубликовано 30.10.1994).
Недостатками данной конструкции являются:
– сложность конструкции;
– отсутствие виброгасящих элементов, что при возникновении вибрации в трубопроводе приводит к передаче вибрации через эксцентриковые катки на строительные конструкции перекрытия, что неприемлемо для оборудования особо точных производств;
– невозможность вертикального закрепления трубопровода.
Наиболее близким к предлагаемой конструкции является узел примыкания гидроизоляционных слоев к трубам, включающий защитный фартук, закрепленный на трубе, переходной бортик с установленными в нем анкерными болтами и прижимное кольцо, надетое на анкерные болты (патент РФ N 2154140, МПК E04D 13/14, опубликовано 10.08.2000) (прототип).
Недостатками данной конструкции является жесткое закрепление анкерными болтами прижимного кольца к переходному бортику и отсутствие виброгасящих элементов в конструкции. При возникновении вибрации в трубе вибрация через трубу передается на прижимное кольцо, анкерные болты и переходной бортик, установленный на плитах перекрытия. Это приводит к расшатыванию анкерных болтов, разрушению переходного бортика и гидроизоляционных слоев, протечкам кровли, разрушению плит перекрытия. Кроме этого, вибрация через плиты перекрытия предается на все здание, что неприемлемо для оборудования особо точных производств.
Задача, решаемая изобретением, – создание конструкции узла примыкания гидроизоляционных слоев к трубам, позволяющей защитить строительные конструкции и оборудование особо точных производств от вибрационных воздействий.
Поставленная задача решается тем, что в узле примыкания гидроизоляционных слоев к трубам, включающем защитный фартук, закрепленный на трубе, переходной бортик с установленными в нем анкерными болтами и прижимное кольцо, надетое на анкерные болты, прижимное кольцо выполнено разъемным по плоскости, перпендикулярной его оси, снабжено верхней и нижней отбортовками, выполненными по его внутреннему диаметру, и сферическим упругим антифрикционным вкладышем, закрепленным на внутренней поверхности прижимного кольца со стороны трубы, узел снабжен шаровым сегментом, закрепленным на наружной поверхности трубы и образующим с антифрикционным вкладышем шарнир, прижимное кольцо надето на анкерные болты переходного бортика через виброгасящую прокладку, отбортовки кольца снабжены виброгасящими цилиндрическими втулками, имеющими виброгасящие пальцы. При этом отношение расстояний от плоскости разъема прижимного кольца до оси виброгасящих пальцев определяется пропорцией:
,
где L – расстояние от плоскости разъема прижимного кольца до оси нижних виброгасящих пальцев, мм;
l – расстояние от плоскости разъема прижимного кольца до оси верхних виброгасящих пальцев, мм;
aw– максимальная амплитуда вертикальных колебаний оборудования, создающего вибрацию, мм;
d – диаметр трубы, мм;
к – эмпирический коэффициент, зависящий от вида оборудования, создающего вибрацию.
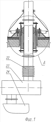
На фиг.1 показан общий вид узла примыкания гидроизоляционных слоев к трубам.
На фиг.2 выноска А на фиг.1 – крепление узла примыкания гидроизоляционных слоев к трубам на кровле.
Узел примыкания гидроизоляционных слоев к трубам (см. фиг.2) содержит плиту перекрытия 1, пароизоляционный слой 2, теплоизоляционный слой 3, выравнивающую стяжку 4, переходной бортик 5, в который установлены анкерные болты 6, гидроизоляционный слой 7, защитный фартук 8, закрепленный на трубе 9 хомутом 10, прижимное кольцо 11, выполненное разъемным по плоскости 12, перпендикулярной его оси. Прижимное кольцо 11 снабжено верхней 13 и нижней 14 отбортовками, выполненными по его внутреннему диаметру, и сферическим упругим антифрикционным вкладышем 15, закрепленным на внутренней поверхности прижимного кольца 11 со стороны трубы 9. Шаровой сегмент 16 закреплен на наружной поверхности трубы. Отбортовки 13 и 14 прижимного кольца снабжены виброгасящими цилиндрическими втулками 17 и 18, имеющими виброгасящие пальцы 19. Прижимное кольцо надето на анкерные болты переходного бортика через виброгасящую прокладку 20. Зазоры между виброгасящей втулкой 18, трубой 9, плитой перекрытия 1, переходным бортиком 5 заполнены негорючей минеральной ватой 21.
Отношение расстояний от плоскости разъема 12 прижимного кольца 11 до оси виброгасящих пальцев 19, в зависимости от диаметра трубы 9 и максимальной амплитуды вертикальных колебаний оборудования, создающего вибрацию, определяется пропорцией:
,
где L – расстояние от плоскости разъема прижимного кольца до оси нижних виброгасящих пальцев, мм;
l – расстояние от плоскости разъема прижимного кольца до оси верхних виброгасящих пальцев, мм;
аw – максимальная амплитуда вертикальных колебаний оборудования, создающего вибрацию, мм;
d – диаметр трубы, мм;
к – эмпирический коэффициент, зависящий от вида оборудования, создающего вибрацию (например, к=150 – для двигателей внутреннего сгорания, к=200 – для дымососов).
Узел примыкания гидроизоляционных слоев к трубам реализован для гашения вибрации при эксплуатации дизельгенератора ДГ-100К3У3 со следующими характеристиками:
| – мощность, кВт |
100 |
| – номинальная частота вращения выходного вала, об/мин |
1500 |
| – масса, кг |
2200 |
| – диаметр выхлопной трубы, мм |
200 |
Размеры переходного бортика 5, анкерных болтов 6, их расположение и количество приняты в соответствии с серией 5.904-45 для условного диаметра воздуховода 200 мм (Серия 5.904-45. Узлы прохода вентиляционных вытяжных шахт через покрытия зданий. Узлы прохода общего назначения. ГПИ Сантехпроект. Типовая документация на строительные системы и изделия зданий и сооружений).
Глушитель 23 (см. фиг.1) дизельгенератора 24 через металлический сильфон 22 соединен с выхлопной трубой 9, на которой неподвижно закреплен хромированный стальной шаровой сегмент 16 диаметром сферы 280 мм. Шаровой сегмент через упругий антифрикционный вкладыш 15, выполненный, например, из полиамида ПА-6 блочного ТУ 6-05-988-78 с имплантацией в его внутреннюю сферическую поверхность ионов MoS2 до дозы ионной имплантации 1015 ион/см2, закреплен на внутренней поверхности прижимного кольца 11 со стороны выхлопной трубы. Прижимное кольцо установлено через виброгасящую прокладку 20 из резины марки 311 толщиной 30 мм и закреплено на переходном бортике 5 анкерными болтами 6. Толщину прокладки 20 определяют в зависимости от массы выхлопной трубы 9 и расчетного статического напряжения материала прокладки (Средства защиты в машиностроении: Расчет и проектирование: Справочник под редакцией С.В.Белова. – М.: Машиностроение, 1989, стр.89). На отбортовках 13, 14 прижимного кольца 11 закреплены виброгасящие втулки 17, 18 из полиамида ПА-6 блочного ТУ 6-05-988-78 наружным диаметром 350 мм и толщиной стенки 15 мм. На периферии виброгасящих втулок равномерно по диаметру установлено по двенадцать подпружиненных металлических пальцев 19, каждый из которых имеет точечный контакт с выхлопной трубой 9. Суммарная жесткость подпружиненных пальцев 19, установленных на каждой из втулок 17, 18, не менее жесткости виброгасящей прокладки 20. По методике (Средства защиты в машиностроении: Расчет и проектирование: Справочник под редакцией С.В.Белова. – М.: Машиностроение, 1989, стр.83), используя технические характеристики дизельгенератора ДГ-100К3У3, определяют амплитуду вертикальных колебаний виброизолированного дизельгенератора 24. При изменении частоты вращения вала дизеля с 1000 до 1500 об/мин (возникает при изменении нагрузки на генераторе) амплитуда колебаний изменяется с 0,5 до 5 мм. Приняв расстояние l от плоскости разъема прижимного кольца до оси верхних виброгасящих пальцев, равным диаметру выхлопной трубы – 200 мм, и используя эмпирический коэффициент для двигателей внутреннего сгорания, определяют расстояние L от плоскости разъема прижимного кольца до оси нижних виброгасящих пальцев.
Узел примыкания гидроизоляционных слоев к трубам гасит колебания дизельгенератора и исключает их передачу на переходной бортик плиты перекрытия следующим образом. При изменении нагрузки на генераторе изменяется частота вращения вала дизеля дизельгенератора, что приводит к изменению частоты колебаний дизельгенератора, появлению вертикальных и угловых ударных колебаний глушителя дизельгенератора. Сильфон, частично погасив осевые и угловые колебания, передает их на выхлопную трубу. Шаровой сегмент, являясь опорным элементом выхлопной трубы, преобразует вертикальные и угловые удары в угловые перемещения выхлопной трубы. Шаровой сегмент производит безынерционные колебания в сферическом упругом антифрикционном вкладыше, который гасит угловые ударные перемещения выхлопной трубы. Виброгасящие пальцы, находящиеся на периферии виброгасящих цилиндрических втулок, гасят угловые перемещения выхлопной трубы и обеспечивают вертикальность ее положения. Виброгасящие цилиндрические втулки исключают передачу вибрации на прижимное кольцо при гашении колебаний выхлопной трубы виброгасящими пальцами. Виброгасящая прокладка исключает передачу остаточной вибрации от прижимного кольца на переходной бортик и плиты перекрытия.
Применение выявленной авторами зависимости отношения расстояний от плоскости разъема прижимного кольца до оси виброгасящих пальцев от вида и максимальной амплитуды вертикальных колебаний оборудования, создающего вибрацию, и диаметра трубы позволяет эффективно гасить раскачивание трубы и стабилизировать вертикальность ее положения.
Применение предлагаемой конструкции узла примыкания гидроизоляционных слоев к трубам позволит защитить строительные конструкции и оборудование особо точных производств от вибрационных воздействий и повысить срок службы кровли.
Формула изобретения
Узел примыкания гидроизоляционных слоев к трубам, включающий защитный фартук, закрепленный на трубе, переходной бортик с установленными в нем анкерными болтами и прижимное кольцо, надетое на анкерные болты, отличающийся тем, что прижимное кольцо выполнено разъемным по плоскости, перпендикулярной его оси, снабжено верхней и нижней отбортовками, выполненными по его внутреннему диаметру, и сферическим упругим антифрикционным вкладышем, закрепленным на внутренней поверхности прижимного кольца со стороны трубы, узел снабжен шаровым сегментом, закрепленным на наружной поверхности трубы и образующим с антифрикционным вкладышем шарнир, прижимное кольцо надето на анкерные болты переходного бортика через виброгасящую прокладку, отбортовки кольца снабжены виброгасящими цилиндрическими втулками, имеющими виброгасящие пальцы, при этом отношение расстояний от плоскости разъема прижимного кольца до оси виброгасящих пальцев определяется пропорцией
 где L – расстояние от плоскости разъема прижимного кольца до оси нижних виброгасящих пальцев, мм; l – расстояние от плоскости разъема прижимного кольца до оси верхних виброгасящих пальцев, мм; aw – максимальная амплитуда вертикальных колебаний оборудования, создающего вибрацию, мм; d – диаметр трубы, мм; к – эмпирический коэффициент, зависящий от вида оборудования, создающего вибрацию.
РИСУНКИ
|
|