|
|
(21), (22) Заявка: 2008100598/06, 09.01.2008
(24) Дата начала отсчета срока действия патента:
09.01.2008
(46) Опубликовано: 10.05.2009
(56) Список документов, цитированных в отчете о поиске:
JP 59-1907 B1, 14.01.1984. SU 1168761 A, 23.07.1985. SU 1476224 A1, 30.04.1989. GB 972870 A, 21.10.1964. US 4286621 А, 01.09.1981. DE 1101890 А, 09.03.1961.
Адрес для переписки:
440028, г.Пенза, пр-кт Победы, 75-а, ОАО “ПТПА”, отдел главного конструктора
|
(72) Автор(ы):
Лемберг Вадим Тарасович (RU), Мышонков Александр Николаевич (RU)
(73) Патентообладатель(и):
Открытое акционерное общество “ПТПА” (RU)
|
(54) ОБРАТНЫЙ КЛАПАН С ПОВОРОТНЫМ ЗАПОРНЫМ ЭЛЕМЕНТОМ И ЛОПАСТНЫМ ДЕМПФЕРОМ
(57) Реферат:
Изобретение относится к промышленной трубопроводной арматуре и предназначено для предотвращения обратного потока среды и гашения гидравлического удара при транспортировке жидких и газообразных сред по трубопроводам с большими проходами. Обратный клапан содержит поворотный запорный элемент и лопастный демпфер. Поворотная лопасть демпфера соединена жестко с запорным элементом посредством вала с возможностью одновременного поворота с ним и расположена в полом цилиндрическом корпусе демпфера. Этот корпус закрыт герметично с торцов крышками и снабжен неподвижной радиальной перегородкой. Последняя контактирует по своему периметру с крышками, корпусом и подвижной цапфой лопасти, а также с выполненной в лопасти угловой выемкой и с жидкой средой. Демпфер снабжен кольцом либо кольцевым буртом. Кольцевой бурт выполнен на торце крышки, обращенной во внутреннюю полость демпфера, за одно целое с ней. Между внутренними поверхностями корпуса демпфера и крышки образован угол и в нем расположено кольцо либо кольцевой бурт. На свободном конце лопасти, контактирующей с кольцом, выполнена по всей ее длине криволинейная кольцевая выемка. Внутренняя цилиндрическая поверхность кольца или кольцевого выступа выполнена профильной. Сектор профиля этой поверхности соответствует углу поворота запорного элемента обратного клапана. Изобретение направлено на упрощение конструкции лопастного демпфера и повышение технологичности его изготовления. 8 ил.
Предлагаемое изобретение относится к промышленной трубопроводной арматуре, к обратным клапанам, устанавливаемым на трубопроводах жидких и газообразных сред с большими проходами DN>500 мм для предотвращения обратного потока рабочей среды.
Известны обратные клапаны с поворотными запорными элементами (см. авт. св. СССР 1168761, М.кл.4 F16K 15/03 от 28 декабря 1983 г.). Клапан содержит корпус с поворотным запорным элементом, соединенным с поворотным валом рычагом. Каждый из концов поворотного вала снабжен лопастью, расположенной в цилиндрическом корпусе демпфера. Центры тяжести лопастей смещены к их периферии. Корпус демпфера разделен неподвижной перегородкой. Крутящий момент, создаваемый лопастью относительно поворотного вала, направлен против крутящего момента, создаваемого запорным элементом обратного клапана.
Недостаток известного клапана с лопастным демпфером заключается в том, что создаваемый лопастью со смещенным центром тяжести крутящий момент не в состоянии противодействовать другому крутящему моменту, создаваемому запорным элементом обратного клапана по причине его значительного диаметра и высокого давления среды в магистральном трубопроводе и клапане (PN=80 кгс/см2).
Известен другой обратный клапан с гидравлическим демпфером (см. немецкую заявку GR 89300195 Т, М.кл. F16K 15/03; F16K 47/00, опубликованную 31 декабря 1990 г.). Клапан содержит сварной корпус с наклонным седлом. В корпусе на оси с возможностью поворота из положения «закрыто» в положение «открыто» расположен запорный элемент с ограничителями поворота. Ограничитель поворота, обращенный к седлу, при закрытии прохода взаимодействует со штоком гидроцилиндра. Последний установлен и закреплен относительно корпуса в его нижней части. Таким образом, гидроцилиндр со штоком препятствует быстрой посадке на седло запорного элемента, гасит скорость закрытия прохода и предотвращает гидравлический удар, сопровождающийся разрушением магистрального трубопровода.
Недостаток обратного клапана заключается в том, что демпфер расположен внутри его корпуса, что создает дополнительное сопротивление потоку среды, протекающей через клапан, уменьшает его проходное сечение. Другой недостаток заключается в том, что затруднено его (демпфера) техническое обслуживание и ремонт в случае выхода из строя. Извлечение его из корпуса возможно при демонтаже клапана с трубопровода.
Известен также обратный клапан с поворотным запорным элементом и с роторным пневмогидравлическим демпфером (см. Япония, заявка 59-1907, МК4 F16K 15/03, F16K 47/00, опубликованная 14 января 1984 г. 5-48). Клапан содержит корпус с поворотным запорным элементом, соединенным с поворотным валом рычагом. Рычаг соединен с валом жестко с возможностью поворота вместе с ним. Пневматический демпфер содержит полый цилиндрический корпус с неподвижной радиальной перегородкой от внутренней цилиндрической поверхности корпуса до поверхности поворотного вала. Ротор на валу установлен неподвижно с возможностью вращения вместе с ним. Сумма центральных углов перегородки и ротора менее 360°, т.е. в корпусе демпфера имеется гарантированная полость, в которую закачаны жидкость и воздух. При определенном положении ротора полость подразделяется на две полости, сообщающиеся между собой ограничительным каналом 31. На перегородке выполнен вырез 27, а на роторе – выступ 32. При закрытом положении затвора выступ 32 входит в вырез 27, что соответствует максимальному противодействующему крутящему моменту на валу, направленному против крутящего момента при посадке запорного элемента на седло в корпусе обратного клапана.
Недостаток роторного пневмогидравлического демпфера заключается в сложности его конструкции, которая обусловлена выполнением на перегородке и роторе соответственно выреза и выступа с криволинейными контактирующими поверхностями.
Последний клапан с роторным демпфером является по технической сущности и выполняемой функции наиболее близким к заявленному объекту.
Задачей предлагаемого изобретения является упрощение конструкции лопастного (роторного) демпфера, повышение технологичности его изготовления и функциональности.
Поставленные задачи решаются тем, что в известном обратном клапане с поворотным запорным элементом и лопастным демпфером, поворотная лопасть которого соединена жестко с запорным элементом посредством вала с возможностью одновременного поворота с ним, расположенная (лопасть) в полом цилиндрическом корпусе демпфера, закрытого герметически с торцов крышками, снабженного неподвижной радиальной перегородкой, контактирующей по своему периметру с крышками, корпусом и подвижной цапфой лопасти, с выполнением угловой выемки (выреза) в лопасти, контактирующей с жидкой средой (рабочим телом), демпфер снабжен кольцом либо выполненным на торце крышки, обращенной во внутреннюю полость демпфера, кольцевым буртом за одно целое с ней, расположенным в углу, образованном внутренними поверхностями корпуса и крышки, неподвижно закрепленным относительно них, а на свободном конце лопасти, контактирующей с кольцом, выполнена по всей ее длине криволинейная угловая выемка, причем внутренняя цилиндрическая поверхность кольца или кольцевого выступа выполнена профильной, сектор профиля которого соответствует углу поворота запорного элемента обратного клапана.
Предлагаемая конструкция демпфера проста и технологична. Кольцо, кольцевой бурт на торце крышки, криволинейная кольцевая выемка на конце лопасти сами по себе являются простыми элементами и обработка (изготовление) их возможна на высокопроизводительных станках токарной группы (за исключением обработки профиля кольца или кольцевого бурта, который обрабатывают на фрезерном станке).
Технический результат заключается в получении на валу лопастного демпфера разного по величине крутящего момента, направленного против крутящего момента, создаваемого запорным элементом обратного клапана. Крутящий момент на валу демпфера препятствует быстрому закрытию прохода в клапане, гасит гидравлический удар и предотвращает разрушение обратного клапана и трубопровода, по которому транспортируется среда.
На приведенных чертежах иллюстрируется в качестве примера реализация предлагаемого изобретения «Обратный клапан с поворотным запорным элементом и лопастным демпфером», подтверждающая возможность его промышленного применения при использовании всей совокупности признаков, где:
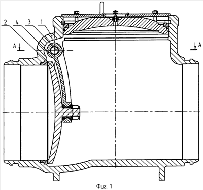
на фиг.1 – обратный клапан в продольном разрезе;
на фиг.2 – разрез А-А по оси лопастного демпфера;
на фиг.3 – поперечный разрез Б-Б лопастного демпфера, канал в лопасти открыт;
на фиг.4 – сечение В-В лопастного демпфера, исполнение демпфера с кольцом, канал в лопасти открыт;
на фиг.5 – сечение В-В, исполнение демпфера с кольцевым буртом на крышке, канал в лопасти демпфера открыт;
на фиг.6 – поперечный разрез Б-Б лопастного демпфера, канал в лопасти закрыт;
на фиг.7 – сечение Г-Г, исполнение демпфера с кольцом, канал в лопасти закрыт;
на фиг.8 – сечение Г-Г, исполнение демпфера с кольцевым буртом на крышке, канал в лопасти демпфера закрыт.
Обратный клапан содержит корпус 1, в котором расположен поворотный запорный элемент 2, закрепленный на поворотном валу 3 при помощи рычага 4. Вал 3 соединен муфтой 5 с валом 6 демпфера. Демпфер содержит полый цилиндрический корпус 7, закрытый герметично с торцов крышками 8, 9. На валу 6 демпфера расположена лопасть 10, соединенная с ним при помощи шлицов. В корпусе 7 демпфера установлена неподвижная радиальная перегородка 11, контактирующая по своему периметру с крышками 8, 9, корпусом 7 и с криволинейной поверхностью цапфы лопасти 10. В углу корпуса 7 демпфера, образованном внутренними поверхностями цилиндрической стенки корпуса 7 и крышки 8, установлено кольцо 12, закрепленное относительно корпуса 7 неподвижно (см. фиг.3). Внутренняя цилиндрическая поверхность кольца 12 выполнена профильной, сектор профиля которой соответствует углу поворота запорного элемента 2 обратного клапана. Вместо кольца 12 на торце крышки 8 демпфера может быть выполнен кольцевой бурт «а» за одно целое с крышкой 8 с таким же профилем на внутренней цилиндрической поверхности кольцевого бурта «а». На свободном конце лопасти 10, контактирующей с кольцом 12, выполнена криволинейная угловая выемка «в», позволяющая лопасти 10 прилегать торцами к поверхностям крышек 8, 9 с минимальными зазорами и совершать поворотные движения относительно корпуса 7, крышек 8, 9, кольца 12 либо кольцевого бурта «а». В полости демпфера, разделенной перегородкой 11 и лопастью 10, закачивают жидкость (минеральное масло), которое является рабочим телом. В перегородке 11 выполнен криволинейный канал «с», сообщающий полости демпфера между собой.
Обратный клапан с поворотным запорным элементом и лопастным демпфером работает следующим образом. При возникновении в трубопроводе, транспортирующем жидкость или газ, потока среды в обратном направлении последний воздействует на запорный элемент 2 с тыльной стороны, стремясь закрыть проход в корпусе 1 клапана. Поворот запорного элемента 2 передается через вал 3, муфту 5 валу 6 демпфера с жестко соединенной с ним лопастью 10. Лопасть 10, находясь в жидкой среде (минеральном масле), воздействует на нее, вынуждая перетекать из одной полости в другую через канал, образованной угловой выемкой «в» на лопасти 10 и поверхностями кольца 12 (бурта «а») и крышки 8, т.е. здесь имеет место противодействующий крутящим момент на валу 6 демпфера, способствующий гашению скорости закрытия прохода в клапане запорным элементом 2. В процессе дальнейшего поворота лопасти 10 в том же направлении последняя своей угловой выемкой «в» надвигается на участок кольца 12 с большим поперечным сечением, канал постепенно сводится на нет, происходит замедление перетекания жидкости из одной полости демпфера в другую, противодействующий крутящий момент возрастает до максимальной величины, то есть в данном случае наблюдается медленное закрытие прохода запорным элементом 2 в обратном клапане. Это способствует безопасности эксплуатации трубопроводов.
Формула изобретения
Обратный клапан с поворотным запорным элементом и лопастным демпфером, поворотная лопасть которого соединена жестко с запорным элементом посредством вала с возможностью одновременного поворота с ним и расположена в полом цилиндрическом корпусе демпфера, закрытого герметично с торцов крышками, снабженного неподвижной радиальной перегородкой, контактирующей по своему периметру с крышками, корпусом и подвижной цапфой лопасти, с выполненной угловой выемкой (вырезом) в лопасти, контактирующей с жидкой средой (рабочим телом), отличающийся тем, что демпфер снабжен кольцом либо выполненным на торце крышки, обращенной во внутреннюю полость демпфера, кольцевым буртом заодно целое с ней, расположенным в углу, образованном внутренними поверхностями корпуса демпфера и крышки, неподвижно закрепленным относительно них, а на свободном конце лопасти, контактирующей с кольцом, выполнена по всей ее длине криволинейная кольцевая выемка, причем внутренняя цилиндрическая поверхность кольца или кольцевого выступа выполнена профильной, сектор профиля которого соответствует углу поворота запорного элемента обратного клапана.
РИСУНКИ
|
|