|
|
(21), (22) Заявка: 2007129764/06, 02.08.2007
(24) Дата начала отсчета срока действия патента:
02.08.2007
(46) Опубликовано: 10.05.2009
(56) Список документов, цитированных в отчете о поиске:
SU 1267089 A1, 30.10.1986. RU 2147094 C1, 27.03.2000. RU 2147095 C1, 27.03.2000. SU 509745 A1, 05.04.1976. GB 10723 93 A, 14.06.1967. GB 191406539 A, 03.12.1914. FR 2009326 A1, 30.01.1970. DE 910733 С1, 06.05.1954.
Адрес для переписки:
355035, г.Ставрополь, ул. Ленина, 419, ОАО “СевКавНИПИгаз” ОАО “Газпром”
|
(72) Автор(ы):
Гасумов Рамиз Алиджавад оглы (RU), Сазонов Геннадий Тимофеевич (RU), Суковицын Владимир Александрович (RU), Ичева Наталья Юрьевна (RU)
(73) Патентообладатель(и):
Открытое акционерное общество “Северо-Кавказский научно-исследовательский проектный институт природных газов” Открытого акционерного общества “Газпром” (ОАО “СевКавНИПИгаз” ОАО “Газпром”) (RU)
|
(54) ЗАДВИЖКА
(57) Реферат:
Изобретение относится к трубопроводной арматуре и предназначено для перекрытия потока транспортируемой среды. Задвижка содержит полый корпус с внутренней кольцевой проточкой в нижней части, запорный элемент с установленной в нем пружиной и подвижный шток. Шток жестко связан с запорным элементом. Запорный элемент выполнен в виде резинового стакана с закладным кольцом в верхней части. Внутри резинового стакана установлена кольцевая пружина. Последняя состоит из внутреннего кольца с наружной конической поверхностью и двух наружных колец с внутренней конической поверхностью. Наружные кольца расположены над и под внутренним кольцом. Кольцевая пружина опирается на опорный конус. Конус установлен в нижней части резинового стакана. Сверху кольцевая пружина поджата нажимным конусом. Последний жестко связан с закладным кольцом резинового стакана и соединен с подвижным штоком. Изобретение позволяет повысить эксплуатационную надежность и долговечность работы устройства. 1 ил.
Изобретение относится к трубопроводной арматуре и может быть использовано в нефтегазодобывающей промышленности.
Анализ существующего уровня показал следующее:
– известна задвижка, включающая полый корпус с внутренней кольцевой проточкой в нижней части, запорный элемент, установленный в полом корпусе, и подвижный шток (шпиндель), жестко связанный с запорным элементом (см. патент РФ 2147094 от 21.01.98 г. по кл. F16K 3/18, 3/28, опубл. 27.03.2000 г.).
Недостатками указанного устройства являются низкая эксплуатационная надежность и недолговечность работы устройства, обусловленные следующими причинами:
– запорный элемент выполнен в виде полого эластичного диска, внутри которого расположен шпиндель с клинообразным хвостовиком, поэтому при опускании последнего будет расширяться только часть запорного элемента, находящегося под хвостовиком, а верхняя часть запорного элемента не будет расширена и прижата к уплотнительным кольцам, т.е. не обеспечится герметичность устройства;
– при работе задвижки в абразивной среде произойдет износ полого корпуса, уплотнительные кольца выпадут из посадочных мест, в результате чего задвижка потеряет герметичность, что приведет к потере ее работоспособности.
В качестве прототипа взята задвижка, включающая полый корпус с внутренней кольцевой проточкой в нижней части, запорный элемент (затвор) с установленной в нем пружиной, размещенный в полом корпусе, и подвижный шток, жестко связанный с запорным элементом (см. а.с. 1267089 от 23.05.85 г. по кл. F16K 3/30, опубл. в ОБ 40, 1986 г.).
Недостатками указанного устройства являются низкая эксплуатационная надежность и недолговечность работы устройства, что обусловлено рядом причин:
– герметичность уплотнения металл по металлу теряется при попадании твердых частиц между тарелями и седлами, при этом нарушается герметичность устройства и его работа в целом;
– пружины сжатия не обеспечат герметичность устройства при высоких давлениях транспортируемой среды, т.к. давление на тарели приведет к их смятию и образованию зазоров между тарелями и седлами;
– при работе задвижки в абразивной среде произойдет износ корпуса и тарелей, что приведет к потере герметичности, т.к. пружины обеспечивают только начальную герметизацию, а величина раскрытия тарелей строго ограничена.
Технический результат, который может быть получен при осуществлении предлагаемого изобретения, обеспечивает повышение эксплуатационной надежности и долговечности работы устройства за счет меньшего абразивного износа резинового запорного элемента, равномерности распределения запирающего усилия по всей поверхности проходного сечения устройства, обеспечивающего равномерное изменение размера запорного элемента, что приводит к автокомпенсации износа корпуса и сохранению герметичности устройства.
Технический результат достигается с помощью известного устройства, состоящего из полого корпуса с внутренней кольцевой проточкой в нижней части, запорного элемента с установленной в нем пружиной, размещенного в полом корпусе, и подвижного штока, жестко связанного с запорным элементом.
Согласно изобретению запорный элемент выполнен в виде резинового стакана с закладным кольцом в верхней части. Внутри резинового стакана установлена кольцевая пружина, состоящая из внутреннего кольца с наружной конической поверхностью и двух наружных колец с внутренней конической поверхностью, расположенных над и под ним.
Кольцевая пружина опирается на опорный конус, установленный в нижней части резинового стакана, а сверху поджата нажимным конусом.
Нажимной конус жестко связан с закладным кольцом резинового стакана и соединен с подвижным штоком.
Таким образом, заявляемое техническое решение соответствует критерию новизны.
Анализ изобретательского уровня показал следующее: из источников патентной документации и научно-технической литературы нами не выявлены технические решения, имеющие в своей основе признаки, совпадающие с отличительными признаками заявляемого технического решения. Достигаемый технический результат обусловлен неизвестными свойствами конструктивных элементов, обеспечивающих герметичность и автокомпенсацию износа корпуса. Таким образом, заявляемые нами существенные признаки не следуют явным образом из проанализированного уровня техники, т.е. имеют изобретательский уровень.
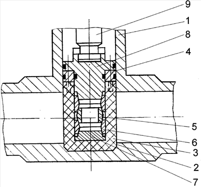
На чертеже представлен продольный разрез предлагаемого устройства.
Заявляемое устройство содержит полый корпус 1, во внутренней части которого выполнена кольцевая проточка 2. В полом корпусе 1 установлен запорный элемент, нижний конец которого садится в кольцевую проточку 2. Запорный элемент выполнен в виде резинового стакана 3 с закладным кольцом 4 в верхней части. Внутри резинового стакана 3 установлена кольцевая пружина, состоящая из внутреннего кольца 5 с наружной конической поверхностью и двух наружных колец 6 с внутренней конической поверхностью. Наружные кольца 6 с внутренней конической поверхностью расположены над и под внутренним кольцом 5 с наружной конической поверхностью. Кольцевая пружина опирается на опорный конус 7, установленный в нижней части резинового стакана 3, а сверху поджата нажимным конусом 8. Резиновый стакан 3 предварительно растянут в продольном направлении, обеспечивая необходимую жесткость запорного элемента. Нажимной конус 8 жестко связан с закладным кольцом 4 резинового стакана 3. В верхней части нажимного конуса 8 выполнен паз, в который вставлен нижний конец подвижного штока 9.
Устройство работает следующим образом.
При перемещении подвижного штока 9 запорный элемент опускается и его нижний конец садится в кольцевую проточку 2 полого корпуса 1, перекрывая при этом проходное сечение задвижки. При дальнейшем передвижении подвижного штока 9 нажимной конус 8 воздействует на кольцевую пружину и резиновый стакан 3, в результате чего последний деформируется и плотно прижимается к стенкам полого корпуса 1, а также к кольцевой проточке 2, обеспечивая надежную герметичность задвижки. Если в момент закрывания на поверхности проходного сечения полого корпуса 1 окажется инородное тело (песчинка, окалина и т.п.), то эластичный материал запорного элемента проминается, обволакивая его и сохраняя герметичность задвижки. Возможность равномерного изменения размера запорного элемента данной конструкции, а также равномерность распределения запирающего усилия по всей поверхности проходного сечения устройства позволяют обеспечить герметичность и автокомпенсацию износа полого корпуса 1.
Формула изобретения
Задвижка, содержащая полый корпус с внутренней кольцевой проточкой в нижней части, запорный элемент с установленной в нем пружиной, размещенный в полом корпусе, и подвижный шток, жестко связанный с запорным элементом, отличающаяся тем, что запорный элемент выполнен в виде резинового стакана с закладным кольцом в верхней части, а внутри резинового стакана установлена кольцевая пружина, состоящая из внутреннего кольца с наружной конической поверхностью и двух наружных колец с внутренней конической поверхностью, расположенных над и под ним, при этом кольцевая пружина опирается на опорный конус, установленный в нижней части резинового стакана, а сверху поджата нажимным конусом, причем нажимной конус жестко связан с закладным кольцом резинового стакана и соединен с подвижным штоком.
РИСУНКИ
TK4A – Поправки к публикациям сведений об изобретениях в бюллетенях “Изобретения (заявки и патенты)” и “Изобретения. Полезные модели”
Напечатано: (73) «Открытое акционерное общество «Северо-Кавказский научно-исследовательский проектный институт природных газов» Открытого акционерного общества «Газпром» (RU)
Следует читать: (73) «Открытое акционерное общество «Северо-Кавказский научно-исследовательский проектный институт природных газов» (ОАО «СевКавНИПИгаз») (RU)
Номер и год публикации бюллетеня: 13-2009
Код раздела: FG4A
Извещение опубликовано: 10.08.2010 БИ: 22/2010
|
|