|
|
(21), (22) Заявка: 2006146220/06, 31.05.2005
(24) Дата начала отсчета срока действия патента:
31.05.2005
(30) Конвенционный приоритет:
01.06.2004 SE 0401496-5 01.06.2004 US 60/521,596
(43) Дата публикации заявки: 20.07.2008
(46) Опубликовано: 10.05.2009
(56) Список документов, цитированных в отчете о поиске:
FR 2708044 А, 27.01.1995. SU 1684548 А, 29.07.1988. SU 1792123 A1, 20.05.1995. SU 339671 A, 24.05.1972. FR 2468740 A, 05.08.1981. US 4578018 A, 25.03.1986.
(85) Дата перевода заявки PCT на национальную фазу:
09.01.2007
(86) Заявка PCT:
SE 2005/000828 20050531
(87) Публикация PCT:
WO 2005/119028 20051215
Адрес для переписки:
101000, Москва, М.Златоустинский пер., 10, кв.15, “ЕВРОМАРКПАТ”, пат.пов. И.А.Веселицкой, рег. 11
|
(72) Автор(ы):
БАРАЛОН Стефан (SE)
(73) Патентообладатель(и):
ВОЛЬВО АЭРО КОРПОРЕЙШН (SE)
|
(54) КОМПРЕССОРНОЕ УСТРОЙСТВО ГАЗОВОЙ ТУРБИНЫ И КОРПУСНОЙ ЭЛЕМЕНТ КОМПРЕССОРА
(57) Реферат:
Изобретение относится к компрессорному устройству газовой турбины, содержащему газовый канал, секцию компрессора низкого давления и секцию компрессора высокого давления, предназначенные для сжатия газа в этом канале, и корпусной элемент компрессора, расположенный между секцией компрессора низкого давления и секцией компрессора высокого давления с возможностью пропуска газового потока через газовый канал и включающий группу радиально расположенных стоек, предназначенных для передачи нагрузки, по меньшей мере одна из которых выполнена полой для размещения в ней вспомогательных компонентов. Корпусной элемент компрессора расположен непосредственно ниже по потоку последнего ротора секции компрессора низкого давления и выполнен с возможностью существенного изменения направления закрученного газового потока от этого ротора с помощью группы стоек, имеющих криволинейную форму. 2 н. и 23 з.п. ф-лы, 5 ил.
Область техники, к которой относится изобретение
Настоящее изобретение относится к компрессорному устройству газовой турбины, содержащему газовый канал, секцию компрессора низкого давления и секцию компрессора высокого давления, предназначенные для сжатия газа в этом канале, и корпусной элемент компрессора, расположенный между секцией компрессора низкого давления и секцией компрессора высокого давления с возможностью пропуска газового потока через газовый канал и включающий группу радиально расположенных стоек, предназначенных для передачи нагрузки, по меньшей мере одна из которых выполнена полой для размещения в ней вспомогательных компонентов. Изобретение также относится к компрессорному корпусному элементу.
Компрессорное устройство газовой турбины представляет собой часть газотурбинного двигателя. В газотурбинном двигателе это компрессорное устройство приводится в движение турбиной через валы двигателя. Наибольшее распространение газотурбинные двигатели получили в качестве реактивных двигателей летательных аппаратов. Подразумевается, что понятие реактивный двигатель включает в себя различные типы двигателей, в которые поступает воздух с относительно небольшой скоростью, нагревается в процессе горения и выбрасывается наружу со значительно большей скоростью. В понятие реактивный двигатель входят, например, турбореактивный и турбовентиляторный двигатели. Изобретение будет описано в приложении к турбовентиляторному двигателю, но, конечно, может быть использовано и для других типов двигателей.
Конструктивная прочность газотурбинного двигателя определяется ограниченным числом его конструктивных компонентов, известных также как “корпуса”. Следовательно, эти элементы представляют собой несущие конструкции (корпусные элементы) двигателя. В процессе работы двигателя на них приходится очень большая нагрузка. В эти конструкции обычно входят корпуса подшипников, несущих валы двигателя, каналы газовых потоков, представляющие собой кольцевые каналы, и стойки, которые создают связь между внутренними в внешними частями двигателя. Предлагаемый в изобретении корпусной элемент компрессора представляет именно такую конструкцию.
Стойки часто выполняют полыми, чтобы размещать в них вспомогательные компоненты, такие как средства для подачи и отвода масла и/или воздуха, а также для размещения в них электрических кабелей для передачи информационных сигналов, касающихся измерения давления и/или температуры и т.д. Обычно стойки в поперечном сечении имеют симметричную аэродинамическую форму, чтобы как можно меньше влиять на прохождение газового потока. Необходимое количество стоек обычно определяется требованием по их работоспособности.
Краткое изложение сущности изобретения
Основной задачей, положенной в основу настоящего изобретения, является уменьшение числа компонентов компрессорного устройства газовой турбины.
Это достигается за счет размещения корпусного элемента компрессора непосредственно ниже по потоку последнего ротора секции компрессора низкого давления и выполнения его с возможностью существенного изменения направления закрученного газового потока от этого ротора с помощью группы стоек, имеющих криволинейную форму. При этом “существенное изменение направления” означает поворот газового потока на по меньшей мере 20°. Кроме того, направление закрученного газового потока меняется преимущественно на осевое направление. Корпусной элемент компрессора может быть выполнен так, чтобы поворачивать газовый поток, в основном, в направлении, параллельном оси вращения компрессора (двигателя).
Обычные компрессорные устройства газовой турбины имеют последний лопаточный венец статора, входящий в секцию компрессора низкого давления, и стойки. Этот последний венец статора содержит ряд направляющих лопаток (аэродинамических перегородок) обтекаемой формы (во многих случаях около 150 лопаток), выполненных так, чтобы изменять направление закрученного газового потока от последнего ротора в указанной секции компрессора низкого давления на в основном осевое направление. Преимуществом настоящего изобретения является то, что последний венец статора может быть исключен. Другими словами, в соответствии с изобретением функция последнего венца статора и функция обычного корпусного элемента компрессора, содержащего стойки, совмещаются в предлагаемом в изобретении корпусном элементе компрессора.
Кроме того, обычный корпусной элемент компрессора, содержащий стойки симметричной аэродинамической формы, выполняет очень ограниченное число аэродинамических функций. С точки зрения аэродинамики, он представляет собой “пассивный (мертвый) груз”. Наличие обычного корпусного элемента компрессора, в основном, отрицательно сказывается на потере давления. Более того, длина канала газового потока через корпусной элемент компрессора обычно определяется аэродинамическим ограничением плавного осерадиального изменения направления потока, чтобы избежать разделения поверхностного слоя, или размерами корпусных элементов. Каждое из этих двух ограничений обусловливает необходимость в достаточно длинном канале газового потока, что влияет на длину двигателя, не придавая ему каких-либо преимуществ с точки зрения аэродинамики. В соответствии с изобретением при использовании стоек в основном аэродинамической формы аэродинамические свойства корпусного элемента компрессора, как ожидается, не будут отрицательно сказываться на требуемой общей длине двигателя.
Другими словами, в соответствии с изобретением допустимая осевая длина корпусного элемента компрессора, которая определяется общей компоновкой двигателя и аэродинамическими ограничениями, используется, чтобы объединить в ней аэродинамических функции находящегося выше по потоку венца статора и несущей конструкции с крепежными стойками.
Хотя число компонентов двигателя уменьшается, возможно уменьшить или по меньшей мере не увеличивать неравномерность потока, поступающего вниз по потоку на ротор ступени компрессора высокого давления и вверх по потоку на ротор ступени компрессора низкого давления.
Чтобы достичь значительного поворота газового потока, направление средней линии криволинейного профиля у входной кромки по меньшей мере одной из стоек наклонено под углом по меньшей мере 20° относительно направления средней линии профиля у выходной кромки этой стойки.
В соответствии с предпочтительным вариантом выполнения изобретения отношение толщины к длине хорды для по меньшей мере одной из этих криволинейных стоек составляет примерно 0,10 (±0,05). Это отношение может быть оптимизировано в зависимости от числа аэродинамических перегородок и стоек. Это создает условия для выбора стоек с большей площадью поперечного сечения. Увеличение площади поперечного сечения приводит к увеличению конструктивной прочности каждой стойки и ее работоспособности. Это в свою очередь влечет за собой уменьшение общего числа нагруженных стоек и/или к увеличению общей работоспособности корпусного элемента компрессора. В соответствии с еще одной особенностью корпусной элемент компрессора содержит группу аэродинамических перегородок (направляющих лопаток) с существенно меньшей площадью поперечного сечения по сравнению со стойками. Эти аэродинамические перегородки меньшего размера могут быть выполнены так, чтобы способствовать повороту потока стойками. Аэродинамические перегородки в качестве дополнения/альтернативы могут быть выполнены так, чтобы улучшать распределение давления вокруг стоек.
В соответствии с еще одной особенностью указанные стойки распределены несимметрично по окружности корпусного элемента компрессора. При таком распределении создаются условия для достижения оптимальной конструктивной прочности.
Краткое описание чертежей
Далее изобретение будет раскрыто на примере варианта выполнения, представленного на прилагаемых чертежах, на которых представлено:
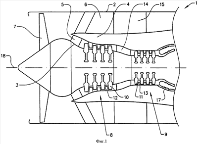
на фиг.1 – схематический вид сбоку сечения двигателя по плоскости, параллельной оси вращения двигателя,
на фиг.2 – увеличенный вид корпусного элемента компрессора, находящегося между секцией компрессора низкого давления и секцией компрессора высокого давления с фиг.1,
на фиг.3 – поперечное сечение по линии А-А с фиг.2,
на фиг.4 – развернутое поперечное сечение по линии В-В с фиг.2,
на фиг.5 – увеличенный вид поперечного сечения одной из стоек с фиг.4.
Подробное описание предпочтительного варианта выполнения изобретения
Далее изобретение будет рассмотрено на примере авиационного двигателя 1 с высокой степенью двухконтурности (см. фиг.1). Двигатель 1 содержит внешний корпус 2, внутренний корпус 3 и промежуточный корпус 4, размещенный концентрично относительно первых двух корпусов и делящий промежуток между ними на внутренний основной газовый канал (тракт) 5, предназначенный для сжатия рабочих газов, и внешний канал (тракт) 6, по которому циркулирует воздух внешнего контура. Поэтому каждый из газовых каналов 5, 6 имеет в поперечном сечении форму кольца, расположенного перпендикулярно направлению оси 18 двигателя 1. Вентилятор 7 расположен у входа двигателя выше по потоку внутреннего и внешнего газовых каналов 5, 6.
Двигатель 1 содержит секцию (каскад) 8 компрессора низкого давления и секцию (каскад) 9 компрессора высокого давления, предназначенные для сжатия газа в основном газовом канале 5. Камера 17 сгорания расположена ниже по потоку секции 9 компрессора высокого давления и предназначена для сжигания сжатого газа, поступающего по основному газовому каналу. Двигатель 1 летательного аппарата содержит также компрессорные секции (не показаны) для расширения рабочих газов, расположенные ниже по потоку камеры сгорания известным из уровня техники образом.
Каждая из секций 8, 9 компрессора содержит несколько роторов 10, 11 и статоров 12, 13, расположенных между соседними роторами. Статоры 12, 13 содержат группу лопаток обтекаемой формы для поворота закрученного газового потока от находящегося выше по потоку ротора в основном в осевом направлении.
Корпуса 2, 3, 4 крепятся конструктивными элементами 14, 15, которые связывают корпуса радиальными опорами. Эти опоры обычно называются “стойками”. Стойки должны обладать достаточной прочностью, чтобы обеспечивать крепление корпусов и не ломаться или изгибаться в случае поломки лопасти вентилятора и ее столкновения со стойкой. Кроме того, конструкция стоек должна обеспечивать в двигателе передачу нагрузок. Стойки выполняются полыми, чтобы можно было разместить в них вспомогательные компоненты, такие как средства для подачи и отвода масла и/или воздуха, а также для размещения в них кабелей для передачи информационных сигналов, касающихся измерения давления и/или температуры, приводного вала для запуска двигателя и т.д. Стойки могут также использоваться для подачи охладителя.
Корпусной элемент 14 компрессора связывает промежуточный корпус 4 и внутренний корпус 3, что обычно называют разделительным корпусом или разделительным корпусом компрессора. Корпусной элемент 14 компрессора выполнен так, чтобы направлять поток газа от секции 8 компрессора низкого давления вовнутрь по радиусу к входу секции компрессора высокого давления. Корпусной элемент 14, связывающий промежуточный корпус 4 и внутренний корпус 3, содержит группу радиальных стоек 15, 16, 21, 24, 25 (смотри фиг.3 и 4), размещенных на некотором расстоянии друг от друга по окружности корпусного элемента 14 компрессора. Стойки 15, 16 являются конструктивными элементами, предназначенными для передачи как осевых, так и радиальных нагрузок, и выполнены полыми, чтобы размещать внутри них вспомогательные компоненты.
Корпусной элемент 14 компрессора выполнен так, чтобы изменять направление закрученного газового потока от ротора 10, в основном, на осевое. Поэтому корпусной элемент 14 компрессора размещен непосредственно ниже по потоку последнего ротора 10 секции 8 компрессора низкого давления. Кроме того, корпусной элемент 14 компрессора размещен непосредственно выше по потоку первого ротора 11 секции 9 компрессора высокого давления. Закрученный поток от ротора 10 обычно выходит под углом 40-60° относительно направления оси 18 компрессора (двигателя). Стойки 15, 16 размещены непосредственно ниже по потоку последнего ротора 10 секции 8 компрессора низкого давления. В этом случае газовый поток нужно поворачивать в комбинированном осетангенциальном и осерадиальном направлении.
Степень поворота газового потока в секции 14 корпусного элемента компрессора зависит от нескольких параметров. Для осуществления поворота газового потока на 40-60° стойкам 15, 16, 21, 24, 25 придан криволинейный аэродинамический профиль, как показано на фиг.4 и 5. Другими словами, стойки выполнены с кривизной, достаточной для существенного изменения направления газового потока. Следовательно, стойки 15, 16, 21, 24, 25 являются не только конструктивными, но и аэродинамическими элементами. В частности, направление средней линии М профиля у входной кромки 101 криволинейной стойки 16 составляет некоторый угол относительно направления средней линии М профиля у выходной кромки 102 этой криволинейной стойки, соответствующий выбранному углу поворота потока. Следовательно, направление средней линии М профиля у входной кромки 101 криволинейной стойки 16 составляет относительно направления средней линии М профиля у выходной кромки 102 криволинейной стойки угол по меньшей мере 20°, предпочтительным является угол по меньшей мере 30° и в особенности по меньшей мере 40°, но наиболее предпочтительным является угол по меньшей мере 50°.
Для того чтобы достичь поворота газового потока на 40-60°, стойки, кроме того, выполнены с более длинной хордой по сравнению с обычными стойками. Длина хорды определяется как расстояние по хордовой линии С между входной кромкой 101 и выходной кромкой 102 стойки 16, как показано на фиг.5. Хордовая линия С определяется как прямая линия, связывающая входную кромку 101 и выходную кромку 102. В частности, длина хорды криволинейных стоек 15, 16, 21, 24, 25 больше толщины указанных криволинейных стоек по меньшей мере в шесть раз, предпочтительным является по меньшей мере в семь раз, лучше по меньшей мере в восемь раз, а в соответствии с наиболее предпочтительным вариантом примерно в девять раз. С другой стороны, толщина такой стойки может быть примерно такой же, как толщины обычных стоек.
Толщина стойки определяется как максимальное расстояние между двумя противолежащими поверхностями 103, 104 стойки в направлении, перпендикулярном средней линии М профиля. Средняя линия М профиля определяется как геометрическое место точек, находящихся на половине расстояния между верхней и нижней поверхностями стойки, измеренного по перпендикуляру к самой средней линии профиля. Прогиб А определяется как максимальное расстояние между средней линией М профиля и линией С хорды, измеренное по перпендикуляру к линии хорды. В соответствии с настоящим изобретением хорда стойки в основном длиннее, чем хорда обычных стоек.
Кроме того, другим параметром, определяющим способность стойки изменять направление газового потока, является отношение максимальной толщины к длине хорды. В соответствии с приведенными на чертежах в качестве примера вариантами максимальная толщина составляет предпочтительно менее 20%, в частности менее 15% и наиболее предпочтительно всего около 10% от хорды.
Кроме того, для достижения оптимальной прочности конструкции стойки 15, 16, 21, 24, 25 асимметрично распределены по окружности кольцевого корпусного элемента 14 компрессора, как показано на фиг.3. Первая из указанных стоек, обозначенная позицией 15, расположена в газовом канале корпусного элемента компрессора в наивысшем из возможных положений по вертикали. Первая стойка 15 имеет несколько большую толщину, чем другие стойки 16, 21, 24, 25, чтобы в ней помещался радиальный приводной вал для запуска двигателя. Другие стойки 16, 21 и 24, 25, соответственно, распределены симметрично относительно плоскости 23, совпадающей с первой стойкой 15 и параллельной направлению оси 18 компрессора газовой турбины. В частности, на каждой из сторон от плоскости 23 симметрии располагается по две стойки 16, 21 и 24, 25, соответственно.
Между стойками 15, 16, 21, 24, 25 располагается группа так называемых аэродинамических или промежуточных перегородок (лопаток) 19, 20. Аэродинамические перегородки 19, 20 расположены в указанном корпусном элементе компрессора 14 таким образом, что образуют со стойками единую кольцевую решетку профилей. Аэродинамические перегородки в основном меньше и легче, чем стойки, и с конструктивной точки зрения не несут нагрузки.
Количество стоек намного меньше, чем количество аэродинамических перегородок.
Аэродинамические перегородки 19, 20 расположены так, чтобы наряду со стойками способствовать повороту газового потока от ротора 10 в основном к осевому направлению.
Аэродинамические перегородки 19, 20 установлены и неравномерно распределены таким образом, чтобы снизить риск воздействия возможного потока от стоек на находящийся выше по потоку венец ротора. Профили стоек также выбраны оптимальными с точки зрения уменьшения влияния направленного вверх по потоку возможного потока на находящийся выше ротор, что достигается за счет выбора соответствующих радиусов входных кромок и клиновидности профилей. Более того, аэродинамические перегородки 19, 20, которые не несут конструктивной нагрузки, могут также быть криволинейными в направлении хорды, наклонены или даже криволинейны в направлении, перпендикулярном хорде, что уменьшает интенсивность вторичного потока, имеющего в каналах подковообразную и закрученную форму, за счет уменьшения этого потока и градиента давления в каналах между стойками, имеющих низкое отношение ширины к длине.
Необходимость в установке промежуточных аэродинамических перегородок для уменьшения числа стоек также учитывается при введении указанного неравномерного по окружности распределения стоек в промежуточном корпусе компрессора, как показано на фиг.3. Действительно, стойки расположены так, чтобы воспринять на себя оптимальным образом конструктивные нагрузки и в особенности нагрузки, связанные с креплением двигателя. Аэродинамические перегородки 19, 20 расположены последовательно так, чтобы получить однородный незакрученный поток, несмотря на несимметричное расположение стоек.
В приведенном выше описании подразумевается, что осью вращения двигателя и осевым направлением двигателя/компрессора турбины/корпусного элемента компрессора является одна и та же ось 18.
Изобретение ни в коей мере не ограничивается приведенным выше вариантом выполнения, наоборот, возможен целый ряд альтернатив и модификаций без выхода за рамки нижеследующей формулы изобретения.
Например, размещение аэродинамических (промежуточных) перегородок меньшего размера, представленное на фиг.4, приведено только в качестве иллюстрации одной из возможных конфигураций и не исчерпывает всех вариантов расположения аэродинамических перегородок относительно стоек в осевом, радиальном и тангенциальном направлениях. В качестве примера аэродинамические перегородки могут быть размещены у выходной кромки определенной стойки, образуя нечто типа закрылка для усиления способности стойки изменять направление газового потока.
В качестве альтернативы сплошному выполнению указанные аэродинамические перегородки могут быть полыми в поперечном сечении, то есть содержать по меньшей мере достаточно большого размера пустоту/полость, которая, однако, не обязательно является сквозным каналом.
В соответствии с альтернативным вариантом корпусной элемент компрессора может быть выполнен так, чтобы поворачивать газовый поток в направлении, отличном от осевого. Корпусной элемент компрессора может быть, например, выполнен так, чтобы изменять направление газового потока с +50° на входе до -10° на выходе. Максимально возможный угол поворота газового потока может составлять примерно 60-70°.
Формула изобретения
1. Компрессорное устройство (1) газовой турбины, содержащее газовый канал (5), секцию (8) компрессора низкого давления и секцию (9) компрессора высокого давления, предназначенные для сжатия газа в этом канале, и корпусной элемент (14) компрессора, расположенный между секцией (8) компрессора низкого давления и секцией (9) компрессора высокого давления с возможностью пропуска газового потока через газовый канал и включающий группу радиально расположенных стоек (15, 16, 21, 24, 25), предназначенных для передачи нагрузки, по меньшей мере, одна из которых выполнена полой для размещения в ней вспомогательных компонентов, отличающееся тем, что стойки (15, 16, 21, 24, 25) имеют криволинейную форму, а корпусной элемент (14) компрессора расположен по потоку непосредственно за последним ротором (10) секции (8) компрессора низкого давления и выполнен с возможностью существенного изменения направления закрученного газового потока от этого ротора (10) с помощью группы указанных стоек (15, 16, 21, 24, 25).
2. Устройство по п.1, отличающееся тем, что направление средней линии (М) криволинейного профиля у входной кромки (101), по меньшей мере, одной из стоек (15, 16, 21, 24, 25) наклонено под углом, по меньшей мере, 20° относительно направления средней линии (М) у выходной кромки (102).
3. Устройство по п.1, отличающееся тем, что направление средней линии (М) криволинейного профиля у входной кромки (101), по меньшей мере, одной из стоек (15, 16, 21, 24, 25) наклонено под углом, по меньшей мере, 30° относительно направления средней линии (М) у выходной кромки (102).
4. Устройство по п.1, отличающееся тем, что направление средней линии (М) криволинейного профиля у входной кромки (101), по меньшей мере, одной из стоек (15, 16, 21, 24, 25) наклонено под углом, по меньшей мере, 40° относительно направления средней линии (М) у выходной кромки (102).
5. Устройство по любому из пп.1-4, отличающееся тем, что отношение толщины к длине хорды криволинейного профиля, по меньшей мере, одной из стоек (15, 16, 21, 24, 25) составляет около 0,10.
6. Устройство по п.1, отличающееся тем, что стойки (15, 16, 21, 24, 25) установлены так, что входные кромки (101) каждой из них расположены в основном в одинаковом положении относительно направления, параллельного оси (18) вращения компрессора.
7. Устройство по п.1, отличающееся тем, что корпусной элемент (14) компрессора содержит группу аэродинамических перегородок (19, 20), имеющих существенно меньшее поперечное сечение по сравнению со стойками (15, 16, 21, 24, 25).
8. Устройство по п.7, отличающееся тем, что, по меньшей мере, одна аэродинамическая перегородка (19, 20) расположена между соседними стойками (16, 21) в направлении по окружности корпусного элемента (14) компрессора.
9. Устройство по п.7 или 8, отличающееся тем, что входные кромки каждой из первого набора указанных аэродинамических перегородок (19, 20) расположены в основном в одинаковом положении с входными кромками стоек (15, 16, 21, 24, 25) относительно направления, параллельного оси (18) вращения компрессора.
10. Устройство по п.7, отличающееся тем, что, по меньшей мере, одна из аэродинамических перегородок (19, 20) выполнена в основном сплошной в поперечном сечении.
11. Устройство по п.1, отличающееся тем, что стойки (15, 16, 21, 24, 25) несимметрично распределены по окружности корпусного элемента компрессора.
12. Устройство по п.1, отличающееся тем, что стойки (15, 16, 21, 24, 25) симметрично распределены относительно плоскости, параллельной осевому направлению устройства.
13. Устройство по п.1, отличающееся тем, что корпусной элемент (14) компрессора расположен по потоку непосредственно перед первым ротором (11) секции компрессора высокого давления.
14. Корпусной элемент (14) компрессора, через который проходит газовый поток при работе компрессорного устройства (1) газовой турбины, содержащий группу радиально расположенных стоек (15, 16, 21, 24, 25), предназначенных для передачи нагрузки, по меньшей мере, одна из которых выполнена полой для размещения в ней вспомогательных компонентов, отличающийся тем, что он установлен с возможностью существенного изменения направления закрученного газового потока от вышерасположенного по потоку ротора (10) компрессорного устройства (1) газовой турбины с помощью группы указанных стоек (15, 16, 21, 24, 25), выполненных с криволинейной формой.
15. Корпусной элемент по п.14, отличающийся тем, что направление средней линии (М) криволинейного профиля у входной кромки (101), по меньшей мере, одной из стоек (15, 16, 21, 24, 25) наклонено под углом, по меньшей мере, 20° относительно направления средней линии (М) у выходной кромки (102).
16. Корпусной элемент по п.14, отличающийся тем, что направление средней линии (М) криволинейного профиля у входной кромки (101) по, меньшей мере, одной из стоек (15, 16, 21, 24, 25) наклонено под углом, по меньшей мере, 30° относительно направления средней линии (М) у выходной кромки (102).
17. Корпусной элемент по п.14, отличающийся тем, что направление средней линии (М) криволинейного профиля у входной кромки (101), по меньшей мере, одной из стоек (15, 16, 21, 24, 25) наклонено под углом, по меньшей мере, 40° относительно направления средней линии (М) у выходной кромки (102).
18. Корпусной элемент по любому из пп.14-17, отличающийся тем, что отношение толщины к длине хорды криволинейного профиля, по меньшей мере, одной из стоек (15, 16, 21, 24, 25) составляет около 0,10.
19. Корпусной элемент по п.14, отличающийся тем, что стойки (15, 16, 21, 24, 25) установлены так, что входные кромки (101) каждой из них расположены в основном в одинаковом положении относительно направления, параллельного оси (18) вращения компрессора.
20. Корпусной элемент по п.14, отличающийся тем, что он содержит группу аэродинамических перегородок (19, 20), имеющих существенно меньшее поперечное сечение по сравнению со стойками (15, 16, 21, 24, 25).
21. Корпусной элемент по п.20, отличающийся тем, что, по меньшей мере, одна аэродинамическая перегородка (19, 20) расположена между соседними стойками (16, 21) в направлении по окружности корпусного элемента (14).
22. Корпусной элемент по п.20 или 21, отличающийся тем, что входные кромки каждой из первого набора указанных аэродинамических перегородок (19, 20) расположены в основном в одинаковом положении с входными кромками стоек (15, 16, 21, 24, 25) относительно направления, параллельного оси (18) вращения компрессора.
23. Корпусной элемент по п.20, отличающийся тем, что, по меньшей мере, одна из аэродинамических перегородок (19, 20) выполнена в основном сплошной в поперечном сечении.
24. Корпусной элемент по п.14, отличающийся тем, что стойки (15, 16, 21, 24, 25) несимметрично распределены по окружности корпусного элемента.
25. Корпусной элемент по п.14, отличающийся тем, что стойки (15, 16, 21, 24, 25) симметрично распределены относительно плоскости, параллельной осевому направлению компрессора.
РИСУНКИ
|
|