|
|
(21), (22) Заявка: 2007129937/06, 07.08.2007
(24) Дата начала отсчета срока действия патента:
07.08.2007
(46) Опубликовано: 10.05.2009
(56) Список документов, цитированных в отчете о поиске:
SU 1302022 A1, 07.04.1987. RU 2253757 C2, 20.11.2004. RU 2080489 C1, 27.05.1997. US 5152803 А, 19.05.1998. FR 2570445 A1, 21.03.1986. DE 19727088 A1, 08.01.1998.
Адрес для переписки:
141070, Московская обл., г. Королев, ул. Ленина, 4а, ОАО “РКК “Энергия” им. С.П. Королева”, отдел интеллектуальной собственности
|
(72) Автор(ы):
Белоусов Николай Игоревич (RU)
(73) Патентообладатель(и):
Открытое акционерное общество “Ракетно-космическая корпорация “Энергия” имени С.П. Королева” (RU)
|
(54) РАДИАЛЬНЫЙ ВЕНТИЛЯТОР
(57) Реферат:
Изобретение относится к вентиляторостроению и может быть использовано в составе систем терморегулирования изделий авиационной и ракетной техники, а также в других областях техники. Технический результат заключается в повышении надежности радиального вентилятора за счет устранения возможности смещения фланца вентилятора. В радиальном вентиляторе, содержащем корпус с внутренней полостью между двумя торцовыми стенками, электродвигатель с рабочим колесом, а также фланец с входным коллектором, размещенный в соосном рабочему колесу отверстии второй торцовой стенки корпуса с диаметром большим или равным диаметру рабочего колеса, указанный технический результат достигается тем, что на фланце выполнены не менее чем два радиальных плоских выступа, выходящих за наружную цилиндрическую поверхность фланца, контактирующую с цилиндрической поверхностью отверстия, радиальные плоские выступы контактируют одной из своих плоских поверхностей, перпендикулярных оси фланца, с наружной поверхностью второй торцовой стенки, на которой выполнены аксиально выступающие бобышки по числу радиальных плоских выступов, при этом в бобышках выполнена соосная отверстию расточка, один торец которой выполнен касающимся наружной поверхности второй торцовой стенки, ширина расточки больше или равна толщине радиальных плоских выступов, а наружный диаметр расточки больше или равен диаметру описанной вокруг радиальных плоских выступов окружности. 4 ил.
Изобретение относится к вентиляторостроению и может быть использовано в составе систем терморегулирования изделий авиационной и ракетной техники, а также в других областях техники.
Известен радиальный вентилятор, содержащий станину, установленные на ней корпус вентилятора и электродвигатель с рабочим колесом, размещенным внутри корпуса [1]. Недостатками этого радиального вентилятора является сложность конструкции и значительная масса, обусловленные наличием станины, что ограничивает его применение в изделиях авиационной и ракетной техники.
Этого недостатка лишен радиальный вентилятор, содержащий корпус с внутренней полостью между двумя торцовыми стенками, установленный на одной торцовой стенке электродвигатель с закрепленным на его валу и размещенным во внутренней полости корпуса рабочим колесом, а также фланец с входным коллектором, размещенный в соосном рабочему колесу отверстии второй торцовой стенки корпуса с диаметром большим или равным диаметру рабочего колеса [2], выбранный в качестве прототипа.
Недостатком этого радиального вентилятора является низкая надежность вентилятора, что вызвано недостаточной вибропрочностью из-за малой жесткости крепления фланца с входным коллектором, в отверстии корпуса. Указанное крепление осуществляется упругим разжимным кольцом, деформирующим эластичную вставку. Однако при виброперегрузках, характерных для ракетной техники, особенно на этапе выведения космического аппарата на орбиту, возможно смещение фланца от номинального положения, что снижает аэродинамические характеристики вентилятора. Кроме того, во всех эластичных материалах наблюдаются явления релаксации под нагрузкой, и с течением времени материал эластичной вставки в местах контакта с упругим кольцом будет необратимо деформироваться, ослабляя усилие фиксации фланца, что также приводит к возможности его смещения от номинального положения.
Техническим результатом, достигаемым с помощью заявленного изобретения, является повышение надежности радиального вентилятора за счет устранения возможности смещения фланца вентилятора.
Технический результат достигается за счет того, что в известном радиальном вентиляторе, содержащем корпус с внутренней полостью между двумя торцовыми стенками, установленный на одной торцовой стенке электродвигатель с закрепленным на его валу и размещенным во внутренней полости корпуса рабочим колесом, а также фланец с входным коллектором, размещенный в соосном рабочему колесу отверстии второй торцовой стенки корпуса с диаметром большим или равным диаметру рабочего колеса, согласно изобретению на фланце выполнены не менее чем два радиальных плоских выступа, выходящих за наружную цилиндрическую поверхность фланца, контактирующую с цилиндрической поверхностью отверстия, плоские радиальные выступы контактируют одной из своих плоских поверхностей, перпендикулярных оси фланца, с наружной поверхностью второй торцовой стенки, на которой выполнены аксиально выступающие бобышки по числу радиальных плоских выступов, при этом в бобышках выполнена соосная отверстию расточка, один торец которой выполнен касающимся наружной поверхности второй торцовой стенки, ширина расточки больше или равна толщине радиальных плоских выступов, а наружный диаметр расточки больше или равен диаметру описанной вокруг радиальных плоских выступов окружности, причем угловой размер бобышек больше углового размера радиальных плоских выступов на величину, определяемую условием возможности фиксации углового положения радиальных плоских выступов в расточке бобышек посредством производимой при сборке пластической деформации материала бобышек, размещенного между свободными торцами бобышек и расточкой. Так как заявленные совокупности существенных признаков устройства позволяют получить указанный технический результат, то заявленное устройство соответствует критерию “изобретательский уровень”.
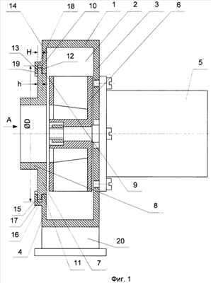
На фиг.1 приведен пример конкретного выполнения радиального вентилятора, продольный разрез, на фиг.2 – то же, вид со стороны входного коллектора, на фиг.3 – то же, сечение по Е-Е (увеличено), на фиг.4 – расчетная схема для определения размеров бобышек и выступов.
Радиальный вентилятор содержит корпус 1 с внутренней полостью 2, образованной между одной торцовой стенкой 3 и второй торцовой стенкой 4. На одной торцовой стенке 3 установлен электродвигатель 5 с закрепленным на его валу и размещенным во внутренней полости 2 корпуса 1 рабочим колесом 6. Радиальный вентилятор содержит также фланец 7 с входным коллектором 8, размещенный в соосном рабочему колесу 6 отверстии 9 второй торцовой стенки 4 корпуса 1 с диаметром большим или равным диаметру рабочего колеса 6 (это необходимо для обеспечения собираемости радиального вентилятора). На фланце 7 выполнены не менее чем два радиальных плоских выступа 10, выходящих за наружную цилиндрическую поверхность 11 фланца 7, контактирующую с цилиндрической поверхностью отверстия 9. Радиальные плоские выступы 10 имеют две плоские поверхности 12 и 13, перпендикулярные оси фланца 7. Радиальные плоские выступы 10 контактируют плоскими поверхностями 12 с наружной поверхностью 14 второй торцовой стенки 4, на которой выполнены аксиально выступающие бобышки 15 по числу радиальных плоских выступов 10. В бобышках 15 выполнена соосная отверстию 9 расточка 16, один торец 17 которой выполнен касающимся наружной поверхности 14 второй торцовой стенки 4. Ширина Н расточки 16 (расстояние между одним торцом 17 расточки и вторым торцом 18 расточки) больше или равна толщине h радиальных плоских выступов 10. Угловое положение радиальных плоских выступов 10 в расточке 16 бобышек 15 фиксируется посредством производимой при сборке пластической деформации материала бобышек 15, размещенного между свободными торцами 19 бобышек и расточкой 16. На корпусе 1 выполнен выходной патрубок 20. Наружный диаметр D расточки 16 больше или равен диаметру d описанной вокруг радиальных плоских выступов 10 окружности. Угловой размер С бобышек 15 больше углового размера В радиальных плоских выступов 10 на величину, определяемую условием возможности фиксации углового положения радиальных плоских выступов 10 в расточке 16 бобышек 15 посредством производимой при сборке пластической деформации материала бобышек 15, размещенного между свободными торцами 19 бобышек и расточкой 16. На корпусе 1 выполнен выходной патрубок 20. Зоны пластической деформации 21, производимой приложением внешнего усилия, показаны на фиг.3.
Радиальный вентилятор работает следующим образом: при включении электродвигателя 5 начинает вращаться рабочее колесо 6, создавая поток воздуха от входного коллектора 8 в выходной патрубок 20. Фланец 7 фиксируется в осевом направлении упором плоских поверхностей 12 выступов 10 в торец 17 расточки 16, касающийся наружной поверхности 14 второй торцовой стенки 4. Осевая фиксация фланца 7 в противоположном направлении осуществляется упором плоских поверхностей 13 выступов 10 во второй торец 18 расточки 16. В идеале номинальная ширина Н расточки 16 должна быть выполнена равной номинальной толщине h радиальных плоских выступов 10, т.к. при этом обеспечивается нулевой осевой люфт фланца 7 по отношению к корпусу 1, однако вследствие неизбежных допусков на изготовление деталей фактическая ширина расточки Н будет больше фактической толщины h радиальных плоских выступов 10 на сумму допусков на эти размеры. При выполнении Н и h по 11-му квалитету точности, при номинале 1 мм, сумма этих допусков не превышает 0,12 мм, что не влияет на работу вентилятора. Из-за технической невозможности выполнения размеров Н и h равными друг другу ширина расточки определена как большая или равная толщине радиальных плоских выступов, хотя следует понимать, что номинальные величины этих размеров равны друг другу. При сборке радиального вентилятора фланец 7 вставляют в отверстие 9 до упора плоских поверхностей 12 выступов 10 в наружную поверхность 14 второй торцовой стенки 4 – при этом выступы 10 размещают между бобышками 15. Затем фланец 7 проворачивают до захода выступов 10 внутрь расточки 16 до положения, показанного на фиг.2. Далее приложением внешнего усилия производят пластическую деформацию материала бобышек 15, размещенного между свободными торцами 19 бобышек и расточкой 16, этим обеспечивается невозможность поворота фланца 7 относительно корпуса 1 в процессе эксплуатации радиального вентилятора. Пластическую деформацию производят на заключительном этапе производства, после снятия характеристик вентилятора и возможной подрезки рабочего колеса для обеспечения параметров вентилятора. Угловой размер бобышек выбирается больше углового размера плоских радиальных выступов на величину, обусловленную возможностью фиксации углового положения радиальных плоских выступов в расточке бобышек посредством производимой при сборке пластической деформации материала бобышек: конкретной математической формулы для всех случаев конфигурации выступов привести невозможно, однако при каждом конкретном исполнении величина разности угловых размеров может быть вполне однозначно определена либо опытным путем, либо расчетами, известными из курса сопротивления материалов, расчетами по методу конечных элементов и т.п. Обоснуем разность размеров бобышки и выступа расчетом с использованием формул, известных из курса сопротивления материалов. Расчетная схема приведена на фиг.4. Сверху изображен край бобышки 15, под которым расположен выступ 10, утопленный от края бобышки на величину L. Считаем, что при осуществлении пластической деформации на край бобышки 15 прикладывают распределенную силу q, при этом
q=F/l,
где: F – величина усилия, прикладываемого к краю бобышки;
l – расстояние по краю бобышки, на котором это усилие распределено.
Рассмотрим элемент бобышки 15 шириной а в качестве бруса с прямоугольным сечением а×b. Из фиг.4 видно, что на этот брус воздействует сила N=qa, создающая в сечении на расстоянии L от края бобышки изгибающий момент М=NL=qaL.
По известной из курса сопротивления материалов формуле [3] максимальное значение напряжений изгиба равно
max=M/Wx, где Wx – момент сопротивления сечения при изгибе.
Так как известно, что
Wx=ab2/6 (из [4]), получим
max=qaL/Wx=6qL/b2.
Для того чтобы деформируемые края бобышек были пластически деформированы, необходимо, чтобы максимальные напряжения изгиба были больше, чем предел упругости у [5]:
max=6qL/b2> у.
или
L>b2 у/6q.
Таким образом, получили условие для определения L, в правую часть которой входят все известные величины: b – геометрический размер, у – известная характеристика материала бобышки, q – интенсивность распределенной нагрузки, однозначно определяемая величиной прикладываемого усилия F, величина которого ограничивается технологическими возможностями, а также условием отсутствия пластических деформаций каких-либо других участков корпуса 1 кроме бобышек 15, и длиной l, на которой распределено это усилие. Конкретная картина нагружения сильно зависит от геометрии деталей вентилятора, однако принципиальная возможность определения геометрических размеров деформируемых частей на базе известных из уровня техники закономерностей показана.
Достигаемое повышение надежности радиального вентилятора за счет устранения возможности смещения фланца вентилятора позволяет рекомендовать заявленный радиальный вентилятор к использованию в ракетно-космической технике.
Литература
1. Патент Российской Федерации 2234000, МПК F04D 17/08, 2004 г.
2. Авторское свидетельство СССР 1302022, МПК F04D 17/08, 1987 г. (прототип).
3. В.И.Феодосьев. Сопротивление материалов. М., Наука, Главная редакция физико-математической литературы, 1986, стр.145, формула (4.8).
4. Там же, формула (4.9).
5. Там же, стр.69.
Формула изобретения
Радиальный вентилятор, содержащий корпус с внутренней полостью между двумя торцевыми стенками, установленный на одной торцевой стенке, электродвигатель с закрепленным на его валу и размещенным во внутренней полости корпуса рабочим колесом, а также фланец с входным коллектором, размещенный в соосном рабочему колесу отверстии второй торцевой стенки корпуса с диаметром большим или равным диаметру рабочего колеса, отличающийся тем, что на фланце выполнены не менее чем два радиальных плоских выступа, выходящих за наружную цилиндрическую поверхность фланца, контактирующую с цилиндрической поверхностью отверстия, радиальные плоские выступы контактируют одной из своих плоских поверхностей, перпендикулярных оси фланца, с наружной поверхностью второй торцевой стенки, на которой выполнены аксиально выступающие бобышки по числу радиальных плоских выступов, при этом в бобышках выполнена соосная отверстию расточка, один торец которой выполнен касающимся наружной поверхности второй торцевой стенки, ширина расточки больше или равна толщине радиальных плоских выступов, а наружный диаметр расточки больше или равен диаметру описанной вокруг радиальных плоских выступов окружности.
РИСУНКИ
|
|