|
|
(21), (22) Заявка: 2007128991/06, 27.07.2007
(24) Дата начала отсчета срока действия патента:
27.07.2007
(46) Опубликовано: 10.05.2009
(56) Список документов, цитированных в отчете о поиске:
RU 2162964 С1, 10.02.2001. RU 2293215 C1, 10.02.2007. SU 564440 А, 16.08.1977. SU 135853 A, 01.01.1961. GB 2324108 A, 14.10.1998.
Адрес для переписки:
423450, Республика Татарстан, г. Альметьевск, ул. Ленина, 35, НГДУ “Альметьевнефть”, нач. тех. отд.
|
(72) Автор(ы):
Ибрагимов Наиль Габдулбариевич (RU), Тазиев Миргазиян Закиевич (RU), Закиров Айрат Фикусович (RU), Таипова Венера Асгатовна (RU), Джафаров Мирзахан Атакиши оглы (RU)
(73) Патентообладатель(и):
Открытое акционерное общество “Татнефть” им. В.Д. Шашина (RU)
|
(54) ШТАНГОВАЯ НАСОСНАЯ УСТАНОВКА ДЛЯ ВНУТРИСКВАЖИННОЙ ПЕРЕКАЧКИ ПЛАСТОВЫХ ВОД
(57) Реферат:
Изобретение относится к нефтедобывающей промышленности, а именно к насосным установкам, предназначенным для нагнетания добываемой пластовой воды в нефтеносный объект для поддержания в нем пластового давления. Установка содержит колонну насосных труб, колонну штанг, связанных с глубинным насосом, включающим в себя цилиндр с всасывающим клапаном и плунжер с нагнетательным клапаном, спущенных в эксплутационную колонну скважины с перфорированными участками напротив нефтеносного и водоносного пластов. Пакер установлен на хвостовике колонны насосных труб и перекрывает затрубное пространство выше водоносного пласта. Насос выполнен трубным и расположен в колонне насосных труб выше хвостовика. Цилиндр снабжен боковыми отверстиями, расположенными на таком уровне, что в положении плунжера в нижней мертвой точке они остаются открытыми и гидравлически связывают внутреннюю полость колонны насосных труб с затрубным пространством скважины выше пакера, а в верхней мертвой точке – перекрытыми. Исследование работы установки с подъемом добываемой воды на поверхность реализуется путем перекрытия боковых отверстий плунжером в пределах его рабочего хода, осуществляемого путем перепосадки плунжера в цилиндре с устья скважины. Позволяет использовать насос любого типоразмера. Позволяет регулировать закачку воды в единой системе подержания пластового давления и задействовать неохваченные площади нефтеносного пласта со слабопроницаемыми коллекторами за счет индивидуальной закачки. 1 ил.
Предлагаемое изобретение относится к нефтедобывающей промышленности, а именно к насосным установкам, предназначенным для нагнетания добываемой пластовой воды в нефтеносный объект для поддержания в нем пластового давления.
Известна насосная установка для закачивания воды в нефтеносный пласт. Подача воды осуществляется с поверхности земли или из вышележащего водоносного пласта. Установка состоит из колонны насосно-компрессорных труб с пакером, глубинного штангового насоса, цилиндр которого размещен в кожухе. Кожух имеет двухпроходной патрубок, один ход которого сообщен с полостью цилиндра насоса, а другой – с кольцевой полостью между кожухом и цилиндром насоса (А.с. СССР 135853, кл. F04B 47/00; 1961 г).
Однако данная установка имеет сложную конструкцию и не обеспечивает нагнетание воды из нижележащего водоносного пласта в верхний нефтеносный пласт.
Известна также скважинная штанговая насосная установка, предназначенная для раздельного отбора нефти и воды из нижнего продуктивного пласта с откачкой нефти на поверхность, а воды – в верхний пласт. Установка состоит из колонны насосно-компрессорных труб, корпуса штангового насоса со ступенчатым цилиндром и дифференциальным плунжером. Корпус и подпоршневая камера верхней ступени цилиндра в нижней части имеют соосные радиальные каналы, сообщающие их с затрубным пространством скважины, разобщенным верхним и нижним пакерами в интервале перфорационных отверстий верхнего пласта. Приемная часть штангового насоса расположена под нижним пакером, последний снабжен трубкой с обратным клапаном, которая гидравлически связывает нижний пласт с межпакерной зоной (А.с. СССР 1456641, кл. F04B 47/02; 1989 г).
Недостатком данной установки является сложность конструкции и отсутствие возможности оценки количества воды, закачиваемой для поддержания пластового давления в верхнем пласте. Кроме того, установка не обеспечивает закачку воды в случаях, когда пластовое давление верхнего пласта больше нижнего.
Наиболее близким к предложенному изобретению по технической сущности является скважинная насосная установка для закачки пластовых вод в нефтеносный пласт, содержащая колонну насосных труб (НКТ) с обратным клапаном, вставной насос и два пакера, установленных выше и ниже нефтяного пласта. Над цилиндром вставного насоса на колонне НКТ установлен патрубок с уплотнительными кольцами и радиальными отверстиями, гидравлически связывающими внутреннюю полость патрубка с межпакерной зоной затрубного пространства скважины. В патрубке концентрично расположен ступенчатый стакан с возможностью осевого перемещения, имеющий проходные отверстия и зубчатый наконечник, связанный с переходником цилиндра насоса при помощи цанги. Нижний и верхний толкатели штока плунжера вставного насоса предназначены для реализации открытия или закрытия радиальных каналов патрубка, перемещения ступенчатого стакана с устья скважины через штанговую подвеску. Самоуплотняющаяся манжета верхнего пакера установлена над радиальными отверстиями патрубка и размещена в предохранительном кожухе, внутренняя полость которого через радиальные отверстия гидравлически связана с патрубком (патент РФ 2162964, кл. F04B 47/02, опубл. 10.02.2001 г. – прототип).
Данная установка обеспечивает добычу воды из нижележащего пласта и без подъема ее на поверхность закачку в вышележащий пласт. Для режима подъема жидкости на поверхность и исследования работы глубинного насоса с замером объема закачиваемой воды предусмотрен узел-переключение, который усложняет конструкции как глубинного, так и устьевого оборудования, снижает надежность установки в целом.
Процесс переключения режимов работы глубинного насоса для сообщения или разобщения внутренней полости НКТ с объектом закачки трудно реализуется. При подгонке ступенчатого стакана в патрубке из-за большого расстояние между верхним и нижним толкателями происходит выход вставного насоса из замковой опоры.
Кроме того, применение вставного насоса в компоновке установки ограничивает возможность использования глубинного штангового насоса большого типоразмера с высокой производительностью, в результате чего ограничивается расход закачиваемой воды в вышележащий пласт.
Задачей изобретения является расширение функциональных возможностей установки и обеспечение надежности ее работы за счет упрощения ее конструкции.
Поставленная задача решается тем, что в штанговой насосной установке для внутрискважинной перекачки пластовых вод, содержащей колонну насосных труб, колонну штанг, связанных с глубинным насосом, включающим в себя цилиндр с всасывающим клапаном и плунжер с нагнетательным клапаном, спущенных в эксплутационную колонну скважины с перфорированными участками напротив нефтеносного и водоносного пластов, и пакер, установленный на хвостовике колонны насосных труб и перекрывающий затрубное пространство выше водоносного пласта, согласно изобретению насос выполнен трубным и расположен в колонне насосных труб выше хвостовика, при этом цилиндр его снабжен боковыми отверстиями, расположенными на таком уровне, что в положении плунжера в нижней мертвой точке они остаются открытыми и гидравлически связывают внутреннюю полость колонны насосных труб с затрубным пространством скважины выше пакера, а в верхней мертвой точке – перекрытыми, причем исследование работы установки с подъемом добываемой воды на поверхность реализуется путем перекрытия боковых отверстий плунжером в пределах его рабочего хода, осуществляемого путем перепосадки плунжера в цилиндре с устья скважины.
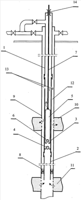
На чертеже представлена принципиальная схема оборудования штанговой насосной установки.
Штанговая насосная установка для внутрискважинной перекачки пластовых вод состоит из колонны насосных труб 1 с хвостовиком 2 и связанного с ними трубного насоса, содержащего цилиндр 3 с всасывающим клапаном 4, плунжер 5 с нагнетательным клапаном 6, установленный в цилиндре 3 с возможностью возвратно-поступательного движения при помощи колонны штанг 7, связанной на устье скважины с головкой балансира станка качалки (не показано). Компоновка насосной установки с пакером 8, установленным на хвостовике 2, спущена в эксплуатационную колонну 9 с перфорированными участками напротив нефтеносного 10 и водоносного 11 пластов. Пакер 8 герметизирует затрубное пространство 12 над водоносным пластом 11. В верхней части цилиндра 3 выполнены радиальные отверстия 13. Устьевая арматура скважины оборудована специальным сальником 14.
Штанговая насосная установка для внутрискважинной перекачки пластовых вод работает следующим образом.
Перед запуском установки в работу производится подгонка плунжера 5 в цилиндре 3 таким образом, что при положении плунжера 5 в нижней мертвой точке боковые отверстии 13 остаются открытыми и расстояние от отверстий 13 до верхнего торца плунжера 5 при этом подбирается в пределах 20-30% от рабочей длины хода плунжера. Если необходимая длина рабочего хода плунжера равна и больше чем длина самого плунжера (длина плунжера 1,2 м), то в этом случае применяются удлиненные цилиндр 3 и плунжер 5. При ходе плунжера 5 вверх высасывающий клапан 4 открывается, нагнетательный клапан 6 закрывается, жидкость, находящаяся над плунжером 5, вытесняется через боковые отверстия 13 в затрубное пространство 12 до момента их перекрытия плунжером 5. Дальнейшие движения плунжера 5 в цилиндре приводит к перемещению жидкости с повышением ее уровня и давления воды в колонне насосных труб 1. При достижении плунжера 5 верхней мертвой точки его нижней торец с клапаном 6 остается ниже боковых отверстий 13, а полость цилиндра 3, образовавшаяся под плунжером, заполняется водой, поступающей из водоносного пласта 11. При ходе плунжера 5 вниз всасывающий клапан 4 закрывается, нагнетательный клапан 6 открывается. Одновременно при этом происходит открытие боковых отверстий 13 и за счет избыточного давления вода из внутренней полости колонны насосных труб 1 перетекает в затрубное пространство 12 и далее в верхний нефтеносный пласт 10.
В зависимости от приемистости верхнего пласта 10 динамический уровень воды как в затрубном пространстве скважины, так и в колонне насосных труб 1 может находиться ниже устья или подниматься до устья скважины. В обоих случаях ближе к устью скважины образуется газовая шапка вследствие выделения растворенного газа из пластовой воды при снижении давления. При отсутствии жидкости в устьевой арматуре скважины, т.е. в газовой среде, полированный шток нагревается и устьевое сальниковое уплотнение быстро выходит из строя. Для устранения этого обстоятельства на устье скважины используется специальное сальниковое устройство 14 с автономной смазкой и охлаждением полированного штока (используется известное скважинное устьевое сальниковое устройство по патенту РФ 2231621, 27.06.04 г.).
В случае необходимости исследования работоспособности установки и замера дебита добываемой воды на устье для определения потенциальной возможности нижнего водоносного пласта производят закрытие боковых отверстий 13. При этом с устья скважины осуществляется переподгонка плунжера 5 в цилиндре 3 таким образом, что в нижней мертвой точке плунжера 5 его верхний конец перекрывает боковые отверстия 13, которые в пределах рабочего хода насоса остаются закрытыми. Таким образом, производится разобщение внутренней полости насосных труб 1 с верхним пластом 10, и осуществляется подъем и замер дебита добываемой воды. Путем динамометрирования и определения абсолютных нагрузок на головку балансира станка-качалки по общеизвестному методу рассчитывают забойное и пластовое давления нижнего водоносного пласта 11.
Предлагаемая штанговая насосная установка для внутрискважинной перекачки пластовых вод конструктивно проста и позволяет использовать насос любого типоразмера, что функционально расширяет ее возможности. Использование данной установки позволяет урегулировать закачку воды в единой системе подержания пластового давления (ППД) и задействовать неохваченные площади нефтеносного пласта со слабопроницаемыми коллекторами за счет индивидуальной закачки, исключить трубопроводные коммуникации для подготовки и транспортировки закачиваемой воды.
Формула изобретения
Штанговая насосная установка для внутрискважинной перекачки пластовых вод, содержащая колонну насосных труб, колонну штанг, связанных с глубинным насосом, включающим в себя цилиндр с всасывающим клапаном и плунжер с нагнетательным клапаном, спущенных в эксплуатационную колонну скважины с перфорированными участками напротив нефтеносного и водоносного пластов, и пакер, установленный на хвостовике колонны насосных труб и перекрывающий затрубное пространство выше водоносного пласта, отличающаяся тем, что насос выполнен трубным и расположен в колонне насосных труб выше хвостовика, при этом цилиндр его снабжен боковыми отверстиями, расположенными на таком уровне, что в положении плунжера в нижней мертвой точке они остаются открытыми и гидравлически связывают внутреннюю полость колонны насосных труб с затрубным пространством скважины выше пакера, а в верхней мертвой точке – перекрытыми, причем исследование работы установки с подъемом добываемой воды на поверхность реализуется путем перекрытия боковых отверстий плунжером в пределах его рабочего хода, осуществляемого путем перепосадки плунжера в цилиндре с устья скважины.
РИСУНКИ
|
|