|
|
(21), (22) Заявка: 2007142767/06, 21.11.2007
(24) Дата начала отсчета срока действия патента:
21.11.2007
(46) Опубликовано: 10.05.2009
(56) Список документов, цитированных в отчете о поиске:
RU 2052761 C1, 20.01.1996. RU 2079705 C1, 20.05.1997. RU 2000105533 A, 27.01.2002. JP 61205378 A, 11.09.1986.
Адрес для переписки:
119296, Москва, а/я 113, пат.пов. Э.П.Песикову, рег. 204
|
(72) Автор(ы):
ЛИНЬ Сиень-Мин (TW)
(73) Патентообладатель(и):
ЛИНЬ Сиень-Мин (TW)
|
(54) УСТРОЙСТВО ДЛЯ ВЫРАБОТКИ ЭЛЕКТРОЭНЕРГИИ
(57) Реферат:
Изобретение относится к устройствам для выработки электроэнергии. Устройство для выработки электроэнергии содержит вертикальную опорную башню и ротационный механизм. Башня имеет верхнюю и нижнюю платформы. Они формируют соответствующие водяные баки. Бак верхней платформы имеет дно с выпускным отверстием. Внутреннее пространство между верхней и нижней платформой формирует, по меньшей мере, одну камеру. Она расположена в вертикальном направлении между водяными баками. Башня также снабжена горизонтальной перегородкой. Она расположена, в основном, по горизонтали во внутреннем пространстве и формирует дно каждой камеры. Каждая перегородка формирует выпускное отверстие. Ротационный механизм расположен в каждой камере и содержит множество ковшей и вращающийся вал. Ковши имеют открытые части. Эти части расположены под различными углами. Вал прикреплен к ковшам и оперативно соединен с валом одного генератора мощности. Водяной бак верхней платформы служит для заполнения его водой и обеспечивает протекание потока воды вниз в следующую расположенную ниже камеру через выпускные отверстия для выработки электроэнергии. Изобретение позволяет создать устройство, которое работает циклически без электропитания от внешнего источника пусковой мощности и обеспечивает непрерывную подачу электроэнергии. 4 з.п. ф-лы, 7 ил.
ПРЕДПОСЫЛКИ СОЗДАНИЯ ИЗОБРЕТЕНИЯ
(a) Область техники
Настоящее изобретение относится к устройствам для выработки электроэнергии и, в частности, к устройству для выработки электроэнергии, которое работает циклически и обеспечивает непрерывную подачу электроэнергии без потребления энергии от внешнего источника для начала работы этого устройства.
(b) Описание известных аналогов
Для выработки гидроэнергии при использовании технически выполнимой системы требуется большая гидроустановка типа водяной мельницы. Водяная мельница часто состоит из нескольких групп и требует значительного расхода воды, чтобы гарантировать должную мощность для привода генератора мощности, соединенного с водяной турбиной. Эта система имеет высокую стоимость. Кроме того, устройство с водяной турбиной часто ограничено местом, где имеется достаточный приток воды или доступный источник гидравлической энергии.
Что касается выработки электроэнергии с помощью энергии ветра, то мощная ветроэнергетическая установка большого размера монтируется в верхней части вертикальной опоры и получает кинетическую энергию от сильного потока воздуха, который вращает ротор ветроэнергетической установки, чтобы, в свою очередь, привести в движение генератор мощности, соединенный с ветроэнергетической установкой. Строительство ветроэнергетической установки имеет высокую стоимость и ограничено местоположением, где имеется, в основном, непрерывный поток воздуха. Иными словами, выработка энергии ветра не подходит для зон, где, в основном, ветра не бывает. Выработка энергии с помощью ядерного реактора представляет собой чистый источник мощности и не создает парникового эффекта. Однако ядерное загрязнение является потенциально серьезной проблемой в зоне, где расположена атомная электростанция. Будущее ядерной энергетики все еще дебатируется и активно осуждается сторонниками защиты окружающей среды.
КРАТКОЕ ОПИСАНИЕ ИЗОБРЕТЕНИЯ
Основной целью настоящего изобретения является создание устройства для выработки электроэнергии, которое работает циклическим способом без электропитания от внешнего источника пусковой мощности и обеспечивает непрерывную подачу электроэнергии.
В соответствии с настоящим изобретением устройство выработки электроэнергии включает опорную башню, имеющую верхнюю платформу и нижнюю платформу, на каждой из которых установлен водяной бак. На дне водяного бака нижней платформы установлен водяной насос, который соединен с трубопроводом, который проходит до водяного бака верхней платформы. Внутреннее пространство опорной башни между верхней и нижней платформами разделено на множество вертикально расположенных камер, разделенных, в основном, горизонтальными перегородками, каждая из которых функционирует, как дно соответствующей камеры и имеет выпускное отверстие. В каждой камере имеется ротационный механизм, который установлен на дне камеры и включает множество ковшей, открытых под различными углами. Ротационный механизм имеет вращающийся вал, который соединен с валом одного генератора мощности, связанного с соответствующей камерой. Таким образом, когда водяной бак верхней платформы заполнен водой, эта вода может течь через выпускные отверстия, выполненные в дне водяного бака верхней платформы, в камеру, расположенную непосредственно под водяным баком верхней платформы, и затем последовательно в следующий водяной бак через выпускное отверстие соответствующих перегородок. Вода, текущая в каждую камеру, последовательно заполняет ковши ротационного механизма, и благодаря силе тяжести воды, заполняющей ковши, вал ротационного механизма вращается в предопределенном направлении, что, в свою очередь, приводит в движение вал одного генератора мощности, который вырабатывает электроэнергию. Вода, протекающая через все камеры, в конечном счете, заполняет водяной бак на нижней платформе, и затем эта вода закачивается водяным насосом обратно в водяной бак верхней платформы для циклической работы установки и непрерывной подачи электроэнергии.
В устройстве выработки электроэнергии по настоящему изобретению каждая перегородка, которая формирует дно каждой камеры башни, имеет вогнутую конфигурацию с выпускным отверстием в самом низком месте с тем, чтобы части перегородок, окружающие выпускные отверстия, были бы установлены с наклоном к выпускному отверстию. Это облегчает направление воды к выпускному отверстию.
В устройстве выработки электроэнергии по настоящему изобретению внутри башни установлен главный трубопровод, который соединен с внешним источником водоснабжения. Главный трубопровод соединен ответвлениями с каждой из камер. Таким образом, когда поток воды, циркулирующей в башне, по какой-либо причине (например, из-за испарения) снижается, вода может быть добавлена в систему через трубопровод, соединенный с внешним источником водоснабжения.
КРАТКОЕ ОПИСАНИЕ ЧЕРТЕЖЕЙ
Фиг.1 – вертикальный поперечный разрез устройства для выработки электроэнергии, выполненного в соответствии с настоящим изобретением;
Фиг.1А – также вертикальный поперечный разрез устройства для выработки электроэнергии по настоящему изобретению, но в виде, показанном в другом направлении;
Фиг.2 – перспективное представление ротационного механизма устройства для выработки электроэнергии по настоящему изобретению;
Фиг.3 – схематическое представление, иллюстрирующее устройство четырех ковшей ротационного механизма;
Фиг.4, 6 – вертикальный поперечный разрез устройства для выработки электроэнергии, иллюстрирующий работу этого устройства;
Фиг.5 – перспективное представление ротационного механизма, иллюстрирующее работу этого механизма для привода одного генератора мощности;
Фиг.7 – вертикальный поперечный разрез устройства для выработки электроэнергии, иллюстрирующий поступление воды из внешнего источника.
ПОДРОБНОЕ ОПИСАНИЕ ПРЕДПОЧТИТЕЛЬНЫХ ВАРИАНТОВ ИЗОБРЕТЕНИЯ
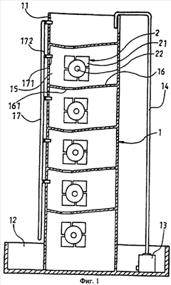
Как видно на чертежах, в частности на фиг.1, 1А, 2 и 3, устройство для выработки электроэнергии, выполненное в соответствии с настоящим изобретением, включает вертикальную опорную башню, в основном, обозначенную позицией 1, имеющую верхнюю часть с водяным баком 11 на верхней платформе и водяной бак 12 на нижней платформе, сформированной в основании башни 1. Водяной насос 13 установлен в водяном баке 12 нижней платформы и соединен с трубопроводом 14, который проходит вверх до водяного бака 11 верхней платформы.
Башня 1 определяет внутреннее пространство между водяным баком верхней платформы 11 и водяным баком 12 нижней платформы. Во внутреннем пространстве расположена, по меньшей мере, одна камера 15, установленная вертикально между водяным баком верхней платформы 11 и водяным баком 12 нижней платформы. Предпочтительно, как показано на чертежах, внутреннее пространство разделено на множество вертикально установленных камер 15 между водяным баком верхней платформы 11 и водяным баком 12 нижней платформы. Камеры 15 разделены, в основном, горизонтальными перегородками 16, которые размещены с интервалом по вертикали, чтобы формировать камеры 15. Каждая перегородка 16 является дном соответствующей камеры 15 и формирует выпускные отверстия 161, которые сообщены со следующей нижней камерой 15. Перегородка 16 имеет вогнутую форму с нижней областью, где выполнены выпускные отверстия 161. Таким образом, части перегородок 16, которые окружают выпускные отверстия 161, наклонены вверх в направлении от выпускного отверстия 161.
В каждой камере 15 на основания перегородки 16 установлен ротационный механизм 2. Ротационный механизм 2 состоит из множества ковшей 21, количество которых в рассматриваемом варианте равно четырем и каждый из них имеет открытую часть, направленную под различным углом. Таким образом, ковши 21 ротационного механизма 2 наклонены под различными углами. Ротационный механизм 2 включает вращающийся вал 22, который предпочтительно установлен в общем центре ковшей 21 и соединен с ковшами 21. Вращающийся вал 22 соединен с валом 31 одного генератора мощности 3, например генератора постоянного тока, через ременную передачу 23 и соответствующие шкивы (не показаны).
Расположенный вне башни 1 водопровод 17 соединен с внешним источником водоснабжения, например с городским водопроводом. Водопровод 17 включает множество ответвлений 171, каждое из которых соединено с трубопроводом 17 и проходит в каждую камеру 15, и каждое ответвление водопровода снабжено регулирующим клапаном 172. Используя упомянутые выше компоненты /элементы/ механизмы, можно создать устройство для выработки электроэнергии, которое может быть установлено, например, вниз по течению реки, морского канала подачи воды на побережье или просто под большим водохранилищем дождевой воды так, что водяной бак верхней платформы 11 постоянно наполнялся бы водой. Затем вода течет вниз через выпускные отверстия 161 каждой перегородки 16 камеры 15. Благодаря вогнутой конфигурации перегородок 16 вода направляется к выпускному отверстию 161 этой перегородки, чтобы течь в ковши 21 ротационного механизма 2 следующей нижней камеры 15. Вес воды, заполняющей ковши 21 ротационного механизма 2, приводит к вращению ротационного механизма 2 в предопределенном направлении, что, в свою очередь, приводит в движение вал 31 одного из генераторов мощности 3 через ременную передачу 23 и соответствующие шкивы. Таким образом, генератор мощности 3 вырабатывает электрический ток, и полученная таким образом электроэнергия передается по электрическим проводам 32, которые соединены с генератором мощности 3, на устройство аккумулирования электроэнергии и ее последующего использования. Вода, прошедшая через все камеры 15, постепенно заполняет водяной бак 12 нижней платформы и затем перекачивается водяным насосом 13 обратно в водяной бак 11 верхней платформы для циклической работы устройства и непрерывной выработки электроэнергии.
Снова обратимся к фиг.4 и 5. В практическом применении устройство для выработки энергии по настоящему изобретению может быть расположено вниз по течению реки, морского канала подвода воды на побережье или под большим водохранилищем для дождевой воды, чтобы водяной бак верхней платформы 11 непрерывно снабжался бы водой. Вода затем течет вниз через выпускное отверстие 161 каждой перегородки 16 из камеры 15. Из-за вогнутой конфигурации перегородки 16 вода направляется к отверстию разряда 161 этой перегородки, чтобы течь в ковши 21 ротационного механизма 2 следующей нижней камеры 15. Вес воды, находящейся в ковшах 21 ротационного механизма 2, вызывает вращение ротационного механизма 2 в предопределенном направлении, что, в свою очередь, приводит во вращение вал 31 генератора мощности 3 через ременную передачу 23 и связанные с ней шкивы. Таким образом, генератор 3 генерирует электрический ток, и выработанная, таким образом, электроэнергия передается по электрическим проводам 32, соединенным с генератором мощности 3, на устройство аккумулирования энергии для ее накопления и последующего использования другими электрическими приборами или устройствами.
Как показано на фиг.6, во время процесса, при котором вода протекает через все камеры 15 через выпускные отверстия 161 в перегородках 16 и заполняет водяной бак 12 нижней платформы, в случае, если поток в водяной бак 11 верхней платформы прекращается или является недостаточным по какой-либо причине, насос 13 может быть реверсирован, чтобы временно закачать воду в водяной бак 11 верхней платформы через трубопровод 14 из водяного бака 12 нижней платформы, чтобы поддержать циркуляцию потока воды и гарантировать непрерывную работу генератора мощности 3 для непрерывной подачи электроэнергии, пока не будет возобновлено нормальное и достаточное снабжение водой водяного бака 11 верхней платформы от внешнего источника воды, когда насос 13 отключен.
Как показано на фиг.7, труба 17, расположенная вне башни 1, соединена с внешним источником водоснабжения и включает ответвления 171, которые соответственно выходят из камеры 15. Ответвления 171 снабжены регулирующими клапанами 172 так, что когда количество воды, циркулирующей через башню 1, снижается, например, в результате испарения или когда поступление воды в водяной бак 11 верхней платформы прекращено или недостаточно, регулирующие клапаны 172 открываются, чтобы добавить воду из внешнего источника водоснабжения в башню 1 для того, чтобы поддержать нормальную работу устройства для выработки электроэнергии.
Формула изобретения
1. Устройство для выработки электроэнергии, содержащее вертикальную опорную башню, имеющую верхнюю и нижнюю платформы, соответственно формирующие водяной бак верхней платформы, имеющий дно с выпускным отверстием, и водяной бак нижней платформы, при этом внутреннее пространство между верхней и нижней платформами формирует, по меньшей мере, одну камеру, расположенную в вертикальном направлении между водяным баком верхней платформы и водяным баком нижней платформы, горизонтальную перегородку, расположенную в основном по горизонтали во внутреннем пространстве и формирующую дно каждой камеры, при этом каждая перегородка формирует выпускное отверстие; и ротационный механизм, расположенный в каждой камере и содержащий множество ковшей, имеющих открытые части, расположенные под различными углами, и вращающийся вал, прикрепленный к ковшам и оперативно соединенный с валом одного генератора мощности, в котором водяной бак верхней платформы служит для заполнения его водой и обеспечивает протекание потока воды вниз в следующую расположенную ниже камеру через выпускные отверстия для того, чтобы заполнить ковши ротационного механизма упомянутой расположенной ниже камеры с тем, чтобы сила тяжести воды, заполняющей ковши, приводила бы во вращение ротационный механизм в предопределенном направлении и таким образом вращала бы вал одного генератора мощности, чтобы выработать электроэнергию.
2. Устройство для выработки электроэнергии по п.1, дополнительно содержащее водяной насос, размещенный в водяном баке нижней платформы и соединенный с трубопроводом, который проходит до водяного бака верхней платформы, при этом, когда подача воды в водяной бак верхней платформы прекращена или недостаточна, водяной насос выборочно подает воду, содержащуюся в водяном баке нижней платформы, в водяной бак верхней платформы, чтобы обеспечить поток воды вниз через камеру.
3. Устройство для выработки электроэнергии по п.1, в котором перегородка каждой камеры имеет вогнутую конфигурацию, в самой низкой точке которой сформированы выпускные отверстия, при этом части перегородок, окружающие выпускные отверстия, наклонены вверх в направлении в сторону от выпускного отверстия, чтобы облегчить направление воды к выпускному отверстию.
4. Устройство для выработки электроэнергии по п.1, дополнительно содержащее трубопровод для подачи воды, размещенный вне башни и предназначенный для соединения с внешним источником водоснабжения, при этом указанный трубопровод имеет ответвления, соединенные с каждой камерой, чтобы выборочно осуществлять дополнительную подачу воды в башню.
5. Устройство для выработки электроэнергии по п.1, в котором генератор мощности представляет собой генератор постоянного тока.
РИСУНКИ
|
|