|
|
(21), (22) Заявка: 2007131369/06, 17.08.2007
(24) Дата начала отсчета срока действия патента:
17.08.2007
(46) Опубликовано: 10.05.2009
(56) Список документов, цитированных в отчете о поиске:
SU 1815415 А1, 15.05.1993. RU 2205292 С1, 27.05.2003. SU 1307083 А1, 30.04.1987. SU 1403543 А1, 30.06.1994. JP 2003343419 А, 03.12.2003. JP 58122373 А, 21.07.1983.
Адрес для переписки:
141980, Московская обл., г. Дубна, ул. 9 Мая, 1, кв.101, В.И. Салмину
|
(72) Автор(ы):
Салмин Владимир Иванович (RU)
(73) Патентообладатель(и):
Салмин Владимир Иванович (RU)
|
(54) ПРИВОД ЛОПАСТЕЙ ВЕТРОЭНЕРГЕТИЧЕСКОЙ УСТАНОВКИ С ИСПОЛЬЗОВАНИЕМ КИНЕТИЧЕСКОЙ ЭНЕРГИИ ВЕТРОКОЛЕСА
(57) Реферат:
Изобретение относится к ветротехнике, а конкретно к механизму поворота лопастей. Привод лопастей ветроэнергетической установки включает вал регулировки шага лопастей, расположенный коаксиально в полости главного вала и связанный с лопастями, тормоз обратного действия и блок управления. Тормоз обратного действия оборудован пружинной фиксацией и имеет вход, который соединен с первым выходом блока управления. В состав привода дополнительно входят два диска, расположенные на валу регулировки шага лопастей, с упорами и тормозом прямого действия на каждом диске, блокирующий тормоз между главным валом и валом регулировки шага лопастей, стартер, установленный на одном из дисков. Каждый диск с валом регулировки шага лопастей образует винтовую пару, причем один диск образует винтовую пару правого вращения, а другой диск – левого вращения. Каждый диск имеет упоры от бокового перемещения и тормоз прямого действия с независимым управлением. Вход тормоза первого диска соединен с четвертым выходом блока управления, а вход тормоза второго диска соединен со вторым выходом блока управления. Главный вал и вал регулировки шага лопастей связаны общим блокирующим тормозом, вход которого соединен с пятым выходом блока управления. Стартер, установленный на одном из дисков, служит для запуска установки и имеет вход, соединенный с третьим выходом блока управления. Использование изобретения позволит повысить надежность и долговечность конструкции, упростить технологию ее изготовления и эксплуатации и снизить стоимость. 1 ил.
Изобретение относится к ветротехнике, а конкретно к механизму поворота лопастей ветроэнергетической установки. Целью изобретения является использование кинетической энергии вращающегося ветроколеса для управления поворотом лопастей за счет механического преобразования кинетической энергии вращательного движения ветроколеса в поступательное движение промежуточного вала, которое через систему рычагов производит поворот лопастей вокруг продольной оси.
Известны ветродвигатели, в которых кинетическая энергия вращения ветроколеса используется для поворота лопастей во флюгерное положение в аварийной ситуации. Недостатком такой конструкции является то, что для управления поворотом лопастей в рабочем режиме используется отдельная система поворота лопастей, в качестве которой используется гидропривод. То есть вводится вторая система управления лопастями, которая сложна в изготовлении, невысокого уровня по надежности и долговечности и довольно дорогостоящая как в эксплуатации, так и в изготовлении.
За прототип принята голландская ветроустановка “Newacs-45” (Stork-FDO-WES (a.n.) Newecs-45; Technical specifications, Amsterdam), (Erich Hau, Horst Von Renouard “Wind Turbines”, Birkhäuser, 2005, ISBN 3540242406, 9783540242406), система поворота лопастей которой содержит гидромотор, а в аварийной ситуации используется кинетическая энергия ветроколеса. Она содержит планетарный редуктор, вал регулировки шага лопастей, тормоз обратного действия и блок управления, при этом вал регулировки шага лопастей расположен коаксиально в полости главного вала, тормоз обратного действия оборудован пружинной фиксацией и имеет выход, который связан с входом блока управления.
Принятая за прототип конструкция работает следующим образом. Во время запуска ветроэнергетической установки по сигналу из блока управления тормоз обратного действия разблокируется, включается гидромотор и через планетарный редуктор с помощью вала регулировки шага лопастей лопасти поворачиваются в рабочее положение, и ветроколесо начинает вращаться. При вращении ветроколеса с постоянным шагом лопастей гидромотор не работает. Вал регулировки шага лопастей и главный вал при этом имеют одну и ту же скорость вращения. Если необходимо изменить величину шага лопастей, включается гидромотор, который через планетарный редуктор изменяет скорость вращения вала регулировки шага лопастей относительно скорости вращения главного вала. За счет этого лопасти меняют свой шаг установки в ту или иную сторону.
В случае аварийной ситуации, когда система поворота лопастей обесточена и гидромотор не работает, автоматически срабатывает тормоз обратного действия, оборудованный пружинной фиксацией. Вал регулировки шага лопастей тормозится, и за счет разности скоростей вращения между ним и главным валом, который за счет инерции вращения ветроколеса продолжает вращаться, лопасти поворачиваются во флюгерное положение (90° относительно набегающего потока), обеспечивая тем самым аэродинамическое торможение ветроколеса (первая ступень безопасности).
Общими признаками с предлагаемым техническим решением являются: вал регулировки шага лопастей, тормоз обратного действия и блок управления, при этом вал регулировки шага лопастей расположен коаксиально в полости главного вала и связан с лопастями, а тормоз обратного действия оборудован пружинной фиксацией и имеет вход, который соединен с первым выходом блока управления.
В предлагаемом изобретении решаются задачи: использования одной электромеханической системы управления лопастями и в рабочем режиме, и в аварийной ситуации (в первой ступени безопасности), повышения надежности и долговечности конструкции, упрощения технологии изготовления и эксплуатации системы привода поворота лопастей, снижение ее стоимости как при изготовлении, так и при эксплуатации.
Данная техническая задача решается тем, что привод лопастей ветроэнергетической установки с использованием кинетической энергии ветроколеса в составе вала регулировки шага лопастей, тормоза обратного действия и блока управления, при этом вал регулировки шага лопастей расположен коаксиально в полости главного вала и связан с лопастями, а тормоз обратного действия оборудован пружинной фиксацией и имеет вход, который соединен с первым выходом блока управления, дополнительно имеет два диска, расположенные на валу регулировки шага лопастей, с упорами, тормоз прямого действия на каждом диске, блокирующий тормоз между главным валом и валом регулировки шага лопастей, стартер для запуска ветроколеса, при этом каждый диск с валом регулировки шага лопастей образует винтовую пару, причем один диск образует винтовую пару правого вращения, а другой диск – левого вращения; каждый диск имеет упоры от бокового перемещения и тормоз прямого действия с независимым управлением, при этом вход тормоза первого диска соединен с четвертым выходом блока управления, а вход тормоза второго диска соединен со вторым выходом блока управления; главный вал и вал регулировки шага лопастей связаны общим блокирующим тормозом, вход которого соединен с пятым выходом блока управления; один из дисков оборудован стартером для запуска ветроустановки, у которого вход соединен с третьим выходом блока управления.
Отличительными признаками предлагаемого изобретения являются следующие: в состав привода лопастей ветроэнергетической установки дополнительно входят два диска, расположенные на валу регулировки шага лопастей, с упорами, тормоз прямого действия на каждом диске, блокирующий тормоз между главным валом и валом регулировки шага лопастей, стартер для запуска ветроколеса, при этом каждый диск с валом регулировки шага лопастей образует винтовую пару, причем один диск образует винтовую пару правого вращения, а другой диск – левого вращения; каждый диск имеет упоры от бокового перемещения и тормоз прямого действия с независимым управлением, при этом вход тормоза первого диска соединен с четвертым выходом блока управления, а вход тормоза второго диска соединен со вторым выходом блока управления; главный вал и вал регулировки шага лопастей связаны общим блокирующим тормозом, вход которого соединен с пятым выходом блока управления; один из дисков оборудован стартером для запуска ветроустановки, у которого вход соединен с третьим выходом блока управления.
Благодаря наличию указанных отличительных признаков в совокупности с известными (указанными в ограничительной части формулы) достигается следующий технический результат – одна и та же электромеханическая система поворота лопастей используется и для изменения шага лопастей с помощью кинетической энергии вращающегося ветроколеса в рабочем режиме, и для аварийной остановки ветроколеса в первой ступени безопасности. По сравнению с гидравлической системой поворота лопастей электромеханическая система поворота лопастей значительно дешевле в изготовлении и эксплуатации, надежнее и долговечнее.
Предложенное техническое решение может найти применение для широкого класса ветроэнергетических установок, начиная с 8-10 кВт и до 200-500 кВт. Опыт эксплуатации предлагаемого технического решения на этом классе ветроустановок должен дать ответ на вопрос применения его на более мощных ветроустановках.
Предложенное техническое решение поясняется эскизами на чертеже.
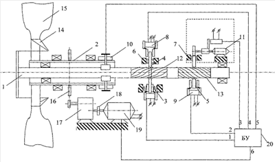
Представленный на чертеже привод лопастей ветроэнергетической установки с использованием кинетической энергии ветроколеса в составе вала 1 регулировки шага лопастей 15, тормоза 3 обратного действия и блока управления 20 имеет два диска 4 и 5, установленные на валу 1 регулировки шага лопастей, с упорами 6 и 7, тормозы 8 и 9 на каждом диске, блокирующий тормоз 10 между главным валом 2 и валом 1 регулировки шага лопастей и стартер 11 для запуска ветроколеса.
При этом вал 1 регулировки шага лопастей 15 коаксиально расположен в полости главного вала 2, на свободном конце вала 1 регулировки шага лопастей со стороны гондолы имеются две площадки 12 и 13 с правой и левой резьбой соответственно, на которых установлены диски 4 и 5 с ответной резьбовой частью и тормозы 8 и 9 прямого действия с независимым управлением, входы которых соединены соответственно с четвертым и вторым выходами блока управления, кроме того, на одном диске установлен тормоз 3 обратного действия, оборудованный пружинной фиксацией, вход которого соединен с первым выходом блока управления, а на другом установлен стартер 11 для запуска ветроколеса, вход которого соединен с третьим выходом блока управления 20. Второй конец вала 1 регулировки шага лопастей свободно проходит через полость главного вала 2 и на выходе соединяется через качалки 14 с лопастями 15. Кроме этого главный вал 2 и вал 1 регулировки шага лопастей имеют блокирующий тормоз 10, с помощью которого они блокируются друг с другом и вращаются как одно целое и при этом вход которого соединен с пятым выходом блока управления.
Привод лопастей ветроэнергетической установки с использованием кинетической энергии ветроколеса работает следующим образом. Запуск ветроэнергетической установки производится с помощью стартера 11. Перед этим сначала разблокируется тормоз 3 обратного действия, оборудованный пружинной фиксацией, и тормоз 10 блокировки главного вала 2 с валом 1 регулировки шага лопастей. Затем включается стартер 11, который начинает вращать диск 5. За счет винтового соединения диска 5 с валом 1 регулировки шага лопастей он начинает перемещаться вдоль вала, но дойдя до бокового упора 7, диск 5 останавливается, продолжая при этом вращаться стартером 11. За счет винтового соединения диска 5 с валом 1 последний начинает перемещаться вдоль оси. Через качалку 14 лопасти 15 поворачиваются на соответствующий угол запуска, и ветроколесо начинает вращаться. После этого стартер 11 отключается, и включается тормоз 10 блокировки главного вала 2 с валом 1 регулировки шага лопастей. Главный вал 2 начинает вращаться совместно с валом 1 как одно целое. Совместно с валом 1 регулировки шага лопастей свободно вращаются диски 4 и 5, так как стартер 11 отключен, тормоз 3 обратного действия, оборудованный пружинной фиксацией, разблокирован, а тормозы 8 и 9 не задействованы. Вращение главного вала 2 через передачу 16, мультипликатор 17 и муфту 18 передается на генератор 19, который начинает вырабатывать электроэнергию. При этом вход генератора соединен с первым выходом блока управления 20.
При изменении скорости ветра или в случае необходимости изменения шага лопастей 15 во время вращения ветроколеса блок управления 20 включает тормоз 8 или 9 в зависимости от направления изменения шага лопастей и разблокирует тормоз 10 блокировки главного вала 2 с валом 1 регулировки шага лопастей. При разблокировки тормоза 10 вращение ветроколеса на вал 1 передается через качалки 14. Соответствующий диск 4 или 5 тормозится. При этом за счет винтового соединения диска 4 или 5 с валом 1 регулировки шага лопастей вращающийся вал 1 начнет перемещаться вперед на увеличение шага лопастей или назад на уменьшение шага лопастей. После установки нужного шага лопастей блок управления 20 отключает тормоз 8 или 9 и включает тормоз 10 блокировки главного вала 2 с валом 1 регулировки шага лопастей.
В аварийной ситуации, если произошло обесточивание блока управления 20, то тормоз 10 блокировки главного вала 2 с валом 1 регулировки шага лопастей разблокируется, а тормоз 3 обратного действия, оборудованный пружинной фиксацией, блокируется за счет пружин и затормаживает диск 4. При разблокированном тормозе 10 вращение ветроколеса на вал 1 регулировки шага лопастей передается через качалки 14 лопастей 15. За счет вращения вала 1 и винтового соединения диска 4 с валом 1 регулировки шага лопастей вал 1 начнет перемещаться вперед до упора. В результате этого лопасть оказывается повернутой во флюгерное положение (на 90° относительно набегающего потока), и начинается аэродинамическое торможение ветроколеса, в результате чего оно останавливается. Это так называемая первая ступень системы безопасности, связанная с приводом лопастей ветроэнергетической установки с использованием кинетической энергии ветроколеса.
При штатной остановке ветроколеса блок управления 20 отключает тормоз 10 блокировки главного вала 2 с валом 1, обесточивает тормоз 3, который за счет пружин блокируется и тормозит диск 4, и дополнительно включает тормоз 8, который тоже тормозит диск 4. При разблокированном тормозе 10 вращение ветроколеса на вал 1 передается через качалки 14 лопастей 15. За счет этого вращения и винтового соединения диска 4 с валом 1 регулировки шага лопастей вал 1 начинает перемещаться вперед до упора. В результате этого лопасть оказывается повернутой во флюгерное положение (на 90° относительно набегающего потока), и ветроколесо останавливается за счет аэродинамического торможения.
Вновь введенная электромеханическая система поворота лопастей с использованием винтовой пары для преобразования кинетической энергии вращательного движения ветроколеса в поступательное движение вала 1 регулировки шага лопастей при торможении одного из дисков применяется на некоторых фрезерных станках для подачи стола.
Вновь введенные два диска 4 и 5 с тормозами 8 и 9, установленные на валу 1 регулировки шага лопастей, образуют с валом 1 регулировки шага лопастей винтовую пару левого и правого вращения соответственно. По конструкции и принципу действия тормозы 8 и 9 аналогичны дисковым тормозам легковых автомобилей (книга “Устройство и эксплуатация автомобилей “Жигули” и “Москвич”. С.Ф.Делиховский и др., 1987 г., М.: ДОСААФ СССР).
Вновь введенный блокирующий тормоз 10 между главным валом 2 и валом 1 регулировки шага лопастей аналогичен блокирующему тормозу в электрофрикционном приводе, который фиксирует положение выходного вала привода в неподвижном состоянии в промежутках между его поворотами (книга «Импульсные и релейные приводы с электромагнитными муфтами». Л.Д.Панкратьев и др., 1970 г., М.: Энергия). Аналогичным образом действует блокирующий тормоз 10, который фиксирует вал 1 регулировки шага лопастей от продольного перемещения этого вала вдоль оси и жестко связывает вал 1 регулировки шага лопастей с главным валом 2 между поворотами лопастей.
Вновь введенный стартер 11 по принципу действия и устройству аналогичен стартеру автомобиля (книга “Устройство и эксплуатация автомобилей “Жигули” и “Москвич”. С.Ф.Делиховский и др., 1987 г., М.: ДОСААФ СССР). За счет постороннего источника тока от аккумулятора или от муниципальной сети, если ветроэнергетическая установка работает на муниципальную сеть, включается стартер 11, который поворачивает лопасти 15 в режим запуска.
Формула изобретения
Привод лопастей ветроэнергетической установки с использованием кинетической энергии ветроколеса в составе вала регулировки шага лопастей, тормоза обратного действия и блока управления, при этом вал регулировки шага лопастей расположен коаксиально в полости главного вала и связан с лопастями, а тормоз обратного действия оборудован пружинной фиксацией и имеет вход, который соединен с первым выходом блока управления, отличающийся тем, что в состав привода лопастей ветроэнергетической установки дополнительно входят два диска, расположенные на валу регулировки шага лопастей, с упорами и тормозом прямого действия на каждом диске, блокирующий тормоз между главным валом и валом регулировки шага лопастей, стартер, установленный на одном из дисков, при этом каждый диск с валом регулировки шага лопастей образует винтовую пару, причем один диск образует винтовую пару правого вращения, а другой диск – левого вращения; каждый диск имеет упоры от бокового перемещения и тормоз прямого действия с независимым управлением, причем вход тормоза первого диска соединен с четвертым выходом блока управления, а вход тормоза второго диска соединен со вторым выходом блока управления; главный вал и вал регулировки шага лопастей связаны общим блокирующим тормозом, вход которого соединен с пятым выходом блока управления; стартер, установленный на одном из дисков, служит для запуска ветроэнергетической установки и имеет вход, соединенный с третьим выходом блока управления.
РИСУНКИ
|
|