|
(21), (22) Заявка: 2007132545/06, 29.08.2007
(24) Дата начала отсчета срока действия патента:
29.08.2007
(46) Опубликовано: 10.05.2009
(56) Список документов, цитированных в отчете о поиске:
RU 2224135 C1, 20.02.2004. RU 2212562 C1, 20.09.2003. RU 2253039 C2, 27.05.2005. SU 1372096 A1, 07.02.1988. US 5134305 A, 28.07.1992.
Адрес для переписки:
367003, РД, г.Махачкала, ул. 1-й Садовый пер., 8б, А.С.Алиеву
|
(72) Автор(ы):
Алиев Абдулла Сиражутдинович (RU), Алиев Рахметулла Абдуллаевич (RU), Саидов Адиль Абукович (RU), Талалай Михаил Александрович (RU)
(73) Патентообладатель(и):
Алиев Абдулла Сиражутдинович (RU), Алиев Рахметулла Абдуллаевич (RU), Саидов Адиль Абукович (RU), Талалай Михаил Александрович (RU)
|
(54) ПРЕОБРАЗОВАТЕЛЬ ЭНЕРГИИ ПОТОКА
(57) Реферат:
Преобразователь энергии потока относится к области возобновляемых источников энергии, а именно энергии реки или газа, и преобразования ее преимущественно в электрическую энергию. Преобразователь энергии потока содержит две пары параллельных направляющих угольников, по которым совершают возвратно-поступательное движение две пары плоских лопастей, снабженных узлом изменения ориентации и фиксации положения и взаимодействующих через соответствующие цепи, центральные звезды и обгонные муфты с центральным валом и электрогенератором. Узел изменения ориентации и фиксации положения лопасти установлен в корневой части стойки лопасти и содержит втулку, неподвижно связанную с лопастью и установленную с возможностью вращения, взаимодействующие друг с другом подпружиненную нижнюю втулку, верхнюю втулку со спиральными пазами, стержень, на концах которого установлены квадратные фиксаторы и подшипники, взаимодействующие с наклонными желобами, установленными на фиксированном расстоянии от начала и конца направляющих нижних угольников. Стержень взаимодействует с вертикальным пазом в стойке лопасти и свободно проходит по спиральному пазу во втулке лопасти, на которой установлена верхняя втулка со спиральным пазом с возможностью поворота и фиксации углового положения. Использование изобретения обеспечит упрощение конструкции и снижение себестоимости преобразователя энергии потока. 2 з.п. ф-лы, 7 ил.
Изобретение относится к области использования возобновляющихся источников энергии, а именно энергии потока газа, нефти и воды, и преобразования их в другие виды, преимущественно в электрическую энергию.
Известна ветроэнергетическая установка (Цыбульников С.И. Ветроэнергетическая установка. RU 2125182 С1, кл. F03D 5/04, 20.01.1999 г.) с использованием основного рабочего элемента в виде паруса, установленного на платформе, а платформы соединены, в свою очередь, в состав, начало и конец которого соединены вместе, то есть образуют кольцо. Состав устанавливается на соответствующий размерам платформ круговой путь. Мощность, развиваемая установкой, отбирается от вала колес платформы.
Недостаток указанной ветроэнергетической установки заключается в механической (ручной) первоначальной установке ориентации паруса в зависимости от направления ветра и ручной корректировки его положения при изменении направления ветра. Кроме того, ориентация паруса меняется синхронно на всем протяжении времени прохода платформы по кольцевому пути. За это время парус делает полуоборот (180°) вокруг своей оси (стойки). Такое изменение ориентации лопасти (паруса) на подавляющем отрезке прохождения платформы по кольцевому пути не обеспечивает эффективного отбора энергии ветра.
Известен также ветродвигатель (Алиев А.С. Ветродвигатель Алиева. RU 2224135 С1, кл. F03D 5/00, 20.02.2004 г.), который по своим конструктивным признакам может быть указан в качестве прототипа предлагаемого преобразователя энергии.
Прототип содержит круговую дорогу, платформу, стойку, лопасть, флюгер, узел изменения ориентации и фиксации положения лопасти.
Платформы вращаются вокруг вертикального центрального вала, от которого движение передается электрогенератору или водяному насосу.
К недостаткам прототипа относится сложность конструкции узла изменения ориентации и фиксации лопасти, что затрудняет его применение. Кроме того, конструкция прототипа не позволяет использовать ее для преобразования энергии потока газа или нефти в закрытых магистральных трубах.
Целью данного изобретения является упрощение конструкции преобразователя и расширение области его применения.
Поставленная цель достигается применением новой конструкции преобразователя энергии потока, который содержит две пары параллельных направляющих угольников, по которым совершают возвратно-поступательное движение две пары плоских лопастей, снабженных узлом изменения ориентации и фиксации положения и взаимодействующих через соответствующие цепи, центральные звезды и обгонные муфты с центральным валом и электрогенератором. Узел изменения ориентации и фиксации положения лопасти установлен в корневой части стойки лопасти и содержит втулку, неподвижно связанную с лопастью и установленную с возможностью вращения. Кроме того, узел содержит взаимодействующие друг с другом подпружиненную нижнюю втулку, верхнюю втулку со спиральными пазами, стержень, на концах которого установлены квадратные фиксаторы и подшипники, взаимодействующие с наклонными желобами, установленными на фиксированном расстоянии от начала и конца направляющих нижних угольников. Кроме того, стержень взаимодействует с вертикальным пазом в стойке лопасти и свободно проходит по спиральному пазу во втулке лопасти, на которой установлена верхняя втулка со спиральным пазом с возможностью поворота и фиксации углового положения. При этом на верхней втулке на верхнем конце переднего спирального паза и нижнем конце заднего спирального паза проделаны квадратные углубления, взаимодействующие с соответствующими квадратными фиксаторами.
Кроме того, пружиненная нижняя втулка установлена на опорном кольце с возможностью продольного смещения. При этом на ее верхнем торце размещен кулачок треугольного профиля, взаимодействующий с двумя профильными углублениями на нижнем торце верхней втулки.
Взаимодействующие торцы верхней и нижней втулки выполнены в виде сцепных кулачковых полумуфт с V-образными мелкими зубьями.
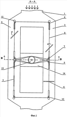
На фиг.1 представлен вид А – А по фиг.2, где:
1 – магистральный газопровод (нефтепровод);
2, 3 – левое и правое разветвления;
4 – стойка лопасти;
5 – плоские лопасти;
6, 7 – первые и вторые узлы изменения ориентации и фиксации положения лопастей;
8 – цепь;
9 – звезды;
10, 11 – первые и вторые кронштейны;
12 – стойки;
13 – звезды центральные;
14 – герметичная камера.
На фиг.2 представлен вид В – В по фиг.1, где:
15, 16 – верхняя и нижняя крышки;
17, 18 – левая и правая стойки лопастей;
19 – первая – четвертая обгонные муфты;
20 – подшипники;
21, 22 – ведущая и ведомая конические шестерни;
23 – мультипликатор;
24 – электрогенератор;
25 – подшипники;
26 – кронштейны;
27 – центральный вал.
На фиг.3 представлена конструкция узла изменения ориентации и фиксации положения лопасти, где:
28 – направляющий угольник;
29 – ролики;
30 – кронштейны;
31 – перемычка;
32 – фиксирующий болт;
33 – втулка лопасти;
34 – кольцо опорное;
35 – подшипник опорный;
36, 37 – верхняя и нижняя втулки с профильными торцами;
38 – пружина;
39 – палец;
40 – паз;
41 – первый клин;
42 – второй клин;
43 – стержень;
44 – подшипники;
45 – фиксаторы квадратные;
46 – пазы вертикальные;
47 – пазы спиральные;
48 – широкие спиральные пазы.
На фиг.4 представлена конструкция второго варианта фиксации положения лопасти, где позиции 31-38 те же, что на фиг.3:
49 – первый кулачок;
50 – первое углубление.
На фиг.5 представлен вид сверху на проекции профильных углублений верхней втулки 36, где:
50 – первое и второе профильные углубления.
На фиг.6 представлен вид С – С на узел изменения ориентации и фиксации положения лопасти по фиг.3, где:
позиции 28-47 те же, что на фиг.3;
51 – второй спиральный паз;
52, 53 – нижние и верхние квадратные фиксирующие углубления;
54 – ось вращения ролика.
На фиг.7 представлен вид на торец первого клина 41 и второго клина 42, где:
позиции 41-56 те же, что на фиг.3;
55 – ось вращения подшипника;
56 – желоб прямоугольного профиля.
Клинья 41 и 42 имеют одну горизонтальную грань. Вторая грань у первого клина образует с горизонталью угол 180°-f, а второго клина -f, где f – острый угол.
Принцип работы преобразователя энергии потока, конструкция которого приведена на фиг.1 и 2, заключается в следующем.
Преобразователь энергии потока предназначен для установки в магистральном газопроводе или нефтепроводе.
Для установки информационных датчиков вдоль магистральных газопроводов и нефтепроводов требуется разработка и создание автономных источников электроэнергии мощностью около 300 Вт при напряжении = 9 В. Такие датчики должны быть установлены через 50 км вдоль магистральных газопроводов и нефтепроводов.
Для установки преобразователя энергии необходимо сделать отвод (опендикс) от магистральной линии и ответвить необходимое количество газа или нефти. После отработки газ (или нефть) снова поступает в магистральную линию. Для этого необходимо установить в магистральной линии необходимые съемные заслонки (перегородки), увеличивающие сопротивление основному потоку.
Ответвленный поток газа (нефти) в магистральной линии 1 делится на два потока 2, 3. Для этого две трубы соединяются параллельно друг друга и подключаются к отводной трубе. Преобразователь энергии содержит два идентичных механизма. Каждый из них содержит замкнутый прямоугольный контур из цепи 8. По углам двух четырехугольников с помощью кронштейнов 26 шарнирно устанавливаются восемь звезд 9. Звезды шарнирно крепятся к стойкам 12, установленным вертикально внутри параллельных труб. Крепление звезд должно быть таким, чтоб натянутая цепь 8 проходила по геометрическим осям параллельных участков труб 2, 3. Центральные звезды 13 устанавливаются на обоймах четырех обгонных муфт 19, ступицы которых установлены на центральном валу 27 неподвижно. Для установки вала 27, а также мультипликатора и генератора создается специальная герметичная камера 14, которая состоит из параллельных друг другу верхней 15, нижней 16 крышек и боковых стенок, сваренных со всех сторон к трубам 2, 3. Давление внутри данной камеры устанавливается такое же, как внутри труб. Отвод выходной мощности возможно осуществить с помощью магнитной муфты. Для этого верхняя стенка должна быть выполнена из неферромагнитного материала. Плоские лопасти 5 имеют круглую форму половин. Стойка лопасти 4 разделяет лопасть на две симметричные половины.
В зависимости от мощности преобразователя для регулировки скорости вращения генератора на каждой стойке лопасти могут быть установлены один или два узла изменения ориентации и фиксации положения лопасти. Регулировку скорости вращения электрогенератора возможно осуществить, меняя давление газа или нефти, ответвляемого от магистральной линии в опендикс.
Для придания вертикального положения стойкам лопастей может быть использован трос, натянутый параллельно цепи 8. Осевая цепь соединяется со стойками лопастей неподвижно. Трос может свободно проходит через отверстия в стойке лопасти и сохраняет ее вертикальное положение при возвратно-поступательном движении лопасти.
В данной конструкции преобразователя для этой цели используются направляющие угольники 28.
Верхний и нижний концы стойки лопасти 4 соединяются с горизонтальными перемычками 31, на концах которых с помощью кронштейнов 30 установлены по два ролика 29. Ролики катятся по ребрам направляющих угольников 28, сохраняя вертикальное положение стоек лопастей 4. Таким образом, обеспечивается свободное возвратно-поступательное движение лопастей вдоль двух параллельных участков труб. В любой момент времени в рабочем положении находятся две лопасти. При этом моменты нахождения лопастей в конечных «мертвых» точках в первом и втором контурах смещены во времени по фазе на 90°. При одинаковых звездах в обоих контурах такое смещение по фазе сохраняется постоянным. Это исключает совпадение во времени «мертвых» точек в четырех контурах.
Для повышения синхронности вращения электрогенератора на выходном валу через обгонную муфту может быть установлен массивный маховик (на фиг.2 не указан). На фиг.2 кинематическая связь между стойками лопастей 4 и центральным валом 27 осуществляется с помощью цепной передачи. Для этого на валу 27 неподвижно установлены ступицы первой – четвертой обгонных муфт 19, обоймы которых неподвижно связаны с соответствующими центральными звездами 13. При этом обгонные муфты 19 установлены так, что при вхождении в сцепление первой, третьей муфты вторая и четвертая муфта, выходят из сцепления, т.е. находятся в нейтральном положении. При одинаковых центральных звездах 13 такая установка обгонных муфт обеспечивает постоянное направление вращения центрального вала 27 независимо от направления вращения центральных звезд 13. При установке мультипликатора с генератором вне герметичной камеры 14 для передачи момента вращения центрального вала на ведущую коническую шестерню 21 может быть использована магнитная муфта.
Вращение от ведущей конической шестерни 21 передается на ведомую коническую шестерню 22 (см. фиг.2). Ведомая шестерня установлена на входном валу мультипликатора 23. Мультипликатор служит для повышения скорости вращения ведомой шестерни до номинальной скорости вращения электрогенератора 24. Генератор с мультипликатором установлены на верхней стенке герметичной камеры 15.
Вращения от мультипликатора передается на электрогенератор. Если в качестве электрогенератора использовать синхронный трехфазный двигатель возможно разместить электрогенератор во внутренней полости герметичной камеры. В этом случае отпадает необходимость в использовании магнитной муфты. Для вывода трехфазного напряжения из герметичной камеры используются диэлектрические втулки и металлические стержни. Последние устанавливаются в стенках герметичной камеры, выполненной из металлической трубы, с помощью специальных уплотнительных прокладок.
Верхние муфты со звездами с помощью первой и второй цепей взаимодействуют с первой и второй лопастями, а нижние (третья и четвертая) муфты со звездами с помощью третьей и четвертой цепей с третьей и четвертой лопастями соответственно.
При этом обгонные муфты 19 установлены так, что, когда обойма входит в сцепление со ступицей первой, третьей муфт, обоймы второй, четвертой муфт выходят из сцепления со ступицей. Очередное сцепление муфт обеспечивает поворот центрального вала 27 по часовой стрелке. В каждый момент времени две из четырех муфт находятся в сцеплении и передают положительный момент вращения на центральный вал.
Моменты нахождения лопастей в «мертвых точках» должны быть сдвинуты по фазе на 90°. Когда первая и третья лопасти находятся в крайних положениях, т.е. в «мертвых» точках, другая пара лопастей должна находиться в рабочем положении.
При таком сдвиге фаз в любой момент времени хотя бы одна из цепей должна создать положительный момент вращения на центральном валу. Независимо от направления движения первой – четвертой цепей центральный вал и установленная на нем ведущая коническая шестерня 21 вращается по часовой стрелке.
Вращение ведомой шестерни 22 через пятую обгонную муфту передается через мультипликатор на генератор 24.
Для повышения синхронности вращения на валу мультипликатора может быть установлен массивный маховик.
На фиг.3 представлена конструкция узла изменения фиксации и фиксации положения лопасти.
Такие узлы могут быть установлены с одного или двух концов стойки лопасти 32 в зависимости от размеров лопасти 5 и мощности преобразователя.
Направляющие угольники 28 устанавливаются параллельно друг другу внутри параллельных участков труб 2, 3.
По грани угольника катятся ролики 29, шарнирно закрепленные с помощью кронштейнов 30 к перемычке 31. Центр перемычки неподвижно связан с вертикальной стойкой лопасти 32.
На стойке лопасти установлена втулка лопасти 33 с возможностью свободного вращения.
На нижнем конце стойки лопасти установлены опорное кольцо 34 и опорный подшипник 35.
Втулка лопасти 33, с которой неподвижно связана плоская лопасть 5, опирается в опорный подшипник. В кольце 34 закреплен палец 39, который ходит по вертикальному пазу 40, который обеспечивает только продольное движение вверх-вниз нижней втулке 37.
Нижняя 37 и верхняя 36 втулки имеют кулачок и профильные углубления, которые взаимодействуют друг с другом и фиксируют угловое положение лопасти относительно течение потока.
Взаимодействие профильных поверхностей втулок 36, 37 обеспечивается с помощью цилиндрической пружины 38, свободно установленной на кольце 34 и подпирающей нижнюю втулку 37.
Изменение ориентации лопасти осуществляется с помощью стержня 43, на концах которого установлены подшипники 44, взаимодействующие с первым клином 41 и вторым клином 42.
Такое взаимодействие происходит в конечных точках возвратно-поступательного движения лопастей в параллельных участках труб 2, 3 (т.е. в «мертвых» точках).
Стойка лопасти 4 имеет с диаметрально противоположных сторон вертикальные пазы 46, по которым стержень 43 перемещается вверх-вниз. При этом стержень перемещается по широким спиральным пазам, прорезанным с двух противоположных сторон во втулке лопасти 33. Взаимодействие стержня 43 со спиральными пазами 47, 51 верхней втулки 36 приводит к повороту лопасти относительно стойки 32 на угол ±90°.
При движении лопасти влево (против течения потока) выдвинутый вперед стержень 43 с подшипником 44 наталкивается на первый клин 41. Подшипник попадает в желоб 56 первого клина 41 (см. фиг.7). Подшипник катится по желобу и поднимает стержень вверх. При этом спиральные пазы 47 поворачивают втулку 33 и связанную с ней лопасть 5 по часовой стрелке на 90°. После этого квадратный фиксатор 45 входит в верхнее фиксирующее углубление 52. Таким образом, плоская лопасть 5 принимает фиксированное перпендикулярное положение к потоку. После чего под давлением потока газа, нефти или воды начинается движение лопасти на активном участке и приводится во вращение центральный вал.
В конце активного участка движение лопасти выдвинутый стержень 43 с подшипником 44 наталкивается на второй клин 42. Так как находящиеся в контакте квадратный фиксатор 45 и фиксирующее углубление 53 сохраняют ориентацию подшипника в первоначальном положении, подшипник попадает в желоб 56 второго клин 42.
Под воздействием второго клина 42 стержень 43 перемещается вниз и поворачивает лопасть 5 против часовой стрелки на 90°. После этого второй квадратный фиксатор 45 входит в нижнее фиксирующее углубление в стенке втулки лопасти 53. При этом лопасть ориентируется вдоль течения потока и создает минимальное сопротивление при его движении против течения среды. Фиксированное положение стержня сохраняется на всем протяжении его пассивного движения.
Для нормальной работы преобразователя энергии потока необходимо, чтобы лопасти, работающие в противофазе друг с другом, переключались в «мертвых» точках с небольшим сдвигом во времени. Лопасть, переходящая в пассивную фазу, т.е. ориентирующая вдоль направления потока, должна быть ориентирована в первую очередь. Затем должно быть ориентировано и фиксировано положение второй лопасти, переходящей в активное положение, т.е. устанавливающаяся перпендикулярно потоку. В противном случае до фиксации положения лопастей начнется обратный их ход.
Для обеспечения такого сдвига во времени вводится второй узел фиксации углового положения лопасти, представленный на фиг.4 и 5. Подпружиненная нижняя втулка 37 имеет на торце один кулачок 49 симметричной клиновидной формы. Клиновидную форму имеют первое и второе углубления 50 в верхней втулке 36.
Углубление 51 имеет несимметричную относительно центра форму. Участок > , т.е. более протяжен. Взаимодействие кулачка 49 со вторым профильным углублением 50 происходит немного раньше, чем с первым профильным углублением 50.
Указанный временной сдвиг приведет к тому, что лопасть, которая ориентируется вдоль потока, займет свое положение раньше, чем лопасть, которая ориентируется перпендикулярно потоку. После этого начинается следующий цикл обратного движения цепи.
На фиг.6 представлен вид С-С по фиг.3. Лопасть 5 закреплена по центру втулки лопасти 33. Нижний конец втулки лопасти имеет два спиральных паза 47 и 52. На фиг.6 указанные пазы расположены крестообразно.
Вертикальные пазы 46 в стойке лопасти 32 заставляют двигаться стержень 43 только вверх-вниз. Фиксирующие стержень 43 углубления 53, 54 находятся в верхней втулке 36.
Ролики 29 вращаются на оси 54 и катятся по прямоугольной грани угольника 28.
Ролики 29 с помощью кронштейнов 30 связаны с перемычками 31.
Ролики, связанные с перемычками, катятся по верхнему и нижнему угольникам и обеспечивают возвратно-поступательное движение лопасти, сохраняя вертикальное положение стойке лопасти.
Для регулировки скорости вращения электрогенератора при изменении скорости потока может быть предусмотрено регулирование эффективной площади лопасти путем установки его под углом к направлению потока.
Для этой цепи в конструкции преобразователя энергии предусмотрены поворот верхней втулки 36 со спиральными пазами 47, 51 относительно втулки лопасти 33 и фиксация этого положения с помощью болта 32.
Изменение ориентации лопасти, т.е. изменение угла между направлением, при котором первые и вторые лопасти перпендикулярны друг другу, и направлением потока, приведет к уменьшению положительного и увеличению отрицательного моментов вращения, создаваемых лопастями на центральном валу.
Для фиксации углового положения лопасти могут быть использованы также сцепные кулачковые муфты с V-образными мелкими (мышиными) зубами (см. Анурьев В.И. Справочник конструктора машиностроителя. М., «Машиностроение» 1980 г., С 208-212). Нижняя подпружиненная полумуфта может перемещаться вверх-вниз на шпонках.
Для регулировки эффективной площади лопасти спиральные пазы 47 необходимо прорезать в верхней втулке 36 с профильными углублениями. В этой же втулке должны быть проделаны фиксирующие углубления 50. При этом во втулке лопасти 33 спиральные пазы должно быть широкими, чтобы повернуть в пределах до 100° верхнюю втулку 36 со спиральными пазами.
Развернутое положение верхней втулки 36 на необходимый угол относительно втулки лопасти 33 фиксируется с помощью болта 32.
В верхних и нижних «мертвых» точка квадратные фиксаторы 45 входят в квадратные углубления 52 или 53 и фиксируют угловое положение лопасти.
Преобразователь энергии потока может быть использован как автономный источник энергии для информационных датчиков, установленных вдоль магистральных газопроводов и нефтепроводов, а также для преобразования энергии текучей реки в электрическую или механическую энергию.
Формула изобретения
1. Преобразователь энергии потока, содержащий две пары параллельных направляющих угольников, по которым совершают возвратно-поступательное движение две пары плоских лопастей, снабженных узлом изменения ориентации и фиксации положения и взаимодействующих через соответствующие цепи, центральные звезды и обгонные муфты с центральным валом и электрогенератором, отличающийся тем, что узел изменения ориентации и фиксации положения лопасти установлен в корневой части стойки лопасти и содержит втулку, неподвижно связанную с лопастью и установленную с возможностью вращения, взаимодействующие друг с другом подпружиненную нижнюю втулку, верхнюю втулку со спиральными пазами, стержень, на концах которого установлены квадратные фиксаторы и подшипники, взаимодействующие с наклонными желобами, установленными на фиксированном расстоянии от начала и конца направляющих нижних угольников, кроме того, стержень взаимодействует с вертикальным пазом в стойке лопасти и свободно проходит по спиральному пазу во втулке лопасти, на которой установлена верхняя втулка со спиральным пазом с возможностью поворота и фиксации углового положения, при этом на верхней втулке на верхнем конце переднего спирального паза и нижнем конце заднего спирального паза проделаны квадратные углубления, взаимодействующие с соответствующими квадратными фиксаторами.
2. Преобразователь энергии потока по п.1, отличающийся тем, что подпружиненная нижняя втулка установлена на опорном кольце с возможностью продольного смещения, при этом на ее верхнем торце размещен кулачок треугольного профиля, взаимодействующий с двумя профильными углублениями на нижнем торце верхней втулки.
3. Преобразователь энергии потока по п.2, отличающийся тем, что взаимодействующие торцы верхней и нижней втулок выполнены в виде сцепных кулачковых полумуфт с V-образными мелкими зубьями.
РИСУНКИ
|