|
|
(21), (22) Заявка: 2007125627/06, 27.06.2007
(24) Дата начала отсчета срока действия патента:
27.06.2007
(46) Опубликовано: 10.05.2009
(56) Список документов, цитированных в отчете о поиске:
SU 1375841 A1, 23.02.1988. RU 2168046 C2, 27.05.2001. RU 2073106 C1, 10.02.1997. GB 1554766 A, 31.10.1979. GB 1601832 A, 04.11.1981. FR 2409379 A, 15.06.1976.
Адрес для переписки:
188655, Ленинградская обл., Сертолово 1, ул. Школьная, 1, кв.29, А.Ф.Исачкину
|
(72) Автор(ы):
Исачкин Анатолий Федорович (RU)
(73) Патентообладатель(и):
Исачкин Анатолий Федорович (RU)
|
(54) АВТОНОМНАЯ ПАРОГАЗОВАЯ ЭЛЕКТРОСТАНЦИЯ
(57) Реферат:
Изобретение относится к энергетике. Автономная парогазовая электростанция состоит из двигателя внутреннего сгорания (ДВС), генератора, турбомашины, теплообменников, соединяющих трубопроводов, контура охлаждающей жидкости и теплоизоляции, в которой утилизация тепла отработавших газов ДВС и тепла охлаждения ДВС производится рабочим веществом одной турбомашины, без применения агрегатов с низкокипящей жидкостью. Изобретение позволяет утилизировать максимум тепла, оставшегося после ДВС. 1 ил.
Изобретение относится к теплотехнике, а именно к устройствам, преобразующим тепловую энергию в электрическую.
В настоящее время для получения электроэнергии используются парогазовые установки, КПД таких установок достигает 55-58%, это самый высокий КПД использования энергии топлива из всех существующих силовых установок. Парогазовая установка состоит, как минимум, из двух силовых агрегатов, газовой турбины, использующей энергию горючих газов, сгоревшего топлива, КПД таких турбин 30-35%, и паровой турбины, которая преобразует энергию пара, полученного за счет тепловой энергии, оставшейся у горючих газов после газовой турбины, КПД паровой турбины может достигать 40-45%, но так как она использует оставшуюся энергию сгоревшего топлива 65-70%, то ее КПД по топливу будет 25-30%, а общий КПД использования энергии топлива парогазовой установки будет 55-58%.
Такая установка успешно эксплуатируется на Невиномысской ГРЭС (см. «Паровые и газовые турбины» под ред. А.Г.Костюка и В.В.Фролова, М.: Энергоатомиздат, 1985 г., стр.278, принципиальная схема парогазовой установки ПГУ-200-130), используется также парогазовая установка на Северно-западной ТЭЦ в Санкт-Петербурге.
Недостатком таких электростанций является то, что электроэнергия до потребителя доходит через электросети и неоднократные преобразования на подстанциях, в результате чего теряется 25-30% электроэнергии, а общий КПД получается менее 40%.
Известна «Утилизационная установка двигателя внутреннего сгорания (ДВС)» 1 с теплообменниками 2 и 3 масла и охлаждающей жидкости, которая соответственно содержит утилизационный котел 4, сообщенный с выхлопным трактом двигателя 1, а в случае наличия системы турбонаддува с выхлопом ее газовой турбины, утилизационный котел 4 включен в паротурбинный контур водяного пара, в который включены также паровая турбина 5, конденсатор 6 и насос 7. Установка содержит паротурбинный контур низкокипящей жидкости с турбиной 8, конденсатором 9, насосом 10 и нагревателем 11. Последний по нагревательной среде включен в замкнутый контур теплоносителя с насосом 12, в который включены также теплообменники 2 и 3. Оба паротурбинных контура термодинамически сообщены между собой посредством конденсатора 6 водяного пара, который включен в контур низкокипящей жидкости между нагревателем 11 и турбиной 8 и является испарителем низкокипящей жидкости (см. SU 1375841, кл. F01K 23/14, 23.02.1988).
Недостатком такой утилизационной установки ДВС является то, что теплота охлаждения ДВС утилизируется турбиной с низкокипящей жидкостью, КПД которой, при перепадах температур 30-40°С, составляет всего около 10%, а КПД использования энергии сгоревшего топлива при этом будет 0,3×0,1=0,03 или всего 3%, в то же время аппаратура, работающая на фреонах, является очень дорогостоящей, в результате утилизационная установка становится сложной и дорогой, а общий дополнительный КПД использования энергии сгоревшего топлива будет: от использования тепла выхлопных газов 0,3×0,25=0,075 или всего 7,5%, да турбина на низкокипящей жидкости даст еще около 3%, а всего 10,5%. Сложность и дороговизна установки, а также необходимость обслуживания и ремонта как агрегатов, работающих при высоких температурах, так и низкотемпературной аппаратуры, не окупятся экономией всего 10% топлива.
Поставленная задача – упростить установку по утилизации отходов тепла ДВС, повысить КПД утилизации, обеспечить возможность использования парогазовой электростанции непосредственно у потребителя, т.е. сделать ее автономной.
Для этого используется «Автономная парогазовая электростанция», которая состоит из генератора на двигателе внутреннего сгорания (ДВС), паровой турбомашины и нескольких теплообменников, в которых происходит передача тепла, из соединительных трубопроводов и теплоизоляции.
При этом часть энергии топлива за счет расширения газов используется в ДВС-генераторе, это порядка 40%, оставшиеся 60% примерно по 30% выводятся охлаждением двигателя и выходят с отработавшими газами. Тепло охлаждения ДВС отбирается рабочим веществом паровой турбомашины, когда оно проходит в полости охлаждения ДВС, при этом рабочее вещество нагревается и частично испаряется, после чего рабочее вещество поступает в испаритель, в другой полости которого проходят отработавшие газы, поступающие сюда непосредственно из ДВС, в испарителе рабочее вещество до конца испаряется и перегревается, после чего рабочее вещество поступает в турбомашину, где часть энергии пара превращается в электричество, оставшаяся энергия с отработавшим паром поступает в конденсатор, в другой полости которого проходит охлаждающая жидкость, которая отбирает тепло у отработавшего пара, отработавший пар, отдав тепло, конденсируется, т.е. превращается в жидкость. Рабочая жидкость насосом перекачивается в теплообменник, где отбирает тепло у масла, охлаждающего ДВС. Из этого теплообменника рабочее вещество турбомашины поступает в теплообменник, где отбирает тепло у отработавших газов, выходящих из испарителя, после чего рабочее вещество снова поступает в полость охлаждения ДВС, где отбирает тепло охлаждения ДВС и т.д.
Охлаждающая жидкость поступает в электростанцию снаружи и подается в теплообменник, в другой полости которого походят отработавшие газы, подающиеся сюда из предыдущего теплообменника, отдав тепло, отработавшие газы выбрасываются в атмосферу, а охлаждающая жидкость поступает в конденсатор, где отбирает тепло у отработавшего пара, превращая его в жидкость, из конденсатора нагретая охлаждающая жидкость подается к потребителю.
Из вышеизложенного видно, что тепло сгоревшего топлива частично преобразуется в электричество в ДВС-генераторе, оставшееся тепло сгоревшего топлива отдается рабочему веществу турбомашины, сначала в полости охлаждения ДВС рабочей жидкости турбомашины, нагревая ее, а затем тепло отработавших газов отдается рабочему веществу турбомашины, до конца испаряя его и перегревая полученный насыщенный пар, перед выхлопом отработавшие газы отдают часть тепла охлаждающей жидкости, т.е. почти все тепло сгоревшего топлива используется с пользой, часть его преобразуется в электричество дизель-генератором и паровой турбомашиной, часть используется на отопление и лишь небольшая часть, несколько процентов от тепла сгоревшего топлива, выбрасывается с выхлопом, да еще теряется наружной поверхностью самой тщательно теплоизолированной установки, но это также будет несколько процентов.
В результате при КПД ДВС 40-45%, что вполне реально при работе ДВС на привод генератора, оставшаяся энергия топлива 55-60% преобразуется турбоагрегатом с КПД около 25%, это будет около 15% энергии сгоревшего топлива, а всего будет преобразовано в электричество 55-60% энергии сгоревшего топлива, да еще с теплой водой около 30% энергии сгоревшего топлива попадет к потребителю.
Из вышеизложенного видно, что общий КПД предложенной установки намного выше КПД «Утилизационной установки ДВС» по патенту SU 1375841 и достигается это при использовании всего одного турбоагрегата, без использования агрегатов с низкокипящим веществом.
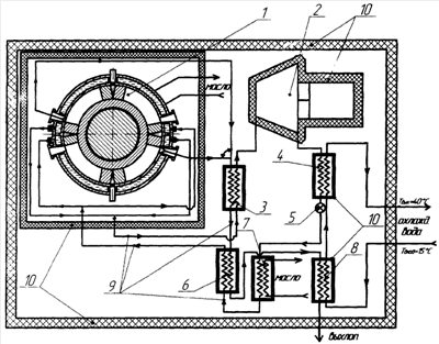
На чертеже – показана схема автономной парогазовой электростанции (один из вариантов).
Автономная парогазовая электростанция состоит из ДВС поз.1, турбомашины поз.2, испарителя поз.3, конденсатора поз.4, насоса конденсата поз.5, теплообменника поз.6, теплообменника поз.7, теплообменника поз.8, соединяющих трубопроводов поз.9 и теплоизоляции поз.10. При этом рабочая жидкость турбомашины поз.2 поступает в полость охлаждения ДВС поз.1 в районе с наиболее низкой температурой, а выходит из полости охлаждения ДВС в районе с наиболее высокой температурой, выход полости охлаждения ДВС поз.1 соединен с испарителем поз.3, во второй полости которого проходят отработавшие газы, поступающие сюда непосредственно из ДВС, выход этой полости испарителя поз.3 соединен с турбомашиной поз.2, выход турбомашины поз.2 соединен с конденсатором поз.4, выход конденсатора поз.4 соединен с насосом поз.5, выход насоса поз.5 соединен с теплообменником поз.7, откуда рабочая жидкость поступает в теплообменник поз.6, а из него в полость охлаждения ДВС поз.1, все это составляет контур паровой турбины. Охлаждающая жидкость поступает сначала в теплообменник поз.8, а затем в конденсатор поз.4.
Работает автономная парогазовая электростанция следующим образом. В ДВС поз.1 сгорает топливо и часть его энергии преобразуется в электричество, часть энергии топлива системой охлаждения ДВС поз.1 отбирается и переносится рабочим веществом паровой турбины в полость испарителя поз.3, в другой полости которого проходят отработавшие газы, поступающие сюда непосредственно из ДВС поз.1, в результате в испарителе поз.3 рабочее вещество полностью превращается в пар и перегревается, после чего поступает в турбомашину поз.2. Энергию пара турбомашина поз.2 частично превращает в электричество. Оставшуюся в отработавшем паре энергию отбирает охлаждающая жидкость в конденсаторе поз.4, при этом пар превращается в жидкость (конденсат). Конденсат насосом поз.5 перекачивается в теплообменник поз.7, где отбирает тепло у масла, поступающего сюда из ДВС поз.1. Из теплообменника поз.7 рабочая жидкость поступает в теплообменник поз.6, где отбирает тепло у отработавших газов, поступающих сюда из испарителя поз.3, после чего рабочая жидкость поступает в ДВС поз.1. Охлаждающая жидкость сначала поступает в теплообменник поз.8, где отбирает часть оставшегося тепла у отработавших газов, поступающих сюда из теплообменника поз.6, после чего отработавшие газы выбрасываются в окружающую среду, а охлаждающая жидкость поступает в конденсатор поз.4, где отбирает тепло у отработавшего пара, превращая его в жидкость, а нагретая охлаждающая жидкость поступает к потребителю.
В результате ДВС сможет преобразовать 40-45% энергии сгоревшего топлива, да и паровая турбина, КПД которой может быть около 25%, сможет еще преобразовать около 15% энергии сгоревшего топлива, тогда общий КПД установки может быть 55-60%, и все это при использовании всего одной турбомашины, без использования турбомашины на низкокипящем рабочем веществе, да еще с теплой водой потребителю попадет около 30% энергии сгоревшего топлива.
Такая установка может быть установлена непосредственно у потребителя.
Формула изобретения
Автономная парогазовая электростанция, состоящая из ДВС-генератора, турбомашины, теплообменников, соединяющих трубопроводов, контура охлаждающей жидкости и теплоизоляции, отличающаяся тем, что утилизация тепла отработавших газов ДВС и тепла охлаждения ДВС происходит рабочим веществом одной турбомашины, при этом все элементы установки соединены так, чтобы максимум тепла оставшегося после ДВС утилизировалось электростанцией, например, выход системы охлаждения ДВС соединен со входом испарителя, в другой полости которого проходят отработавшие газы, поступающие сюда непосредственно из ДВС, выход испарителя соединен со входом в турбину, выход турбины соединен со входом конденсатора, в другой полости которого проходит охлаждающая жидкость, отбирающая тепло у отработавшего пара, превращая его в жидкость (конденсат), конденсат насосом перекачивается из конденсатора в теплообменник, в другой полости которого проходит масло, поступающее сюда из ДВС, выход этого теплообменника соединен со входом теплообменника, в другой полости которого проходят отработавшие газы, поступающие сюда из испарителя, из этого теплообменника рабочая жидкость поступает в систему охлаждения ДВС, а отработавшие газы поступают в теплообменник, в другой полости которого проходит охлаждающая жидкость, поступающая сюда снаружи установки, отработавшие газы из этого теплообменника выходят в окружающую среду, а охлаждающая жидкость поступает в конденсатор, где отбирает тепло у отработавшего пара, превращая его в конденсат, после чего нагретая охлаждающая жидкость подается наружу к потребителю тепла.
РИСУНКИ
|
|