|
|
(21), (22) Заявка: 2007127409/03, 29.06.2007
(24) Дата начала отсчета срока действия патента:
29.06.2007
(43) Дата публикации заявки: 10.01.2009
(46) Опубликовано: 10.05.2009
(56) Список документов, цитированных в отчете о поиске:
RU 2109105 С1, 20.04.1998. SU 773198 А1, 23.10.1980. SU 1677294 А1, 15.09.1991. RU 1692187 C, 30.10.1994. SU 1780349 А1, 10.11.1995. RU 2117759 С1, 20.08.1998. RU 2258138 С1, 10.08.2005. RU 2265721 С1, 10.12.2005.
Адрес для переписки:
630090, г.Новосибирск, пр. Ак. Лаврентьева, 15, Институт гидродинамики им. М.А. Лаврентьева СО РАН
|
(72) Автор(ы):
Фадеев Петр Яковлевич (RU), Фадеев Владимир Яковлевич (RU)
(73) Патентообладатель(и):
Институт гидродинамики им. М.А. Лаврентьева СО РАН (RU)
|
(54) УСТРОЙСТВО УДАРНОГО ДЕЙСТВИЯ
(57) Реферат:
Устройство предназначено для ударного разрушения крепких породных и иных материалов, а также для забивки свай, трамбования грунта и т.п. Устройство ударного действия включает корпус с размещенным в нем поршнем-ударником, гидропневматический аккумулятор, двухпозиционный золотник управления, два цилиндрических двухпозиционных клапана с управляющими поршнями. Управляющий поршень каждого клапана выполнен в виде двухступенчатого цилиндрического стержня, который торцом меньшей ступени обращен в сторону клапана и совместно с корпусом образует ограниченную торцом меньшей ступени и штоком первую кольцевую полость, постоянно сообщенную с напорной магистралью, ограниченную торцом большей ступени и боковой поверхностью меньшей ступени вторую кольцевую полость, постоянно сообщенную со сливной магистралью, и попеременно сообщаемую с напорной и сливной магистралями управляющую поршневую полость, ограниченную корпусом и свободным торцом большей ступени. На боковой поверхности большей ступени образована кольцевая канавка, расположенная таким образом, что ограниченная упомянутой канавкой и корпусом кольцевая изолированная камера сообщается со второй полостью в случае, когда клапан «заперт», т.е. контактирует своей кромкой с кольцевым выступом расточки корпуса. Гидравлический золотник управления выполнен в виде подвижного в корпусе цилиндрического плунжера, один гладкий конец которого одинакового с плунжером диаметра постоянно размещен в торцевой полости, сообщенной с задней коаксиальной выточкой камеры рабочего хода, а противоположный ему другой конец выполнен в виде увеличивающегося по диаметру в направлении к плунжеру трехступенчатого цилиндрического стержня, наименьшая ступень которого постоянно размещена в торцевой полости, сообщенной с передней коаксиальной выточкой камеры рабочего хода. Две другие ступени совместно с корпусом образуют постоянно сообщенные со сливной и напорной магистралями соответственно меньшую и равную с плунжером по диаметру кольцевые полости. Изобретение обеспечивает повышение надежности работы при упрощении конструкции. 2 з.п. ф-лы, 1 ил.
Устройство относится к горным машинам и предназначено для ударного разрушения крепких породоподобных материалов и мерзлого грунта, для забивки свай и трамбования грунта и т.д.
Известны аналогичные устройства ударного действия, например, по патенту RU 2265721 (2005 г.). Устройство включает корпус, совместно с размещенным в нем поршнем-ударником образующий постоянно сообщенную с напорной линией и гидропневматическим аккумулятором камеру холостого хода, снабженную коаксиальной торцевой расточкой, сопряженной по боковой поверхности с поршнем-ударником в конце рабочего хода, и камеру рабочего хода, попеременно через основной распределитель связанную со сливной линией или камерой холостого хода, которая также снабжена коаксиальной торцевой расточкой, сопряженной с поршнем-ударником в конце холостого хода, отличающееся тем, что основной распределитель на концах снабжен гидравлическими полостями управления различной площади, меньшая из которых постоянно связана с напорной линией, а большая попеременно сообщена: в конце рабочего хода – со сливной линией через первый, а в конце холостого хода – с напорной линией через второй дополнительные распределители. Причем оба дополнительных распределителя снабжены на концах гидравлическими полостями управления, при этом одна из упомянутых полостей первого дополнительного распределителя содержит пружину и постоянно сообщена с камерой холостого хода, а одна из упомянутых полостей второго дополнительного распределителя тоже содержит пружину и постоянно сообщена с камерой рабочего хода, а другая полость каждого распределителя сообщается с торцевой расточкой соответствующих камер.
Недостаток данного устройства состоит в том, что для управления рабочим циклом в нем применяется один основной и два дополнительных распределителя, выполненные в виде золотниковых устройств, основные конструктивные элементы которых, золотник и направляющая гильза, отличаются конструктивной сложностью, большой трудоемкостью изготовления, а значит, повышенной стоимостью. Специфической особенностью золотниковых устройств является их высокое гидравлическое сопротивление. Поэтому при движении рабочей жидкости через основной распределитель устройства имеют место значительные потери энергии, в результате чего снижается его экономическая эффективность. При наличии в конструкции золотникового распределителя возникают определенные трудности в случае увеличения мощности ударного устройства.
С ростом расходов рабочей жидкости габариты золотниковых устройств опережающим образом растут, вызывая рост габаритов и массы ударного устройства и тем самым значительно ухудшая его технические показатели.
Стремление к сохранению приемлемых габаритов неизбежно приводит к увеличению скорости потока и существенному приросту непроизводительных потерь энергии.
К недостаткам устройства также следует отнести наличие в двух вспомогательных распределителях возвратных спиральных пружин сжатия. В условиях действия знакопеременных динамических нагрузок такие пружины имеют недостаточные надежность и долговечность. Выход указанных пружин из строя служит причиной сбоев в работе ударного устройства.
Наиболее близким по технической сущности к заявляемому является устройство по патенту RU 2109105 (1998 г.), которое выбрано в качестве прототипа. Известное устройство содержит корпус с подвижной в нем ударной массой, гидроцилиндр двойного действия для перемещения ударной массы, штоковая полость которого постоянно соединена с напорной магистралью, а поршневая полость попеременно сообщается с напорной или сливной магистралями посредством двух периодически контактирующих с корпусом по переднему торцу двухпозиционных клапанов, выполненных в виде сопряженного с корпусом по наружному диаметру цилиндра.
Для разгрузки от осевых сил, вызываемых давлением рабочей жидкости, передний торец каждого клапана сообщается с его задним торцом каналом в клапане. Для управления положением клапанов на заднем торце каждого клапана расположены управляющие поршни существенно меньшего, чем клапан, диаметра, которые постоянно размещены в управляющих полостях, периодически сообщаемых с напорной или сливной магистралями. Для регулирования скорости перемещения клапанов с целью обеспечения заданной очередности их реверсирования в канале, сообщающем торцевые поверхности клапанов, параллельно установлены дроссель и обратный клапан с направлением движения жидкости от переднего к заднему торцу. Упомянутый гидромолот работоспособен и внедрен в производство, однако имеет ряд недостатков. С установкой обратных клапанов с дросселями в каналах двухпозиционных клапанов с целью регулирования скорости их перемещения значительно усложняется конструкция и снижается надежность устройства. Однако необходимая точность регулирования скорости перемещения клапанов в должной мере не обеспечивается. Действительно, с увеличением температуры рабочей жидкости значительно уменьшается ее вязкость. Это приводит к уменьшению гидравлического сопротивления дросселя. В результате при незначительном изменении скорости перемещения закрывающего клапана скорость перемещения открывающегося клапана значительно возрастает и, следовательно, разность времен перемещения клапанов уменьшается. При этом возрастает возможность «короткого замыкания», когда в течение заметного промежутка времени оба клапана находятся в открытом положении, сообщая со сливным баком напорную магистраль молота. Это явление приводит к непроизводительным потерям мощности.
При использовании в молоте электрической системы управления усложняется выбор базовой машины, так как становится обязательным наличие на ее борту электрической сети с заданными параметрами. Кроме того, усложняются условия эксплуатации молота.
Таким образом, недостатками известного устройства является недостаточная надежность и сложность конструкции.
Задачей, на решение которой направлено заявляемое изобретение, является упрощение конструкции и повышение надежности ударного устройства.
Для решения поставленной задачи сущность изобретения состоит в том, что в отличие от известного устройства, включающего гидропневматический аккумулятор, гидравлический золотник управления, корпус, совместно с подвижным в нем поршнем-ударником образующий газовую камеру с постоянно размещенным в ней задним концом поршня-ударника, постоянно сообщенную с источником рабочей жидкости под давлением и аккумулятором камеру холостого хода и снабженную одинаковыми по размеру передней и задней коаксиальными выточками в передней и задней торцевых стенках камеру рабочего хода, попеременно сообщаемую с камерой холостого хода или сливной магистралью посредством двух цилиндрических двухпозиционных клапанов, каждый из которых подвижно размещен и герметично сопряжен с расточкой корпуса по боковой поверхности, периодически контактирует с торцевой поверхностью образованного внутри упомянутой расточки коаксиального кольцевого выступа по кромке первой торцевой поверхности, а на другой торцевой поверхности, каналом в клапане постоянно сообщенной с первой торцевой поверхностью, посредством штока жестко закреплен управляющий поршень, имеющий меньший, чем у клапана, но больший, чем у штока, диаметр; согласно изобретению управляющий поршень каждого клапана выполнен в виде двухступенчатого цилиндрического стержня, который торцом меньшей ступени обращен в сторону клапана и совместно с корпусом образует ограниченную торцом меньшей ступени и штоком первую кольцевую полость, постоянно сообщенную с напорной магистралью, ограниченную торцом большей ступени и боковой поверхностью меньшей ступени вторую кольцевую полость, постоянно сообщенную со сливной магистралью, и попеременно сообщаемую с напорной и сливной магистралями управляющую поршневую полость, ограниченную корпусом и свободным торцом большей ступени, при этом на боковой поверхности упомянутой большей ступени образована кольцевая канавка, расположенная таким образом, что ограниченная упомянутой канавкой и корпусом кольцевая изолированная камера сообщается со второй полостью в случае, когда клапан «заперт», т.е. контактирует своей кромкой с кольцевым выступом расточки корпуса.
Также для решения поставленной задачи гидравлический золотник управления выполнен в виде подвижного в корпусе цилиндрического плунжера, один гладкий конец которого одинакового с плунжером диаметра постоянно размещен в торцевой полости, сообщенной с задней коаксиальной выточкой камеры рабочего хода, а противоположный ему конец выполнен в виде увеличивающегося в направлении к плунжеру трехступенчатого цилиндрического стержня, наименьшая ступень которого постоянно размещена в торцевой полости, сообщенной с передней коаксиальной выточкой камеры рабочего хода, а две другие ступени совместно с корпусом образуют постоянно сообщенную со сливной магистралью меньшую и постоянно сообщенную с напорной магистралью большую по диаметру кольцевые полости.
Кроме того, как в начале, так и в конце холостого хода поршня-ударника управляющие поршневые полости каждого клапана посредством гидравлического золотника управления попеременно сообщены либо с кольцевой изолированной камерой, одновременно изолируясь от напорной магистрали, либо – с напорной магистралью и одновременно разобщены с кольцевой изолированной камерой.
Наличие кольцевой полости, постоянно сообщенной с напорной магистралью, позволяет гидравлическому золотнику управления под действием давления автоматически занимать заданное исходное положение и удерживаться в нем.
Ввиду того что полости, охватывающие свободные концы гидравлического золотника управления, постоянно сообщаются с передней и задней торцевыми выточками камеры рабочего хода, плунжер гидравлического золотника попеременно изменяет свое положение как в начале, так и в конце холостого хода под действием давления, возникающего в упомянутых торцевых выточках при поочередном сопряжении их с кольцевым выступом ударника.
Поскольку в гидравлическом золотнике имеется кольцевая выточка, постоянно сообщенная со сливной магистралью, а концы плунжера имеют существенно различные размеры, плунжер удерживается в положении, которое он занимает в начале рабочего хода.
Так как управляющие поршни каждого клапана выполнены в виде двухступенчатого цилиндра, меньшая ступень которого совместно с корпусом образует кольцевую полость, постоянно соединенную с напорной магистралью, оба клапана в исходном положении открыты.
Благодаря соединению управляющих поршневых полостей каждого клапана с гидравлическим золотником управления, они попеременно сообщаются с напорной магистралью в одном положении и изолируются от гидравлической системы в другом положении плунжера. При соединении управляющей поршневой полости с напорной магистралью открытый клапан запирается. При изолировании поршневой полости положение запертого клапана не изменяется.
Благодаря наличию на большей ступени управляющего поршня кольцевой канавки, которая после запирания одного клапана посредством второй кольцевой полости сообщается со сливной магистралью, управляющая поршневая полость другого запертого клапана через золотник управления сообщается со сливом, вызывая его открытие. Таким образом обеспечивается очередность срабатывания клапанов. Ранее запертый клапан открывается только после того, как произойдет запирание ранее открытого клапана.
Таким образом, технический результат, который может быть получен в результате использования изобретения, заключается в упрощении устройства и повышении надежности его работы.
Изобретение поясняется чертежом.
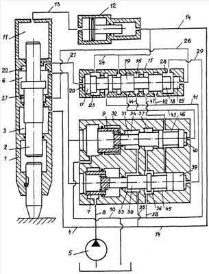
На чертеже представлены гидравлическая схема и схематический чертеж устройства в продольном разрезе.
Устройство ударного действия состоит из корпуса 1, в направляющих которого подвижно установлен поршень-ударник 2, совместно с корпусом образующий камеру 3 холостого хода, постоянно по линии 4 связанную с источником 5 рабочей жидкости под давлением (насосом), камеру 6 рабочего хода, которая посредством расположенного в расточке корпуса двухпозиционного клапана 7 периодически сообщается с напорной 8, а посредством аналогичного клапана 9 – со сливной 10 магистралями. Задний конец поршня-ударника 2 постоянно размещен в газовой камере 11 корпуса, заполненной сжатым газом. Для компенсации неравномерности расхода жидкости и накопления энергии в процессе холостого хода ударника служит гидропневматический аккумулятор 12, газовая полость которого по линии 13 постоянно сообщается с газовой камерой 11, а гидравлическая полость – по линии 14 с насосом 5. Управление положением клапанов 7 и 9 осуществляется с помощью золотникового распределителя 15 в зависимости от положения его золотника 16, имеющего три ступени. Крайняя левая 17 (по чертежу) его ступень имеет наибольший диаметр, а противоположная правая ступень 18 имеет наименьший диаметр. Средняя ступень 19 золотника 16 оснащена распределительными канавками и сопряжена с внутренней поверхностью корпуса золотникового распределителя 15. Со стороны левой ступени 17 золотника 16 в корпусе распределителя 15 выполнена коаксиальная цилиндрическая полость 20 с диаметром, равным диаметру ступени 17, и по линии 21 сообщенная с коаксиальной расточкой 22 камеры 6 рабочего хода. К полости 20 примыкает цилиндрическая расточка 23, каналом 24 сообщенная с напорной магистралью 14 и имеющая диаметр больше диаметра ступени 17 золотника 16. Со стороны ступени 18 золотника в корпусе распределителя 15 выполнена коаксиальная цилиндрическая полость 25 с диаметром, равным диаметру ступени 18, и каналом 26 сообщенная с нижней торцевой коаксиальной расточкой 27 камеры рабочего хода 6.
Полость 25 примыкает к кольцевой расточке 28 в корпусе распределителя 15, сообщенной по линии 29 со сливной магистралью 10. Для управления положением клапанов 7 и 9 они снабжены двухступенчатыми поршнями 30 и 31, малые ступени которых совместно с корпусом 32 образуют сообщенные между собою кольцевые полости 33 и 34 и линией 35 постоянно присоединены к напорной магистрали 8.
Большие по диаметру ступени упомянутых поршней с расточкой в корпусе 32 образуют сообщенные между собой кольцевые полости 36 и 37, линией 38 соединенные со сливной магистралью 10. Свободные торцы поршней 30 и 31 размещены в полостях 39 и 40, которые линиями 41, 42, 43 и 44 постоянно сообщены с золотниковым распределителем 15. Кроме того, на боковых поверхностях больших ступеней поршней 30 и 31 выполнены кольцевые проточки, которые с внутренней поверхностью корпуса 32 образуют сообщенные между собой кольцевые камеры 45 и 46, линией 47 соединенные с золотниковым распределителем 15.
Устройство работает следующим образом.
В исходном положении поршень-ударник 2 под давлением сжатого газа в камере 11 занимает крайнее нижнее (по чертежу) положение в корпусе 1, опираясь своим нижним концом в инструмент или торцом кольцевого выступа в дно расточки 27 камеры рабочего хода 6.
Поршень аккумулятора 12 под давлением сжатого газа, поступающего по линии 13, своим торцом упирается в переборку, разделяющую его гидравлическую и газовую полости.
При выключенном насосе 5 золотник 16 распределителя 15 и клапаны 7 и 9 могут занимать произвольное положение в корпусе.
При включении насоса 5 рабочая жидкость под давлением из напорной магистрали 8 по линии 4 поступает в камеру холостого хода 3 и клапан 7, по линии 35 в полости 33 и 34, по линиям 14 и 24 в аккумулятор 12 и золотниковый распределитель 15.
В крайнем левом положении золотника 16, показанном на чертеже, полость 39 клапана 7 по линии 41, цилиндрической расточке 23, линиям 24 и 14 сообщается с напорной магистралью 8. Под действием давления жидкости на поршень 30 последний с клапаном 7 перемещается в крайнее левое (по чертежу) положение. Происходит запирание клапана 7 и камера рабочего хода 6 изолируется от напорной магистрали 8 и аккумулятора 12.
В то же время управляющая полость 40 клапана 9 по линиям 43, 44, 47, через кольцевые камеры 46, 45, 36, по линии 38 сообщается со сливной магистралью 10. В результате клапан 9 под действием давления рабочей жидкости, поступающей в кольцевую полость 34 из напорной магистрали 14 по линии 35, перемещается в крайнее правое (по чертежу) положение и тем самым соединяет камеру рабочего хода 6 со сливной магистралью 10.
Под действием давления рабочей жидкости, поступающей в камеру холостого хода 3, поршень-ударник 2 перемещается вверх (по чертежу), совершая холостой ход. В этот момент золотник 16 будет устойчиво удерживаться в крайнем левом положении под действием силы, равной произведению давления жидкости в напорной магистрали на разность площадей ступени 17 и 19. При этом жидкость из камеры рабочего хода 6 через открытый клапан 9 поступает в сливную линию 10, а в камере 11 происходит дополнительное сжатие газа.
В конце холостого хода кольцевой выступ поршня-ударника 2 входит в торцевую коаксиальную расточку 22, сообщенную линией 21 с полостью 20 золотника 15. При дальнейшем движении поршня-ударника 2 жидкость из изолированной от камеры рабочего хода 6 полости 22 по линии 21 вытесняется в полость 20. В результате золотник 16 перемещается вправо и его ступень 17 выходит из камеры 20 и входит в полость 23, сообщая эти полости между собой.
С этого момента полость 22 по линии 21, полости 20 и 23, канал 24 сообщается с жидкостной полостью аккумулятора 12 и насосом 5. Таким образом, полость 22 сообщается с напорной магистралью и вытесняемая из нее жидкость поступает в аккумулятор. Под действием давления жидкости в полости 22 на торец кольцевого бурта поршня-ударника 2 происходит его торможение и остановка.
Кинетическая энергия поршня-ударника 2 в этот момент преобразуется в потенциальную энергию сжатого газа в аккумуляторе 12. Одновременно под действием давления жидкости на торец ступени 17 золотник 16 перемещается в крайнее правое (по чертежу) положение и его ступень 18 входит в полость 25, по линии 26 сообщенную с камерой 27 камеры рабочего хода 6. При этом положении золотника 16 управляющая полость клапана 9 изолируется от сливной линии и сообщается с напорной линией 14. Под действием давления жидкости на правый торец поршня 31 со стороны полости 40 происходит перемещение клапана 9 и его закрытие. В это время управляющая полость 39 клапана 7 отсоединяется от напорной линии и после закрытия клапана 9 по линиям 41, 42 и 47, проточку 46, кольцевые полости 37 и 36, канал 38 соединяется со сливной магистралью 10.
Клапан 7 под действием давления в полости 33 перемещается вправо, сообщая полость рабочего хода 6 с напорной магистралью 8. С этого момента полости холостого хода 3 и рабочего хода будут сообщены с напорной магистралью 8. После остановки в верхнем положении поршень-ударник 2 под действием давления газа в камере 11 на его верхний торец и давления жидкости на верхний торец кольцевого выступа, находящегося в камере 22, начинает ускоренное движение вниз. Совершается рабочий ход поршня-ударника 2.
При этом жидкость из камеры холостого хода 3 вытесняется в напорную магистраль 8, откуда совместно с жидкостью от насоса 5 и аккумулятора 12 поступает в полость рабочего хода 6. Золотник 16 в это время устойчиво занимает крайнее правое положение под действием силы, равной произведению давления жидкости в напорной магистрали на разность площадей ступеней 19 и 18.
В конце рабочего хода кольцевой выступ поршня-ударника 2 входит в расточку 27, изолируя ее от камеры рабочего хода 6. При дальнейшем движении жидкость из расточки 27 по линии 26 вытесняется в полость 25 и тем самым перемещает золотник 16 в крайнее левое положение. При этом происходит переключение клапанов 7 и 9, которые занимают исходное положение. Полость рабочего хода 6 снова подключается к сливной магистрали. При дальнейшем движении поршень-ударник 2 наносит удар по инструменту или входит в тормозную камеру и останавливается. Жидкость от насоса 5 в этот момент поступает в аккумулятор 12.
Далее цикл работы повторяется.
Из приведенного выше описания работы предлагаемого устройства очевидно, что для золотника 15, управляющего рабочим циклом гидромолота, электрический привод не требуется, так как перемещение золотника из одной позиции в другую обеспечивается за счет торцевых полостей 20 и 25, постоянно сообщенных с пространством коаксиальных выточек 22 и 27, расположенных в обеих торцевых стенках камеры 6 рабочего хода. Удержание плунжера 16 в заданных рабочих позициях в течение рабочего и холостого ходов поршня-ударника 2 обеспечивается благодаря взаимодействию кольцевых полостей 28 и 23, постоянно сообщенных со сливной 10 и напорной 8 магистралями. Указанные кольцевые полости образованы в корпусе трехступенчатым концом плунжера 16.
Благодаря наличию у клапанов 7 и 9 двухступенчатого управляющего поршня, совместно с корпусом образующего кольцевые полости 33, 34 и 36, 37′, соответственно сообщенные с напорной и сливной магистралями, а также благодаря наличию на боковой поверхности большей ступени каждого поршня кольцевых канавок 45, 46′, сообщающихся с полостями 36, 37 при запирании клапанов, а также благодаря наличию линий 42, 44, 47 обеспечивается заданная очередность срабатывания клапанов. Сначала запирается открытый клапан, а затем открывается запертый клапан. Для соблюдения указанной очередности не требуется установка в отверстиях, сообщающих торцевые поверхности клапанов 7 и 9, дополнительных обратного клапана и дросселя. В результате упрощается конструкция клапанов и повышается их надежность. Положительным свойством предложенной конструкции является то, что установленный режим срабатывания клапанов выполняется с заданной точностью независимо от расхода и температуры рабочей жидкости.
Формула изобретения
1. Устройство ударного действия, включающее гидропневматический аккумулятор, двухпозиционный гидравлический золотник управления, корпус совместно с подвижным в нем поршнем-ударником, образующий газовую камеру с постоянно размещенным в ней задним концом поршня-ударника, постоянно сообщенную с источником рабочей жидкости под давлением и аккумулятором камеру холостого хода и снабженную одинаковыми по размеру коаксиальными выточками в передней и задней торцевых стенках камеру рабочего хода, попеременно сообщаемую с камерой холостого хода или сливной магистралью посредством двух цилиндрических двухпозиционных клапанов, каждый из которых подвижно размещен и герметично сопряжен с расточкой корпуса по боковой поверхности, периодически контактирует с торцевой поверхностью образованного внутри упомянутой расточки коаксиального кольцевого выступа по кромке первой торцевой поверхности, а на другой торцевой поверхности, каналом в клапане постоянно сообщенной с первой торцевой поверхностью, посредством штока жестко закреплен управляющий поршень, имеющий меньший, чем у клапана, но больший, чем у штока диаметр, отличающееся тем, что управляющий поршень каждого клапана выполнен в виде двухступенчатого цилиндрического стержня, который торцом меньшей ступени обращен в сторону клапана и совместно с корпусом образует ограниченную торцом меньшей ступени и штоком первую кольцевую полость, постоянно сообщенную с напорной магистралью, ограниченную торцом большей ступени и боковой поверхностью меньшей ступени вторую кольцевую полость, постоянно сообщенную со сливной магистралью, и попеременно сообщаемую с напорной и сливной магистралями управляющую поршневую полость, ограниченную корпусом и свободным торцом большей ступени, при этом на боковой поверхности упомянутой большей ступени образована кольцевая канавка, расположенная таким образом, что ограниченная упомянутой канавкой и корпусом кольцевая изолированная камера сообщается со второй полостью в случае, когда клапан «заперт», т.е. контактирует своей кромкой с кольцевым выступом расточки корпуса.
2. Устройство по п.1, отличающееся тем, что гидравлический золотник управления выполнен в виде подвижного в корпусе цилиндрического плунжера, один гладкий конец которого одинакового с плунжером диаметра постоянно размещен в торцевой полости, сообщенной с задней коаксиальной выточкой камеры рабочего хода, а противоположный ему другой конец выполнен в виде увеличивающегося по диаметру в направлении к плунжеру трехступенчатого цилиндрического стержня, наименьшая ступень которого постоянно размещена в торцевой полости, сообщенной с передней коаксиальной выточкой камеры рабочего хода, а две другие ступени совместно с корпусом образуют постоянно сообщенные со сливной и напорной магистралями соответственно меньшую и равную с плунжером по диаметру кольцевые полости.
3. Устройство по любому из пп.1 и 2, отличающееся тем, что как в начале, так и в конце холостого хода поршня-ударника управляющие поршневые полости каждого клапана посредством гидравлического золотника управления попеременно сообщаются либо с кольцевой изолированной камерой, одновременно изолируясь от напорной магистрали, либо – с напорной магистралью и одновременно разобщаются с кольцевой изолированной камерой.
РИСУНКИ
|
|