|
|
(21), (22) Заявка: 2004135026/03, 30.11.2004
(24) Дата начала отсчета срока действия патента:
30.11.2004
(30) Конвенционный приоритет:
01.12.2003 US 10/707,246
(43) Дата публикации заявки: 10.05.2006
(46) Опубликовано: 10.05.2009
(56) Список документов, цитированных в отчете о поиске:
ЕР 1347150 А1, 24.09.2003. SU 968365 A1, 23.10.1982. SU 1452965 А1, 23.01.1989. RU 2183269 C2, 10.06.2002. US 5803186 A, 08.09.1998. US 4507957 А1, 02.04.1985.
Адрес для переписки:
129090, Москва, ул. Б.Спасская, 25, стр.3, ООО “Юридическая фирма Городисский и Партнеры”, пат.пов. С.А.Дорофееву
|
(72) Автор(ы):
ЦИГЛЕНЕК Райнхарт (US), КИБСГОР Пол (US), ВИЛЬЯРЕАЛ Стивен Г. (US)
(73) Патентообладатель(и):
ШЛЮМБЕРГЕР ТЕКНОЛОДЖИ БВ (NL)
|
(54) ИНСТРУМЕНТ И СПОСОБ ДЛЯ ОЦЕНКИ ПЛАСТА
(57) Реферат:
Изобретение относится к скважинному инструменту и способу для оценки пласта в процессе бурения. Техническим результатом является повышение надежности и эффективности инструмента и способа и экономия пространства в утяжеленной бурильной трубе. Инструмент, устанавливаемый в стволе скважины вблизи подземного пласта, содержит корпус, вход для текучей среды, расположенный в корпусе, насос для текучей среды, находящийся в связи по текучей среде с входом для текучей среды и содержащий насосную камеру и первый поршень, расположенный в насосной камере с возможностью совершения хода загрузки или хода разгрузки, когда на поршень действует внутритрубное давление. 2 н. и 16 з.п. ф-лы, 10 ил.
Скважины обычно бурят в земле, чтобы добывать из природных месторождений нефть и газ, а также другие необходимые материалы, заключенные в геологических пластах в земной коре. Обычно скважину бурят буровым долотом, закрепленным на нижнем конце бурильной колонны. По бурильной колонне к буровому долоту закачивают буровой раствор. Буровой раствор смазывает и охлаждает буровое долото и уносит выбуренную горную породу на поверхность по кольцевому пространству между бурильной колонной и стенкой скважины.
Часто бывает желательным иметь информацию о подземных пластах, через которые проходит скважина. Например, один аспект стандартной оценки пласта относится к измерениям пластового давления и проницаемости пласта. Эти измерения имеют большое значение для прогнозирования продуктивности и периода эксплуатации подземного пласта.
Один способ измерения свойств пласта заключается в том, что в скважину опускают спускаемый на тросе инструмент для измерения свойств пласта. Спускаемый на тросе инструмент представляет собой измерительный инструмент, подвешенный на тросе при его опускании в скважину, чтобы можно было измерять свойства пласта на требуемых глубинах. Типичный спускаемый на тросе инструмент может содержать зонд, который можно прижать к стенке скважины для установления связи по текучей среде с пластом. Такой вид спускаемого на тросе инструмента известен как “опробователь пластов”. С помощью зонда опробователь пластов может измерить давление пластовых текучих сред, выработать импульс давления для определения проницаемости пласта и взять пробу пластовой текучей среды для последующего анализа.
Для использования спускаемого на тросе инструмента необходимо извлечь бурильную колонну из скважины, чтобы в нее можно было опустить инструмент. Эта операция называется “спускоподъемной операцией”. Поскольку такая операция требует значительных расходов и времени бурения, спускаемые на тросе инструменты обычно используются только в тех случаях, когда информация абсолютно необходима или когда бурильная колонна поднимается по другой причине, например для замены бурового долота. Примеры спускаемых на тросе опробователей пластов описаны, например, в патентах США 3934468, 4860581, 4893505, 4936139 и 5622223.
В другом способе измерения свойств пласта используются измерительные инструменты и устройства, которые располагаются вблизи бурового долота в бурильной системе. Измерения выполняются во время процесса бурения. Серийно выпускается множество скважинных буровых инструментов, таких как инструменты для каротажа в процессе бурения и инструменты для измерения в процессе бурения. Под каротажем в процессе бурения (КПБ) подразумевается измерение свойств пласта во время процесса бурения. Данные в реальном времени, например давление пласта, позволяют буровым мастерам принимать решения относительно массы и состава бурового раствора, а также относительно скорости бурения и нагрузки на буровое долото, в процессе бурения. Следует отметить, что КПБ и “измерения в процессе бурения” (ИПБ) имеют разное значение для специалистов. ИПБ обычно относится к измерениям траектории бурового долота, а также температуры и давления в буровой скважине, а КПБ относится к измерению таких параметров пласта, помимо прочего, как удельное сопротивление, пористость, проницаемость и скорость звука. Это различие между КПБ и ИПБ не имеет значения для данного изобретения, поэтому в описании не проводится различие между этими двумя терминами.
Инструменты для оценки пласта в процессе бурения, способные выполнять различные исследования пласта в скважине, обычно содержат небольшой зонд или пару пакеров, которые могут выдвигаться из утяжеленной бурильной трубы для установления связи по текучей среде между пластом и датчиками давления в инструменте, чтобы можно было измерить давление пластовой текучей среды. В некоторых известных инструментах используется насос для активного всасывания из пласта пробы текучей среды, которую можно хранить в отборной камере в инструменте для последующего анализа. Такой насос обычно питается от батареи или генератора в бурильной колонне, который приводится в действие потоком бурового раствора.
Техническим результатом настоящего изобретения является создание скважинного инструмента и способа для оценки пласта в процессе бурения, которые были бы более надежными и эффективными по сравнению с известными, но при этом обеспечивали экономию пространства в утяжеленной бурильной трубе.
Этот технический результат достигается тем, что инструмент для оценки пласта, устанавливаемый в стволе скважины вблизи подземного пласта, содержит корпус, вход для текучей среды, расположенный в корпусе, насос для текучей среды, находящийся в связи по текучей среде с входом для текучей среды и содержащий насосную камеру и первый поршень, расположенный в насосной камере с возможностью совершения хода загрузки или хода разгрузки, когда на поршень действует внутритрубное давление.
Первый поршень может образовать первую секцию и вторую секцию насосной камеры, при этом насос дополнительно содержит гидравлическую камеру, второй поршень, расположенный в гидравлической камере и образующий первую секцию гидравлической камеры и вторую секцию гидравлической камеры, причем первый поршень и второй поршень соединены соединительным элементом, клапан, находящийся в связи по текучей среде с насосной камерой для избирательного помещения насосной камеры в связь по текучей среде по меньшей мере с одной линией, выбранной из линии загрузки и линии разгрузки, клапан изоляции внутритрубного давления для избирательного установления гидравлической связи гидравлической камеры с внутритрубным давлением, клапан изоляции давления в кольцевом пространстве для избирательного установления гидравлической связи гидравлической камеры с давлением в кольцевом пространстве, пружину, расположенную в первой секции гидравлической камеры или во второй секции гидравлической камеры с возможностью приложения силы ко второму поршню, причем первый поршень выполнен с возможностью перемещения относительно насосной камеры, а второй поршень выполнен с возможностью перемещения относительно гидравлической камеры.
Насос для текучей среды может дополнительно содержать камеру сильфона и гибкий сильфон, расположенный в камере сильфона и образующий первую секцию камеры сильфона и вторую секцию камеры сильфона, при этом первая секция камеры сильфона находится в связи по текучей среде со второй секцией гидравлической камеры, а вторая секция камеры сильфона находится в связи по текучей среде с клапаном изоляции давления в кольцевом пространстве и клапаном изоляции внутритрубного давления.
Вход для текучей среды может содержать зонд, выполненный с возможностью выдвижения из корпуса для установления связи по текучей среде с пластом.
Инструмент может дополнительно содержать первый пакер, расположенный над входом для текучей среды, и второй пакер, расположенный под входом для текучей среды.
Инструмент для оценки пласта в процессе бурения может дополнительно содержать выходное отверстие и по меньшей мере одну отборную камеру.
Инструмент может дополнительно содержать по меньшей мере один датчик. По меньшей мере один датчик может представлять собой датчик, выбранный из группы, состоящей из датчика температуры, датчика удельного сопротивления, датчика давления, оптического датчика и их комбинации.
Указанный технический результат достигался и тем, что способ оценки пласта заключается в том, что устанавливают связь по текучей среде между входом для текучей среды в инструменте для оценки пласта и пластом и втягивают текучую среду в инструмент посредством избирательного повторения приложения давления в кольцевом пространстве к первой стороне поршня и приложения внутритрубного давления к первой стороне поршня.
При установлении связи по текучей среде можно надувать пакеры для изоляции представляющей интерес зоны на стенке скважины.
При установлении связи по текучей среде можно выдвигать зонд для установления связи по текучей среде с пластом.
В способе можно дополнительно направлять пробу текучей среды из насоса для текучей среды в кольцевое пространство, определять, когда проба текучей среды очистится, и направлять пробу текучей среды в отборную камеру.
Можно дополнительно измерять переходное давление во входе для текучей среды.
Можно дополнительно измерять импульс давления во втором входе для текучей среды.
Можно дополнительно измерять по меньшей мере одно свойство пластовой текучей среды. По меньшей мере одно свойство пластовой текучей среды может представлять собой по меньшей мере одно свойство, выбранное из группы, состоящей из плотности, удельного сопротивления и давления.
В способе можно дополнительно передать пусковой сигнал в насос для текучей среды, останавливать процесс бурения, останавливать поток бурового раствора через бурильную колонну и возобновлять поток бурового раствора через бурильную колонну после выбранного интервала.
В способе можно дополнительно контролировать перемещение зонда, вычислять общий закачанный объем для очистки на основании перемещения зонда и определять глубину проникновения на основании общего закачанного объема для очистки.
Другие аспекты и преимущества настоящего изобретения будут понятны из следующего описания со ссылками на прилагаемые чертежи, на которых:
фиг.1 изображает один вариант выполнения буровой системы, в которой можно использовать настоящее изобретение;
фиг.2 изображает поперечное сечение секции бурильной колонны, содержащей инструмент для оценки пласта в процессе бурения, согласно изобретению;
фиг.3 изображает схематический вид инструмента для оценки пласта в процессе бурения согласно изобретению;
фиг.4 изображает схематический вид насоса согласно одному варианту изобретения;
фиг.5 изображает схематический вид насоса согласно другому варианту изобретения;
фиг.6А изображает поперечное сечение модуля зонда, содержащего зонд, вход и пакеры, согласно одному варианту изобретения;
фиг.6В изображает поперечное сечение модуля зонда, содержащего зонд, вход и пакеры, согласно одному варианту изобретения;
фиг.7 изображает поперечное сечение утяжеленной бурильной трубы с расположенным в ней зондом согласно одному варианту изобретения;
фиг.8А иллюстрирует способ согласно одному варианту изобретения;
фиг.8В иллюстрирует другой способ согласно одному варианту изобретения.
Согласно одному или нескольким вариантам изобретение относится к насосу для текучей среды, который можно использовать в условиях бурения скважины. В некоторых вариантах изобретение относится к способу использования насоса для текучей среды. В одном или нескольких вариантах изобретение относится к инструменту для оценки пласта в процессе бурения, который содержит насос для текучей среды. В некоторых других вариантах изобретение относится к способу оценки пласта в процессе бурения. В дальнейшем изобретение будет описано со ссылками на прилагаемые чертежи.
Фраза “оценка пласта в процессе бурения” подразумевает различные операции отбора проб и опробования, которые могут выполняться в процессе бурения, такие как, помимо прочего, отбор пробы, откачка текучей среды, предварительные опробования, опробования давления, анализ текучей среды и опробование удельного сопротивления. Следует отметить, что “оценка пласта в процессе бурения” необязательно означает, что измерения выполняются, когда буровое долото действительно врезается в пласт. Например, отбор проб и закачку обычно выполняют во время коротких остановок в процессе бурения. То есть вращение бурового долота прекращается на короткое время, чтобы можно было выполнить измерения. После выполнения измерений бурение можно продолжить. Даже в тех вариантах, где измерения выполняются только после прекращения бурения, эти измерения все же не требуют подъема бурильной колонны.
В данном контексте понятие “находящиеся в гидравлической связи” используется для описания тел, соединенных между собой таким образом, что между ними может передаваться давление текучей среды. Понятие “находящиеся в связи по текучей среде” используется для описания тел, соединенных между собой таким образом, что между ними может проходить текучая среда. Следует отметить, что “гидравлическая связь” может включать определенные компоновки, при которых текучая среда не может проходить между элементами, однако давление все же может передаваться. Следовательно, связь по текучей среде является подгруппой гидравлической связи.
На фиг.1 изображена буровая система 101, используемая для бурения скважины через подземные пласты. Буровая установка 103 на поверхности используется для вращения бурильной колонны 105, которая содержит на своем нижнем конце буровое долото 107. Во время вращения бурового долота 107 используется буровой насос 121 для закачки бурового раствора вниз (показано стрелкой 104) через бурильную колонну 105 к буровому долоту 107. Буровой раствор, который используется для охлаждения и смазки бурового долота, выходит из бурильной колонны через отверстия (не показаны) в буровом долоте 107. Затем буровой раствор уносит выбуренную горную породу из забоя скважины при его прохождении обратно на поверхность (показано стрелкой 106) через кольцевое пространство между бурильной колонной 105 и пластом 102. На поверхности возвратный поток бурового раствора фильтруется и передается обратно в емкость 122 для бурового раствора для его повторного использования.
Нижний конец бурильной колонны 105 содержит оборудование низа бурильной колонны (ОНК) 110, которое включает буровое долото 107, а также несколько утяжеленных бурильных труб (например, 112, 114), которые могут содержать различные инструменты, такие как датчики КПБ и ИПБ и телеметрическое оборудование. Инструмент для оценки пласта в процессе бурения можно, например, разместить в стабилизаторе 114. Стабилизатор 114 содержит лопасти 115, которые контактируют со стенкой скважины и уменьшают “колебание” бурового долота 107. Под “колебанием” подразумевается тенденция бурового долота при его вращении отклоняться от вертикальной оси скважины и вызывать изменение направления бурового долота. Стабилизатор 114 предпочтительно уже находится в контакте со стенкой скважины, так что требуется меньшее выдвижение зонда для установления связи по текучей среде с пластовыми текучими средами. Специалистам будет понятно, что инструмент для оценки пласта в процессе бурения можно разместить и в других местах кроме стабилизатора, не выходя за рамки объема притязаний изобретения.
На фиг.2 показан инструмент 601 для оценки пласта в процессе бурения согласно одному или нескольким вариантам изобретения. Инструмент 601 расположен в буровой скважине 603. Кольцевая область между инструментом 601 и скважиной называется “кольцевым пространством” 605. Инструмент 601 имеет верхний конец 631 и нижний конец 632, которые могут присоединяться к бурильной колонне, такой как бурильная колонна 101 на фиг.1, известным образом.
Инструмент 601 содержит секции или модули, в которых размещены инструменты для выполнения операций в скважине. Например, секция 602 является батарейным модулем, в котором находится батарея для питания электронных элементов в системе управления. Секция 604 представляет собой шасси с камерой, в которой размещены системы управления и телеметрическое оборудование. Секция 606 представляет собой гидравлический модуль, который регулирует распределение гидравлической мощности по инструменту. Специалистам будет понятно, что в инструмент для оценки пласта в процессе бурения можно включить и другие секции или модули, не выходя за рамки объема притязаний изобретения. Инструмент может быть также выполнен как единое целое, а не состоящим из отдельных модулей.
Инструмент 601 для оценки пласта в процессе бурения, изображенный на фиг.2, также содержит всасывающую секцию 608, насосную секцию 610 и секцию 612 отборной камеры. Всасывающая секция 608 расположена вблизи центра инструмента 601. Всасывающая секция 608, как показано на чертеже, содержит зонды 621, 622. Эти зонды могут выдвигаться для установления контакта с боковой стенкой скважины и установления связи по текучей среде с пластом. Можно использовать и другие устройства, такие как двойные пакеры или комбинации пакера и зонда, которые будут описаны ниже со ссылкой на фиг.6А и 6В.
Один или более зондов могут избирательно приводиться в действие для выполнения оценки пласта, например отбора проб и опробования давления. Как показано на фиг.2, зонд 622 находится в связи по текучей среде с линией 624 потока, которая позволяет пластовой текучей среде проходить из пласта в инструмент 601. Всасывающая секция будет описана более подробно со ссылками на фиг.6А и 6В. К линии 624 потока можно оперативно подключать различные датчики или другие инструменты для определения свойств пластовой текучей среды.
Инструмент 601 имеет канал 640, который позволяет буровому раствору проходить вниз через инструмент 601. Инструменты предпочтительно расположены в секциях, так что канал позволяет буровому раствору проходить через канал 640 в инструмент 601. Компоновку и порядок расположения секций или модулей в инструменте 601 можно модифицировать в зависимости от обстоятельств. Расположение модулей не является ограничительным признаком изобретения.
На фиг.3 представлен схематический вид системы 300 для оценки пласта в процессе бурения согласно изобретению. Система 300 для оценки пласта в процессе бурения может быть частью инструмента для оценки пласта в процессе бурения, такого как инструмент 601 для оценки пласта в процессе бурения на фиг.2 (т.е. состоящий из всасывающей секции 608, насосной секции 610 и секции 612 отборной камеры). Следует отметить, что в данном контексте понятие “инструмент для оценки пласта в процессе бурения” относится в целом ко всему инструменту, такому как на фиг.2. Понятие “система для оценки пласта в процессе бурения” относится к конкретному набору инструментов и оборудования в инструменте, которые выполняют конкретный вид оценки пласта. Инструмент для оценки пласта в процессе бурения может содержать более одной системы для оценки пласта в процессе бурения.
Система 300 для оценки пласта в процессе бурения, изображенная на фиг.3, содержит зонд 211, насос 301 и отборные камеры 306а, 306b, 306 с. Насос 301 находится в связи по текучей среде с входом для текучей среды (например, узлом 211 зонда на фиг.3) через линию 302 загрузки, а вход для текучей среды находится в связи по текучей среде с пластом F. Насос 301 для текучей среды также находится в связи по текучей среде с линией 303 разгрузки. В проиллюстрированном варианте линия 303 разгрузки ведет к выпуску 311 скважины и множеству отборных камер 306а, 306b, 306с для хранения проб пластовой текучей среды. По меньшей мере в одном варианте линия 302 загрузки и линия 303 разгрузки по существу представляют собой один и тот же путь движения потока, но разделенный трехходовым клапаном 309. Трехходовой клапан 309 может быть расположен так, что насос 301 находится в связи по текучей среде с линией 302 загрузки и изолирован от линии 303 разгрузки, или же трехходовой клапан 309 может быть расположен так, что насос 301 находится в связи по текучей среде с линией 303 разгрузки и изолирован от линии 302 загрузки.
Линия 303 разгрузки содержит дренажный клапан 307, который может избирательно включаться для приведения насоса 301 в связь по текучей среде с выпуском 311 скважины. Например, дренажный клапан 307 может вести к выпуску 311 скважины, который содержит выходное отверстие в стороне инструмента. Каждая камера из отборных камер 306а, 306b, 306с предпочтительно содержит клапан 305а, 305b, 305с изоляции отборной камеры, который может избирательно включаться для приведения насоса 301 в связь по текучей среде с одной или более отборными камерами 306а, 306b, 306с.
На фиг.4 представлен подробный схематический вид насоса 301 в системе 300 для оценки пласта в процессе бурения, изображенной на фиг.3. Насос 301 приводится в действие перепадом давления между давлением бурового раствора в бурильной колонне (так называемым “внутритрубным давлением”, PI) и давлением в кольцевом пространстве (так называемым “давлением в кольцевом пространстве”, РA). На фиг.2 внутритрубное давление PI существует в канале 640 внутри инструмента 601, а давление РA – в кольцевом пространстве 605 между инструментом 601 и стенкой 603 скважины. Этот перепад давления ( Р=РI-РA) возникает в результате падения давления, связанного с прокачкой бурового раствора через буровое долото в нижней части бурильной колонны или через другие сужения сечения бурильной колонны. Перепад давлений обычно составляет 700-1200 футов на квадратный дюйм.
Изображенный на фиг.4 насос 301 имеет насосную камеру 404 и гидравлическую камеру 410. Поршневой узел 408 содержит первый поршень 406, расположенный в насосной камере 404, второй поршень 411, расположенный в гидравлической камере, и соединительный элемент 407, который соединяет первый и второй поршни 406, 411. Первый поршень 406 делит насосную камеру на первую и вторую секции. В показанном варианте первая секция является полостью 409 закачки текучей среды, а вторая секция – полостью 417 загрузки. Второй поршень 411 поршневого узла 408 также делит гидравлическую камеру 410 на первую секцию и вторую секцию. В показанном варианте первая секция гидравлической камеры 410 является полостью 414 для пружины, а вторая секция – полостью 415 для давления. Предпочтительно предусмотрены уплотнения 405, 412, чтобы предотвратить прохождение текучей среды между полостью 414 для пружины и полостью 415 для давления. Соединительный элемент 407 (например, стержень) соединяет первый поршень 406 со вторым поршнем 411 поршневого узла 408. Поршневой узел 408 совершает возвратно-поступательное движение или движется вперед и назад скользящим движением в каждой из камер 404, 410. Штриховые линии 406а показывают другое возможное положение первого поршня 406 поршневого узла 408, а штриховые линии 411а показывают соответствующее положение второго поршня 411 поршневого узла 408.
Прежде чем приступать к описанию работы насоса 301, важно отметить, что в некоторых вариантах система 300 оценки пласта в процессе бурения (фиг.3) “сбалансирована по давлению”. “Балансирование давления” означает, что все рабочие секции насоса 301 гидравлически связаны с давлением РA в кольцевом пространстве. Например, полость 414 для пружины гидравлической камеры 410 может быть заполнена чистым маслом гидравлической системы, которое гидравлически связано с давлением РA в кольцевом пространстве. Полость 415 для давления гидравлической камеры 410, как будет описано ниже, может быть гидравлически связана либо с давлением РA в кольцевом пространстве, либо с внутритрубным давлением PI. Перепад между внутритрубным давлением PI и давлением РA в кольцевом пространстве используется для приведения насоса в действие. Аналогично полость 417 для загрузки секции 404 насоса может быть заполнена маслом гидравлической системы, которое гидравлически связано с давлением РA в кольцевом пространстве.
Обычно поршневой насос прямого вытеснения, как показано на фиг.4, имеет ход “загрузки” и ход “разгрузки”. Во время хода загрузки увеличивается закачивающий объем, так что текучая среда всасывается в насос. Во время хода разгрузки закачивающий объем уменьшается, так что текучая среда вытесняется из насоса. Существуют различные компоновки линий движения потока и положений клапана, которые позволяют поршневому насосу прямого вытеснения перекачивать текучую среду из одного места в другое, используя непрерывно повторяющиеся ходы загрузки и разгрузки.
Насос 301, изображенный на фиг.4, имеет ход загрузки и ход разгрузки, которые совершаются при перемещении поршневого узла 408 в разных направлениях. Когда поршень совершает ход загрузки (т.е. движется вправо на фиг.4), объем полости 409 для закачки текучей среды насосной камеры 404 увеличивается, и текучая среда всасывается из линии 402 потока в полость 409 для закачки текучей среды насосной камеры 404. При установке трехходового клапана 309 таким образом, чтобы насосная камера 404 была в связи по текучей среде с линий 302 загрузки и зондом (например, 211 на фиг.3), пластовая текучая среда будет всасываться в насосную камеру 404 во время хода загрузки.
Следует отметить, что в данном варианте содержится трехходовой клапан 309, однако он не является необходимым. Например, соединением можно управлять с помощью запорного клапана и двухходового клапана или с помощью одного или более запорных клапанов. Кроме того, можно сконструировать насос 301, в котором линия загрузки и линия разгрузки не будут соединены. На фиг.4 линия загрузки и линия разгрузки по существу образуют часть одной и той же секции трубы, разделенную клапаном. В некоторых других вариантах линия разгрузки может быть отдельно присоединена к насосу 301. Специалистам будет понятно, что можно также предложить другие компоновки клапанов и линий загрузки и разгрузки, не выходя за рамки объема притязаний изобретения.
Поршневой узел 408 совершает ход разгрузки, когда он движется в направлении, противоположном направлению хода загрузки (т.е. влево на фиг.4). Когда поршневой узел 408 совершает ход разгрузки, объем отборной камеры 409 в насосной камере 404 уменьшается, и текучая среда вытесняется из насосной камеры 404 в линию 402 потока. При установке трехходового клапана 309 таким образом, чтобы линия 402 потока была изолирована от зонда (например, 211 на фиг.3) и находилась в связи по текучей среде с линией 303 разгрузки, текучая среда может вытесняться из насоса 301 в скважину или отборную камеру (например, 306а, 306b, 306с на фиг.3).
В варианте, показанном на фиг.4, камера 423 сильфона гидравлически связана с камерой 415 для давления гидравлической камеры 410. Камера 423 сильфона содержит сильфон 421, который разделяет камеру 423 сильфона на полость 425 для чистой текучей среды и полость 426 для бурового раствора. В данном контексте под “сильфоном” подразумевается гибкий расширяемый сосуд. Сильфон 421 позволяет гидравлической камере 410 устанавливать гидравлическую связь с давлением РA в кольцевом пространстве и с внутритрубным давлением PI без образования связи по текучей среде между ними. Например, линия 431 давления в кольцевом пространстве гидравлически связывает камеру 423 сильфона с давлением РА в кольцевом пространстве, а линия 433 внутритрубного давления гидравлически связана с внутритрубным давлением PI. Камера 423 сильфона может избирательно соединяться либо с давлением РА в кольцевом пространстве, либо с внутритрубным давлением PI за счет действия клапана 432 изоляции давления в кольцевом пространстве и клапана 434 изоляции внутритрубного давления. Например, при открытом клапане 434 изоляции внутритрубного давления и закрытом клапане 434 изоляции давления в кольцевом пространстве камера 423 сильфона будет испытывать внутритрубное давление PI, и сильфон 421 будет сжиматься.
Сильфон 421 используется для того, чтобы механизмы насоса работали, как будет описано ниже, под действием давления, прикладываемого чистым маслом гидравлической системы в полости 425 для чистой текучей среды. Давление, которое действует на сильфон 421, может передаваться второму поршню 411 через соединительный элемент 422, который приводит полость 425 для чистой текучей среды в связь по текучей среде с полостью 415 давления гидравлической камеры 410. Это защищает механизмы насоса (например, второй поршень 411 поршневого узла 408) от жесткого абразивного бурового раствора. Специалистам будет понятно, что сильфон 421 образует часть одного или более предпочтительных вариантов, в которых буровой раствор отделен от движущегося поршня, и что сильфон 421 не является необходимым для всех вариантов изобретения.
Ход загрузки насоса 301 предпочтительно приводится в действие пружиной 413, расположенной в полости 414 для пружины гидравлической камеры 410. Пружина 413 толкает второй поршень 411 поршневого узла 408 в направлении хода загрузки (т.е. вправо на фиг.4). Когда клапан 434 изоляции внутритрубного давления закрыт, а клапан 432 изоляции кольцевого пространства открыт, более низкое давление РA в кольцевом пространстве передается через сильфон 421 в гидравлическую камеру 410. В некоторых вариантах пружина 413 имеет жесткость, выбранную так, чтобы пружина 413 была способна смещать поршневой узел 408 против действия давления РA в кольцевом пространстве. Следовательно, в этих вариантах ход загрузки приводится в движение пружиной 413.
Для совершения насосом 301 хода разгрузки клапан 432 изоляции давления в кольцевом пространстве закрывается, а клапан 434 изоляции внутритрубного давления открывается. В этой конфигурации камера 423 сильфона испытывает внутритрубное давление PI. Внутритрубное давление PI вынуждает сильфон 421 сжиматься, и масло гидравлической системы в сильфоне 421 вытесняется в полость 415 давления гидравлической камеры 410. Благодаря гибкому сильфону 421 масло гидравлической системы находится под внутритрубным давлением PI, и это давление противодействует второму поршню 411 поршневого узла 408. В некоторых вариантах пружина 413 имеет жесткость, выбранную так, чтобы внутритрубное давление PI было достаточным для преодоления силы пружины 413 и ее сжатия. В этих вариантах внутритрубное давление PI приводит в действие ход разгрузки.
Может быть целесообразным выбрать пружину 413 с соответствующей жесткостью. При выборе пружины 413 с требуемой жесткостью пружина 413 будет сжиматься, когда на нее действует внутритрубное давление PI и разжиматься, когда на нее действует давление РA в кольцевом пространстве. Например, как показано на фиг.4, когда и полость 414 пружины, и полость 415 давления гидравлической камеры 410 находятся под действием давления РA в кольцевом пространстве, силы давления выравниваются, и пружина будет приводить поршневой узел 408 в ход загрузки, как было описано выше. Аналогично, когда полость 415 давления гидравлической камеры 410 находится под действием внутритрубного давления PI, правильно выбранная пружина позволит этому повышенному давлению сжимать пружину 413 и приводить поршневой узел 408 в ход разгрузки.
Следует отметить, что специалисты смогут предусмотреть другие варианты изобретения, не выходя за рамки объема изобретения. Например, можно предусмотреть вариант, в котором пружина 413 располагается в полости 415 давления, и давление в кольцевом пространстве и внутритрубное давление можно избирательно прикладывать к полости 414 пружины гидравлической камеры 410. Важно, чтобы функции каждой секции можно было изменить на обратные. В таком варианте пружина будет приводить в действие ход разгрузки, а внутритрубное давление PI будет приводить в действие ход загрузки. Следует отметить, что названия полостей и камер не следует рассматривать как ограничительные. На фиг.4 использованы названия, являющиеся описательными для функции элементов данного варианта.
Следует отметить, что в некоторых вариантах предпочтительно в любое время сохранить по меньшей мере один из клапанов 432, 434 изоляции давления закрытым. Следовательно, один клапан должен полностью закрыться до того, как откроется другой клапан. Это делается потому, что в некоторых вариантах, где одновременно открыты клапан 432 изоляции давления в кольцевом пространстве и клапан 434 изоляции внутритрубного давления, буровой раствор в бурильной колонне может проходить прямо в кольцевое пространство. Когда это происходит, исчезает перепад давлений, который приводит в действие насос 301. Кроме того, поток абразивного бурового раствора может “намывать” изолирующие клапаны 432, 434, так что они не смогут полностью закрываться. Буровой раствор сможет при этом проходить через изолирующие клапаны 432, 434, и бурение будет невозможно. Бурильную колонну надо будет поднять для замены клапана, прежде чем можно будет продолжить бурение.
Как показано на фиг.4, первый поршень 406 поршневого узла 408 и второй поршень 411 поршневого узла 408 могут иметь различные эффективные площади поверхности. Отношение площадей поверхности двух поршней 404, 411 можно выбирать в зависимости от применения насоса, чтобы создать механическое преимущество для насоса 301. Например, как показано на фиг.4, площадь поверхности второго поршня 411 больше, чем площадь поверхности первого поршня 406 поршневого узла 408. Даже когда на оба поршня 406, 411 поршневого узла 408 действует одинаковое давление, сила, действующая на второй поршень 411, будет больше, потому что его эффективная площадь поверхности больше. Под “эффективной площадью поверхности” подразумевается та часть поршня, к которой прикладывается давление текучей среды. Кроме того, различные формы поверхности поршня могут приводить к тому, что его эффективная площадь поверхности будет меньше, чем действительная площадь поверхности.
Общей проблемой операций отбора проб является то, что буровой раствор в скважине часто просачивается в пласт. Из-за такого “проникновения” фильтрата бурового раствора первая текучая среда, всасываемая из пласта, обычно является фильтратом бурового раствора, который просочился в пласт. Для корректировки этого факта текучую среду всасывают из пласта и закачивают в скважину до тех пор, пока проба не “очистится”, то есть пока всасываемая текучая среда не станет природной пластовой текучей средой вместо фильтрата бурового раствора. Использование различных датчиков для контролирования, как изменяются определенные свойства во время закачки, позволяет определить, когда текучая среда очистится. После того, как было определено, что текучая среда очистилась, можно взять пробу, изменив установки клапана и направив поток текучей среды в отборную камеру (например, отборную камеру 306а на фиг.3).
Вариант насоса 301, показанный на фиг.4, содержит модуль 416 датчиков, расположенный в непосредственной близости от первой секции насосной камеры 404. Модуль 416 датчиков используется для измерения определенных свойств текучей среды, которая всасывается в насосную камеру 404 во время хода загрузки. Например, модуль датчиков может содержать датчик 416а давления, который измеряет давление пластовой текучей среды. Другие датчики могут быть датчиками идентификации или контроля текучей среды, которые могут различать между фильтратом бурового раствора и нефтью и газом в пласте. Датчик контроля текучей среды позволяет определять, когда закачиваемая текучая среда очистится. Этот датчик может быть детектором сульфида водорода, оптическим датчиком или любым другим датчиком, известным специалистам. Датчики, входящие в состав насоса, не ограничивают изобретение и могут быть расположены в различных местах инструмента для оценки пласта в процессе бурения, изображенного на фиг.2, например, рядом с насосом, как показано на фиг.4, рядом с зондом, как показано на фиг.2, или в других местах.
В некоторых вариантах система для оценки пласта в процессе бурения содержит датчики, которые позволяют системе определять свойства текучей среды без необходимости отбора пробы. Например, насос может содержать датчик плотности, датчик удельного сопротивления или оптический датчик, который позволяет определять определенные свойства текучей среды. Датчики, входящие в состав насоса, не являются ограничительным признаком изобретения.
Другая проблема, которая может встретиться при отборе проб, состоит в том, что давление пластовой текучей среды может падать ниже ее “точки образования пузырьков”. “Точка образования пузырьков” – это давление, ниже которого газы, растворенные в пластовой текучей среде, будут выходить из раствора, и в текучей среде будут образовываться пузырьки. Падение давления пластовой текучей среды ниже ее точки образования пузырьков может привести к возникновению ряда проблем. Во-первых, наличие газа в текучей среде снизит производительность насоса. В крайних случаях будет невозможно закачивать текучую среду и брать пробы. Другая потенциальная проблема заключается в том, что после образования пузырьков в пробе текучей среды этот дополнительный газ в пробе не позволяет точно определить характер текучей среды в пласте. Пузырьки также влияют на импульсы давления, создаваемые откачкой текучей среды из пласта. Этот эффект затрудняет оценку проницаемости самого пласта. Следовательно, в некоторых вариантах желательно поддерживать состояние пробы текучей среды выше точки образования пузырьков и в одной фазе.
Для защиты от этой проблемы в некоторых вариантах система 300 для оценки пласта в процессе бурения (фиг.3) содержит детектор точки образования пузырьков. Такой детектор может быть расположен рядом с камерой насоса (например, в модуле 416 датчика на фиг.4), чтобы можно было определить давление пластовой текучей среды в ее самой нижней точке. Например, система для оценки пласта в процессе бурения может содержать ультразвуковой излучатель/детектор, способный определять, когда в пластовой текучей среде образуются пузырьки в процессе ее откачки из пласта. Можно также использовать и другие типы детекторов точки образования пузырьков, не выходя за рамки объема притязаний изобретения.
В некоторых случаях насос для откачивания текучей среды из скважины можно использовать для откачки пробы газа из пласта. В этих случаях система оценки пласта в процессе бурения может также содержать перекрытие, которое позволит насосу работать даже в том случае, если в пробе присутствует газ.
На фиг.5 изображен насос 501 согласно другому варианту изобретения. Насос 501 можно использовать, например, в системе для оценки пласта в процессе бурения, показанной на фиг.3, или в различных других скважинных инструментах, таких как инструмент 601 для оценки пласта в процессе бурения, показанный на фиг.2. Насос 501 содержит насосную камеру 521 с разделительным элементом 522, который образует две насосные секции. Поршень 524, имеющий первый конец 525 и второй конец 526, охватывает разделительный элемент 522 для создания первой насосной секции 501 и первой гидравлической секции 511 на одной стороне разделительного элемента 522 и второй насосной секции 502 и второй гидравлической секции 512 на другой стороне разделительного элемента 522. Соединительный элемент 529, например стержень, соединяет концы 525, 526 поршня 524 и проходит через разделительный элемент 522. Вокруг соединительного элемента 529 предусмотрены уплотнения 523, чтобы препятствовать прохождению текучей среды между первой гидравлической секцией 511 и второй гидравлической секцией 512.
Насос 501 подсоединен к линии 503 загрузки, которая в некоторых вариантах находится в связи по текучей среде с зондом. Линия 503 загрузки подсоединена к первой насосной секции 501 через клапан 505, и линия загрузки 503 подсоединена ко второй насосной секции 502 через клапан 506. В некоторых вариантах клапаны 505, 506 являются запорными клапанами, которые позволяют потоку двигаться только в одном направлении – от линии 503 загрузки к насосным секциям 501, 502.
Насос 501 также подсоединен к линии 504 разгрузки, которая в некоторых вариантах находится в связи по текучей среде со скважиной и одной или более отборных камер (показанных как “система”, чтобы обозначить остальную часть системы для оценки пласта в процессе бурения). Линия 504 разгрузки подсоединена к первой насосной секции 501 через клапан 507, и линия разгрузки 504 подсоединена ко второй насосной секции 502 через клапан 508. В некоторых вариантах клапаны 507, 508 являются запорными клапанами, которые позволяют потоку проходить только в одном направлении – от насосной секции 501, 502 к линии 504 разгрузки.
Первая гидравлическая секция 511 подсоединена к линии 513 давления в кольцевом пространстве, которая гидравлически связана с давлением РA в кольцевом пространстве. Клапан 515 изоляции давления в кольцевом пространстве может избирательно открываться и закрываться, чтобы либо открыть первую гидравлическую секцию 511 для воздействия давления РA в кольцевом пространстве, либо изолировать ее от воздействия данного давления РA. Первая гидравлическая секция 511 также подсоединена к линии 514 внутритрубного давления, которая гидравлически связана с внутритрубным давлением PI в бурильной колонне. Клапан 517 изоляции внутритрубного давления может избирательно открываться и закрываться, чтобы либо открыть первую гидравлическую секцию 511 для воздействия внутритрубного давления PI, либо изолировать ее от воздействия внутритрубного давления PI.
Вторая гидравлическая секция 512 подсоединена к линии 513 давления в кольцевом пространстве, которая гидравлически связана с давлением РА в кольцевом пространстве. Второй клапан 516 изоляции давления в кольцевом пространстве может избирательно открываться и закрываться, чтобы либо открыть вторую гидравлическую секцию 512 для воздействия давления РA, либо изолировать ее от воздействия давления РA в кольцевом пространстве. Вторая гидравлическая секция 512 также подсоединена к линии 514 внутритрубного давления, которая гидравлически связана с внутритрубным давлением PI в бурильной колонне. Второй клапан 518 изоляции внутритрубного давления может избирательно открываться и закрываться, чтобы либо открыть вторую гидравлическую секцию 512 для воздействия внутритрубного давления PI, либо изолировать ее от воздействия внутритрубного давления PI.
Избирательная работа клапанов 515-518 изоляции давления в кольцевом пространстве и внутритрубного давления позволяет поршню 524 работать возвратно-поступательно, чтобы закачивать текучую среду из зонда в скважину (не показано) или в отборную камеру (не показана). Например, при открытии первого клапана 515 изоляции давления в кольцевом пространстве и второго клапана 518 изоляции внутритрубного давления и закрытии первого клапана 517 изоляции внутритрубного давления и второго клапана 516 изоляции давления в кольцевом пространстве первая гидравлическая секция 511 будет испытывать давление РA в кольцевом пространстве, а вторая гидравлическая секция 512 будет испытывать внутритрубное давление PI. Так как внутритрубное давление PI выше, чем давление РA в кольцевом пространстве, поршень 524 будет двигаться в таком направлении, при котором первая насосная секция 501 будет совершать ход загрузки, а вторая насосная секция 502 – ход разгрузки (т.е. вправо на фиг.5).
И наоборот, при открытии второго клапана 516 изоляции давления в кольцевом пространстве и первого клапана 517 изоляции внутритрубного давления и закрытии второго клапана 518 изоляции внутритрубного давления и первого клапана 515 изоляции давления в кольцевом пространстве первая гидравлическая секция 511 будет испытывать внутритрубное давление PI, а вторая гидравлическая секция 512 будет испытывать давление РA в кольцевом пространстве. Так как внутритрубное давление
PI выше, чем давление РA в кольцевом пространстве, поршень 524 будет двигаться в таком направлении, при котором первая насосная секция 501 совершает ход разгрузки, а вторая насосная секция 502 – ход загрузки (т.е. влево на фиг.5).
Насос 501, показанный на фиг.5, является насосом “двукратного действия”. Под “двукратным действием” подразумевается то, что он может совершать два действия одновременно. Например, когда поршень 524 движется в одном направлении, например вправо на фиг.5, первая насосная секция 501 совершает ход загрузки, и в то же самое время вторая насосная секция 502 совершает ход разгрузки. Когда поршень 524 изменяет направление на обратное, первая насосная секция 501 совершает ход разгрузки, а вторая насосная секция 502 – ход загрузки.
Также в некоторых вариантах целесообразно гарантировать, чтобы в любой момент времени был открыт только один клапан из клапана изоляции давления в кольцевом пространстве и клапана изоляции внутритрубного давления для гидравлической секции (например, клапана 515 изоляции давления в кольцевом пространстве и клапана 517 изоляции внутритрубного давления для первой гидравлической секции 511). Это будет препятствовать свободному прохождению бурового раствора из внутреннего пространства бурильной колонны в кольцевое пространство и преодолению им перепада давления, используемого для работы насоса 501.
В некоторых вариантах клапаны 505-508, которые соединяют насосные секции 501, 502 с линией 503 загрузки и линией 504 разгрузки, являются запорными клапанами, которые позволяют потоку проходить только в одном направлении. В этих вариантах работа таких клапанов не требуется. В других вариантах может быть целесообразным использовать клапаны, которые должны работать избирательно. Специалистам будет понятно, что клапаны 507, 508 разгрузки должны открываться для хода разгрузки соответствующих насосных секций 501, 502, а клапаны 505, 506 загрузки должны открываться для хода загрузки соответствующих насосных секций 501, 502. Специалистам также будет понятно, что в любой момент времени должен быть открыт только один из клапанов загрузки и разгрузки для каждой насосной секции (например, клапаны 505 и 507 для первой насосной секции 501). Вид клапанов, используемых в насосе для текучей среды, не является ограничительным признаком изобретения.
Можно сконструировать альтернативные конфигурации насоса и системы для оценки пласта в процессе бурения. Например, сильфон 421 и камеру 423 сильфона на фиг.4 можно скомбинировать в различных конфигурациях с вариантами насоса, показанного на фиг.5. Кроме того, вариант, показанный на фиг.5, можно выполнить с пружиной, так что потребуется всего одна гидравлическая секция для работы насоса. В таком варианте может быть целесообразным использовать отношение площади поверхности между концами поршня. Специалисты смогут предложить различные другие варианты насоса и системы для оценки пласта в процессе бурения, которые не выходят за рамки объема притязаний изобретения.
На фиг.4 и 5 показаны насосы, которые можно использовать в различных скважинных инструментах. Хотя инструмент, описанный со ссылкой на эти фигуры, является инструментом для оценки пласта в процессе бурения, имеющим перепад давления, создаваемый разностью между давлением в кольцевом пространстве в скважине и внутритрубным давлением, создаваемым потоком бурового раствора в бурильной колонне, перепад давления можно также обеспечить и другими средствами. Например, перепад давления можно создать между давлением в кольцевом пространстве в скважине и внутренним давлением, накопленным или заключенным в инструменте, таком как канат, змеевик, каротажный или другой скважинный инструмент.
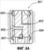
На фиг.6А и 6В показаны приемные секции, которые можно использовать с некоторыми вариантами изобретения. На фиг.6А показано поперечное сечение части приемной секции 651, снабженной как зондом 652, так и простым входом 653 для текучей среды. Приемная секция также содержит верхний пакер 655 и нижний пакер 657, которые охватывают с двух сторон вход 653 для текучей среды. Такие пакеры часто называют “сдвоенными пакерами”. Пакеры 655, 657 показаны в откачанном положении. Приемная секция 651 или модуль расположен в скважине таким образом, что он находится возле стенки скважины 654.
На фиг.6В показано поперечное сечение приемной секции 651 с накачанными пакерами 655, 657, так что они контактируют со стенкой 654 скважины. Пакеры 655, 657 изолируют представляющую интерес зону 660 в пласте. Насос для текучей среды можно использовать для всасывания текучей среды в простой вход 653 для текучей среды. По мере того, как текучая среда из скважины между пакерами 655, 657 проходит во вход 653 для текучей среды, эта текучая среда вытесняется текучей средой, высасываемой из пласта. Текучая среда может закачиваться в течение достаточного интервала времени, пока текучая среда, которая поступает во вход 653, станет пластовой текучей средой, выкачанной из пласта в изолированную область скважины между пакерами 655, 657.
На фиг.6В также показан зонд 652, выдвинутый до контакта со стенкой 654 скважины. Несмотря на то, что зонд показан в составе модуля 651, содержащего пакеры 655, 657, зонд может, как будет описано ниже со ссылкой на фиг.7, обеспечивать связь по текучей среде с пластом без использования пакеров 655, 657.
Приемная секция или модуль, показанный на фиг.2, 6А и 6В, является примером комбинаций зонда и пакеров, которые можно использовать с изобретением. Можно использовать различные комбинации зондов и пакеров, не выходя за рамки объема притязаний изобретения. В некоторых вариантах скважинный инструмент может иметь пакеры, но не содержать выдвижного зонда.
На фиг.7 показано детально поперечное сечение узла 211 зонда, который можно использовать с инструментом для оценки пласта в процессе бурения согласно некоторым вариантам изобретения. Например, узел 311 зонда можно использовать в инструменте для оценки пласта в процессе бурения, показанном на фиг.2, и в системе оценки пласта в процессе бурения, показанной на фиг.3. На фиг.7 показано поперечное сечение одного варианта утяжеленной бурильной трубы 201, которая содержит узел 211 зонда. Это пример зонда, который можно использовать в связи с настоящим изобретением. Подобный зонд, имеющий дополнительный поршень и устройство датчика, описан в совместно рассматриваемой заявке 10/248782 на патент США.
Показанная утяжеленная бурильная труба 201 содержит лопасти (или ребра) 205, которые стабилизируют бурильную колонну, и узел 211 зонда расположен так, что он будет проходить через одну из лопастей 205, которая может контактировать со стенкой 206 скважины. Хотя зонд показан как выполненный с возможностью прохождения через лопасть в утяжеленной бурильной трубе, специалистам будет понятно, что зонд также можно использовать в утяжеленной бурильной трубе, которая не имеет лопасти.
Характерным признаком утяжеленных бурильных труб и связанных с ними инструментов является то, что они должны позволять потоку бурового раствора проходить как внутри бурильной колонны, так и в кольцевом пространстве. Для этого лопасти 205 предпочтительно разнесены вокруг утяжеленной бурильной трубы 201, в данном случае на 120°, чтобы обеспечить кольцевое пространство 222 для обратного потока бурового раствора. Кроме того, узел 211 зонда расположен во внутреннем пространстве 221 утяжеленной бурильной трубы 201, но предпочтительно расположен таким образом и имеет такой размер, чтобы обеспечить достаточное пространство во внутренней части 221 утяжеленной бурильной трубы 201 для нисходящего потока бурового раствора.
Узел 211 зонда содержит путь 212 потока, находящийся в связи по текучей среде с линией 219 потока, которая позволяет пластовым текучим средам проходить из узла 211 зонда в дополнительные секции бурового инструмента (не показано). В некоторых вариантах, например в варианте, показанном на фиг.7, зонд 215 прижат к стенке 206 скважины, чтобы изолировать пути 212 потока от давления в скважине. Можно также предусмотреть пакер 214, способствующий образованию уплотнения со стенкой 206 скважины.
Во время нормальных буровых работ зонд 215 находится в убранном положении, так что пакер 214 и путь 212 потока утоплены в утяжеленной бурильной трубе 201. Когда требуется выполнить оценку пласта, например измерить пластовое давление или взять пробу пластовой текучей среды, зонд 215 можно переместить в выдвинутое положение, при котором пакер 214 контактирует со стенкой 206 скважины. В некоторых вариантах утяжеленная бурильная труба 201 вращается вместе с остальной частью бурильной колонны. В этих вариантах бурение обычно прекращают, чтобы можно было выдвинуть зонд для выполнения измерений или взятия пробы. В других вариантах утяжеленная бурильная труба может вращаться в противоположную сторону (не показано), при этом лопасти вращаются в противоположную сторону с такой же скоростью, как и бурильная колонна, так что лопасти не вращаются относительно скважины. В таких вариантах зонд может находиться в связи по текучей среде со скважиной, даже когда бурильная колонна вращается. Изобретение позволяет использовать любой вид утяжеленной бурильной трубы. Вид утяжеленной бурильной трубы, используемой для размещения зонда, не является ограничительным признаком изобретения.
В показанном варианте зонд 215 может избирательно перемещаться между выдвинутым и убранным положениями (на фиг.7 показано убранное положение). Пружина 216 прикладывает силу против узла 216, так что этот узел удерживается убранным в своем нормальном положении и положении покоя. Зонд 215 выдвигается при приложении к узлу 217 зонда давления текучей среды, которого достаточно для преодоления силы пружины 216 и перемещения узла 217 зонда в выдвинутое положение. Можно открыть клапан (не показан), чтобы кольцевая полость 218 вокруг узла 217 зонда была гидравлически связана с давлением бурового раствора в бурильной колонне (т.е. внутритрубным давлением PI). Высокое давление бурового раствора в бурильной колонне заполняет эту полость и толкает узел 217 зонда с достаточной силой, чтобы преодолеть жесткость пружины 216 и выдвинуть зонд 215 в контакт с пластом.
Описанный выше механизм является всего лишь одним примером, который можно использовать для перемещения зонда между убранным и выдвинутым положениями. Специалисты смогут предложить и другие механизмы, не выходя за рамки объема притязаний изобретения. Например, можно обойтись без пружины 216 и перемещать узел 217 зонда в убранное положение с помощью двигателя или за счет давления текучей среды изнутри бурильной колонны.
На фиг.7 показан один тип входа для текучей среды, в частности узел 211 зонда, который можно использовать вместе с инструментом для оценки пласта в процессе бурения согласно вариантам изобретения. Специалисты смогут предусмотреть другие входы, которые можно использовать с инструментом для оценки пласта в процессе бурения, не выходя за рамки объема притязаний изобретения. Например, в инструменте для оценки пласта в процессе бурения можно использовать простой вход для текучей среды в совокупности с парой пакеров, как было описано со ссылкой на фиг.6А и 6В. Вид входа для текучей среды не является ограничительным признаком изобретения.
Как показано на фиг.2, инструмент 601 для оценки пласта в процессе бурения может содержать поршень 642 для предварительного опробования и один или несколько датчиков 623 для измерения свойств текучей среды. Поршень 642 для предварительного опробования способен выполнять обычные предварительные опробования по известной технологии. Датчики 623 могут включать в себя датчик давления, способный контролировать колебания давления и импульсы на первом зонде 621, которые создаются системой закачки на втором зонде 632. Это позволяет оценить горизонтальную и вертикальную проницаемость пласта. Датчик 623 может также включать в себя анализатор текучей среды, датчик температуры, а также другие измерительные устройства для определения свойств текучей среды. При необходимости возле инструмента можно также разместить другие датчики и поршни для предварительных опробований. Кроме того, можно также использовать соответствующие клапанные системы и промежуточные трубопроводы для избирательного направления текучей среды в требуемые части инструмента и для разгрузки текучей среды из инструмента.
В некоторых вариантах изобретение относится к способам работы насоса. В некоторых других вариантах изобретение относится к способам оценки пласта. Описание способа включает много этапов, которые не являются необходимыми для изобретения, однако они упоминаются в целях иллюстрации.
На фиг.8А показан способ работы насоса согласно одному варианту изобретения. Способ заключается в том, что сначала прикладывают более низкое давление на этапе 852 к первой стороне поршня в насосе. В некоторых вариантах этим более низким давлением является давление РА в кольцевом пространстве. В некоторых вариантах (т.е. в насосе 301, показанном на фиг.4) это вызывает совершение поршнем хода загрузки. В некоторых других вариантах приложение давления в кольцевом пространстве к первой поверхности поршня вызывает совершение поршнем хода разгрузки. Далее согласно данному способу прикладывают более высокое давления (этап 854) к первой стороне поршня в насосе. В некоторых вариантах более высоким давлением является внутритрубное давление PI. В некоторых вариантах (т.е. в насосе 301, показанном на фиг.4) это вызывает совершение поршнем хода разгрузки. В некоторых других вариантах приложение давления в кольцевом пространстве к первой поверхности поршня вызовет совершение поршнем хода разгрузки.
Способ также включает (как показано стрелкой 856) избирательное повторное приложение более низкого давления к первой стороне насоса и приложение более высокого давления к первой стороне поршня. Это вызывает поочередное совершение поршнем хода загрузки и хода разгрузки. Следует также отметить, что исходной точкой в некоторых вариантах способа также может быть приложение не более низкого давления (т.е. этап 852). В тех случаях, когда в исходном положении насоса более низкое давление приложено к первой стороне поршня в насосе, для начала работы насоса необходимо приложить более высокое давление. Специалистам будет понятно, что исходная точка повторяющейся работы насоса не является ограничительным признаком изобретения.
Со ссылкой на фиг.8В следует отметить, что в буровой скважине существует агрессивная среда, и поэтому связь со скважинными устройствами может испытывать проблемы. Часто бывает желательным максимально автоматизировать процесс оценки пласта. В некоторых вариантах на первом этапе 702 передают пусковой сигнал в инструмент для оценки пласта в процессе бурения. По меньшей мере в одном варианте этот сигнал передают во время бурения, и сигнал побуждает инструмент для оценки пласта в процессе бурения начать операции опробования или оценки при следующей остановке потока бурового раствора с поверхности.
Существует множество способов связи со скважинными устройствами, включая различные виды телеметрии с гидроимпульсным каналом связи. Эти способы известны и не являются ограничительным признаком изобретения.
В некоторых вариантах на следующем этапе 704 прекращают бурение и останавливают буровые насосы, чтобы прекратить поток бурового раствора через бурильную колонну. Прекращение вращения бурильной колонны позволит инструменту для оценки пласта в процессе бурения выдвинуть зонд или пакеры. В состав инструмента для оценки пласта в процессе бурения могут быть включены датчики для определения, когда прекращается поток бурового раствора. В этот момент система может начать операцию оценки пласта. В других вариантах инструмент для оценки пласта в процессе бурения может содержать другие виды датчиков, которые определяют, когда прекращается бурение. Например, можно использовать, не выходя за рамки объема притязаний изобретения, датчик, который обнаруживает прекращение вращения. Вид используемого датчика не является ограничительным признаком изобретения.
Следует отметить, что этап остановки бурильной колонны может не потребоваться в тех вариантах изобретения, в которых инструмент для оценки пласта в процессе бурения расположен в утяжеленной бурильной трубе, вращающейся в противоположном направлении. В этих вариантах следующие операции можно выполнять при вращающейся бурильной колонне.
Затем в предложенном способе можно выполнить этап 706 установления связи по текучей среде с пластом. В некоторых вариантах это реализуется посредством выдвижения зонда для установления связи по текучей среде с пластовыми текучими средами. В некоторых других вариантах это реализуется посредством надувания пакеров для установления контакта со стенкой скважины. В некоторых вариантах этот этап начинается в заранее выбранное время после остановки потока бурового раствора. Способ может также включать измерение пластового давления с помощью датчика давления, расположенного в системе оценки пласта в процессе бурения, как показано этапом 708. После измерения пластового давления, если оно выполняется, согласно способу перезапускают буровые насосы на поверхности, чтобы буровой раствор пошел через бурильную колонну и обратно через кольцевое пространство, как показано этапом 710. В некоторых вариантах инструмент для оценки пласта в процессе бурения предварительно запрограммирован на выдвижение зонда на этапе 706 и измерение давления пластовой текучей среды на этапе 708 после прекращения потока бурового раствора. Эти этапы выполняются в предварительно выбранный интервал времени и буровые насосы перезапускаются после предварительно выбранного интервала времени.
В некоторых вариантах способ включает выполнение предварительного опробования на этапе 711 с помощью насоса для текучей среды в инструменте для оценки пласта в процессе бурения. Это предварительное опробование может заключаться в совершении насосом одного хода загрузки (описанного ниже на этапе 712) с последующим измерением изменения давления, испытываемого в зонде или входе для текучей среды. Это позволит оценить пластовое давление, а также проницаемость пласта согласно известной технологии.
После этапа 711 алгоритм на фиг.8В делится на два пути. При этом не подразумевается выбор, а показано два независимых пути, которые можно выполнять одновременно. Например, левая сторона разделенного пути содержит этапы 712, 714 работы системы оценки пласта в процессе бурения при совершении хода загрузки, а затем хода разгрузки, каждый из которых будет более подробно описан ниже. Стрелка 713 показывает, что ходы загрузки и разгрузки повторяются до тех пор, пока не будет выполнена процедура оценки пласта. Этапы 712, 714 показаны штриховыми линями, потому что они могут выполняться одновременно с одним или более этапами 716, 718 и 720, показанными выше. Этапы 712 и 714 вместе со стрелкой 713 показывают способ работы насоса для текучей среды. Их можно рассматривать как подгруппу способа оценки пласта.
На этапе 712 инициируется ход загрузки, например, путем приложения давления РA в кольцевом пространстве к гидравлической камере в насосе. Пружина в насосе будет побуждать совершение хода загрузки против действия давления РA в кольцевом пространстве. В начале хода загрузки насосная камера в насосе приводится в связь по текучей среде с текучей средой в пласте, так что пластовая текучая среда будет всасываться в насос во время хода загрузки.
На этапе 714 инициируется ход разгрузки, например, путем приложения внутритрубного давления PI к гидравлической камере в насосе. Внутритрубное давление PI будет побуждать совершение хода разгрузки против действия пружины. В начале хода разгрузки насосная камера приводится в связь по текучей среде с линией разгрузки в системе оценки пласта в процессе бурения. Линия разгрузки может приводиться в связь по текучей среде избирательно с отборной камерой или скважиной.
Ход загрузки на этапе 712 и ход разгрузки на этапе 714 непрерывно повторяются, в результате чего пластовая текучая среда закачивается из пласта в насос и затем в линию разгрузки. Этот процесс может продолжаться до тех пор, пока больше не надо будет выкачивать текучую среду из пласта.
Следует отметить, что в некоторых вариантах ход загрузки можно осуществлять путем приложения внутритрубного давления PI, a ход разгрузки можно осуществлять путем приложения давления РА в кольцевом пространстве. Способ работы насоса будет зависеть от конфигурации насоса. Также следует отметить, что, несмотря на то, что ход загрузки на этапе 712 показан первым, может быть необходимым сначала выполнить ход разгрузки на этапе 714. В тех ситуациях, когда насос имеет исходное положение, соответствующее концу хода загрузки, первым должен совершаться ход разгрузки на этапе 714. Специалистам будет понятно, что порядок совершения первым хода загрузки или хода разгрузки не является ограничительным признаком изобретения.
В процессе осуществления закачки на этапах 712, 714 линия разгрузки может сначала помещаться в связь по текучей среде с разгрузкой в скважину, чтобы закачиваемая текучая среда направлялась в скважину на этапе 716. В некоторых вариантах это реализуется путем открытия дренажного клапана, расположенного в линии разгрузки. В процессе продолжения закачки на этапах 712, 714 текучая среда контролируется датчиками, определяющими, когда она очистится, как показано на этапе 718. При этом можно использовать телеметрию для передачи данных на поверхность, чтобы за данными датчика можно было следить на поверхности. Альтернативно данные датчика можно контролировать с помощью процессорного узла в составе скважинного инструмента.
В некоторых вариантах после определения, что текучая среда очистилась, в способе осуществляют этап 720 взятия пробы. Этот этап может включать открытие клапана изоляции отборной камеры и закрытие дренажного клапана, чтобы чистая пластовая текучая среда закачивалась в отборную камеру. В некоторых вариантах в процессе бурения в инструмент для оценки пласта посылают нисходящий телеметрический сигнал, который побуждает систему открыть клапан изоляции отборной камеры и закрыть дренажный клапан. В других вариантах эту команду выдает скважинный процессор.
После отбора пробы закачку на этапах 712, 714 можно прекратить. Затем можно убрать зонд или скачать пакеры. Это показано этапом 722 как разъединение связи по текучей среде с пластом. В некоторых вариантах, если для оценки пласта прекращают бурение, его можно продолжить, как показано этапом 724.
Некоторые варианты содержат этап (не показан) оценки глубины проникновения в пласт. “Проникновение” происходит, когда фильтрат бурового раствора, т.е. жидкая часть бурового раствора, просачивается в пласт после его разбуривания. Глубина проникновения может быть определена по общему объему текучей среды, закачанной из пласта до того, как текучая среда очистится. Этот объем можно назвать общим объемом для очистки. Этот этап не показан конкретно на фиг.8А, потому что он может выполняться в любое время после того, как очистится текучая среда. В некоторых вариантах проникновение можно определить до того, как очистится текучая среда, на основании оценки или прогноза, когда очистится текучая среда. Общий закачанный объем для очистки можно определить путем контролирования движения поршня. В некоторых вариантах движение поршня измеряется датчиком, который контролирует положение поршня.
Способ может также включать контролирование импульсов давления на другом зонде (например, зонде 621 на фиг.6А). Насос для текучей среды, который подключен к первому зонду, создает импульсы давления в пласте, когда он выкачивает пластовую текучую среду. Эти импульсы давления может обнаружить второй зонд. Это позволит оценить проницаемость пласта.
Варианты настоящего изобретения могут обеспечить одно или более из следующих преимуществ. Например, скважинный насос, который приводится в действие перепадом давления, не требует для его питания наличия батареи или электрического генератора в составе инструмента для оценки пласта в процессе бурения. Это позволяет уменьшить пространство, необходимое для инструмента. Типичный генератор будет использовать поток бурового раствора для выработки электрической энергии. Электрическая энергия будет затем передаваться на двигатель, который будет приводить насос в действие. Целесообразно, чтобы скважинный насос, приводимый в действие перепадом давления, использовал давление бурового раствора для питания насоса, исключая тем самым необходимость в генераторе, электрической энергии и двигателе.
Скважинный насос, который содержит сильфон, будет препятствовать контакту абразивного бурового раствора с насосом. Это позволит уменьшить износ насоса при нормальной работе.
Поршень в скважинном насосе может иметь концы поршня, имеющие различные площади поверхности. Это создает отношение площадей закачки, обеспечивающее механическое преимущество для насоса, создающее более эффективную базу для работы на перепаде давления.
Несмотря на то, что изобретение было описано со ссылками на ограниченное количество вариантов, специалисты смогут предложить на основании этого описания другие варианты, не выходящие за рамки объема притязаний изобретения. Таким образом, объем изобретения ограничен только прилагаемой формулой изобретения.
Формула изобретения
1. Инструмент для оценки пласта, устанавливаемый в стволе скважины вблизи подземного пласта, содержащий корпус, вход для текучей среды, расположенный в корпусе, насос для текучей среды, находящийся в связи по текучей среде с входом для текучей среды и содержащий насосную камеру и первый поршень, расположенный в насосной камере с возможностью совершения хода загрузки или хода разгрузки, когда на поршень действует внутритрубное давление.
2. Инструмент по п.1, в котором первый поршень образует первую секцию и вторую секцию насосной камеры, при этом насос дополнительно содержит гидравлическую камеру, второй поршень, расположенный в гидравлической камере и образующий первую секцию гидравлической камеры и вторую секцию гидравлической камеры, причем первый поршень и второй поршень соединены соединительным элементом, клапан, находящийся в связи по текучей среде с насосной камерой для избирательного помещения насосной камеры в связь по текучей среде по меньшей мере с одной линией, выбранной из линии загрузки и линии разгрузки, клапан изоляции внутритрубного давления для избирательного установления гидравлической связи гидравлической камеры с внутритрубным давлением, клапан изоляции давления в кольцевом пространстве для избирательного установления гидравлической связи гидравлической камеры с давлением в кольцевом пространстве, пружину, расположенную в первой секции гидравлической камеры или во второй секции гидравлической камеры с возможностью приложения силы ко второму поршню, причем первый поршень выполнен с возможностью перемещения относительно насосной камеры, а второй поршень выполнен с возможностью перемещения относительно гидравлической камеры.
3. Инструмент по п.1, в котором насос для текучей среды дополнительно содержит камеру сильфона и гибкий сильфон, расположенный в камере сильфона и образующий первую секцию камеры сильфона и вторую секцию камеры сильфона, при этом первая секция камеры сильфона находится в связи по текучей среде со второй секцией гидравлической камеры, а вторая секция камеры сильфона находится в связи по текучей среде с клапаном изоляции давления в кольцевом пространстве и клапаном изоляции внутритрубного давления.
4. Инструмент по п.1, в котором вход для текучей среды содержит зонд, выполненный с возможностью выдвижения из корпуса для установления связи по текучей среде с пластом.
5. Инструмент по п.1, дополнительно содержащий первый пакер, расположенный над входом для текучей среды, и второй пакер, расположенный под входом для текучей среды.
6. Инструмент по п.1, предназначенный для оценки пласта в процессе бурения и дополнительно содержащий выходное отверстие и по меньшей мере одну отборную камеру.
7. Инструмент по п.1, дополнительно содержащий по меньшей мере один датчик.
8. Инструмент по п.7, в котором по меньшей мере один датчик представляет собой датчик, выбранный из группы, состоящей из датчика температуры, датчика удельного сопротивления, датчика давления, оптического датчика и их комбинации.
9. Способ оценки пласта, заключающийся в том, что устанавливают связь по текучей среде между входом для текучей среды в инструменте для оценки пласта и пластом и втягивают текучую среду в инструмент посредством избирательного повторения приложения давления в кольцевом пространстве к первой стороне поршня и приложения внутритрубного давления к первой стороне поршня.
10. Способ по п.9, в котором при установлении связи по текучей среде надувают пакеры для изоляции представляющей интерес зоны на стенке скважины.
11. Способ по п.9, в котором при установлении связи по текучей среде выдвигают зонд для установления связи по текучей среде с пластом.
12. Способ по п.9, в котором дополнительно направляют пробу текучей среды из насоса для текучей среды в кольцевое пространство, определяют, когда проба текучей среды очистится, и направляют пробу текучей среды в отборную камеру.
13. Способ по п.9, в котором дополнительно измеряют переходное давление во входе для текучей среды.
14. Способ по п.9, в котором дополнительно измеряют импульс давления во втором входе для текучей среды.
15. Способ по п.9, в котором дополнительно измеряют по меньшей мере одно свойство пластовой текучей среды.
16. Способ по п.15, в котором по меньшей мере одно свойство пластовой текучей среды представляет собой по меньшей мере одно свойство, выбранное из группы, состоящей из плотности, удельного сопротивления и давления.
17. Способ по п.9, в котором дополнительно передают пусковой сигнал в насос для текучей среды, останавливают процесс бурения, останавливают поток бурового раствора через бурильную колонну и возобновляют поток бурового раствора через бурильную колонну после выбранного интервала.
18. Способ по п.9, в котором дополнительно контролируют перемещение зонда, вычисляют общий закачанный объем для очистки на основании перемещения зонда и определяют глубину проникновения на основании общего закачанного объема для очистки.
РИСУНКИ
|
|