|
|
(21), (22) Заявка: 2007108293/03, 27.07.2005
(24) Дата начала отсчета срока действия патента:
27.07.2005
(30) Конвенционный приоритет:
06.08.2004 CA 2,476,787
(43) Дата публикации заявки: 20.09.2008
(46) Опубликовано: 10.05.2009
(56) Список документов, цитированных в отчете о поиске:
US 2003085059 A1, 08.05.2003. SU 359404 A1, 01.01.1972. SU 927959, 15.05.1982. SU 1668652 A1, 07.08.1991. US 4933640, 12.06.1990. US 5002137, 26.03.1991. US 5165490, 24.11.1992. US 6617854 B2, 09.09.2003.
(85) Дата перевода заявки PCT на национальную фазу:
06.03.2007
(86) Заявка PCT:
CA 2005/001171 20050727
(87) Публикация PCT:
WO 2006/012731 20060209
Адрес для переписки:
129090, Москва, ул. Б.Спасская, 25, стр.3, ООО “Юридическая фирма Городисский и Партнеры”, пат.пов. А.В.Мицу
|
(72) Автор(ы):
КЕННЕДИ Тимоти Уэйн (CA), ШНЕЛЛЬ Родни Алан (CA), ВАНДАЛ Брайан Арманд (CA)
(73) Патентообладатель(и):
ХЭЛЛИБЕРТОН ЭНЕРДЖИ СЕРВИСИЗ, ИНК. (CA)
|
(54) КОМБИНИРОВАННОЕ МАГНИТНОЕ УСТРОЙСТВО ДЛЯ ИЗМЕРЕНИЯ РАССТОЯНИЯ
(57) Реферат:
Предложенная группа изобретений относится к области бурения, а именно к устройствам для поддержания магнитного поля для измерений расстояния в процессе бурения. Техническим результатом является повышение надежности работы магнитного устройства в скважине в процессе бурения. Предложенное устройство выполнено с возможностью соединения в бурильную колонну и может представлять собой буровое долото, стабилизатор или электродвигатель. При этом устройство выполнено с возможностью выполнения двух функций, первой из которых является разрушение породы, стабилизирующая функция или привидение в действие бурового долота, а второй функцией является поддержание магнитного поля. Причем источник магнитного поля соединен с устройством таким образом, что его ось перпендикулярна оси устройства. При этом источник магнитного поля содержит множество магнитов, оси которых параллельны друг другу и перпендикулярны оси устройства, и каждый из магнитов совмещен в общем полярном направлении. 3 н. и 35 з.п. ф-лы, 6 ил.
Область техники, к которой относится изобретение
Устройство для удержания источника магнитного поля и для осуществления, по меньшей мере, одной функции в бурильной колонне.
Предпосылки изобретения
Магнитная дальнометрия – это общий термин, который используется для описания множества способов, которые используют магнитные измерения для определения относительного положения (т.е. относительной ориентации и/или отдельного расстояния) буровой скважины, подлежащей бурению, относительно цели, такой как другая буровая скважина или буровые скважины.
Определение относительных положений двух или более буровых скважин может быть важным для того, чтобы избежать пересечения между скважинами, для того, чтобы достичь пересечения буровых скважин, или для того, чтобы достичь желаемого соответствующего положения между буровыми скважинами.
Иногда необходимо избегать пересечения между скважинами при бурении буровой скважины на участке, который уже переполнен другими буровыми скважинами.
Иногда необходимо добиваться пересечения между скважинами при бурении дренажных буровых скважин, бурении подземных каналов, таких как пересечения реки, или при соединении новой буровой скважины с продуктивной скважиной.
Иногда необходимо достигать требуемого относительного положения между буровыми скважинами при использовании способа (SAGD) гравитационного дренирования пласта при помощи пара. Способ SAGD включает образование верхней буровой скважины и нижней буровой скважины, которые, по существу, являются параллельными друг другу и расположены, по существу, в общей вертикальной плоскости. Нагнетание пара в верхнюю буровую скважину уменьшает вязкость углеводородов, которые содержатся в формациях, прилегающих к верхней буровой скважине, и обеспечивает прохождение углеводородов под действием силы тяжести в нижнюю буровую скважину. Затем углеводороды могут быть получены из нижней буровой скважины с использованием обычных производственных способов добычи.
Для эффективного использования способа SAGD необходимо осуществлять тщательный контроль во время создания пары буровых скважин как в отношении относительной ориентации буровых скважин, так и расстояния между буровыми скважинами. Такой контроль может быть достигнут с использованием способов измерения расстояния средствами магнитной дальнометрии.
Способы магнитной дальнометрии включают как «пассивные» способы, так и «активные» способы. В обоих случаях местоположение буровой скважины, которая подлежит бурению, сравнивают с местоположением цели, такой как целевая буровая скважина, или каким-либо другим ориентиром, таким как поверхность земли. Описание как пассивных способов магнитной дальнометрии, так и активных способов магнитной дальнометрии может быть найдено у Грилс, Трайси «Способы измерения расстояния магнитными устройствами во время бурения парных буровых скважин при использовании гравитационного дренирования пласта при помощи пара и уникальные размеры буровой скважины – Сравнение способов» («Magnetic Ranging Techniques for Drilling Steam Assisted Gravity Drainage Well Pairs and Unique Well Geometries – A Comparison of Technologies», Grills, Tracy), SPE/Petroleum Society of CIM/CHOA 79005, 2002 г.
Пассивные способы магнитной дальнометрии, иногда называемые магнитостатическими способами, обычно включают измерение остаточного магнетизма в целевой буровой скважине с использованием измерительного устройства или устройств, которые размещают в буровой скважине, подлежащей бурению.
Преимущество пассивных способов магнитной дальнометрии состоит в том, что для их осуществления обычно не требуется доступ в целевую буровую скважину, поскольку магнитные измерения проводятся в целевой буровой скважине «как есть». Одним недостатком пассивных способов магнитной дальнометрии является то, что для их осуществления требуются относительно точные данные о локальной величине и направлении магнитного поля земли, поскольку магнитные измерения, которые проводятся, представляют комбинацию магнитных свойств, присущих целевой буровой скважине, и локальных величин магнитного поля земли. Вторым недостатком пассивных способов магнитной дальнометрии является то, что они не обеспечивают контроль над магнитными полями, что приводит к магнитным измерениям.
Активные способы магнитной дальнометрии обычно включают измерение в одной из целевой буровой скважины и одной буровой скважины, подлежащей бурению, одного или более магнитных полей, которые создаются в другой целевой буровой скважине или другой буровой скважине, подлежащей бурению.
Недостатком активных способов магнитной дальнометрии является то, что для их осуществления обычно все же требуется доступ в целевую буровую скважину или для создания магнитного поля или полей, или для проведения магнитных измерений. Одним преимуществом активных способов магнитной дальнометрии является то, что они обеспечивают полный контроль над создаваемыми магнитным полем или полями. Конкретно, величина и геометрия магнитного поля или полей могут контролироваться и могут создаваться переменные магнитные поля заданных частот. Вторым преимуществом активных способов магнитной дальнометрии является то, что для их осуществления не требуются относительно точные данные о локальной величине и направлении магнитного поля земли, поскольку влияние магнитного поля земли может быть исключено или устранено из измерений, сформированных магнитным полем или полями.
В результате, активные способы магнитной дальнометрии обычно предпочтительны там, где возможен доступ в целевую буровую скважину, поскольку активные способы магнитной дальнометрии, как оказалось, являются относительно надежными, помехоустойчивыми и точными.
Один активный способ магнитной дальнометрии включает использование источника переменного магнитного поля. Источник переменного магнитного поля может состоять из электромагнита, такого как соленоид, который приводится в движение переменным электрическим сигналом, таким как переменный ток, для создания переменного магнитного поля. В качестве альтернативы, источник переменного магнитного поля может состоять из постоянного магнита, который вращается для создания переменного магнитного поля.
В любом случае, конкретные параметры переменного магнитного поля обеспечивают отличие магнитного поля от других магнитных влияний, которые могут быть вызваны остаточным магнетизмом в буровой скважине или магнитным полем земли. Кроме того, использование переменного магнитного поля, в котором изменяется полярность магнитного поля, периодически аннулирует или исключает из измерений влияния постоянных магнитных полей, такие как влияния остаточного магнетизма или магнитного поля земли.
Переменное магнитное поле может быть создано в целевой буровой скважине в случае, когда переменное магнитное поле измеряется в буровой скважине, подлежащей бурению. В качестве альтернативы, переменное магнитное поле может быть сформировано в буровой скважине, подлежащей бурению, в случае, когда переменное магнитное поле измеряется в целевой буровой скважине.
Переменное магнитное поле может быть создано таким образом, что «ось» магнитного поля находится в любой ориентации относительно буровой скважины. Обычно переменное магнитное поле создается таким образом, что ось магнитного поля ориентирована или параллельно буровой скважине, или перпендикулярно буровой скважине.
Патент US 4621698 (Питтард и др.) описывает устройство для ударного бурения, которое содержит пару катушек индуктивности, установленных на его заднем конце. Одна из катушек создает магнитное поле, параллельное оси устройства, а другая катушка создает магнитное поле поперек оси устройства. Катушки периодически возбуждаются генератором низкой частоты. Две скрещенные сенсорные катушки расположены на расстоянии от устройства таким образом, что линия, перпендикулярная осям сенсорных катушек, образует ось местоположения скважины. Положение устройства относительно оси скважины определяется с использованием магнитных измерений, полученных с помощью сенсорных катушек магнитных полей, созданных катушками, установленными в устройстве.
Патент US 5002137 (Дикенсон и др.) описывает комбайн бурового типа ударного действия, имеющий верхнюю часть, имеющую наклонную верхнюю поверхность, за которой установлен поперечный постоянный магнит или электромагнит. Вращение комбайна бурового типа приводит к образованию переменного магнитного поля магнитом, магнитное поле которого измеряется на поверхности земли посредством размещения магнитометров для осуществления магнитных измерений, которые используются для определения положения комбайна бурового типа относительно магнитометров.
Патент US 5258755 (Кукес) описывает систему наведения магнитного поля для направления подвижного поддерживающего устройства, такого как буровой снаряд, относительно неподвижной цели, такой как целевая буровая скважина. Система содержит два источника переменного магнитного поля, которые устанавливаются в воротник бура в буровом снаряде, так что источники переменного магнитного поля могут вставляться в буровой скважине, подлежащей бурению. Одним из источников переменного магнитного поля является соленоид, совмещенный по оси с воротником бура, который генерирует переменное магнитное поле посредством приведения в действие переменным электрическим током. Другим источником переменного магнитного поля является постоянный магнит, который устанавливается перпендикулярно оси воротника бура и который вращается с буровым снарядом для создания переменного магнитного поля. Система дополнительно содержит трехкомпонентный индукционный магнитометр, который может вставляться в целевую буровую скважину для выполнения магнитных измерений переменных магнитных полей, генерируемых источниками переменного магнитного поля. Местоположение буровой скважины, подлежащей бурению, относительно цели определяется посредством обработки данных магнитных измерений, полученных от двух источников переменного магнитного поля.
Патент US 5589755 (Кукес) описывает способ определения расстояния и направления от первой буровой скважины до второй буровой скважины, который включает генерирование с помощью вращающегося источника магнитного поля в первом местоположении во второй буровой скважине, эллиптически поляризованного магнитного поля в зоне первой буровой скважины. Способ дополнительно включает расположение датчиков в пункте наблюдения в первой буровой скважине для выполнения магнитных измерений переменного магнитного поля, генерируемого вращающимся источником магнитного поля. Источником магнитного поля является постоянный магнит, который закрепляется в немагнитную часть бурильной трубы, которая расположена в буровом снаряде сразу за буровым долотом. Магнит устанавливается в бурильной трубе, так что ось магнита, проходящая с севера на юг, перпендикулярна оси вращения бурового долота. Расстояние и направление от первой буровой скважины до второй буровой скважины определяются посредством обработки данных магнитных измерений, полученных в результате вращения источника магнитного поля.
В патенте US 4621698 (Питтард и др.) источники магнитных полей размещаются на заднем конце устройства для ударного бурения или за ним. В патенте US 5002137 (Дикенсон и др.) источник магнитного поля размещается в комбайне бурового типа ударного действия.
В патенте US 5258755 (Кукес) источники магнитных полей размещаются в обычном воротнике бура, который находится за буровым снарядом, который содержит буровое долото и электродвигатель буровой установки. В патенте US 5589755 (Кукес) источник магнитного поля расположен в части бурильной трубы, которая находится между буровым долотом и электродвигателем буровой установки.
Существует необходимость в устройстве для соединения в бурильную колонну, которое приспособлено для выполнения, по меньшей мере, одной функции в бурильной колонне в дополнение к обеспечению и поддерживанию источника магнитного поля. Кроме того, существует необходимость в таком устройстве для соединения в бурильную колонну, где бурильная колонна содержит долото для роторного бурения.
Сущность изобретения
Настоящее изобретение относится к устройству, которое приспособлено для соединения в бурильную колонну, при этом устройство приспособлено для выполнения, по меньшей мере, двух функций в бурильной колонне. Функции включают первую функцию и вторую функцию, где второй функцией является функция поддержания источника магнитного поля и где первая функция не связана непосредственно с функцией поддержания источника магнитного поля. Таким образом, устройством является магнитное комбинированное устройство для определения расстояния, в котором объединены первая функция и вторая функция. В некоторых вариантах осуществления устройство, предпочтительно, приспособлено для соединения в бурильную колонну, которая содержит долото для роторного бурения.
Согласно первому аспекту настоящее изобретение является усовершенствованием устройства, приспособленного для соединения в бурильную колонну, в котором устройство приспособлено для выполнения первой функции в бурильной колонне, в котором усовершенствование включает источник магнитного поля, соединенный с устройством, так что устройство приспособлено для выполнения второй функции в бурильной колонне, где второй функцией является функция поддержания источника магнитного поля и где первая функция не связана непосредственно с функцией поддержания источника магнитного поля.
Согласно второму аспекту изобретения бурильная колонна содержит долото для роторного бурения и устройство, приспособленное для соединения в бурильную колонну для использования при бурении с долотом для роторного бурения.
Первая функция может включать любую функцию, которая не связана непосредственно с функцией поддержания источника магнитного поля и которая является не только функцией обеспечения длины бурильной трубы или длины воротника, в котором поддерживается источник магнитного поля.
Другими словами, устройство выполнено с возможностью осуществлять функцию, связанную с бурением, которая является независимой от функции поддержания источника магнитного поля, так что устройство не увеличивает длину бурильной колонны для выполнения функции поддержания источника магнитного поля. В результате, предпочтительно, длина устройства не увеличивается вследствие его приспособления для выполнения функции поддержания источника магнитного поля.
Устройство может характеризоваться первой функцией. В качестве первого примера устройством может быть стабилизатор, в этом случае первой функцией является стабилизирующая функция. В качестве второго примера устройством может быть расширитель, в этом случае первой функцией является расширяющая функция. В качестве третьего примера устройством может быть долото для роторного бурения, в этом случае первой функцией является функция бурения. В качестве четвертого примера устройством может быть соединитель бурового долота, такого как втулка долота, в этом случае первой функцией является функция соединения бурового долота.
В качестве пятого примера устройством может быть электродвигатель буровой установки или его компонент или подкомпонент, в этом случае первой функцией является функция приведения в действе бурового долота. Типичные подкомпоненты электродвигателя буровой установки, который может быть приспособлен для выполнения функции поддержания источника магнитного поля, включают разгрузочный переводник, электрическую часть, передачу, карданный вал, подшипниковую часть, переводник с перенарезаемой резьбой в бурильной колонне, корпус электродвигателя буровой установки и скважинный кривой переводник. Типичные подкомпоненты электродвигателя буровой установки, который может быть приспособлен для выполнения функции поддержания источника магнитного поля, включают статор, ротор, универсальный шарнир и гибкое сочленение.
В качестве шестого примера устройством может быть отклоняющее устройство или его компоненты или подкомпоненты, в этом случае первой функцией является функция отклонения. В качестве седьмого примера устройством может быть устройство связи, такое как устройство для измерения при бурении, в этом случае первой функцией является функция связи.
Источник магнитного поля может содержать один магнит или множество магнитов. Магнит для использования в настоящем изобретении может состоять из электромагнита (такого как соленоид) или постоянного магнита, и множество магнитов могут включать только электромагниты, только постоянные магниты или могут содержать комбинацию электромагнитов и постоянных магнитов. В предпочтительных вариантах осуществления источник магнитного поля состоит из множества постоянных магнитов. Постоянные магниты, используемые в настоящем изобретении, могут иметь любой размер и могут быть относительно плоскими или могут быть удлиненными.
Источник магнитного поля имеет ось источника магнитного поля, которая определяется его магнитными полюсами. Следовательно, каждый электромагнит и постоянный магнит имеет ось магнита, которая определяется его магнитными полюсами. Устройство имеет ось устройства, которая обычно является осью вращения устройства, когда оно соединено в бурильную колонну.
Ось источника магнитного поля и ось каждого магнита могут быть ориентированы в любом направлении относительно оси устройства в зависимости от заданной геометрии магнитного поля, генерируемого источником магнитного поля. Разные магниты могут быть ориентированы в разных направлениях относительно оси устройства или все магниты могут быть ориентированы в одном направлении относительно оси устройства. Магниты также могут быть совмещены таким образом, что они располагаются в общем полярном направлении, или они могут быть совмещены таким образом, что их полярные направления изменяются на обратные. В предпочтительных вариантах осуществления все магниты соединяются с устройством таким образом, что они ориентируются в одном направлении относительно оси устройства, и таким образом, что они совмещаются в общем полярном направлении.
Предпочтительно, ось источника магнитного поля и ось каждого магнита могут быть ориентированы таким образом, что они или, по существу, параллельны оси устройства, или, по существу, перпендикулярны оси устройства. Например, некоторые магниты могут быть ориентированы таким образом, что их оси, по существу, параллельны оси устройства, в то время как остальные магниты могут быть ориентированы таким образом, что их оси, по существу, перпендикулярны оси устройства.
В предпочтительных вариантах осуществления каждый из множества магнитов соединен с устройством таким образом, что ось каждого магнита, по существу, перпендикулярна оси устройства, так что вращение устройства вокруг своей оси приводит к созданию переменного магнитного поля, генерируемого магнитами.
Источник магнитного поля может быть соединен с устройством любым способом, который обеспечит создание комбинированного устройства, способного выполнять как первую функцию, так и вторую функцию. Например, магниты могут быть образованы как одно целое с устройством или магниты могут быть установлены на устройстве или в нем для соединения источника магнитного поля с устройством. Магниты могут быть установлены на устройстве или в нем любым подходящим способом, который будет обеспечивать удержание магнитов устройством без существенного взаимного влияния на магнитные свойства магнитов.
Источник магнитного поля, предпочтительно, соединяется с устройством таким образом, что он, по существу, изолирован от материалов, которые имеют относительно высокую магнитную проницаемость. Изоляция источника магнитного поля от магнитных материалов обеспечивает повышенный контроль параметров магнитного поля или полей, генерируемых источником магнитного поля.
Более конкретно, источник магнитного поля, предпочтительно, соединяется с устройством таким образом, что он, по существу, окружается относительно немагнитным материалом. В некоторых предпочтительных вариантах осуществления целое устройство может быть выполнено из относительно немагнитного материала. Любой относительно немагнитный материал, который пригоден для использования в устройстве, может быть использован. В предпочтительных вариантах осуществления подходящим немагнитным материалом является немагнитная сталь.
В первом предпочтительном варианте осуществления устройством является стабилизатор, так что первой функцией является стабилизирующая функция. Стабилизатор может состоять из любого пригодного стабилизирующего устройства. Предпочтительно, стабилизатором является стабилизатор вращающегося типа с элементами стабилизатора, которые вращаются с корпусом стабилизатора во время использования. Стабилизатор может также выполнять вспомогательную функцию расширения как часть первой функции.
В качестве альтернативы, в качестве варианта первого предпочтительного варианта осуществления устройство может состоять из расширителя, так что первой функцией является функция расширения. Расширитель может также выполнять вспомогательную стабилизирующую функцию как часть первой функции. Расширитель может также содержать любое пригодное расширительное устройство, в том числе расширитель лопастного типа, шарошечный расширитель и т.д.
В целях настоящего изобретения термин «стабилизатор» включает как стабилизаторы, так и расширители благодаря общим сходным элементам конструкции между стабилизаторами и расширителями.
Стабилизатор имеет ось стабилизатора, содержит корпус стабилизатора и дополнительно содержит множество элементов стабилизатора, таких как лопасти стабилизатора, расположенные с интервалом по окружности вокруг корпуса стабилизатора. Элементы стабилизатора образуют пазы стабилизатора, расположенные с интервалом по окружности между элементами стабилизатора. Элементы стабилизатора могут быть образованы как одно целое с корпусом стабилизатора или иначе могут быть установлены на корпусе стабилизатора. В корпусе стабилизатора образовано отверстие стабилизатора, которое, в целом, параллельно оси стабилизатора.
Стабилизатор, предпочтительно, полностью или в основном выполнен из относительно немагнитного материала, такого как немагнитная сталь.
В первом предпочтительном варианте осуществления источник магнитного поля, предпочтительно, содержит множество постоянных магнитов. Постоянные магниты могут быть относительно плоскими или могут быть удлиненными. Предпочтительно, магниты соединены со стабилизатором таким образом, что оси всех магнитов как, по существу, параллельны друг другу, так и, по существу, перпендикулярны оси стабилизатора и, предпочтительно, каждый из магнитов совмещен в одном полярном направлении.
Множество магнитов может быть соединено со стабилизатором в любом местоположении на стабилизаторе или в нем. Например, магниты могут устанавливаться или удерживаться на корпусе стабилизатора или в нем, на элементах стабилизатора или в пазах стабилизатора. Если магниты являются удлиненными, то магниты, предпочтительно, устанавливаются или удерживаются на корпусе стабилизатора или в нем так, что они проходят поперек в корпусе стабилизатора между двумя пазами стабилизатора, и так, что они проходят радиально между отверстием стабилизатора и, по меньшей мере, одним из элементов стабилизатора. Это дает возможность соединять магниты со стабилизатором без увеличения длины стабилизатора и обеспечивать защиту магнитов элементами стабилизатора.
Наиболее предпочтительно, множество магнитов содержит первую совокупность удлиненных постоянных магнитов, которая проходит поперек в корпусе стабилизатора между первой парой пазов стабилизатора, и, наиболее предпочтительно, множество магнитов дополнительно содержит вторую совокупность удлиненных постоянных магнитов, которая проходит поперек в корпусе стабилизатора между второй парой пазов стабилизатора.
Во втором предпочтительном варианте осуществления бурильная колонна содержит долото для роторного бурения, и устройством является долото для роторного бурения, так что первой функцией является функция бурения. Буровое долото может содержать любое пригодное долото для роторного бурения, включая коническое шарошечное долото, неподвижное шарошечное долото, такое как натуральное алмазное долото, или поликристаллическое алмазное долото (PDC) и колонковое долото.
Буровое долото, предпочтительно, содержит множество неподвижных или подвижных элементов для роторного бурения, расположенных рядом с удаленным концом бурового долота, резьбового соединителя, расположенного рядом с ближним концом бурового долота, и шейки долота, расположенной между удаленным концом бурового долота и ближним концом бурового долота. Буровое долото может дополнительно содержать одну или более «торцевых прорезей», или продольные пазы, или продольные выемки на наружной поверхности бурового долота, которые обеспечивают прохождение циркулирующей жидкости и осыпи за буровое долото. Буровое долото имеет ось и отверстие, которое проходит через буровое долото в основном параллельно оси бурового долота.
Буровое долото, предпочтительно, полностью или в основном выполнено из относительно немагнитного материала, такого как немагнитная сталь.
Во втором предпочтительном варианте осуществления источник магнитного поля, предпочтительно, соединен с буровым долотом таким образом, что ось источника магнитного поля, по существу, перпендикулярна оси бурового долота. Предпочтительно, источник магнитного поля состоит из множества постоянных магнитов. Постоянные магниты могут быть относительно плоскими или могут быть удлиненными. Предпочтительно, магниты соединены с буровым долотом таким образом, что оси всех магнитов являются, по существу, как параллельными друг другу, так и, по существу, перпендикулярными оси бурового долота, и, предпочтительно, каждый из магнитов совмещен в одном полярном направлении.
Множество магнитов может быть соединено с буровым долотом в любом местоположении на буровом долоте или в нем. Например, магниты могут устанавливаться или удерживаться на буровом долоте или в нем среди режущих элементов вдоль шейки долота или даже вдоль резьбового соединителя. Магниты могут устанавливаться в выемку на наружной поверхности бурового долота, так что магниты защищены во время использования бурового долота. Если магниты являются удлиненными, то они, предпочтительно, устанавливаются таким образом, что проходят поперек в буровом долоте между двумя торцевыми прорезями, и таким образом, что они проходят радиально между отверстием бурового долота и частью с полным диаметром. Это дает возможность соединять магниты с буровым долотом без увеличения длины бурового долота и обеспечивает защиту части с полным диаметром бурового долота.
В третьем предпочтительном варианте осуществления устройством является электродвигатель буровой установки, так что первой функцией является функция приведения в действие бурового долота. Электродвигатель буровой установки может содержать любой тип электродвигателя буровой установки, который пригоден для использования в бурильной колонне, предпочтительно, электродвигатель для роторного бурения, такой как электродвигатель положительного смещения (PDM) или турбинный электродвигатель.
Наиболее предпочтительно, электродвигателем буровой установки является электродвигатель положительного смещения (PDM), который содержит электрическую часть, имеющую ротор со спиральными лопастями и статор со спиральными лопастями, а также карданный вал, соединенный с указанным ротором. Электродвигатель буровой установки может также содержать другие компоненты и подкомпоненты, такие как разгрузочный переводник, передачу, гибкое сочленение, подшипниковую часть, переводник с перенарезаемой резьбой в бурильной колонне, скважинный кривой переводник, соединитель бурового долота и корпус электродвигателя буровой установки. Электродвигатель буровой установки имеет ось электродвигателя буровой установки.
В третьем предпочтительном варианте осуществления источник магнитного поля, предпочтительно, содержит множество постоянных магнитов. Постоянные магниты могут быть относительно плоскими или могут быть удлиненными. Предпочтительно, магниты соединены с электродвигателем буровой установки таким образом, что оси всех магнитов как, по существу, параллельны друг другу, так и, по существу, перпендикулярны оси электродвигателя буровой установки, и, предпочтительно, каждый из магнитов совмещен в одном полярном направлении.
Множество магнитов может быть соединено с электродвигателем для буровой установки в любом местоположении на электродвигателе для буровой установки или в нем, в том числе на любом компоненте или подкомпоненте электродвигателя буровой установки или в них. Например, магниты могут устанавливаться или удерживаться на роторе, статоре, карданном валу, разгрузочном переводнике, передаче, гибком сочленении, подшипниковой части, переводнике с перенарезаемой резьбой в бурильной колонне, скважинном кривом переводнике, соединителе бурового долота и корпусе электродвигателя буровой установки или в них.
Предпочтительно, магниты соединены с электродвигателем буровой установки таким образом, что они, по существу, окружены относительно немагнитным материалом. В качестве альтернативы или дополнительно магниты могут устанавливаться на компоненте или подкомпоненте электродвигателя буровой установки или в нем, который, по существу, выполнен из относительно немагнитного материала, такого как немагнитная сталь.
Концепции, используемые в предпочтительных вариантах осуществления, описанных выше, могут использоваться для других устройств, которые приспособлены для соединения в бурильную колонну для создания устройства, которое выполняет функцию поддержания источника магнитного поля и, по меньшей мере, еще одну функцию в бурильной колонне.
Краткое описание чертежей
Варианты осуществления настоящего изобретения будут описаны со ссылкой на сопроводительные чертежи, на которых:
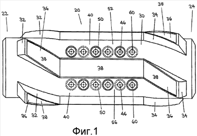
фиг.1 изображает вид сбоку стабилизатора в соответствии с предпочтительным вариантом осуществления настоящего изобретения;
фиг.2 изображает продольный вид в разрезе стабилизатора на фиг.1;
фиг.3 изображает поперечный вид в разрезе стабилизатора на фиг.1;
фиг.4 изображает вид сбоку долота для роторного бурения конического шарошечного типа в соответствии с предпочтительным вариантом осуществления настоящего изобретения;
фиг.5 изображает вид сбоку долота для роторного бурения неподвижного шарошечного типа в соответствии с предпочтительным вариантом осуществления настоящего изобретения;
фиг.6 изображает схематический вид сбоку двигателя буровой установки положительного смещения в соответствии с предпочтительным вариантом осуществления настоящего изобретения.
Подробное описание предпочтительного варианта осуществления изобретения
Настоящее изобретение в основном относится к устройству, которое приспособлено для соединения в бурильную колонну и которое приспособлено для выполнения, по меньшей мере, двух функций в бурильной колонне. В частности, второй функцией является функция поддержания источника магнитного поля.
Первая функция не связана непосредственно со второй функцией. Другими словами, первая функция не ограничивается наличием источника магнитного поля или обеспечением функции поддержания источника магнитного поля.
Настоящее изобретение дает возможность применять устройства, которые могут быть использованы для конкретных целей в бурильной колонне, также при выполнении способов магнитной дальнометрии, таким образом, исключая необходимость во включении отдельного магнитного устройства для измерения расстояния в бурильную колонну для осуществления способов магнитной дальнометрии.
На фиг.1-3 изображен первый предпочтительный вариант осуществления изобретения, в котором устройство представляет собой стабилизатор (20), и первой функцией является стабилизирующая функция. Стабилизатор (20) может также выполнять вспомогательную расширительную функцию или стабилизатор (20) может служить в основном в качестве расширителя и выполнять вспомогательную стабилизирующую функцию. В конечном счете, стабилизатор (20) может служить только в качестве расширителя и, таким образом, выполнять частично вспомогательную стабилизирующую функцию или не выполнять ее.
Как показано на фиг.1, стабилизатор (20) имеет верхний конец (22) и нижний конец (24). Верхний резьбовой соединитель (26) предусмотрен на верхнем конце (22), а нижний резьбовой соединитель (28) предусмотрен на нижнем конце (24). Резьбовые соединители (26, 28) обеспечивают соединение стабилизатора (20) в бурильную колонну (не показана).
Стабилизатор (20), как изображено на фиг.1-3, предназначен для использования в качестве наддолотного стабилизатора в бурильной колонне, которая содержит роторный управляемый буровой снаряд (не показан), который содержит штыревой соединитель для соединения долота для роторного бурения (не показано) в буровом снаряде. Стабилизатор (20), как изображено на фиг.1-3, также предназначен для использования с долотом для роторного бурения, которое содержит штыревой соединитель для соединения бурового долота с буровым снарядом.
В результате, верхний резьбовой соединитель (26) и нижний резьбовой соединитель (28) являются корпусными соединителями, так что стабилизатор (20) выполняет функцию адаптера для соединения бурового долота с буровым снарядом. Попеременно один или оба из верхнего резьбового соединителя (26) и нижнего резьбового соединителя (28) могут содержать штыревой соединитель для обеспечения соединения стабилизатора (20) с корпусными соединителями на бурильной колонне.
Стабилизатор (20) содержит корпус (30) стабилизатора и дополнительно содержит множество элементов (32) стабилизатора, которые расположены с интервалом по окружности вокруг корпуса (30) стабилизатора. Стабилизатор (20) может содержать любой элемент из элементов (32) стабилизатора. В предпочтительном варианте осуществления изобретения стабилизатор (20) состоит из четырех элементов (32) стабилизатора.
Элементы (32) стабилизатора содержат лопасти (34) стабилизатора. Лопасти (34) стабилизатора содержат карманы (36), которые приспособлены для установки твердосплавного материала (38), такого как карбид вольфрама, для увеличения срока службы и износостойкости элементов стабилизатора. Как показано на фиг.1-3, элементы (32) стабилизатора выполнены как одно целое с корпусом (30) стабилизатора, но в качестве альтернативы элементы (32) стабилизатора могут быть закреплены на корпусе (30) стабилизатора посредством сварки, болтовых соединений или другим способом.
Элементы (32) стабилизатора и корпус (30) стабилизатора вместе образуют пазы (40) стабилизатора, которые расположены с интервалом по окружности вокруг корпуса (30) стабилизатора между элементами (32) стабилизатора.
Как показано на фиг.2-3, стабилизатор (20) имеет ось (42) стабилизатора, и в корпусе (30) стабилизатора образовано отверстие (44) стабилизатора. Отверстие (44) стабилизатора проходит через стабилизатор (20) от верхнего конца (22) к нижнему концу (24) и в основном параллельно оси (42) стабилизатора.
В предпочтительном варианте осуществления стабилизатор (20), по существу, выполнен из относительно немагнитного материала, такого как немагнитная сталь.
Стабилизатор (20) приспособлен для выполнения функции поддержания источника магнитного поля в качестве второй функции в дополнение к стабилизирующей функции в качестве первой функции. В результате, источник магнитного поля соединяется со стабилизатором (20) для обеспечения комбинированного устройства, которое приспособлено для выполнения как стабилизирующей функции, так и функции поддержания источника магнитного поля.
Способ, местоположение и степень, до которой источник магнитного поля соединяется со стабилизатором (20), будут зависеть от природы источника магнитного поля.
Если источник магнитного поля состоит из одного или более электромагнитов, то должен быть установлен электрический источник для возбуждения электромагнита, в результате чего в корпусе (30) стабилизатора может быть предусмотрена полость (не показана) для источника магнитного поля для соединения компонентов электромагнита со стабилизатором (20).
Если источник магнитного поля состоит из одного или более постоянных магнитов, то способ, в соответствии с которым постоянные магниты соединяются со стабилизатором (20), будет зависеть до некоторой степени от размера и формы постоянных магнитов. Если постоянные магниты являются относительно плоскими, то они могут соединяться со стабилизатором (20) посредством установки на поверхность корпуса (30) стабилизатора или элементов (32) стабилизатора. Если постоянные магниты являются удлиненными, то они могут соединяться со стабилизатором (20) посредством установки или удержания полностью или частично в корпусе (30) стабилизатора или на элементах (32) стабилизатора.
В предпочтительном варианте осуществления источник магнитного поля состоит из множества удлиненных постоянных магнитов (46). Каждый из магнитов (46) имеет ось (48) магнита, которая определяется полюсами магнита (46).
Магниты (46) удерживаются в гнездах (50) магнитов, которые образованы в корпусе (30) стабилизатора. В предпочтительном варианте осуществления все гнезда (50) магнитов, по существу, параллельны друг другу и, по существу, перпендикулярны оси (42) стабилизатора. При размещении магнитов (46) в гнездах (50) магнитов, они, предпочтительно, также ориентированы таким образом, что их оси (48) как, по существу, параллельны друг другу, так и, по существу, перпендикулярны оси (42) стабилизатора. Магниты (46) также совмещены в одном полярном направлении, когда они расположены в гнездах (50) магнитов, так что магнитные поля, создаваемые магнитами (46), дополняют друг друга и вместе определяют ось источника магнитного поля, которая совпадает с осями (48) магнитов.
Любое количество магнитов (46) может быть соединено со стабилизатором (20). В предпочтительном варианте осуществления изобретения гнезда (50) магнитов выполнены для обеспечения первой совокупности (52) магнитов, которая проходит между первой парой (54) пазов (40) стабилизатора, и второй совокупности (56)магнитов, которая проходит между второй парой (58) пазов (40) стабилизатора. Следовательно, каждое из гнезд (50) магнитов проходит радиально между элементами (32) стабилизатора и отверстием (44) стабилизатора, так что магниты (46) защищены элементами (32) стабилизатора.
В качестве альтернативы, гнезда (50) магнитов могут быть включены в элементы (32) стабилизатора, так что гнезда (50) магнитов размещаются в самых толстых и прочных частях стабилизатора (20).
Как показано на фиг.1-3, каждый из первой совокупности (52) магнитов и второй совокупности (56)магнитов выполнен для вмещения максимального количества, равного шести магнитам (46), так что максимальное количество из двенадцати магнитов (46) в качестве источника магнитного поля может быть соединено со стабилизатором (20). Нет необходимости в размещении магнита (46) в каждом гнезде (50) магнита, в результате чего меньшее количество, чем двенадцать магнитов (46), может быть соединено со стабилизатором (20).
В предпочтительном варианте осуществления количество и местоположения гнезд (50) магнитов, как описано выше, предназначено для обеспечения соединения магнитов (46) со стабилизатором (20) без увеличения длины стабилизатора (20). Эта отличительная особенность настоящего изобретения является важной, когда стабилизатор (20) предназначен для размещения между буровым снарядом (таким как электродвигатель буровой установки или роторное управляемое устройство) и буровым долотом, поскольку любая дополнительная длина между буровым снарядом и буровым долотом будет отрицательно влиять на степени набора угла искривления ствола скважины при направленном бурении и срок службы бурового снаряда.
Гнезда (50) магнитов в каждой из совокупностей (52, 56) магнитов, предпочтительно, выполнены посредством высверливания отверстий в корпусе (30) стабилизатора.
В предпочтительном варианте осуществления гнезда (50) магнитов высверливаются поочередно с противоположных сторон для обеспечения вставки магнитов (46) и удаления их из гнезд (50) магнитов с противоположных сторон, таким образом упрощая техническое обслуживание магнитов (46) и стабилизатора (20).
Магниты (46) могут удерживаться в гнездах (50) магнитов любым пригодным способом. Например, магниты (46) могут закрепляться в гнездах (50) магнитов с помощью клея или посредством сварки. В качестве альтернативы, магниты (46) могут закрепляться в гнездах (50) магнитов с помощью прессовой посадки, горячей посадки или посадки с расширением. Предпочтительно, магниты (46) удерживаются в гнездах (50) магнитов с помощью разъемных фиксаторов (60), таких как стопорные винты, штыри, стопорные кольца или упорные кольца. В предпочтительном варианте осуществления магниты (46) удерживаются в гнездах (50) магнитов с использованием разъемных фиксаторов (60), которыми, предпочтительно, являются или спиральные стопорные кольца или упорные кольца.
На фиг.4 и 5 изображен второй предпочтительный вариант осуществления изобретения, в котором устройство представляет собой долото для роторного бурения, и первой функцией является функция бурения. На фиг.4 долото для роторного бурения представляет собой долото для роторного бурения конического шарошечного типа. На фиг.5 долото для роторного бурения представляет собой долото для роторного бурения неподвижного шарошечного типа.
Как показано на фиг.4 и 5, долото (80) для роторного бурения имеет ближний конец (82) и дальний конец (84). Резьбовой соединитель (86) предусмотрен на ближнем конце (82) для обеспечения соединения бурового долота (80) в бурильную колонну. Как изображено на фиг.4 и 5, резьбовым соединителем (86) является штыревой соединитель. В качестве альтернативы, резьбовым соединителем (86) может быть корпусный соединитель.
Буровое долото (80) дополнительно содержит множество режущих элементов (88), прилегающих к дальнему концу (84) долота (80) для роторного бурения, шейку долота (90), расположенную между ближним концом (82) и дальним концом (84), и множество продольных выемок (92) вдоль шейки (90) долота для обеспечения прохождения циркулирующей жидкости и осыпи за буровое долото (80).
В буровом долоте (80), изображенном на фиг.4, режущие элементы (88) состоят из конических шарошек. В буровом долоте (80), изображенном на фиг.5, режущие элементы (88) состоят из алмазных вставок, таких как поликристаллические алмазные (PDC) вставки.
Буровое долото (80) имеет ось (94) бурового долота и отверстие (96) бурового долота, которое проходит через буровое долото (80) от ближнего конца (82) до дальнего конца (84) и в основном является параллельным оси (94) бурового долота.
В предпочтительных вариантах осуществления, изображенных на фиг.4 и фиг.5, буровое долото (80), по существу, выполнено из относительно немагнитного материала, такого как немагнитная сталь.
Буровое долото (80) приспособлено для выполнения функции поддержания источника магнитного поля в качестве второй функции в дополнение к функции бурения в качестве первой функции. В результате, источник магнитного поля соединен с буровым долотом (80) для обеспечения комбинированного устройства, которое приспособлено для выполнения как функции бурения, так и функции поддержания источника магнитного поля.
Как в случае стабилизатора (20), способ, местоположение и степень, до которой источник магнитного поля соединяется с буровым долотом (80), будут зависеть от природы источника магнитного поля. Соображения, которые используются при соединении источника магнитного поля со стабилизатором (20), будут одинаково применяться в отношении соединения источника магнитного поля с буровым долотом (80).
В предпочтительных вариантах осуществления бурового долота (80) источник магнитного поля состоит из множества постоянных магнитов (98). Каждый из постоянных магнитов (98) имеет ось (100) магнита, которая определяется полюсами магнита (98).
Магниты (98) могут быть относительно плоскими или могут быть удлиненными. Если магниты (98) являются удлиненными, то они могут, например, удерживаться в гнездах (не показаны) магнитов таким же способом, как магниты (46) удерживаются в гнездах (50) магнитов стабилизатора (20).
Однако, как изображено на фиг.4 и 5, магниты (98) являются относительно плоскими и установлены на наружной поверхности (102) бурового долота (80).
Предпочтительно, магниты (98) устанавливаются на передней поверхности (104) одной или более продольных выемок (92), так что они относительно защищены во время использования бурового долота (80). В качестве альтернативы, магниты (98) могут быть установлены на относительно более толстых и прочных частях бурового долота (80) или в них.
Предпочтительно, магниты (98) могут устанавливаться на наружной поверхности (102) бурового долота (80) любым пригодным способом, в том числе с помощью клея или посредством сварки.
Когда магниты (98) соединены с буровым долотом (80), то они, предпочтительно, ориентированы таким образом, что их оси (100) как, по существу, параллельны друг другу, так и, по существу, перпендикулярны оси (94) бурового долота. Магниты (98), предпочтительно, также совмещены в одном полярном направлении, так что магнитные поля, создаваемые магнитами (98), дополняют друг друга и вместе определяют ось источника магнитного поля, которая совпадает с осями (100) магнитов.
Количество и местоположения магнитов (98), которые соединяются с буровым долотом (80), предпочтительно, выбираются для обеспечения соединения магнитов (98) с буровым долотом (80) без увеличения длины бурового долота (80) для избежания отрицательного воздействия на степень набора угла искривления ствола скважины при направленном бурении и срок службы бурового снаряда.
На фиг.6 изображен третий предпочтительный вариант осуществления изобретения, в котором устройство представляет собой электродвигатель (120) буровой установки, и первой функцией является функция приведения в действие бурового долота.
Как показано на фиг.6, электродвигателем (120) буровой установки является электродвигатель положительного смещения (PDM), который содержит электрическую часть (122), включающую ротор (124) со спиральными лопастями, статор (126) со спиральными лопастями и карданный вал (128), соединенный с ротором (124). Как показано на фиг.6, электродвигатель (120) буровой установки также содержит разгрузочный переводник (130), передачу (132), подшипниковую часть (134), соединитель (136) бурового долота и корпус (138) электродвигателя буровой установки. Электродвигатель (120) буровой установки имеет ось (140) электродвигателя буровой установки.
Электродвигатель (120) буровой установки приспособлен для выполнения функции поддержания источника магнитного поля в качестве второй функции в дополнение к функции приведения в действие бурового долота в качестве первой функции. В результате, источник магнитного поля соединяется с электродвигателем (120) буровой установки для обеспечения комбинированного устройства, которое приспособлено для выполнения как функции приведения в действие бурового долота, так и функции поддержания источника магнитного поля.
Как в случае стабилизатора (20) и бурового долота (80), способ, местоположение и степень, до которой источник магнитного поля соединяется с электродвигателем (120) буровой установки, будут зависеть от природы источника магнитного поля, и соображения, которые учитываются при соединении источника магнитного поля со стабилизатором (20) и буровым долотом (80), будут одинаково учитываться в отношении соединения источника магнитного поля с электродвигателем (120) буровой установки.
В предпочтительных вариантах осуществления электродвигателя (120) буровой установки источник магнитного поля состоит из множества постоянных магнитов (142). Каждый из магнитов (142) имеет ось (144) магнита, которая определяется полюсами магнита (142).
Магниты (142) могут быть относительно плоскими или могут быть удлиненными. Если магниты являются удлиненными, то они могут, например, удерживаться в гнездах (не показаны) магнитов таким же способом, как магниты (46) удерживаются в гнездах (50) магнитов стабилизатора (20). Если магниты являются относительно плоскими, то они могут, например, закрепляться или удерживаться на электродвигателе буровой установки или в нем тем же самым способом, как магниты (98) закрепляются на буровом долоте (80).
Магниты (142) схематически изображены на фиг.6 для индикации возможных местоположений для соединения магнитов с электродвигателем буровой установки, а не для изображения конкретной предпочтительной конфигурации для магнитов (142).
Как видно на фиг.6, магниты (142) могут соединяться с любой частью электродвигателя (120) буровой установки или с любым компонентом или подкомпонентом электродвигателя (120) буровой установки. Кроме того, магниты могут быть или относительно плоскими, или могут быть удлиненными.
Предпочтительно, магниты (142) соединяются с электродвигателем (120) буровой установки таким образом, что они, по существу, окружаются относительно немагнитным материалом, таким как немагнитная сталь.
Когда магниты (142) соединены с электродвигателем (120) буровой установки, то они, предпочтительно, ориентированы таким образом, что их оси (144) как, по существу, параллельны друг другу, так и, по существу, перпендикулярны оси (140) электродвигателя буровой установки. Магниты (142), предпочтительно, также совмещены в общем полярном направлении, так что магнитные поля, создаваемые магнитами (142), дополняют друг друга и вместе определяют ось источника магнитного поля, которая совпадает с осями (144) магнитов.
Количество и местоположения магнитов (142), которые соединяются с электродвигателем (120) буровой установки, предпочтительно, выбираются для обеспечения соединения магнитов (142) с электродвигателем (120) буровой установки без увеличения длины электродвигателя (120) буровой установки для избежания отрицательного воздействия на степень набора угла искривления ствола скважины при направленном бурении и срок службы бурового снаряда.
Принципы настоящего изобретения могут аналогично применяться для других устройств, для обеспечения комбинированного устройства, которое приспособлено для выполнения как функции бурения, так и функции поддержания источника магнитного поля.
Устройства согласно настоящему изобретению пригодны для выполнения функций бурения и для выполнения активных способов измерения расстояния магнитными устройствами.
Когда источник магнитного поля состоит из одного или более электромагнитов, то магниты могут возбуждаться источником переменного тока для создания переменного магнитного поля, которое как исключает воздействия магнитного поля земли, так и создает «характерное» магнитное поле, которое является различимым в удаленном месте регистрации. Магнитные измерения, которые выполняются на месте регистрации, могут быть обработаны для определения относительных местоположений источника магнитного поля и местоположения цели.
Когда источник магнитного поля состоит из одного или более постоянных магнитов, которые, по существу, ориентированы перпендикулярно оси устройства, то в результате вращения устройства будет создаваться переменное магнитное поле, которое как исключает воздействия магнитного поля земли, так и создает «характерное» магнитное поле, которое является различимым в удаленном месте регистрации. Магнитные измерения, которые выполняются в месте регистрации, могут быть обработаны для определения относительных местоположений источника магнитного поля и местоположения цели.
Формула изобретения
1. Устройство, выполненное с возможностью соединения в бурильную колонну, причем устройство выполнено с возможностью выполнения первой функции в бурильной колонне, отличающееся тем, что устройство включает источник магнитного поля, соединенный с устройством, так что устройство выполнено с возможностью выполнения второй функции в бурильной колонне, в котором второй функцией является функция поддержания источника магнитного поля, и в котором первая функция не связана непосредственно с функцией поддержания источника магнитного поля, в котором устройство образует ось устройства, при этом источник магнитного поля имеет ось источника магнитного поля, и в котором источник магнитного поля соединен с устройством таким образом, что ось источника магнитного поля, по существу, перпендикулярна оси устройства, причем источник магнитного поля содержит множество магнитов, при этом каждый из магнитов имеет ось магнита, причем оси всех магнитов, по существу, параллельны друг другу и, по существу, перпендикулярны оси устройства, и причем каждый из магнитов совмещен в общем полярном направлении.
2. Устройство по п.1, отличающееся тем, что бурильная колонна состоит из долота для роторного бурения, и при этом устройство выполнено с возможностью соединения в бурильную колонну для использования при бурении с долотом для роторного бурения.
3. Устройство по п.1, отличающееся тем, что каждый из множества магнитов состоит из постоянного магнита.
4. Устройство по п.2, отличающееся тем, что выполнено, по существу, из относительно немагнитного материала.
5. Устройство по п.1, отличающееся тем, что представляет собой стабилизатор, так что первой функцией является стабилизирующая функция.
6. Устройство по п.5, отличающееся тем, что стабилизатор содержит корпус стабилизатора, при этом стабилизатор дополнительно состоит из множества элементов стабилизатора, расположенных с интервалом по окружности вокруг корпуса стабилизатора.
7. Устройство по п.6, отличающееся тем, что каждый из множества магнитов состоит из постоянного магнита.
8. Устройство по п.7, отличающееся тем, что стабилизатор содержит пазы стабилизатора, расположенные с интервалом по окружности между элементами стабилизатора, и в котором каждый из магнитов проходит поперек в корпусе стабилизатора, по существу, между двумя из пазов стабилизатора.
9. Устройство по п.8, отличающееся тем, что множество магнитов состоит из первой совокупности магнитов, которая проходит поперек в корпусе стабилизатора, по существу, между первой парой пазов стабилизатора, и в котором множество магнитов дополнительно состоит из второй совокупности магнитов, которая проходит поперек в корпусе стабилизатора, по существу, между второй парой пазов стабилизатора.
10. Устройство по п.9, отличающееся тем, что стабилизатор, по существу, выполнен из относительно немагнитного материала.
11. Устройство по п.2, отличающееся тем, что представляет собой долото для роторного бурения, так что первой функцией является функция бурения.
12. Устройство по п.11, отличающееся тем, что буровое долото содержит: (a) множество элементов для роторного бурения, расположенных рядом с дальним концом бурового долота; (b) резьбовой соединитель, расположенный рядом с ближним концом бурового долота, для соединения бурового долота с бурильной колонной и (c) шейку долота, расположенную между дальним концом бурового долота и ближним концом бурового долота.
13. Устройство по п.12, отличающееся тем, что буровое долото, по существу, выполнено из относительно немагнитного материала.
14. Устройство по п.12, отличающееся тем, что каждый из множества магнитов состоит из постоянного магнита.
15. Устройство по п.14, отличающееся тем, что буровое долото имеет наружную поверхность, и причем каждый из множества магнитов установлен на наружной поверхности бурового долота.
16. Устройство по п.14, отличающееся тем, что буровое долото имеет наружную поверхность, причем наружная поверхность имеет продольно ориентированную выемку и причем, по меньшей мере, один из множества магнитов установлен в выемку.
17. Устройство по п.16, отличающееся тем, что каждый из магнитов установлен на наружной поверхности бурового долота.
18. Устройство по п.16, отличающееся тем, что наружная поверхность бурового долота имеет множество продольно ориентированных выемок, расположенных с интервалом вокруг наружной поверхности бурового долота, и причем каждый из магнитов установлен, по меньшей мере, в одной из множества выемок.
19. Устройство по п.18, отличающееся тем, что каждый из магнитов установлен на наружной поверхности бурового долота таким образом, что каждый из магнитов установлен в одной из множества выемок.
20. Устройство по п.19, отличающееся тем, что буровое долото в основном выполнено из относительно немагнитного материала.
21. Устройство по п.18, отличающееся тем, что каждый из магнитов проходит поперек через буровое долото, в основном, между двумя выемками.
22. Устройство по п.21, отличающееся тем, что множество магнитов содержит первую совокупность магнитов, которая проходит поперек через буровое долото в основном между первой парой выемок, и причем множество магнитов дополнительно содержит вторую совокупность магнитов, которая проходит поперек через буровое долото в основном между второй парой выемок.
23. Устройство по п.22, отличающееся тем, что буровое долото в основном выполнено из относительно немагнитного материала.
24. Устройство по п.1, отличающееся тем, что представляет собой электродвигатель буровой установки, так что первой функцией является функция приведения в действие бурового долота.
25. Устройство по п.24, отличающееся тем, что электродвигатель буровой установки выполнен с возможностью приведения в действие долота для роторного бурения.
26. Устройство по п.25, отличающееся тем, что электродвигателем буровой установки является электродвигатель с положительным смещением, который содержит: (a) электрическую часть, включающую ротор со спиральными лопастями и статор со спиральными лопастями для передачи энергии вращения ротору от циркулирующей жидкости, проходящей через электрическую часть; и (b) карданный вал, соединенный с ротором для приведения в действие долота для роторного бурения.
27. Устройство по п.26, отличающееся тем, что каждый из множества магнитов состоит из постоянного магнита.
28. Устройство по п.27, отличающееся тем, что устройство в основном выполнено из относительно немагнитного материала.
29. Устройство, выполненное с возможностью соединения в бурильную колонну, причем устройство выполнено с возможностью выполнения первой функции в бурильной колонне, отличающееся тем, что устройство включает источник магнитного поля, соединенный с устройством, так что устройство выполнено с возможностью выполнения второй функции в бурильной колонне, в котором второй функцией является функция поддержания источника магнитного поля, в котором первая функция не связана непосредственно с функцией поддержания источника магнитного поля, в котором устройство образует ось устройства, при этом источник магнитного поля имеет ось источника магнитного поля, и в котором источник магнитного поля соединен с устройством таким образом, что ось источника магнитного поля, по существу, перпендикулярна оси устройства, и, кроме того, устройство представляет собой стабилизатор, так что первой функцией является стабилизирующая функция.
30. Устройство по п.29, отличающееся тем, что стабилизатор содержит корпус стабилизатора, при этом стабилизатор дополнительно состоит из множества элементов стабилизатора, расположенных с интервалом по окружности вокруг корпуса стабилизатора.
31. Устройство по п.30, отличающееся тем, что каждый из множества магнитов состоит из постоянного магнита.
32. Устройство по п.31, отличающееся тем, что стабилизатор содержит пазы стабилизатора, расположенные с интервалом по окружности между элементами стабилизатора, и в котором каждый из магнитов проходит поперек в корпусе стабилизатора, по существу, между двумя из пазов стабилизатора.
33. Устройство по п.32, отличающееся тем, что стабилизатор, по существу, выполнен из относительно немагнитного материала.
34. Устройство, выполненное с возможностью соединения в бурильную колонну, причем устройство выполнено с возможностью выполнения первой функции в бурильной колонне, отличающееся тем, что устройство включает источник магнитного поля, соединенный с устройством, так что устройство выполнено с возможностью выполнения второй функции в бурильной колонне, в котором второй функцией является функция поддержания источника магнитного поля, в котором первая функция не связана непосредственно с функцией поддержания источника магнитного поля, в котором устройство образует ось устройства, при этом источник магнитного поля имеет ось источника магнитного поля, и в котором источник магнитного поля соединен с устройством таким образом, что ось источника магнитного поля, по существу, перпендикулярна оси устройства, и, кроме того, устройство представляет собой электродвигатель буровой установки, так что первой функцией является функция приведения в действие бурового долота.
35. Устройство по п.34, отличающееся тем, что электродвигатель буровой установки выполнен с возможностью приведения в действие долота для роторного бурения.
36. Устройство по п.35, отличающееся тем, что электродвигателем буровой установки является электродвигатель с положительным смещением, который содержит: (a) электрическую часть, включающую ротор со спиральными лопастями и статор со спиральными лопастями для передачи энергии вращения ротору от циркулирующей жидкости, проходящей через электрическую часть; и (b) карданный вал, соединенный с ротором для приведения в действие долота для роторного бурения.
37. Устройство по п.36, отличающееся тем, что источник магнитного поля состоит из постоянного магнита.
38. Устройство по п.37, отличающееся тем, что устройство, по существу, выполнено из относительно немагнитного материала.
РИСУНКИ
|
|