|
|
(21), (22) Заявка: 2007129925/03, 06.01.2006
(24) Дата начала отсчета срока действия патента:
06.01.2006
(30) Конвенционный приоритет:
07.01.2005 US 11/031,585
(46) Опубликовано: 10.05.2009
(56) Список документов, цитированных в отчете о поиске:
US 6644408 В2, 11.11.2003. RU 2160357 С2, 10.12.2000. RU 2250354 С2, 20.04.2005. US 4415036 А, 15.11.1983. US 4478286 A, 23.10.1984. WO 98/55732 A, 10.12.1998. GB 2345076 A, 09.12.1999.
(85) Дата перевода заявки PCT на национальную фазу:
07.08.2007
(86) Заявка PCT:
US 2006/000413 20060106
(87) Публикация PCT:
WO 2006/074339 20060713
Адрес для переписки:
101000, Москва, М.Златоустинский пер., 10, кв.15, “ЕВРОМАРКПАТ”, пат.пов. И.А.Веселицкой, рег. 11
|
(72) Автор(ы):
УИЛЛЬЯМС Роналд (US), МАКВИКЕР Ван (US), СТРАТТОН Скотт (US), АЙВС Джейсон (US)
(73) Патентообладатель(и):
БЕЙКЕР ХЬЮЗ ИНКОРПОРЕЙТЕД (US)
|
(54) УЗЕЛ СТВОРЧАТОГО КЛАПАНА С УРАВНИТЕЛЬНЫМ УСТРОЙСТВОМ ДЛЯ ПРИМЕНЕНИЯ В СЛУЧАЯХ ЗАХЛОПЫВАНИЯ ШАРНИРНОЙ ЗАСЛОНКИ С ВЫСОКОЙ СКОРОСТЬЮ
(57) Реферат:
Изобретение относится к клапанам створчатого типа, снабженным уравнительным устройством и используемым в качестве клапанов-отсекателей в скважинах или для управления движением текучей среды в других ситуациях. Задача изобретения установить повреждения для элементов проходного клапана, встроенного в шарнирную заслонку створчатого клапана, при захлопывании заслонки потоком флюида и для верхней ненапорной стороны шарнирной от контакта с управляющей втулкой. Узел створчатого клапана имеет уравнительное устройство с выпускным клапанным элементом, установленным с возможностью перемещения между открытым и закрытым положениями. Особенностью конструкции уравнительного устройства является наличие опоры в виде стопорного элемента, закрепленного на шарнирной заслонке как с осевой, так и с радиальной фиксацией. Кроме того, между этой опорой и выпускным клапанным элементом расположена сжимаемая пружина, поддавливающая выпускной клапанный элемент в направлении закрытого положения. Шарнирная заслонка также имеет на своей ненапорной стороне пару по существу плоских возвышающихся контактных площадок, обеспечивающих взаимодействие шарнирной заслонки с управляющей трубой и препятствующих наползанию деформированного материала на уравнительное отверстие, способного привести к перекрытию этого отверстия или заклиниванию клапанного элемента. 3 н. и 15 з.п. ф-лы, 5 ил.
Область техники, к которой относится изобретение
Настоящее изобретение в целом относится к клапанам створчатого типа, снабжаемым уравнительным устройством и используемым, например, в качестве скважинных клапанов-отсекателей.
Уровень техники
Скважины часто оснащаются клапанами-отсекателями, применяемыми для изоляции участка колонны насосно-компрессорных труб в аварийной ситуации. В качестве клапанов-отсекателей с давних пор используются створчатые клапаны. Створчатые клапаны обычно состоят из изогнутой металлической шарнирной заслонки, выполненной такой формы, чтобы прилегать к кольцевому клапанному седлу в канале колонны насосно-компрессорных труб, перекрывая поток флюида через этот канал. Заслонка шарнирно крепится к внутренним элементам колонны насосно-компрессорных труб с возможностью поворота относительно шарнирной оси между открытым и закрытым положениями. Закрывшийся створчатый клапан обычно открывают с помощью подвижной в осевом направлении управляющей втулки или трубы, воздействующей на ненапорную сторону створчатого клапана и толкающей заслонку в направлении ее открытого положения. Однако открыть створчатый клапан, запертый высокой разностью давлений, сложно. Преодолеть давление флюида, удерживающее заслонку в закрытом положении, бывает очень трудно. Поэтому перед открытием створчатого клапана необходимо сбросить разность давлений на клапане (т.е. уравнять давления по обе стороны шарнирной заслонки). Для этого в шарнирную заслонку можно вмонтировать уравнительный, или стравливающий, клапан.
Створчатые клапаны, снабженные уравнительными устройствами, известны. Двумя примерами клапана с уравнительным устройством являются клапаны по патентам US 4478286 (Fineberg) и US 6644408 (Ives). Оба этих патента принадлежат обладателю прав на настоящее изобретение и включены в данное описание путем ссылки. В обоих патентах описаны створчатые клапаны с шарнирными заслонками, в которых зафиксированы уравнительные клапаны проходного или тарельчатого типа для стравливания давления с напорной стороны створчатого клапана перед его открытием. Несмотря на свою эффективность эти клапаны не вполне приспособлены для работы в условиях захлопывания шарнирной заслонки с высокой скоростью, когда динамические нагрузки столь значительны, что способны привести к повреждению запорного элемента уравнительного устройства при закрытии шарнирной заслонки (т.е. при ее захлопывании). Особую проблему при эксплуатации известных уравнительных клапанов представляет повреждение элементов проходного клапана, встроенного в шарнирную заслонку створчатого клапана, при захлопывании заслонки потоком флюида. В результате шарнирная заслонка может не сработать по своему предназначению – полностью перекрыть поток флюида.
В патенте US 6296061 (Leismer) описан створчатый клапан, снабженный уравнительным устройством, в котором применен управляющий механизм, расположенный в канале управляющего давления и удерживаемый на месте только шарнирно закрепленной рессорой. В патенте US 6079497 (Johnston и др.) описан снабженный уравнительным устройством створчатый клапан, имеющий фиксатор, выполненный в виде консольного лепестка. Ни та, ни другая из упомянутых конструкций не обладает прочностью, достаточной для эффективного сопротивления потенциально разрушительным нагрузкам, возникающим при захлопывании шарнирной заслонки с высокой скоростью. Кроме того, консольный лепесток может быть непригодным для эффективного поддавливания запорного элемента уравнительного устройства на закрытие, поскольку консольный элемент может не обладать достаточной памятью формы, как это свойственно пружине сжатия. Как следствие, в отсутствие значительного перепада давления уравнительное устройство может не закрыться полностью и в любом случае будет пропускать флюид.
Еще одна проблема, осложняющая эксплуатацию обычных створчатых клапанов, снабженных уравнительным устройством, связана с повреждением верхней (ненапорной) стороны шарнирной заслонки от контакта с управляющей втулкой. Шарнирные заслонки выполняют с главными (т.е. обращенными в осевом направлении) поверхностями, которым придают изогнутую форму из естественного условия совпадения их формы в открытом положении с формой окружающей заслонку трубы. Когда участок криволинейной поверхности металла входит в контакт с нижним торцом управляющей втулки, усилия, прикладываемые для открытия шарнирной заслонки, часто деформируют металл заслонки. Поскольку уравнительное устройство обычно совмещают с нижним торцом управляющей втулки, металл при деформации может наползти на клапанный элемент уравнительного устройства, что приведет к выходу этого устройства из строя.
В основу настоящего изобретения положена задача устранения рассмотренных проблем уровня техники.
Краткое изложение сущности изобретения
В изобретении предлагается усовершенствованная конструкция створчатого клапана с уравнительным устройством, который может применяться в скважинах или для управления движением текучей среды в других ситуациях. Предлагаемый в изобретении створчатый клапан особенно подходит для применения в скважинах с высокими скоростями движения потоков флюидов и высокими перепадами давления.
Ниже рассматривается пример выполнения узла створчатого клапана, в шарнирную заслонку которого встроено уравнительное устройство. Уравнительное устройство содержит выпускной клапанный элемент проходного или тарельчатого типа, расположенный с возможностью перемещения между открытым положением, в котором текучая среда может проходить через корпус шарнирной заслонки, и закрытым положением, в котором поток текучей среды через корпус шарнирной заслонки перекрывается. Рассматриваемое в качестве примера уравнительное устройство также характеризуется наличием опоры в виде стопорного элемента, закрепленного на шарнирной заслонке как с осевой, так и с радиальной фиксацией. В предпочтительном на данный момент варианте осуществления изобретения стопорный элемент фиксируется группой пазов, выполненных на напорной стороне шарнирной заслонки для исключения осевого перемещения стопорного элемента относительно шарнирной заслонки. От радиального перемещения относительно корпуса шарнирной заслонки стопорный элемент фиксируется винтом. Кроме того, между вышеупомянутой опорой и выпускным клапанным элементом расположена сжимаемая пружина, поддавливающая выпускной клапанный элемент в направлении закрытого положения.
В рассматриваемом ниже варианте осуществления изобретения шарнирная заслонка имеет на своей ненапорной стороне пару по существу плоских возвышающихся контактных площадок для контакта с управляющей трубой. Эти контактные площадки шарнирной заслонки первыми встречаются с управляющей трубой, когда та перемещается для открытия створчатого клапана. Поскольку контактные площадки практически плоские, они встречаются с нижним торцом трубы плашмя (ровно встык) и препятствуют наползанию деформированного материала на уравнительное отверстие, способному привести к перекрытию этого отверстия или заклиниванию клапанного элемента.
В еще одном предпочтительном варианте осуществления изобретения отверстие уравнительного устройства имеет двойную расточку, предотвращающую контакт выпускного клапанного элемента уравнительного устройства с деформированным материалом шарнирной заслонки от воздействия нижнего торца управляющей втулки.
Очевидно, что предлагаемое в изобретении уравнительное устройство позволяет создать узел створчатого клапана, более подходящий и более надежный в случае высоких скоростей захлопывания шарнирной заслонки, чем обычные уравнительные клапаны, до сих пор применявшиеся в конструкции створчатых клапанов.
Краткое описание чертежей
Ниже осуществление изобретения поясняется с привлечением чертежей, на которых показано:
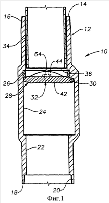
на фиг.1 – продольный разрез варианта выполнения предлагаемого в изобретении узла створчатого клапана, рассматриваемого в качестве примера осуществления изобретения, с шарнирной заслонкой в закрытом положении,
на фиг.2 – продольный разрез варианта выполнения предлагаемого в изобретении узла створчатого клапана, рассматриваемого в качестве примера осуществления изобретения, с шарнирной заслонкой в открытом положении,
на фиг.3 – вид шарнирной створки со встроенным уравнительным устройством в изометрии,
на фиг.4 – вид шарнирной заслонки в плане с ненапорной стороны,
на фиг.5 – разрез, иллюстрирующий использование двойной расточки отверстия уравнительного устройства.
Подробное описание осуществления изобретения
На фиг.1 и 2 изображен рассматриваемый в качестве примера вариант выполнения снабженного уравнительным устройством узла 10 створчатого клапана, выполненного в соответствии с настоящим изобретением. Узел 10 створчатого клапана обычно встраивают в расположенную в скважине колонну насосно-компрессорных труб и используют в качестве клапана-отсекателя (предохранительного клапана). Узел 10 створчатого клапана имеет корпус 12 клапана, на первом конце 14 которого выполнена наружная резьба для крепления к одной смежной секции колонны насосно-компрессорных труб (на чертеже не показана), а на втором конце 18 – внутренняя резьба 20 для крепления к другой смежной секции колонны насосно-компрессорных труб (на чертеже не показана). Корпус 12 клапана ограничивает собой осевой проточный канал 22, проходящий по его длине и имеющий расширение 24. В этом расширении 24 закреплено кольцевое клапанное седло 26. В рассматриваемом случае требуется перекрытие потока текучей среды, движущегося от второго конца 18 корпуса к первому концу 14. Поэтому второй конец 18 считается расположенным перед первым концом 14 по потоку текучей среды.
На клапанном седле 26 с помощью шарнирного пальца 30 с возможностью поворота установлена шарнирная заслонка 28. Шарнирная заслонка 28 имеет возможность поворота вокруг шарнирного пальца 30 между открытым положением (показано на фиг.2) и закрытым положением (показано на фиг.1), в котором шарнирная заслонка 28 прилегает к клапанному седлу 26 с опорой на него. Шарнирная заслонка 28 поджимается в направлении своего закрытого положения торсионной пружиной (на чертеже не показана). Находясь в закрытом положении, показанном на фиг.1, узел 10 створчатого клапана перекрывает поток текучей среды, движущийся от второго конца 18 корпуса к первому концу 14. Позицией 32 обозначено в целом уравнительное устройство, конструкция и работа которого рассмотрена ниже.
В проточном канале 22 над клапанным седлом 26 расположен подвижный в осевом направлении управляющий элемент (для управляемого или избирательного открытия и закрытия узла створчатого клапана), которым может быть обычная управляющая труба или втулка 34. Управляющую трубу 34 можно перемещать в проточном канале 22 в осевом направлении посредством давления гидравлической жидкости, смещающих инструментов или с помощью других известных в технике методов. Управляющая труба 34 установлена с возможностью перемещения между верхним положением (показано на фиг.1) и нижним положением (показано на фиг.2). Управляющая труба 34 имеет рабочий нижний торец 36, который может быть по существу плоским.
Конструкция шарнирной заслонки 28 и уравнительного устройства 32 более подробно рассматривается со ссылкой на фиг.3-5. Шарнирная заслонка 28 имеет основной корпус 38, который представляет собой диск, имеющий в целом форму седла и закругленный по радиусу контур 40. Корпус 38 шарнирной заслонки изогнут по дуге с таким расчетом, чтобы получить кривизну его кромки, приближающуюся к кривизне внутренней поверхности проточного канала 22. Корпус 38 шарнирной заслонки имеет напорную (расположенную выше по потоку) и ненапорную (расположенную ниже по потоку) стороны соответственно 42, 44. Из корпуса 38 шарнирной заслонки выступает наружу в радиальном направлении петля 46 для навески заслонки. Напорная сторона 42 корпуса 38 шарнирной заслонки, как правило, воспринимает давление текучей среды, движущейся вверх по проточному каналу.
На ненапорной стороне 44 шарнирной заслонки, подробно показанной на фиг.4, имеется внешний поясок 48, выполненный такой формы и размеров, чтобы обеспечивать герметичное сопряжение с клапанным седлом 26. Дугообразные наклонные участки 50 расположены радиально внутри пояска 48 и тянутся от оконечностей 52 до возвышающихся по существу плоских контактных площадок 54. предназначенных для контакта с управляющей трубой и разнесенных в поперечном направлении по разным краям шарнирной заслонки 28. Назначение этих плоских контактных площадок 54 состоит в том, чтобы первыми входить в соприкосновение с управляющей трубой 34, когда труба 34 перемещается вниз для перевода шарнирной заслонки 28 в ее открытое положение. Контактные площадки 54 должны быть по существу плоскими, чтобы прилегать к плоскому нижнему торцу управляющей трубы 34 плашмя (точно встык). Опыт показал, что в случае криволинейных контактных поверхностей торец управляющей трубы 34 стремится деформировать эти контактные поверхности 54, вызывая наползание металла на уравнительное устройство 32 и приводя к нарушению работоспособности этого устройства.
Уравнительное устройство 32 расположено в шарнирной заслонке 28 таким образом, чтобы находиться в пределах одной из контактных площадок 54 (см. фиг.4). Уравнительное устройство 32 имеет уравнительное отверстие 56 (наиболее наглядно показано на фиг.5), проходящее через шарнирную заслонку 28. Уравнительное отверстие 56 выполнено с двойной расточкой, что показано на фиг.5. Уравнительное отверстие 56 имеет центральную часть 58 и первую расточенную часть 60 (часть с увеличенным диаметром), расположенную вблизи выходного, т.е. расположенного с ненапорной стороны шарнирной заслонки среза уравнительного отверстия 56. Кроме того, на выходном срезе уравнительного отверстия 56 предусмотрена вторая расточенная часть 62. Вторая часть 62 расточена на больший диаметр, чем первая часть 60, а обе расточенные части 60, 62 диаметром больше центральной части 58. Наличие на выходном срезе уравнительного отверстия расточенных частей, или расточек, 60, 62 весьма целесообразно, поскольку помогает предотвратить наползание на расположенный в уравнительном отверстии 56 выпускной клапанный элемент 64 металла шарнирной заслонки 28, деформирующегося и сдвигающегося при наталкивании нижнего торца управляющей трубы 34 на шарнирную заслонку 28 створчатого клапана. Вместо двух расточек вполне можно использовать и одну, или же расточка может быть выполнена конической (методом зенкования), при условии что обеспечен необходимый зазор, или промежуток, между выпускным клапанным элементом 64 и окружающим материалом шарнирной заслонки. Предпочтительный размер такого зазора может меняться в зависимости от конкретных материалов, используемых для изготовления корпуса шарнирной заслонки 28, а также размера уравнительного отверстия 56 и выпускного клапанного элемента 64. Вместе с тем этот зазор должен быть достаточным для того, чтобы по существу предотвращать наползание сдвигаемого при деформации металла шарнирной заслонки 28 на выпускной клапанный элемент 64 до контакта с ним или нарушение его работоспособности.
Уравнительное устройство 32 также включает в себя выпускной клапанный элемент 64, расположенный в уравнительном отверстии 56 с возможностью возвратно-поступательного движения в нем. Внутри выпускного клапанного элемента 64 выполнены осевой канал 66 и боковые отверстия 68. Кроме того, выпускной клапанный элемент 64 имеет входной, т.е. расположенный с напорной стороны конец 70 увеличенного диаметра и выходной, т.е. расположенный с ненапорной стороны конец 72.
На напорной стороне 42 шарнирной заслонки 28 (см. фиг.3) имеется по существу прямоугольная прорезь 74, выполненная поперек оси уравнительного отверстия. Непосредственно перед прорезью 74 имеется профилированная выемка 76 для стопорного элемента, а также направляющий паз или канавка 78. В выемке 76 крепится стопорный элемент 80. Стопорный элемент 80 имеет боковой гребень 82, который входит в направляющий паз 78. Благодаря вхождению гребня 82 в направляющий паз 78 достигается фиксация стопорного элемента 80 от осевого перемещения относительно шарнирной заслонки 28. Стопорный элемент 80 крепится к шарнирной заслонке 28 фиксирующим винтом 84, что исключает возможность радиального смещения стопорного элемента 80 относительно шарнирной заслонки 28.
Выпускной клапанный элемент 64 установлен в уравнительном отверстии 56 с возможностью перемещения между открытым положением, в котором текучая среда может проходить через осевой канал 66 и выходить наружу через боковые отверстия 68, и закрытым положением (показано на фиг.5), в котором боковые отверстия 68 заперты, блокируя поток текучей среды. В прорези 74 над выемкой 76 стопорного элемента размещена пружина 86 сжатия, установленная между стопорным элементом 80 и выпускным клапанным элементом 64. Пружина 86 сжатия контактирует с увеличенным в диаметре концом 70 выпускного клапанного элемента 64 и поддавливает выпускной клапанный элемент 64 в направлении закрытого положения, таким образом не позволяя текучей среде проходить через отверстия 68. В этом закрытом положении (показано на фиг.5), выходной конец 72 выпускного клапанного элемента 64 выступает над контактной площадкой 54, предназначенной для контакта с управляющей трубой.
При эксплуатации узла 10 створчатого клапана его открывают, переводя шарнирную заслонку 28 из закрытого положения, показанного на фиг.1, в открытое положение, показанное на фиг.2. Для этого управляющую трубу 34 перемещают в осевом направлении вниз (т.е. навстречу направлению движения текучей среды через створчатый клапан), пока она своим нижним торцом 36 не коснется выходного конца 72 выпускного клапанного элемента 64. Затем управляющая труба 34 надавливает на выпускной клапанный элемент 64 в направлении его открытого положения, сжимая пружину 86. Теперь текучая среда может проходить через выпускной клапанный элемент 64 с обеспечением уменьшения разности давлений по обе стороны шарнирной заслонки 28 или уравнивания этих давлений. При последующем движении управляющей трубы 34 вниз нижний торец 36 управляющей трубы 34 прилегает плашмя к обеим контактным площадкам 54 шарнирной заслонки 28. Затем при дальнейшем движении управляющей трубы 34 вниз узел 10 створчатого клапана открывается.
Для закрытия узла 10 створчатого клапана управляющую трубу 34, находящуюся в корпусе 12 клапана, перемещают вверх. Торсионная пружина (на чертеже не показана) отжимает шарнирную заслонку 28 в направлении ее закрытого положения. Когда в колонне насосно-компрессорных труб, снабженной створчатый клапаном 10, находится флюид, движущийся с высокой скоростью или находящийся под значительным давлением, шарнирная заслонка 28 при закрытии может захлопнуться, сильно ударившись о клапанное седло 26. Благодаря конструкции уравнительного устройства 32 вероятность того, что какой-либо из компонентов уравнительного устройства 32 выскочит из шарнирной заслонки 28, очень невелика. Стопорный элемент 80 установлен как с осевой, так и с радиальной фиксацией относительно шарнирной заслонки 28. Стопорный элемент 80 представляет собой монолитную опору, гарантирующую, что выпускной клапанный элемент 64 останется в уравнительном отверстии 56 даже при ударе шарнирной заслонки 28 о клапанное седло, поскольку стопорный элемент 80 физически препятствует выходу выпускного клапанного элемента 64 с напорной стороны 42 шарнирной заслонки 28. Кроме того, расширение на конце 70 выпускного клапанного элемента 64 гарантирует, что выпускной клапанный элемент 64 не выскочит из шарнирной заслонки 28 с ее ненапорной стороны 44.
Специалистам должно быть понятно, что в рассмотренные выше примеры осуществления изобретения могут быть внесены многочисленные изменения и усовершенствования, а объем охраны изобретения ограничен только признаками, характеризующими изобретение в его формуле, и их возможными эквивалентами.
Формула изобретения
1. Узел створчатого клапана, содержащий шарнирную заслонку, имеющую напорную и ненапорную стороны и установленную с возможностью поворота между открытым и закрытым положениями, и расположенное в шарнирной заслонке уравнительное устройство для управляемого уравнивания давлений текучей среды по обе стороны шарнирной заслонки, имеющее выполненное в шарнирной заслонке уравнительное отверстие, выпускной клапанный элемент, расположенный в уравнительном отверстии с возможностью перемещения между открытым и закрытым положениями, стопорный элемент, закрепленный в шарнирной заслонке с радиальной и осевой фиксацией и образующий опору для выпускного клапанного элемента, препятствующую выпадению последнего из уравнительного отверстия, и сжимаемую пружину, расположенную между выпускным клапанным элементом и стопорным элементом для поддавливания выпускного клапанного элемента в направлении закрытого положения.
2. Узел створчатого клапана по п.1, в котором на выходном срезе уравнительного отверстия выполнена расточка, образующая вокруг выпускного клапанного элемента зазор, предотвращающий контакт выпускного клапанного элемента с деформированным материалом шарнирной заслонки.
3. Узел створчатого клапана по п.1, в котором на ненапорной стороне шарнирной заслонки выполнена, по существу, плоская возвышающаяся контактная площадка для контакта с нижним торцом управляющей трубы.
4. Узел створчатого клапана по п.3, в котором шарнирная заслонка изогнута по дуге и имеет пару разнесенных в поперечном направлении по разным ее краям, по существу, плоских контактных площадок для контакта с управляющей трубой.
5. Узел створчатого клапана по п.1, в котором стопорный элемент закреплен на шарнирной заслонке с фиксацией от радиального перемещения относительно нее.
6. Узел створчатого клапана по п.5, в котором стопорный элемент закреплен на шарнирной заслонке посредством резьбового соединения.
7. Шарнирная заслонка для применения в узле створчатого клапана, содержащая изогнутый по дуге корпус, имеющий, по существу, плоскую возвышающуюся контактную площадку для контакта с нижним торцом управляющей трубы, уравнительное устройство для управляемого уравнивания давлений текучей среды по обе стороны шарнирной заслонки, расположенное в пределах указанной контактной площадки и имеющее выполненное в корпусе заслонки уравнительное отверстие и выпускной клапанный элемент, расположенный в уравнительном отверстии с возможностью перемещения между открытым и закрытым положениями.
8. Шарнирная заслонка по п.7, содержащая также закрепленный в ее корпусе стопорный элемент, образующий опору, препятствующую выпадению выпускного клапанного элемента из уравнительного отверстия, и сжимаемую пружину, расположенную между выпускным клапанным элементом и стопорным элементом для поддавливания выпускного клапанного элемента в направлении закрытого положения.
9. Шарнирная заслонка по п.8, в которой стопорный элемент закреплен посредством резьбового соединения с фиксацией от радиального перемещения относительно корпуса заслонки.
10. Шарнирная заслонка по п.8, в которой стопорный элемент закреплен посредством сопряжения “паз-гребень” с фиксацией от осевого перемещения относительно корпуса заслонки.
11. Узел створчатого клапана, содержащий трубчатый корпус с проходящим в нем проточным каналом, шарнирную заслонку, расположенную в проточном канале и соединенную с трубчатым корпусом с возможностью поворота между открытым и закрытым положениями, управляющую трубу для управляемого перевода шарнирной заслонки из закрытого положения в открытое и уравнительное устройство для управляемого уравнивания давлений текучей среды по обе стороны шарнирной заслонки, имеющее уравнительное отверстие, проходящее через шарнирную заслонку, выпускной клапанный элемент, расположенный в уравнительном отверстии с возможностью перемещения между открытым и закрытым положениями, стопорный элемент, закрепленный в шарнирной заслонке с радиальной и осевой фиксацией для удержания выпускного клапанного элемента в уравнительном отверстии, и сжимаемую пружину, расположенную между стопорным элементом и выпускным клапанным элементом для поддавливания выпускного клапанного элемента в направлении закрытого положения.
12. Узел створчатого клапана по п.11, в котором шарнирная заслонка имеет ненапорную сторону, на которой выполнена, по существу, плоская возвышающаяся контактная площадка для контакта с управляющей трубой, причем уравнительное устройство расположено в шарнирной заслонке в пределах указанной контактной площадки.
13. Узел створчатого клапана по п.11, в котором шарнирная заслонка имеет ненапорную сторону, на которой имеется пара, по существу, плоских возвышающихся контактных площадок для контакта с управляющей трубой.
14. Узел створчатого клапана по п.11, в котором на срезе уравнительного отверстия выполнена расточка, которая образует вокруг выпускного клапанного элемента зазор и таким образом уменьшает вероятность контакта выпускного клапанного элемента с деформированным материалом шарнирной заслонки.
15. Узел створчатого клапана по п.11, в котором выпускной клапанный элемент имеет центральное тело с увеличенным по радиусу входным концом.
16. Узел створчатого клапана по п.11, в котором в выпускном клапанном элементе выполнен осевой проход и боковое отверстие для обеспечения управляемого выпуска текучей среды через выпускной клапанный элемент.
17. Узел створчатого клапана по п.11, в котором стопорный элемент закреплен посредством резьбового соединения с фиксацией от радиального перемещения относительно шарнирной створки.
18. Узел створчатого клапана по п.11, в котором стопорный элемент закреплен посредством сопряжения “паз-гребень” с фиксацией от осевого перемещения относительно шарнирной створки.
РИСУНКИ
|
|