|
|
(21), (22) Заявка: 2007136991/03, 05.10.2007
(24) Дата начала отсчета срока действия патента:
05.10.2007
(46) Опубликовано: 10.05.2009
(56) Список документов, цитированных в отчете о поиске:
АЛЕКСЕЕВСКИЙ Г.В. Буровые установки Уралмашзавода. – М.: Недра, 1981, с.388-392, рис.190(б), 191. SU 464100 A3, 15.03.1975. SU 623802 A1, 15.09.1978. SU 655640 A1, 05.04.1979. RU 2185318 C2, 20.07.2002. RU 2225833 C1, 20.03.2004. GB 1551924 A, 05.09.1979. US 4448394 A, 15.05.1984. US 4591131 A, 27.05.1986. CA 2518257 A1, 23.09.2004.
Адрес для переписки:
620012, г.Екатеринбург, пл. Первой пятилетки, ЗАО “Уралмаш-буровое оборудование”
|
(72) Автор(ы):
Никифорова Валентина Иосифовна (RU), Перетрухин Виктор Викторович (RU), Попов Олег Георгиевич (RU), Тушков Дмитрий Владимирович (RU)
(73) Патентообладатель(и):
Закрытое акционерное общество “Уралмаш-буровое оборудование” (ЗАО “Уралмаш-буровое оборудование”) (RU)
|
(54) ОГРАНИЧИТЕЛЬ ПОДЪЕМА ТАЛЕВОГО БЛОКА
(57) Реферат:
Предложенное изобретение относится к буровому оборудованию, предназначенному для спуско-подъемных операций, а именно к устройствам предотвращения аварийных ситуаций при переподъеме талевого блока. Техническим результатом является повышение надежности работы ограничителя и обеспечение безопасности рабочего персонала при обслуживании. Ограничитель подъема талевого блока содержит выключатель, связанный с системой управления приводом и торможения барабана, следящее устройство, установленное на элементах ограждения барабана. Следящее устройство выполнено в виде поворотного рычага, упора, относительно которого подпружинено одно плечо поворотного рычага, и стойки. На стойке установлен индуктивный выключатель. Поворотный рычаг, упор и стойка установлены на элементах ограждения с возможностью регулировки положения вдоль продольной оси барабана. Элементы ограждения барабана содержат горизонтальную балку, расположенную над барабаном, выполненную с продольным пазом, в котором установлена ось рычага и элементы крепления стойки и упора. Один конец поворотного рычага расположен в зоне установки выключателя с возможностью воздействия на него, другой конец поворотного рычага снабжен контактирующим элементом, установленным с возможностью взаимодействия с контрольными витками наматываемого на барабан каната. Контактирующий элемент выполнен в виде вилки, на одном конце которой установлен с возможностью вращения вокруг горизонтальной оси сферический ролик, а на другом выполнена резьба. Выполнение следящего устройства в виде поворотного рычага, установленного с выключателем на элементах ограждения, позволило обеспечить безопасность при обслуживании, быстродействие срабатывания ограничителя подъема талевого блока и повысить надежность работы. 3 з.п. ф-лы, 2 ил.
Ограничитель подъема талевого блока относится к оборудованию для бурения нефтяных и газовых скважин, может быть использован в грузоподъемных устройствах, оснащенных талевой системой, и предназначен для предотвращения аварийной ситуации и несчастных случаев при подъеме подвижных частей талевой системы непосредственно под кронблок, а именно для автоматического отключения механизма подъема талевого блока от привода и наложения тормоза на барабан лебедки.
Известен ограничитель подъема талевого блока – противозатаскиватель (Патент РФ 2185318 «Противозатаскиватель», опубл. 2002.07.20, МПК 7 B66D 1/54), который содержит кран конечного выключателя, связанный с системой выключения привода лебедки и ее торможением, траверсу с грузами, червяк на подъемном валу лебедки, находящийся в зацеплении с червячным колесом, на котором установлен крючок для захвата петли стержня и выдергивания шплинта из траверсы крана конечного выключателя, причем рабочий ход крюка и талевого блока регулируется путем перемещения крючка в прорези червячного колеса.
Недостатком данного противозатаскивателя является быстрый износ червячной пары из-за непрерывной работы червяка, установленного на подъемном валу лебедки.
Наиболее близким к заявляемому изобретению по совокупности существенных признаков является ограничитель подъема талевого блока – конечный выключатель (противозатаскиватель), включающий кран конечного выключателя, связанный промежуточными элементами с тросиком (Алексеевский Г.В. Буровые установки Уралмашзавода. М.: Недра, 1981, с.388-392, рис.190б, 191). Конечный выключатель, связанный с системой управления приводом и торможения барабана, установлен на специальной раме и содержит два двухклапанных крана с грузом на рукоятках, сблокированных общей траверсой. В траверсу двухклапанного крана вставлен шплинт, в петлю которого установлен тросик, протянутый вдоль стойки вышки, заведенный на блок и закрепленный на другой стороне вышки с образованием горизонтального участка, пересекающего путь талевого блока (следящее устройство).
Горизонтальный участок тросика протянут на высоте, соответствующей наивысшей точке безопасного подъема талевого блока. В случае подъема талевого блока выше допустимого положения тросик увлекается вверх талевым блоком и выдергивает шплинт из траверсы двухклапанного крана. Груз под силой тяжести опускает рукоятки крана вниз, отключается муфта барабанного вала, и включается тормоз лебедки.
Недостатком такого ограничителя подъема талевого блока является сложность выверки горизонтального участка и крепления тросика при его восстановлении после аварийного срабатывания, а также при монтажных работах, проводимых на высоте более 30 метров. Размещение тросика на вышке в местах, труднодоступных для обслуживания, приводит к неудобству при обслуживании и, как следствие, к большим потерям времени при восстановлении устройства после срабатывания. Проведение этих работ на высоте небезопасно для обслуживающего персонала.
Кроме того, наличие большой длины тросика делает конструкцию ограничителя подъема талевого блока инертной при срабатывании, что снижает ее быстродействие, а возможность заклинивания тросика в блоках приводит к снижению надежности.
Технический результат предлагаемого изобретения заключается в повышении безопасности обслуживания, в обеспечении быстродействия срабатывания и повышении надежности работы.
Указанный технический результат достигается благодаря тому, что в ограничителе подъема талевого блока, содержащем выключатель, связанный с системой управления приводом и торможения барабана, следящее устройство, согласно изобретению следящее устройство установлено на элементах ограждения барабана, выполнено в виде поворотного рычага, упора, относительно которого подпружинено одно плечо поворотного рычага, и стойки, на которой установлен выключатель, при этом поворотный рычаг, упор и стойка установлены с возможностью регулировки положения вдоль продольной оси барабана, причем один конец поворотного рычага расположен в зоне установки выключателя с возможностью воздействия на него, другой конец поворотного рычага снабжен контактирующим элементом, установленным с возможностью взаимодействия с контрольными витками наматываемого на барабан каната.
В частном случае элементы ограждения барабана содержат горизонтальную балку, расположенную над барабаном, выполненную с продольным пазом, в котором установлена ось поворотного рычага и элементы крепления стойки и упора.
В частном случае контактирующий элемент выполнен в виде вилки, на одном конце которой установлен с возможностью вращения вокруг горизонтальной оси сферический ролик, а на другом выполнена резьба.
В частном случае на стойке установлен индуктивный выключатель.
Установка следящего устройства на элементах ограждения барабана и выполнение его в виде поворотного рычага, упора, относительно которого подпружинено одно плечо поворотного рычага, и стойки, на которой установлен выключатель, позволили обеспечить удобный и безопасный доступ при обслуживании к элементам ограничителя подъема талевого блока при монтажных работах и восстановлении устройства после аварийного срабатывания, исключить работы обслуживающего персонала на высоте, тем самым повысить безопасность обслуживания.
Кроме того, установка элементов следящего устройства, а именно поворотного рычага, упора и стойки, с возможностью регулировки положения вдоль продольной оси барабана позволила обеспечить при монтаже точность установки этих элементов по отношению к контрольным виткам наматываемого на барабан каната, определяющим момент подхода верхней подвесной части талевой системы к контрольной отметке, и, как следствие, повысить надежность его работы независимо от высоты контрольной отметки.
Расположение одного конца поворотного рычага в зоне установки выключателя с возможностью воздействия на него и снабжение другого конца поворотного рычага контактирующим элементом, установленным с возможностью взаимодействия с контрольными витками наматываемого на барабан каната в случае подъема талевого блока выше допустимого положения, позволили обеспечить быстродействие срабатывания ограничителя подъема талевого блока.
Наличие упора, относительно которого подпружинено одно плечо поворотного рычага, позволило исключить ложные срабатывания за счет обеспечения стабильного положения рычага при сильных вибрациях барабана, повысить надежность работы ограничителя подъема талевого блока.
Снабжение элементов ограждения барабана горизонтальной балкой, выполненной с продольным пазом, в котором установлена ось рычага и элементы крепления стойки и упора, обеспечило регулировку положения контактирующего элемента относительно контрольных витков наматываемого на барабан каната для разных конструкций вышек и талевых систем.
Выполнение контактирующего элемента виде вилки, на одном конце которой установлен с возможностью вращения вокруг горизонтальной оси сферический ролик, а на другом выполнена резьба, позволило обеспечить регулировку положения ролика по высоте и исключить трение между роликом и контрольными витками наматываемого на барабан каната, тем самым повысить надежность работы ограничителя талевого блока.
Возможно иное выполнение контактирующего элемента, например в виде стержня, на одном конце которого расположен вращающийся ролик, а на другом выполнена резьба.
Технических решений, совпадающих с совокупностью существенных признаков изобретения, не выявлено, что позволяет сделать вывод о соответствии изобретения условию патентоспособности «новизна».
Заявляемые существенные признаки изобретения, предопределяющие получение указанного технического результата, явным образом не следуют из уровня техники, что позволяет сделать вывод о соответствии изобретения условию патентоспособности «изобретательский уровень».
Условие патентоспособности «промышленная применимость» подтверждено на примере конкретного выполнения ограничителя подъема талевого блока.
Сущность изобретения поясняется чертежами, где:
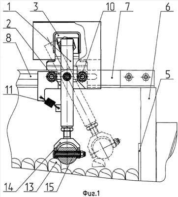
на фиг.1 – общий вид ограничителя подъема талевого блока, установленного на ограждении барабана;
на фиг.2 – вид по «А-А» на фиг.1.
Ограничитель подъема талевого блока содержит следящее устройство, выполненное в виде поворотного рычага 1, упора 2, и содержит стойку 3, на которой установлен индуктивный выключатель 4 (на фиг.2), связанный с системой управления приводом и торможения барабана (на чертеже не показана).
Следящее устройство установлено над барабаном 5 на элементах ограждения 6 барабана. Задняя стенка ограждения 6 содержит жесткую горизонтальную балку 7. В горизонтальной балке 7 выполнен продольный паз 8. В продольном пазу 8 горизонтальной балки 7 установлена ось 9 поворотного рычага 1, болтовые соединения 10, на которых с одной стороны балки 7 закреплена стойка 3 с индуктивным выключателем 4, а с другой стороны установлен упор 2. Поворотный рычаг 1 подпружинен относительно упора 2 пружиной 11, один конец которой закреплен на упоре 2, а другой – на поворотном рычаге 1. Пружина 11 подтягивает поворотный рычаг 1 до упора 2 и фиксирует его в вертикальном положении. Для обеспечения поворота рычага 1 в сопряжении с ним на оси 9 установлена втулка 12.
На одном конце двуплечего рычага 1 при помощи резьбового соединения установлен с возможностью взаимодействия с контрольными витками 13 каната контактирующий элемент. Контактирующий элемент выполнен в виде вилки 14, на одном конце которой на оси 15 установлен сферический ролик 16, а на другом конце выполнена резьба.
Для обеспечения безопасной работы персонала при работе и ограждения элементов следящего устройства и выключателя от попадания грязи устройство сверху закрыто кожухом 17, закрепленным на ограждении барабана 5.
Ограничитель подъема талевого блока работает следующим образом.
При нормальном цикле спуско-подъемных операций подпружиненный относительно упора 2 поворотный рычаг 1 находится в вертикальном положении, а его верхний конец, находящийся в зоне установки индуктивного выключателя 4, «перекрывает» его, что соответствует положению «выключено». В случае подъема верхней подвесной части талевой системы к контрольной отметке (в опасную зону) контрольный виток 13 при наматывании на барабан 5 каната начинает контактировать со сферическим роликом 16. При дальнейшем наматывании каната на барабан контрольный виток 13, воздействуя на ролик 16, начинает отводить поворотный рычаг 1. Поворотный рычаг 1 поворачивается, и верхний конец рычага выходит из зоны действия индуктивного выключателя 4 – «открывает» его, что соответствует положению «включено» (на фиг.1 показано пунктирной линией). Индуктивный выключатель 4 выдает в систему управления приводом и торможения барабаном 5 сигнал, под действием которого происходит отключение привода лебедки с одновременным включением тормоза барабана. Подъем талевого блока прекращается.
При восстановлении ограничителя подъема талевого блока после аварийного срабатывания для приведения устройства в рабочее положение с пульта оператора подается сигнал на опускание талевого блока ниже контрольной точки. При этом происходит сматывание контрольных витков 13 каната с барабана 5 и поворотный рычаг 1 под действием пружины 11 возвращается в исходное вертикальное положение. Верхний конец поворотного рычага 1 находится в зоне действия индуктивного выключателя и «перекрывает» его. Ограничитель подъема талевого блока готов для дальнейшего срабатывания при подъеме верхних частей талевого блока в опасную зону.
При проведении монтажных работ регулировку положения элементов следящего устройства с выключателем относительно контрольных витков наматываемого на барабан каната производят следующим образом. Поднимают талевую систему до контрольной отметки. Перемещают поворотный рычаг 1, упор 2 и стойку 3 с индуктивным выключателем 4 в пазу 8 до обеспечения контакта сферического ролика 16 с контрольными витками 13 наматываемого на барабан 5 каната и при помощи оси 9 и болтовых соединений 10 закрепляют в этом положении.
Таким образом, выполнение ограничителя подъема талевого блока со следящим устройством, установленным на ограждении барабана, в виде поворотного рычага, упора, относительно которого подпружинено одно плечо рычага, и стойки, на которой установлен выключатель, а также установка поворотного рычага, упора и стойки с возможностью регулировки положения вдоль продольной оси барабана, расположение одного конца рычага в зоне выключателя с возможностью воздействия на него и снабжение другого конца рычага контактирующим элементом, установленным с возможностью взаимодействия с контрольными витками наматываемого на барабан каната, позволило обеспечить безопасность при обслуживании, обеспечить быстродействие срабатывания и повысить надежность работы устройства.
Формула изобретения
1. Ограничитель подъема талевого блока, содержащий выключатель, связанный с системой управления приводом и торможения барабана, следящее устройство, отличающийся тем, что следящее устройство установлено на элементах ограждения барабана, выполнено в виде поворотного рычага, упора, относительно которого подпружинено одно плечо поворотного рычага, и стойки, на которой установлен выключатель, при этом поворотный рычаг, упор и стойка установлены с возможностью регулировки положения вдоль продольной оси барабана, причем один конец поворотного рычага расположен в зоне установки выключателя с возможностью воздействия на него, другой конец поворотного рычага снабжен контактирующим элементом, установленным с возможностью взаимодействия с контрольными витками наматываемого на барабан каната.
2. Ограничитель по п.1, отличающийся тем, что элементы ограждения барабана содержат горизонтальную балку, расположенную над барабаном, выполненную с продольным пазом, в котором установлена ось поворотного рычага и элементы крепления стойки и упора.
3. Ограничитель по п.1, отличающийся тем, что контактирующий элемент выполнен в виде вилки, на одном конце которой установлен с возможностью вращения вокруг горизонтальной оси сферический ролик, а на другом выполнена резьба.
4. Ограничитель по п.1, отличающийся тем, что на стойке установлен индуктивный выключатель.
РИСУНКИ
|
|