|
|
(21), (22) Заявка: 2008114849/03, 18.04.2008
(24) Дата начала отсчета срока действия патента:
18.04.2008
(46) Опубликовано: 10.05.2009
(56) Список документов, цитированных в отчете о поиске:
SU 1177440 A1, 07.09.1985. RU 65096 U1, 27.07.2007. SU 794171 A1, 07.01.1981. EP 0498925 A1, 19.08.1992. WO 9405893 A1, 17.03.1994. DE 3942030 A1, 27.06.1991.
Адрес для переписки:
143500, Московская обл., г. Истра, а/я 21, ЗАО “МОЗБТ”
|
(72) Автор(ы):
Черкасов Владимир Иванович (RU), Ленченко Владимир Александрович (RU), Кравченко Алексей Евгеньевич (RU), Бей Юрий Николаевич (RU), Бебенин Владимир Юрьевич (RU)
(73) Патентообладатель(и):
Закрытое Акционерное Общество “МОСКОВСКИЙ ОПЫТНЫЙ ЗАВОД БУРОВОЙ ТЕХНИКИ” (ЗАО “МОЗБТ”) (RU)
|
(54) УСТРОЙСТВО ДЛЯ СОЕДИНЕНИЯ БУРИЛЬНЫХ ТРУБ
(57) Реферат:
Изобретение относится к буровому инструменту, а именно к устройствам для соединения бурильных труб при вращательном бурении скважин различного назначения. Техническим результатом является повышение надежности при герметичном соединении бурильных труб, а также предотвращение затягивания их от воздействия значительных крутящих усилий, возникающих при бурении скважин. Указанный технический результат достигается тем, что устройство включает приспособление в виде замковых ниппеля и муфты с резьбой, на концах которых размещены жестко соединенные с ними две храповые полумуфты, контактирующие поверхности которых выполнены в виде выступов и конгруэнтных им впадин для восприятия и передачи крутящего момента одновременно с резьбовым соединением. Высота выступов и впадин на каждой храповой полумуфте определяется из аналитического выражения: Н=0.8 S/Z, где Н – высота выступа или глубина впадины, S – шаг резьбы, Z – количество выступов или впадин на каждой храповой полумуфте. Шаг резьбы, соединяющей между собой замковые ниппель и муфту, составляет величину, равную не более 1/4 длины ее рабочей части. На внутренней поверхности каждой храповой полумуфты имеются сквозные продольные пазы для размещения в них фиксаторов, которые выполнены в виде Г-образных планок с пружинами, а ширина планок несколько меньше ширины сквозных продольных пазов. 3 з.п. ф-лы, 5 ил.
Изобретение относится к горной промышленности, а именно к устройствам для соединений бурильных труб при вращательном бурении скважин различного назначения, и может быть использовано для соединения других подобных элементов.
Известно замковое соединение буровых шнеков, включающее буровую трубу, закрепленные на ее концах кольцевые полумуфты с наружным диаметром, равным диаметру бурильных труб, и с кулачковыми выступами на торцах взаимодействия и ответными впадинами, и расположенный в полости полумуфт хвостовик с фиксатором, в котором боковые грани кулачковых муфт и ответные им впадины, противолежашие рабочим граням кулачковых выступов и ответных впадин, выполнены с наклоном, а ширина вершин выступов меньше ширины их основания (RU 2017929, Кл. Е21В 17/046, опуб. 94.08.15).
Недостатками данного соединения бурильных труб являются недостаточная герметичность и возможная деформация кулачковых выступов в процессе эксплуатации, приводящие к потерям очистного агента при бурении глубоких скважин и к деформации кулачковых выступов и их заклиниванию между собой, что ухудшает условия бурения скважины и затрудняет разборку и сборку бурового става.
Наиболее близким по технической сути и достигаемому результату к изобретению является устройство для соединения бурильных труб, включающее приспособление в виде замковых ниппеля и муфты с резьбой на концах для соединения с бурильными трубами и между собой (А.с. RU 1758202, Кл. Е21В 17/02, 17/04).
К недостаткам данной конструкции следует отнести значительную сложность конструкции, недостаточную надежность соединения труб при передаче больших осевых нагрузок и крутящих моментов, что приводит к деформации крепежных деталей, выпадению соединительных элементов и в итоге к разъединению колонны труб, а также недостаточную герметизацию колонны с вытекающими негативными последствиям при бурении скважин.
Ожидаемым техническим эффектом от использования изобретения является повышение надежности при герметичном соединении бурильных труб, а также предотвращение затягивания их от воздействия значительных крутящих усилий, возникающих при бурении скважин.
Указанный технический эффект достигается тем, что в устройстве для соединения бурильных труб, включающем приспособление в виде замковых ниппеля и муфты с резьбой на концах для соединения с бурильными трубами и между собой, на концах замковых ниппеля и муфты, вступающих во взаимодействие друг с другом для передачи осевого усилия от буровой установки забойному инструменту, размещены жестко соединенные с ними две храповые полумуфты, контактирующие поверхности которых выполнены в виде выступов и конгруэнтных им впадин для восприятия и передачи крутящего момента одновременно с резьбовым соединением, а высота выступов и впадин на каждой храповой полумуфте определяется из аналитического выражения
Н=0.8 S/Z,
где Н – высота выступа или глубина впадины,
S – шаг резьбы,
Z – количество выступов или впадин на каждой храповой полумуфте.
А также тем, что шаг резьбы, соединяющей между собой замковые ниппель и муфту, составляет величину равную не более 1/4 длины ее рабочей части.
И тем. что на внутренней поверхности каждой храповой полумуфты имеются сквозные продольные пазы для размещения в них фиксаторов.
И тем, что фиксаторы выполнены в виде Г-образных планок с пружинами. а ширина планок несколько меньше ширины сквозных продольных пазов.
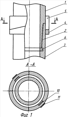
Изобретение поясняется чертежами, где на фиг.1 представлено устройство в рабочем положении и его сечение по А-А, на фиг.2 – храповая полумуфта в разрезе с видом по А и на фиг.3 – фиксатор с пластинчатой пружиной.
Устройство для соединения бурильных труб состоит из замкового ниппеля 1 с резьбой 2, шаг которой составляет не более 1/4 длины ее рабочей части, для сочленения с аналогичной резьбой на трубах, резьбой замковой муфты 3 (на фиг.1 не показаны) для сочленения с бурильными трубами. Величина шага резьбы 2 замковых ниппеля и муфты, равная величине не более 1/4 длины рабочей части их резьбы, гарантирует достаточную высоту, а следовательно, и прочность выступов и впадин храповых полумуфт. На концах ниппеля 1 и муфты 3 со стороны резьбы 2 с шагом, равным не более 1/4 длины ее рабочей части, жестко смонтированы храповые полумуфты 4 и 5. В муфте 3 имеется проточка для размещения уплотнительного кольца 6, обеспечивающего герметичность соединения. Храповые полумуфты 5 и 4 (см. фиг.2) выполнены с выступами 7 и конгруэнтными им по форме впадинами 8, в рабочем положении контактирующими между собой. На внутренней поверхности храповые полумуфты имеют продольные пазы 9, в которых размещены фиксаторы 10, оснащенные пластинчатыми пружинами 11, закрепленными на них при помощи болтов 12. В рабочем положении устройства пазы 9 совмещены относительно друг друга и в них вставлены фиксаторы 10, препятствующие развороту труб при необходимости использования обратного номинальному вращения, а пластинчатые пружины 11 обеспечивают надежное крепление фиксаторов 10 в пазах 9 во время работы устройства и не создают трудностей при его сборке и разборке.
Ширина фиксаторов 10 несколько меньше ширины продольных пазов 9, что обеспечивает их свободное вхождение в продольные пазы 9 даже при некотором их несовмещении.
Высота выступов 7 и глубина впадин 8 равны, обозначаются (Н) и определяются из аналитического выражения
Н=0.8 S/Z,
где S – шаг резьбы 2,
Z – количество выступов 7 храповой полумуфты 5 или 4.
При такой высоте Н обеспечивается гарантированное соединение храповых муфт 5 и 4 в рабочее положение при свинчивании замковых ниппеля 1 с муфтой 3.
Устройство для соединения бурильных труб собирается следующим образом. Изготавливаются замковые ниппель 1, муфта 3 с присоединительной резьбой 2 с шагом, равным не более 1/4 длины ее рабочей части, для соединения между собой и резьбой на трубах (не показаны) для соединения с бурильными трубами, храповые полумуфты 4 и 5, фиксаторы 10. На стыковочные концы ниппеля 1 и муфты 3 при полном их свинчивании надевают храповые полумуфты 4 и 5 и, установив их в рабочее положение, жестко закрепляют.
Устройство работает следующим образом. При полном свинчивании замковых ниппеля 1 с муфтой 3 нижний торец ниппеля 1 (см. фиг.1) упирается в уплотнительное кольцо 6, герметизируя резьбовое соединение, а выступы 7 верхней храповой полумуфты контактируют с вертикальными плоскостями впадин нижней храповой полумуфты при соблюдении во время изготовления храповых полумуфт аналитического выражения
Н=0.8 S/Z,
где S – шаг резьбы 2,
Z – количество выступов 7 храповой полумуфты 5 или 4.
Одновременно в контакт вступают торцы замковых ниппеля 1 и муфты 3, что обеспечивается конструктивными гарантированными зазорами при их изготовлении. Осевое усилие от бурового агрегата на забой скважины передается контактирующими торцами замковых ниппеля 1 и муфты 3, а крутящий момент – резьбой 2 с шагом, равным не более 1/4 длины ее рабочей части, и храповыми полумуфтами 4 и 5. Фиксаторы 10 с пластинчатыми пружинами 11 обеспечат наружное крепление элементов устройства как при работе в обычном режиме, так и при работе с вращением бурового снаряда, противоположным рабочему. Контактирующие выступы верхней храповой полумуфты с плоскостями впадин нижней храповой полумуфты не дают возможность резьбе с большим шагом затягиваться, что обеспечивает их свободное и легкое развинчивание при разборке бурового снаряда.
Таким образом, предлагаемое техническое решение устройства для соединения бурильных труб обладает следующими преимуществами перед известными:
1. Обеспечивает надежное соединение бурильных труб в колонну.
2. Обеспечивает герметичность соединения.
3. Исключает затягивание резьбовых соединений даже при значительных крутящих моментах на забойный инструмент.
4. Значительно сокращает затраты времени на спускоподьемные операции бурильной колонны за счет сокращения времени свинчивания-развинчивания труб.
Формула изобретения
1. Устройство для соединения бурильных труб, включающее приспособление в виде замковых ниппеля и муфты с резьбой на концах для соединения с бурильными трубами и между собой, отличающееся тем, что на концах замковых ниппеля и муфты, вступающих во взаимодействие друг с другом для передачи осевого усилия от буровой установки забойному инструменту, размещены жестко соединенные с ними две храповые полумуфты, контактирующие поверхности которых выполнены в виде выступов и конгруэнтных им впадин, для восприятия и передачи крутящего момента одновременно с резьбовым соединением, а высота выступов и впадин на каждой храповой полумуфте определяется из аналитического выражения Н=0,8 S/Z, где Н – высота выступа или глубина впадины; S – шаг резьбы; Z – количество выступов или впадин на каждой храповой полумуфте.
2. Устройство для соединения бурильных труб по п.1, отличающееся тем, что шаг резьбы, соединяющей между собой замковые ниппель и муфту, составляет величину, равную не более 1/4 длины ее рабочей части.
3. Устройство для соединения бурильных труб по п.1, отличающееся тем, что на внутренней поверхности каждой храповой полумуфты имеются сквозные продольные пазы для размещения в них фиксаторов.
4. Устройство по п.2, отличающееся тем, что фиксаторы выполнены в виде Г-образных планок с пружинами, а ширина планок несколько меньше ширины сквозных продольных пазов.
РИСУНКИ
|
|