|
|
(21), (22) Заявка: 2004135416/03, 03.12.2004
(24) Дата начала отсчета срока действия патента:
03.12.2004
(30) Конвенционный приоритет:
05.12.2003 DE 10356889.1
(43) Дата публикации заявки: 10.05.2006
(46) Опубликовано: 10.05.2009
(56) Список документов, цитированных в отчете о поиске:
DE 4011587 А1, 17.10.1991. DE 29613507 U1, 19.09.1996. DE 2720851 А1, 01.12.1977. DE 3510935 А1, 09.10.1986. RU 2158817 С2, 10.11.2000.
Адрес для переписки:
129090, Москва, ул. Б.Спасская, 25, стр.3, ООО “Юридическая фирма Городисский и Партнеры”, пат.пов. С.А.Дорофееву
|
(72) Автор(ы):
КЕЛЛЕР Хорст (DE), ВЕРНЕР Эдгар (DE)
(73) Патентообладатель(и):
СЭН-ГОБЭН ИЗОВЕР Г+Х АГ (DE)
|
(54) СОСТАВНОЙ НАПОЛНИТЕЛЬ ОГНЕЗАЩИТНОЙ ДВЕРИ
(57) Реферат:
Изобретение относится к области строительства, а именно к конструкциям дверей. Изобретение позволит обеспечить соответствие огнезащитной двери заданным классам огнестойкости. Огнезащитная дверь с огнестойкими свойствами в соответствии с нормированными классами огнестойкости, содержащая корпус в виде рамной конструкции по периметру с панелями из листовой стали с обеих сторон, огнезащитного наполнителя с растворимыми, в частности, в физиологической среде минеральными волокнами, в частности шлаковатой. Огнезащитный наполнитель в направлении, поперечном его продольной соответствующей высоте протяженности, разделен на несколько отдельных частей с разными огнезадерживающими свойствами. 11 з.п. ф-лы, 4 ил.
Настоящее изобретение относится к огнезащитной двери согласно ограничительной части пункта 1 формулы изобретения.
Огнезащитные двери выполнены обычно из корпуса из листовой стали с соответствующей рамной конструкцией и расположенным в корпусе огнезащитным наполнителем, причем огнезащитный наполнитель, помимо теплоизоляционных материалов, таких как минеральная вата и, в частности, шлаковата, содержит также противопожарные средства, которые за счет теплового воздействия в случае пожара вызывают эндотермическую химическую и/или физическую реакцию, например фазовые преобразования или выделение физически и/или химически связанной воды, так что образовавшееся в результате пожара тепло, по меньшей мере частично, уменьшается за счет соответствующих реакций. Этим достигается время сопротивления, требуемое в соответствии с нормированными классами огнестойкости. Например, огнезащитная дверь класса огнестойкости F30 должна обеспечивать время сопротивления 30 минут, причем со стороны пожара на дверь воздействует заданная температура, приблизительно 1000°С, без возрастания в течение времени сопротивления на защищенной стороне температуры выше определенного предельного значения. Соответственно, существуют различные нормированные классы огнестойкости, например F30, F60 или F90, в которых соответствующее время сопротивления должно составлять 30, 60 или 90 минут.
Подобные огнезащитные двери, как описано, например, в DE 19952931 А1, выполняют либо многослойными с внешними теплоизолирующими слоями и расположенным преимущественно посередине противопожарным средним слоем или же с равномерно распределенными внутри теплоизоляции или интегрированными в нее противопожарными средствами. Однако в последнем случае часто выбирают многослойную конструкцию с несколькими слоями по толщине, поскольку при необходимых толщинах огнезащитных наполнителей или огнезащитных дверей огнезащитные наполнители в монолитном выполнении достигли бы слишком большого веса и потому затруднили бы изготовление огнезащитных дверей. Огнезащитные наполнители повышают, однако, затраты на их размещение в корпусе огнезащитной двери. Сам наполнитель при этом всегда имеет форму плиты в соответствии с высотой заполняемой полости стальной двери.
Исходя из этого уровня техники задачей настоящего изобретения является создание огнезащитной двери, которая была бы проста и экономична в изготовлении и при этом отвечала бы требованиям к противопожарной охране, в частности, в соответствии с заданными классами огнестойкости.
Эта задача решается посредством противопожарной двери с отличительными признаками пункта 1 формулы. Предпочтительные варианты осуществления являются объектом зависимых пунктов.
Согласно изобретению огнезащитный наполнитель выполняют, с одной стороны, составным, причем предусмотрены, по меньшей мере, одна верхняя и одна нижняя части или, при необходимости, также несколько расположенных друг над другом частей, то есть слоев, а, с другой стороны, отдельным частям придают разные огнезадерживающие свойства. За счет того, что согласно изобретению используют не только одну плиту для заполнения полости стальной двери, а, по меньшей мере, два изолирующих элемента, облегчается также обращение с огнезащитной дверью при ее монтаже, поскольку предотвращено трудное обращение с большими поверхностями и тем самым с подверженными излому плитами огнезащитного наполнителя. При этом следует учесть, что изготовление огнезащитных дверей, как правило, осуществляется пока не механически, наоборот, монтаж осуществляют вручную. За счет этого упрощается изготовление огнезащитных дверей. Благодаря разделению согласно изобретению отдельная часть или отдельный изолирующий элемент может быть рассчитан специально на требуемые огнезащитные свойства. При этом было обнаружено, что критическая зона находится, как правило, в верхней области стальной двери, поскольку верхний конец двери в коробке через расположенный поперек и с обеих сторон стальной лист лучше передает температуру на дверное полотно, чем, например, в средней области огнезащитной двери, где коробка прилегает к дверному полотну только с двух сторон. Далее по мере нагревания изолирующий наполнитель оседает вниз, в результате чего плотность вверху уменьшается и поэтому уже через короткое время в верхней области на обращенной от огня стороне могут быть измерены высокие температуры. Но поскольку огнезащитный наполнитель рассчитан на время стойкости, то в уровне техники изолирующий наполнитель рассчитывают исходя из критической зоны, а это приводит к тому, что при использовании огнезащитной плиты ее приходится рассчитывать в целом в отношении критической зоны. Следствием этого неизбежно являются соответствующие затраты материала, что также ведет к удорожанию огнезащитной двери. За счет того, что согласно изобретению части могут быть рассчитаны отдельно на соответствующие огнезадерживающие свойства, можно рассчитать самый верхний изолирующий элемент, то есть изолирующий элемент, находящийся в критической области, в соответствии с этими критериями, тогда как нижние изолирующие элементы могут быть рассчитаны на меньшую по сравнению с этим огнезащитную стойкость. То есть в верхней области минераловатный изолирующий элемент изготавливают повышенной плотности, тогда как диапазон объемной плотности для нижних изолирующих элементов можно снизить. За счет этого можно предотвратить избыточные размеры в нижней области, в результате чего в целом возникает соответствующая экономия затрат. Благодаря этому имеется огнезащитная дверь с согласованным специально с ожидаемыми температурными нагрузками огнезащитным наполнителем, которому в отдельных областях может быть придано требуемое огнезадерживающее действие. В результате возникает более значительная экономия ресурсов.
Испытания показали также, что, в частности, верхние области огнезащитной двери подвержены высокой температурной нагрузке, тогда как нижние области испытывают меньшие температурные нагрузки. Так, например, испытание, при котором огнезащитная дверь была подвержена на одной стороне температуре 1000°С, показало, что по истечении времени сопротивления 100 минут на защищенной стороне огнезащитной двери возникает разность температур до 100 К. Соответственно, предпочтительно предусмотреть в менее температурно-нагруженных нижних областях обладающие более низкими огнезадерживающими свойствами материалы, то есть, в частности, минераловолокнистые плиты с соответствующими противопожарными средствами, чем в верхних областях двери с высокой температурной нагрузкой.
В целом предпочтительно выполнить огнезащитный наполнитель в соответствии с данными потребностями составным по типу модульной конструкции, причем разделение огнезащитного наполнителя может быть целесообразным не только в поперечном направлении, но и, в частности, поперек в области дверных замков. Само собой, возможны и другие разделения.
На высоте дверных замков у выполненного из верхней и нижней частей наполнителя в области дверных замков может быть предусмотрен средний слой, который, в свою очередь, может быть разделен по ширине двери на две части, а именно дверной замочный и остаточный сегменты, так что для дверного замочного сегмента могут найти применение предварительно изготовленные стандартные конструктивные элементы. Это также упрощает изготовление огнезащитных дверей.
Во избежание, в частности по толщине, быстрого проникновения огня или тепла вдоль стыков, на которых взаимостыкуются соответствующие части огнезащитного наполнителя, предпочтительно, что образующиеся между частями стыки, по меньшей мере по толщине огнезащитного наполнителя, выполнены с нахлестом. Это может осуществляться за счет центрирующего соединения граничащих между собой частей огнезащитного наполнителя или соединения в виде геометрического замыкания, например посредством ступенчатого паза или соединения в шпунт и в гребень, при необходимости также со шнуро- или жгутовидным вкладышем в стыковой зоне изолирующих элементов.
Преимущественно обладающие более высокими огнезадерживающими свойствами части предусматривают в верхней области огнезащитной двери в диапазоне 25-40%, в частности около 30% или 33% общей высоты двери, поскольку в нормальном случае повышенная температурная нагрузка возникает в этой области, в частности в верхней трети двери.
Дополнительно в огнезащитном наполнителе могут быть предусмотрены или интегрированы в него дополнительные противопожарные средства, преимущественно вещество, которое при повышении температуры или тепловой нагрузки вызывает эндотермическую химическую и/или физическую реакцию, в частности в виде фазового превращения и/или выделения воды. Подобные вещества представляют собой, например, гидроксиды, в частности гидроксиды металлов, причем здесь хорошо зарекомендовали себя гидроксиды алюминия или магния. Эти вещества могут быть равномерно распределены в огнезащитном наполнителе из минеральной ваты и, в частности, шлаковаты или использованы в отдельном слое, например, с применением связующих, таких как жидкое стекло, кремниевый золь и/или магнезиальное связующее. При этом могут быть предусмотрены несколько соответствующих противопожарных центральных слоев, при этом, однако, хорошо зарекомендовал себя единственный слой посередине в частях огнезащитного наполнителя.
Другие преимущества, отличия и признаки настоящего изобретения поясняются за счет нижеследующего подробного описания двух примеров выполнения с помощью прилагаемых чертежей, на которых схематично показано:
фиг. 1: вид сбоку огнезащитной двери согласно изобретению, у которой панель из листовой стали на передней стороне отсутствует;
фиг.2: разрез огнезащитной двери из фиг.1 по линии В-В;.
фиг.3: разрез огнезащитной двери из фиг.1 по линии А-А;
фиг.- 4: вид сбоку другого варианта осуществления огнезащитной двери согласно изобретению.
На фиг.1 изображен вид сбоку огнезащитной двери 1, содержащей по периметру рамную конструкцию 2, образующую вместе с панелями 3,4 из листовой стали (фиг.2 и 3) внешний корпус огнезащитной двери 1. Внутри корпуса расположены две части 5, 6 огнезащитного наполнителя, причем верхняя часть 5 занимает около 40% всей длины двери, тогда как нижняя часть 6 занимает остальной участок всей длины, то есть около 60% всей длины. Как видно, в частности, из фиг.2 и 3, верхняя 5 и нижняя 6 части выполнены трехслойными, а именно состоят из первого 7 и второго 9 слоев шлаковаты, расположенных на внешних сторонах, и находящегося посередине между ними противопожарного центрального слоя 8. Противопожарный центральный слой 8 может состоять при этом из выделяющего воду при тепловом воздействии вещества, например выделяющего воду гидроксида, например гидроксида алюминия или магния, который смешан со связующими, такими как жидкое стекло, кремниевый золь и/или магнезиальное связующее.
Само собой, противопожарный центральный слой 8 также может содержать шлаковату или, в целом, минеральную вату, в которую помещено или интегрировано противопожарное средство, вызывающее в случае теплового воздействия эндотермическую химическую и/или физическую реакцию.
В изображенном примере выполнения верхняя 5 и нижняя 6 части выполнены в виде плит, но при этом отдельные слои, то есть первый 7 и второй 9 слои из минеральной ваты, а также противопожарный центральный слой 8 могут быть выполнены также в виде отдельных частей, в частности в форме плит.
Во избежание распространения тепла или огня вдоль стыка 10 частей, то есть в изображенном примере выполнения на фиг.3 на стыке 10 между верхней 5 и нижней 6 частями, он выполнен так, что по толщине огнезащитного наполнителя имеется нахлест. Таким образом, граничащие между собой и взаимостыкующиеся части имеют преимущественно такую форму, что они могут быть соединены по типу геометрического замыкания или центрирующего соединения, так что достигается стыковой нахлест. При этом зарекомендовал себя, в частности, ступенчатый паз или соединение в шпунт и в гребень, как это показано на фиг.3 в случае ступенчатого паза 11.
В показанном примере выполнения на фиг.3 хорошо видно также, что за счет умелого расположения противопожарного центрального слоя 8 в центре огнезащитного наполнителя и выполнения ступенчатого паза 11 с прохождением стыка внутри противопожарного центрального слоя 8 невозможно быстрое проникновение тепла или огня вдоль стыка 10. Напротив, за счет большой протяженности стыка 10 в противопожарном центральном слое 8 обеспечивается особенно высокая огнестойкость.
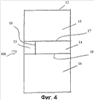
На фиг.4 показан другой вариант осуществления огнезащитной двери 100, у которой рамная конструкция 12 по периметру показана лишь схематично. Огнезащитная дверь 100 содержит огнезащитный наполнитель, состоящий в целом из трех частей 14-16, причем для последующей вставки замочной коробки выполнено свободное пространство 13. В то время как верхняя 15 и нижняя 16 части сопоставимы с верхней 5 и нижней 6 частями предыдущего варианта осуществления по фиг.1-3, в огнезащитной двери 100 между верхней 15 и нижней 16 частями предусмотрен еще средний слой с сегментом 14, который выполнен короче на ширину замочной коробки. Это разделение огнезащитного наполнителя в целом на три части 14-16 предпочтительно тогда, когда в зоне свободного пространства 13 должен быть предусмотрен замок или замочная коробка. Благодаря предусмотренному свободному пространству 13 предпочтительно отпадает последующая обработка дверного полотна для вставки замочной коробки.
Образованные разделением огнезащитного наполнителя огнезащитной двери 100 швы 17-19 могут быть выполнены аналогично шву 10 в варианте осуществления на фиг.3.
Формула изобретения
1. Огнезащитная дверь с огнестойкими свойствами в соответствии с нормированными классами огнестойкости, содержащая корпус (2, 3, 4), в частности, из рамной конструкции (2) по периметру и панелями (3, 4) из листовой стали с обеих сторон, а также расположенного в корпусе огнезащитного наполнителя с растворимыми, в частности, в физиологической среде минеральными волокнами, в частности шлаковатой, отличающаяся тем, что огнезащитный наполнитель в направлении, поперечном его продольной соответствующей высоте протяженности, разделен на несколько отдельных частей с разными огнезадерживающими свойствами.
2. Дверь по п.1, отличающаяся тем, что каждая часть по толщине наполнителя разделена на несколько слоев (7, 8, 9).
3. Дверь по п.1 или 2, отличающаяся тем, что верхняя часть (5, 15) или верхние слои выполнены с более высокими огнезадерживающими свойствами, чем нижняя часть или нижние слои огнезащитного наполнителя.
4. Дверь по п.1 или 2, отличающаяся тем, что, по меньшей мере, одна часть (сегмент 14) по ширине огнезащитного наполнителя выполнена укороченной для размещения замочной коробки (свободное пространство 13).
5. Дверь по п.1 или 2, отличающаяся тем, что взаимостыкующиеся части огнезащитного наполнителя, по меньшей мере, частично выполнены так, что образующиеся между частями стыки (10, 17, 18, 19) расположены по толщине огнезащитного наполнителя с нахлестом, в частности по типу центрирующего соединения или геометрического замыкания, преимущественно ступенчатого паза, соединения шпунт/гребень и т.п.
6. Дверь по п.1 или 2, отличающаяся тем, что части порознь или в комбинации, в частности слои, выполнены, по меньшей мере, частично в виде плит (5, 6).
7. Дверь по п.1 или 2, отличающаяся тем, что огнезащитный наполнитель содержит противопожарное средство, которое при возрастании температуры вызывает эндотермическую химическую и/или физическую реакцию, в частности фазовое превращение или выделение воды.
8. Дверь по п.7, отличающаяся тем, что противопожарное средство содержит гидроксид, в частности гидроксид металла, преимущественно гидроксид алюминия или магния.
9. Дверь по п.8, отличающаяся тем, что огнезащитный наполнитель состоит из двух частей, из которых верхняя часть содержит 55-75%, преимущественно около 60%, а нижняя часть – 35-45%, преимущественно 40%, выделяющего воду вещества.
10. Дверь по п.8 или 9, отличающаяся тем, что противопожарное средство расположено посередине толщины огнезащитного наполнителя.
11. Дверь по п.1 или 2, отличающаяся тем, что рассчитанные на повышенное огнезадерживающее действие части, в частности верхняя часть, имеют более высокое содержание противопожарного средства.
12. Дверь по п.1 или 2, отличающаяся тем, что две части разделены по своей продольной протяженности в соотношении верх/низ, как 1:3.
РИСУНКИ
|
|