|
|
(21), (22) Заявка: 2007122894/03, 18.06.2007
(24) Дата начала отсчета срока действия патента:
18.06.2007
(43) Дата публикации заявки: 27.12.2008
(46) Опубликовано: 10.05.2009
(56) Список документов, цитированных в отчете о поиске:
RU 2090728 С1, 20.09.1997. RU 2178501 С1, 20.01.2002. WO 2005028175 А2, 31.03.2005. US 6029607 А, 29.02.2000. US 4646468 А, 03.03.1987.
Адрес для переписки:
443110, г.Самара, ул. Ново-Садовая, 38, кв.154, ООО “НЦИ”, В.Ф. Нагайцеву
|
(72) Автор(ы):
Безрученко Грант Александрович (RU), Ковыркин Федор Иванович (RU)
(73) Патентообладатель(и):
Безрученко Грант Александрович (RU), Ковыркин Федор Иванович (RU)
|
(54) СПОСОБ ИЗГОТОВЛЕНИЯ ДЕКОРАТИВНОЙ БЕСЕДКИ
(57) Реферат:
Изобретение относится к области строительства, в частности к способу изготовления мелких построек – беседки. Технический результат изобретения заключается в повышении прочности беседки. Способ изготовления декоративной беседки включает подготовку площадки, заливку бетоном выровненного участка, подготовку стяжки, подготовку круглых бревен под создание деревянной торцовой площадки-подложки. На поверхности площадки-подложки устанавливают деревянный настил, а на его горизонтальной площадке на рамке из уголкового профиля устанавливают металлическую конструкцию. Затем осуществляют подготовку шаблонов изображения листьев виноградной лозы, гроздьев винограда, которые выполняют из пруткового материала из низкоуглеродистой стали. Изготовляют арки, причем две из них, расположенные со стороны торцов, снабжают декоративным контуром. Торцы арок крепят с боковыми прямоугольно-декоративными рамками беседки, содержащими сопрягаемые между собой участки виноградной лозы, выполненной из пруткового материала. 9 ил.
Изобретение относится к сфере отдыха людей и может быть использовано для тренировок гимнастов или для проведения художественных выставок в летнее время, а также для образования непроницаемой зоны для сохранения промышленных и иных видов оборудования.
К известным техническим решениям следует отнести патент РФ 2178501 – Стеклометаллическая конструкция, Е06В 3/00 – аналог [I]. К недостаткам аналога следует отнести разнородность используемых материалов, что технологически удорожает конструкцию и делает ее менее безопасной для человека в случае появления разрушающих факторов стихийного или искусственного характера.
Известен патент РФ 2090728, Е06В 9/06 от 20.09.97, Бюл. 26. К недостаткам аналога [2] следует отнести возможность разборки и складирования отдельных элементов, что снижает технологические возможности и позволяет расхитителям металла изменять форму и содержание конструкции.
Задачей изобретения является придание беседке декоративных особенностей художественного конструирования с использованием ручной ковки листьев, гроздьев винограда, веток виноградной лозы и рационального использования этих элементов для получения артефакта при прочих полезных чертах промышленной применимости, которые могут быть выражены ограничением доступа в определенную зону декоративного пространства беседки, что может нести не только вышеупомянутые функции для отдыха человека, проведения выставок, тренировки гимнастов, но и для временного промышленного хранения аксессуаров военно-стратегического применения, так как декоративная беседка с художественным внешним исполнением может являться и маскировочным объектом.
Поставленная задача достигается тем, что способ изготовления декоративной беседки (1), по которому устанавливают деревянный настил (2) и конструкцию беседки, отличающийся тем, что производят подготовку площадки (4) путем удаления из нее грунта (5), осуществляют заливку бетоном (6) выровненного участка (8), подготовляют стяжку (7) на основе цемента марки 125, выдерживают слой стяжки (7) в режиме отвердевания в течение 4-10 суток, одновременно готовят круглые бревна (9) на распиловочном оборудовании, выдерживая их диаметральные и высотные параметры под создание деревянной торцовой площадки-подложки (10) с площадью, соразмерной площади стяжки (7), все устанавливаемые бревна сплачивают между собой с помощью металлических скоб и/или гвоздей (11 или 12), на поверхности площадки-подложки (10) устанавливают деревянный настил (2), а на его горизонтальной площадке осуществляют установку металлической конструкции декоративной беседки (3), которую выполняют на основании деревянного настила (2) из уголкового профиля (13), сваренного прямоугольной рамкой, большие стороны (14 и 15) которой разделяют на равные по протяженности участки (16-24), короткие стороны (25 и 26) прямоугольной рамки разделяют на три зоны (27, 28 и 29) срединную часть длины уголка (28) со стороны торцов (25 и 26) декоративной беседки (1, 3) оставляют открытой более чем на одну треть, осуществляют подготовку шаблонов изображения листьев (30 или 31) виноградной лозы (32), гроздьев винограда (33), которые выполняют из пруткового материала, из низкоуглеродистой стали с помощью стационарно установленной газовой горелки, причем пламенем газовой горелки добиваются оптимального нагрева изгибаемой зоны прутка, находящегося в приспособлении, где стальной пруток вращают и многократно спрессовывают под нагревом от 480 до 550°С при его ковке до требуемой толщины и остроугольной формы, причем композицию изгиба торцовых зон прутка доводят ручной ковкой по шаблону рисунка лозы (32), производят ручную ковку гроздьев винограда (33) и чеканку форм листьев (30 или 31) виноградной лозы (32) в пламени газовой горелки при переходе перлита в аустенит, подготавливают круговые заготовки (34) пруткового материала в количестве, соразмерном общей площади декоративной беседки, выковывают из стальной полосы листья виноградной лозы (31) уменьшенной формы для расположения в верхней части беседки, подготавливают кольцевые скобы (35) для закрепления композиций фрагментов лозы, выполняют фрагментарные участки аркообразно изогнутой лозы (36), изготовляют арки (37-45), причем две из них (37 и 45), расположенные со стороны торцов (25 и 26), снабжают декоративным контуром (46), состоящим из сопрягаемых между собой веток лозы, одновременно под арками (37 и 45) и над аркоизогнутой лозе (36) размещают кольцевой участок прутка с внутренним размещением в нем грозди (47) винограда, выполненных из низкоуглеродистой стали, а непосредственно на горизонтальных полочках (48) арок (37-45) размещена рамка (49) с встроенными в нее и сопрягаемыми между собой изогнутыми по криволинейным спиралям лозами (31) виноградника, торцы (50 и 51) арок (37-45) крепят сваркой с боковыми прямоугольно-декоративными рамками (52 и 53) беседки (1), содержащими сопрягаемые между собой участки виноградной лозы (31), выполненной из пруткового материала, непосредственно между последней и прямоугольной в основании рамкой, которую устанавливают на основании (2) декоративной беседки (1) со встроенными в нее композиционными, повторяющимися и скрепленными между собой секциями, которые состоят из сопряжений кругового и пруткового профилей, закрепленных скобами с размещенными в круге лозы виноградными листьями и гроздями винограда, одновременно арки соединяют с волнообразными профилями проволочного волнообразного, с оппозитным расположением проката (54), которым составляют сетчатое покрытие арок (37-45), с прикрепленными к ним ручной сваркой виноградными листьями, выполненными из стального листового проката с предварительной разметкой центрации каждого отдельного привариваемого элемента декоративной беседки, где по торцам (25 и 26) установлены оппозитно расположенные части декоративных секций рамок (53 или 52).
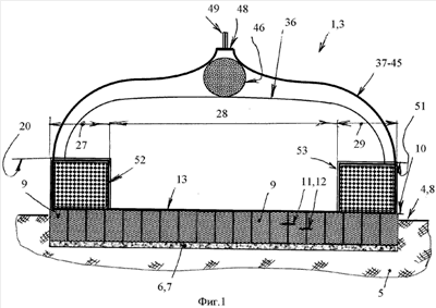
Графические материалы: фиг.1 – торец декоративной беседки с показом сечения грунта, настила, подложки и фундамента с природным рельефом грунта; фиг.2 – вид сверху на декоративную беседку; фиг.3 – профильная проекция декоративной беседки; фиг.4 – изометрическое изображение собранной беседки; фиг.5 – аксонометрическое изображение декоративной беседки; фиг.6 – расположение беседки на подложке и грунте; фиг.7 – угловая композиция базирования беседки декоративной; фиг.8 – фрагмент декоративной композиции беседки; фиг.9 – вид в профиль декоративной беседки, установленной на грунте.
Описание позиций, представленных на фиг.1-8:
декоративная беседка (1); деревянный настил (2); конструкция беседки (3); площадка (4); грунт (5); бетон (6); стяжка (7); участок (8); круглые бревна (9); площадка-подложка (10); металлические скобы и гвозди (11 или 12); уголковый профиль (13); стороны (14 и 15); участки (16-24); стороны (25 и 26); зоны (27, 28 и 29); листья (30 или 31); виноградная лоза (32); гроздья винограда (33); кольцевые скобы (35); лоза (36); арки (37-45); декоративный контур (46); грозди (47) винограда; полочка (48); рамка (49); торцы (50 и 51); рамки (52 и 53); прокат (54).
Описание способа
Способ изготовления декоративной беседки (1), по которому устанавливают деревянный настил (2) и конструкцию беседки, отличающийся тем, что:
– производят подготовку площадки (4) путем удаления из нее грунта (5);
– осуществляют заливку бетоном (6) выровненного участка (8);
– подготовляют стяжку (7) на основе цемента марки 125;
– выдерживают слой стяжки (7) в режиме отвердевания в течение 4-10 суток;
– готовят круглые бревна (9) на распиловочном оборудовании, выдерживая их диаметральные и высотные параметры под создание деревянной торцовой площадки-подложки (10) с площадью, соразмерной площади стяжки (7);
– устанавливаемые бревна сплачивают между собой с помощью металлических скоб и/или гвоздей (11 или 12);
– на поверхности площадки-подложки (10) устанавливают деревянный настил (2), а на его горизонтальной площадке осуществляют установку металлической конструкции (3) декоративной беседки (1), которую выполняют на основании деревянного настила (2) из уголкового профиля (13), сваренного прямоугольной рамкой;
– большие стороны (14 и 15) рамки разделяют на равные по протяженности участки (16-24), короткие стороны (25 и 26) прямоугольной рамки разделяют на три зоны (27, 28 и 29), а срединную часть длины уголка (28) со стороны торцов (25 и 26) декоративной беседки (1, 3) оставляют открытой более чем на одну треть;
– осуществляют подготовку шаблонов изображения листьев (30 или 31) виноградной лозы (32), гроздьев винограда (33), которые выполняют из пруткового материала из низкоуглеродистой стали с помощью стационарно установленной газовой горелки;
– пламенем газовой горелки добиваются оптимального нагрева изгибаемой зоны прутка, находящегося в приспособлении, где стальной пруток вращают и многократно спрессовывают под нагревом от 480 до 550°С при его ковке, до требуемой толщины и остроугольной формы;
– композицию изгиба торцовых зон прутка доводят ручной ковкой по шаблону рисунка лозы (32);
– производят ручную ковку гроздьев винограда (33) и чеканку форм листьев (30 или 31) виноградной лозы (32) в пламени газовой горелки при переходе перлита в аустенит;
– подготавливают круговые заготовки (34) пруткового материала в количестве, соразмерном общей площади декоративной беседки;
– выковывают из стальной полосы листья виноградной лозы (31) уменьшенной формы для расположения в верхней части беседки;
– подготавливают кольцевые скобы (35) для закрепления композиций фрагментов лозы;
– выполняют фрагментарные участки аркообразно изогнутой лозы (36);
– изготовляют арки (37-45), причем две из них (37 и 45), расположенные со стороны торцов (25 и 26), снабжают декоративным контуром (46), состоящим из сопрягаемых между собой веток лозы;
– под арками (37 и 45) и над аркоизогнутой лозой (36) размещают кольцевой участок прутка с внутренним размещением в нем грозди (47) винограда, выполненных из низкоуглеродистой стали, а непосредственно на горизонтальных полочках (48) арок (37-45) размещают рамку (49) с встроенными в нее и сопрягаемыми между собой изогнутыми по криволинейным спиралям лозами (31) виноградника;
– торцы (50 и 51) арок (37-45) крепят сваркой с боковыми прямоугольно-декоративными рамками (52 и 53) беседки (1), содержащими сопрягаемые между собой участки виноградной лозы (31), выполненной из пруткового материала, непосредственно между последней и прямоугольной в основании рамкой, которую устанавливают на основании (2) декоративной беседки (1) со встроенными в нее композиционными, повторяющимися и скрепленными между собой секциями;
– секции выполняют из сопряжений кругового и пруткового профилей, их закрепляют скобами с размещенными в круге лозы виноградными листьями и гроздями винограда;
– арки соединяют с волнообразными профилями проволочного волнообразного проката (54), с оппозитным расположением проката (54), которым составляют сетчатое покрытие арок (37-45), с прикрепленными к ним ручной сваркой виноградными листьями, выполненными из стального листового проката с предварительной разметкой центрации каждого отдельного привариваемого элемента декоративной беседки, где по торцам (25 и 26) установлены оппозитно расположенные части декоративных секций рамок (53 или 52).
Пример выполнения способа
| Способ изготовления декоративной беседки (1), по которому устанавливают деревянный настил (2) и конструкцию беседки, выполняют таким образом, что: |
| 1. |
производят подготовку площадки (4) путем удаления из нее грунта (5); |
| 2. |
осуществляют заливку бетоном (6) выровненного участка (8); |
| 3. |
подготовляют стяжку(7) на основе цемента марки 125; |
| 4. |
выдерживают слой стяжки (7) в режиме отвердевания в течение 4-10 суток; |
| 5. |
готовят круглые бревна (9) на распиловочном оборудовании, выдерживая их диаметральные и высотные параметры, под создание деревянной торцовой площадки-подложки (10) с площадью, соразмерной площади стяжки (7); |
| 6. |
устанавливаемые бревна сплачивают между собой с помощью металлических скоб и/или гвоздей (11 или 12); |
| 7. |
на поверхности площадки-подложки (10) устанавливают деревянный настил (2), а на его горизонтальной площадке осуществляют установку металлической конструкции (3) декоративной беседки (1), которую выполняют на основании деревянного настила (2) из уголкового профиля (13), сваренного прямоугольной рамкой; |
| 8. |
большие стороны (14 и 15) рамки разделяют на равные по протяженности участки (16-24), короткие стороны (25 и 26) прямоугольной рамки разделяют на три зоны (27, 28 и 29), а срединную часть длины уголка (28) со стороны торцов (25 и 26) декоративной беседки (1,3) оставляют открытой более чем на одну треть; |
| 9. |
осуществляют подготовку шаблонов изображения листьев (30 или 31) виноградной лозы (32), гроздьев винограда (33), которые выполняют из пруткового материала из низкоуглеродистой стали с помощью стационарно установленной газовой горелки; |
| 10. |
пламенем газовой горелки добиваются оптимального нагрева изгибаемой зоны прутка, находящегося в приспособлении, где стальной пруток вращают и многократно спрессовывают под нагревом от 480-550°С при его ковке до требуемой толщины и остроугольной формы; |
| 11. |
композицию изгиба торцовых зон прутка доводят ручной ковкой по шаблону рисунка лозы (32); |
| 12. |
производят ручную ковку гроздьев винограда (33) и чеканку форм листьев (30 или 31) виноградной лозы (32) в пламени газовой горелки при переходе перлита в аустенит; |
| 13. |
подготавливают круговые заготовки (34) пруткового материала в количестве, соразмерном общей площади декоративной беседки; |
| 14. |
выковывают из стальной полосы листья виноградной лозы (31) уменьшенной формы для расположения в верхней части беседки; |
| 15. |
подготавливают кольцевые скобы (35) для закрепления композиций фрагментов лозы; |
| 16. |
выполняют фрагментарные участки аркообразно изогнутой лозы (36); |
| 17. |
изготовляют арки (37-45), причем две из них (37 и 45), расположенные со стороны торцов (25 и 26), снабжают декоративным контуром (46), состоящим из сопрягаемых между собой веток лозы; |
| 18. |
под арками (37 и 45) и над аркоизогнутой лозе (36) размещают кольцевой участок прутка с внутренним размещением в нем гроздей (47) винограда, выполненных из низкоуглеродистой стали, а непосредственно на горизонтальных полочках (48) арок (37-45) размещают рамку (49) с встроенными в нее и сопрягаемыми между собой изогнутыми по криволинейным спиралям лозами (31) виноградника; |
| 19. |
торцы (50 и 51) арок (37-45) крепят сваркой с боковыми прямоугольно-декоративными рамками (52 и 53) беседки (1), содержащими сопрягаемые между собой участки виноградной лозы (31), выполненной из пруткового материала, непосредственно между последней и прямоугольной в основании рамкой, которую устанавливают на основании (2) декоративной беседки (1) со встроенными в нее композиционными, повторяющимися и скрепленными между собой секциями; |
| 20. |
секции выполняют из сопряжений кругового и пруткового профилей, их закрепляют скобами с размещенными в круге лозы виноградными листьями и гроздями винограда; |
| 21. |
арки соединяют с волнообразными профилями проволочного волнообразного проката (54), с оппозитным расположением проката (54), которым составляют сетчатое покрытие арок (37-45), с прикрепленными к ним ручной сваркой виноградными листьями, выполненными из стального листового проката с предварительной разметкой центрации каждого отдельного привариваемого элемента декоративной беседки, где по торцам (25 и 26) установлены оппозитно расположенные части декоративных секций рамок (53 или 52). |
Промышленная полезность заключается в использовании переходной зоны перлита в аустенит для окончательно закрепленного пруткового материала с повышением прочности стали на 60-70 МПа, причем декоративные особенности беседки обладают артефактом и непроницаемой зоной доступа в беседку, что позволяет использовать ее функциональные возможности для отдыха и развития человека, а кроме того, применять иные функциональные возможности, например использовать беседку в качестве маскировочного объекта при хранении в нем промышленного или военного инвентаря.
Экономическая целесообразность нового технического решения заключается в использовании беседки для творческого развития людей при проведении в ней выставок, семинаров, тренировок гимнастов или для сохранения различных военно-промышленных объектов.
Формула изобретения
Способ изготовления декоративной беседки, по которому устанавливают деревянный настил и конструкцию беседки, отличающийся тем, что производят подготовку площадки путем удаления из нее грунта, осуществляют заливку бетоном выровненного участка, подготовляют стяжку на основе цемента марки 125, выдерживают слой стяжки в режиме отвердевания в течение 4-10 сут, готовят круглые бревна на распиловочном оборудовании, выдерживая их диаметральные и высотные параметры под создание деревянной торцевой площадки-подложки с площадью, соразмерной площади стяжки, устанавливаемые бревна сплачивают между собой с помощью металлических скоб и/или гвоздей, на поверхности площадки-подложки устанавливают деревянный настил, а на его горизонтальной площадке осуществляют установку металлической конструкции декоративной беседки, которую выполняют на основании деревянного настила и уголкового профиля, сваренного прямоугольной рамкой, большие стороны рамки разделяют на равные по протяженности участки, короткие стороны прямоугольной рамки разделяют на три зоны, а срединную часть длины уголка со стороны торцов декоративной беседки оставляют открытой более чем на одну треть, осуществляют подготовку шаблонов изображения листьев виноградной лозы, гроздьев винограда, которые выполняют из пруткового материала из низкоуглеродистой стали, с помощью стационарно установленной газовой горелки, пламенем газовой горелки добиваются оптимального нагрева изгибаемой зоны прутка, находящегося в приспособлении, где стальной пруток вращают и многократно спрессовывают под нагревом от 480-550°С при его ковке до требуемой толщины и остроугольной формы, композицию изгиба торцевых зон прутка доводят ручной ковкой по шаблону рисунка лозы, производят ручную ковку гроздьев винограда и чеканку форм листьев виноградной лозы в пламени газовой горелки при переходе перлита в аустенит, подготавливают круговые заготовки пруткового материала в количестве, соразмерном общей площади декоративной беседки, выковывают из стальной полосы листья виноградной лозы уменьшенной формы для расположения в верхней части беседки, подготавливают кольцевые скобы для закрепления композиций фрагментов лозы, выполняют фрагментарные участки аркообразно изогнутой лозы, изготовляют арки, причем две из них, расположенные со стороны торцов, снабжают декоративным контуром, состоящим из сопрягаемых между собой веток лозы, под арками и над аркоизогнутой лозой размещают кольцевой участок прутка с внутренним размещением в нем грозди винограда, выполненных из низкоуглеродистой стали, а непосредственно на горизонтальных полочках арок размещают рамку с встроенными в нее и сопрягаемыми между собой изогнутыми по криволинейным спиралям лозами виноградника, торцы арок крепят сваркой с боковыми прямоугольно-декоративными рамками беседки, содержащими сопрягаемые между собой участки виноградной лозы, выполненной из пруткового материала, непосредственно между последней и прямоугольной в основании рамкой, которую устанавливают на основании декоративной беседки со встроенными в нее композиционными, повторяющимися и скрепленными между собой секциями, секции выполняют из сопряжений кругового и пруткового профилей, их закрепляют скобами с размещенными в круге лозы виноградными листьями и гроздями винограда, арки соединяют с волнообразными профилями проволочного волнообразного проката, с оппозитным расположением волнообразного проката, которым составляют сетчатое покрытие арок, с прикрепленными к ним ручной сваркой виноградными листьями, выполненными из стального листового проката с предварительной разметкой центрации каждого отдельного привариваемого элемента декоративной беседки, где по торцам установлены оппозитно расположенные части декоративных секций рамок.
РИСУНКИ
|
|