|
|
(21), (22) Заявка: 2007136942/11, 08.10.2007
(24) Дата начала отсчета срока действия патента:
08.10.2007
(46) Опубликовано: 10.05.2009
(56) Список документов, цитированных в отчете о поиске:
RU 2207271 С2, 27.06.2003. RU 2236493 С2, 20.09.2004. RU 2247187 С2, 27.02.2005. GB 1055464 A, 18.01.1967. US 1355400 A, 12.10.1920.
Адрес для переписки:
614990, г.Пермь, ул. Букирева, 15, ПГУ, пат. пов. А.А. Онорину, рег. 126
|
(72) Автор(ы):
Прохоров Алексей Григорьевич (RU)
(73) Патентообладатель(и):
Государственное образовательное учреждение высшего профессионального образования “Пермский государственный университет” (RU)
|
(54) РЕЛЬС А.ПРОХОРОВА
(57) Реферат:
Изобретение относится к области железнодорожного транспорта, а именно к путевым элементам для него, и может найти широкое применение при создании новых транспортных систем – как пассажирских, так и грузовых. Предложен рельс с двумя расположенными под углом плоскостями качения, у которого в поперечном сечении головка выполнена асимметричной. Внутренняя относительно ходового пути часть головки рельса по форме соответствует стандартному рельсу. Внешняя часть головки рельса имеет наклонную плоскость для качения вспомогательных колес, а также снизу имеет дополнительную плоскость, расположенную к наклонной плоскости качения под углом 92-93 градуса. Технический результат – возможность построения надежных и долговечных транспортных систем. 2 ил.
Изобретение относится к области железнодорожного транспорта, а именно к путевым элементам для него, и может найти широкое применение при создании новых транспортных систем – как пассажирских, так и грузовых.
Уровень техники.
Как известно, общий принцип рельсового транспорта сформировался довольно давно, задолго до появления паровой тяги. Форма рельса и форма колеса за два столетия претерпели многочисленные изменения, причём их нынешний вид есть скорее результат повседневной практической деятельности инженеров, нежели продукт теоретических построений. К сожалению, при поиске форм теория мало полезна; она помогает лишь выбрать наиболее удачное решение среди множества аналогичных.
Также известно, что при широчайшем использовании железнодорожного транспорта в современном мире критика со стороны специалистов не прекращается. С повышением скорости подвижного состава, а также с повышением его грузоподъёмности принципиальные недостатки существующих конструкций становятся всё более и более очевидными. Можно определённо сказать, что главным источником проблем является сама пара «колесо-рельс».
Если сравнить указанный в справочниках коэффициент трения качения металла по металлу с реальным коэффициентом трения железнодорожных колёсных пар, то разница получается весьма заметная. Безусловно, ранее значительную долю «вины» несли подшипники скольжения (буксы), но сегодня уже практически все вагоны снабжены роликовыми подшипниками. Однако снизить трение до табличной величины всё равно не удаётся. Не нужно быть специалистом, чтобы дать правильный ответ -железнодорожные колёса имеют сложную форму; поэтому катятся с некоторым проскальзыванием.
Идеальный вариант – качение цилиндра по плоскости, именно для него и верны табличные данные. Само по себе трение колёс не создаёт заметной помехи движению, особенно скоростному – для современных пассажирских поездов аэродинамика становится более значительным фактором. Гораздо опаснее то, что трение приводит к износу колёс и рельсов.
При обследовании интенсивно эксплуатируемого полотна легко заметить, что рельсы подвергаются максимальному износу отнюдь не сверху, а сбоку – именно там, где у колёс расположены реборды. Подвижной состав как бы «растачивает» ходовой путь, непрерывно и неизбежно увеличивая колею. Сами колёсные пары при этом тоже истираются, но в меньшей степени, поскольку их «бандажи» выполняются из более твёрдой стали, чем рельсы. Понятно, что в результате «растачивания» резко возрастает риск аварии, но для калибровки здесь прямой возможности нет, ведь гораздо проще заменить рельсы, нежели раз за разом сдвигать их по всей длине. Наконец, взаимное «притирание» дополнительно увеличивает трение. До некоторого условного предела полотно ещё подлежит текущему ремонту, однако при износе сверх этого предела рецепт один – полная замена рельсов.
И здесь мировая железнодорожная статистика показывает тревожную картину – периоды гарантированной эксплуатации неуклонно сокращаются. Рельсы приходится менять всё чаще и чаще, также сокращаются и периоды текущих ремонтов. Например, главный ход Транссибирской магистрали в зоне Урала и Западной Сибири фактически непрерывно находится в состоянии текущего ремонта (во всяком случае, летом). Что же касается скоростного движения, то в климатических условиях Урала и Сибири оно проблематично.
Вообще говоря, большие скорости движения пассажирских поездов в Японии, Италии, Франции и Великобритании – «заслуга» мягкого приморского климата указанных стран. Зато в Германии после серии катастроф с многочисленными жертвами скорость пришлось ограничить. Причина – несколько более суровый климат, что в сочетании с износом путей создаёт большую угрозу.
Выход из создавшейся ситуации ищут довольно давно, причём решение является вполне «классическим»: вместо реборд пытаются использовать дополнительные направляющие колёса.
Сочетание функционально разных колёс характерно для всех «монорельсов», однако их сравнительно малое распространение говорит, увы, не в пользу подобного новаторства.
Так, в патенте США 3.391.652 (1968 г.) предложено «лобовое» решение – горизонтальные направляющие колёса, катящиеся по внутренним вертикальным поверхностям рельсов.
Однако сразу понятно, что такое решение несовместимо с типовой конструкцией ходового пути, поэтому оно и не нашло применения.
Среди последних технических решений можно отметить аналогичную систему в соответствии с пат. РФ 2.297.934 (МПК В61В 13/00, В61В 15/00, B60F 1/00; 27.04.2007, бюлл. 12).
Отличие от патента США здесь в том, что направляющие колёса установлены наклонно и имеют реборды, частично заходящие под края металлических направляющих элементов. Основные колёса в обеих системах резиновые, по типу автомобильных.
Преимущество наклонного расположения колёс и плоскостей их качения – «совместимость» с обычным пешеходным и колёсным движением. У системы согласно патенту США центральная часть ходового пути не может быть ничем заполнена; отсюда сразу вытекает невозможность устройства автомобильного переезда. При высоте «рельсов» более 300 мм они создают препятствие даже для пешеходов.
Прототип.
Идея наклонного расположения колёс весьма привлекательна; наиболее отчётливо она нашла отражение в патенте РФ 2.207.271 (МПК B61F 3/16, В61В 3/02, 27.06.2003). Авторы решили вообще отказаться от обычных опорных колёс и оставили одни наклонные колёса, симметрично расположив их относительно рельса с ромбовидной головкой. Как и в случае патента 2.297.934, наклонные колёса имеют реборды, которые частично заходят под головку рельса.
К сожалению, изящное на вид «симметричное» решение имеет два весьма серьёзных недостатка. Прежде всего, можно указать на радикальное отличие нового ходового пути от типового железнодорожного полотна. Поскольку обычный подвижной состав уже не сможет эксплуатироваться, первоначальные затраты окажутся слишком большими. Это – характерная проблема всех массовых технических «перестроек» – старое всегда дешевле и надёжнее. Как правило, нестандартность обычно становится для нового «приговором». Опытные инженеры никогда не стремятся полностью отвергнуть старое решение лишь потому, что оно старое.
Второй недостаток прототипа носит чисто технический характер. При наклонном положении опорных колёс возникает значительная осевая нагрузка, что неизбежно ведёт к сильным вибрациям, значительному трению в подшипниках и их быстрому износу. Например, для повышения устойчивости автомобиля на дороге рекомендуют устанавливать колёса под некоторым углом, и положительный эффект действительно наблюдается. Однако при этом заметно снижается срок службы подшипников.
Итак, устранение традиционных опорных колёс не может привести к суммарному положительному результату, а скорее наоборот – ухудшает параметры системы в целом. По всей видимости, решение должно быть компромиссным.
Сущность изобретения
Задачей создания настоящего изобретения является разработка рельса специального сечения, который мог бы использоваться двояко – как элемент традиционного ходового пути, и одновременно как элемент для построения будущих долговечных и надежных систем.
Поставленная задача решается за счёт признаков, общих с прототипом,таких как рельс с двумя расположенными под углом плоскостями качения, а также отличительных существенных признаков в поперечном сечении, головка рельса выполнена асимметричной, причём внутренняя относительно ходового пути часть головки рельса по форме соответствует стандартному рельсу, тогда как внешняя часть головки рельса имеет наклонную плоскость для качения вспомогательных колёс, а также снизу имеет дополнительную плоскость, расположенную к наклонной плоскости качения под углом 92-93 градуса.
Вышеперечисленная совокупность признаков позволяет получить следующий технический результат – возможность построения надежных и долговечных транспортных систем.
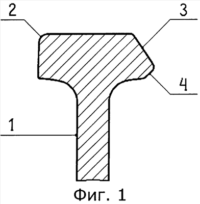
Изобретение иллюстрируется чертежами.
На фиг. 1 показано поперечное сечение предлагаемого рельса, а на фиг. 2 показано расположение основных и вспомогательных колёс.
Позициями обозначены: 1 – «ребро» рельса; 2 – внутренняя часть головки рельса, соответствующая стандартному железнодорожному рельсу, 3 – плоскость качения вспомогательных колёс; 4 – дополнительная плоскость; 5 – основное колесо ж/д типа; 6 – вспомогательное стабилизирующее колесо ж/д типа. Задача вспомогательных колес 6 – устранение поперечных колебаний основных колесных пар, в результате чего повысится срок эксплуатации ходового пути (примерно в 10 раз). Действие может быть как пассивным, так и активным – с использованием электромагнитных или гидравлических элементов.
Главным преимуществом предлагаемого рельса является его полная совместимость с ныне существующим подвижным составом.
Первоначальная ширина «дорожки контакта» на новом ж/д рельсе не превосходит 50% ширины головки. По мере износа поверхности ширина «дорожки контакта» увеличивается, однако полностью блестящая поверхность головки говорит опытному путейцу о том, что рельс в ближайшее время следует заменить. Оптимальная ширина «дорожки» – примерно 70-80%.
Из сказанного ясно, что внешняя сторона головки рельса при его нормальной эксплуатации нагрузки не несет и может быть «срезана» до образования наклонной поверхности. Реально «срез» может составлять примерно 15 мм при ширине головки по верху 72 мм. Здесь следует отметить, что головка стандартного рельса слегка расширяется книзу, соответственно ее боковые грани образуют с вертикалью угол в пределах 2-3 градусов (см., например, ГОСТ Р 51045-97; Р 51685-2000).
Чтобы сохранить баланс масс относительно центральной плоскости, наружную часть головки необходимо сделать шире; в результате «срез» может достигнуть 20 мм. Если угол наклона составляет 45°, то ширина плоскости качения 3 вспомогательных колес 6 превысит 25 мм, этого уже вполне достаточно.
С уменьшением угла отклонения эффективность колес 6 увеличивается, однако при этом увеличивается и опасность удара о предметы, находящиеся вблизи рельса. Делать угол более 45° бессмысленно, поскольку в этом случае вспомогательные колеса фактически становятся опорными. В качестве нижней оценки величины основного угла можно взять значение 30 градусов, тогда возвышение наружного края вспомогательного колеса над поверхностью головки рельса будет сопоставимо с радиусом этого колеса, а эффективность боковой стабилизации останется достаточно большой (0,87 по сравнению с идеальным случаем строго горизонтальных направляющих колес «монорельса»).
Нижняя дополнительная плоскость 4 необходима для того, чтобы сформировать для вспомогательных колес точную копию головки стандартного рельса. Вполне возможно выбрать размеры таким образом, чтобы «наклонная головка» соответствовала одному из ныне существующих типоразмеров, например, рельса для узкоколейных железных дорог. Соответственно, появится возможность использования стандартных колёс.
Главным затруднением в транспортной системе на основе предлагаемого рельса является устройство стрелочных переходов. Указанная проблема характерна для всех типов «монорельсов», разновидностью которых, по сути, является настоящее решение.
Формула изобретения
Рельс с двумя расположенными под углом плоскостями качения, отличающийся тем, что в поперечном сечении головка рельса выполнена асимметричной, причем внутренняя относительно ходового пути часть головки рельса по форме соответствует стандартному рельсу, тогда как внешняя часть головки рельса имеет наклонную плоскость для качения вспомогательных колес, а также снизу имеет дополнительную плоскость, расположенную к наклонной плоскости качения под углом 92-93°.
РИСУНКИ
|
|