|
|
(21), (22) Заявка: 2007112351/11, 03.04.2007
(24) Дата начала отсчета срока действия патента:
03.04.2007
(43) Дата публикации заявки: 10.09.2007
(46) Опубликовано: 10.05.2009
(56) Список документов, цитированных в отчете о поиске:
RU 2006114644 А, 10.09.2006. «Правила устройства и безопасной эксплуатации грузоподъемных кранов» ПБ-10-14-92, утвержденные Гостехнадзором России 30.12.1992, Приложение 7 ст.4.15.7. «Требования к устройству и безопасной эксплуатации рельсовых путей козловых кранов» РД 10-117-95, утвержденные постановлением ГосгортехнадзораРоссии 08.08.1995 41, приложение 7, таблицы П.7.1 и П.7.2. SU 1346721 A1, 23.10.1987. SU 1331934 A1, 23.08.1987. RU 2178101 C1, 10.01.2002. RU 2086408 C1, 10.08.1997.
Адрес для переписки:
614045, г.Пермь, ул. Осинская, 2а-12, А.Т. Зиньковскому
|
(72) Автор(ы):
Зиньковский Александр Тихонович (RU)
(73) Патентообладатель(и):
Зиньковский Александр Тихонович (RU)
|
(54) ЖЕЛЕЗНАЯ ДОРОГА И СПОСОБ ЕЕ ЭКСПЛУАТАЦИИ
(57) Реферат:
Изобретения относятся к устройству железной дороги и могут быть использованы при строительстве и ремонте аттракционов, отдельных участков железнодорожных и трамвайных путей. На железной дороге, содержащей две направляющие колеи, образованные состыкованными с зазором рельсами, по меньшей мере, на одном участке, как минимум, одной направляющей колеи рельсы содержат углубления на поверхности катания на расстоянии друг от друга, соответствующем при определенной скорости движения транспортного средства тональности, громкости звука, размеру такта, темпу, ритму и другим характеристикам музыкальной мелодии, создаваемой перестуком колес. Способ эксплуатации железной дороги включает движение транспортных средств, происходящее с заранее заданной скоростью. Технический результат изобретения заключается в расширении потребительских свойств железной дороги, создании большего комфорта пассажирам и пользователям аттракционов. 2 н.п.ф-лы, 1 ил.
Изобретение относится к устройству железной дороги и может быть использовано, по меньшей мере, на отдельных участках железнодорожных и трамвайных путей, а также при строительстве и ремонте аттракционов.
Известна железная дорога, содержащая рельсы, состыкованные с зазором (заявка на изобретение РФ 2006114644 от 28.04.2006), при этом перестук колес при движении по зазорам соответствует тональности, громкости звука, размеру такта, темпу, ритму и другим характеристикам музыкальной мелодии.
Ее недостатком является высокая трудоемкость изготовления, связанная с разной длиной рельсов, снижение безопасности движения.
Указанная железная дорога является ближайшим аналогом предлагаемого изобретения.
Технический результат изобретения заключается в расширении потребительских свойств дороги, создании большего комфорта пассажирам и пользователям аттракционов.
Технический результат достигается за счет того, что на железной дороге, содержащей две направляющие колеи, образованные состыкованными с зазором рельсами, по меньшей мере, на одном участке, как минимум, одной направляющей колеи рельсы содержат углубления на поверхности катания на расстоянии друг от друга, соответствующем при определенной скорости движения транспортного средства тональности, громкости звука, размеру такта, темпу, ритму и другим характеристикам музыкальной мелодии, создаваемой перестуком колес.
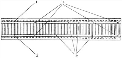
На чертеже показана железная дорога, вид сверху.
Железная дорога содержит рельсовые колеи 1 и 2 с зазорами 3 и углублениями 4, расположенными друг от друга на разном, соответствующем при определенной скорости движения транспортного средства тональности, громкости звука, размеру такта, темпу, ритму и другим характеристикам музыкальной мелодии, создаваемой перестуком колес. При этом углубления имеют различную форму, длину, ширину, глубину, т.е. те размеры, от которых также зависит, какая мелодия должна быть исполнена перестуком колес и при какой скорости транспортного средства. При этом указанные размеры не должны снижать условия безопасной эксплуатации железной дороги. Для этого рельсы в области углублений проходят дополнительное упрочнение. Упрочнение проводится воздействием на указанные участки токами высокой частоты.
Железная дорога эксплуатируется следующим образом.
При отправлении поезда со станции, к примеру, когда скорость еще достаточно небольшая и ничто не угрожает безопасности пассажиров, колеса транспортного средства при прохождении по углублениям и зазорам издают звуки торжественного марша «Прощание славянки». На опасных участках дороги определенный перестук колес (соответствующая музыкальная мелодия) будет предупреждать об опасности. На безопасных участках монотонный стук колес заменит приятная мелодия.
При подъезде к станции могут звучать другие звуки, предупреждающие о предстоящей короткой или длительной остановке, необходимости посетить места общего пользования или собрать вещи и попрощаться с попутчиками.
Железная дорога выполняется в разных вариантах, когда:
– торец каждого последующего рельса выполнен ближе к основанию железной дороги, чем торец находящегося в том же зазоре предыдущего рельса;
– углубления содержатся на разных участках направляющей колеи на расстоянии друг от друга, соответствующем звучанию разных музыкальных мелодий при разных скоростях движения транспортного средства;
– углубления имеют разную форму;
– углубления имеют разную глубину;
– углубления выполняются с глубиной h, при этом h R(1-cos arcsin1/2m/R), где m – ширина зазора (расстояние) между рельсами, R – радиус колеса транспортного средства по кругу катания. Указанное соотношение гарантирует, что раскачивания транспортного средства из стороны в сторону не будет, так как «приседание» на углублениях будет не больше, чем на имеющихся между рельсами зазорах;
– углубления имеют разную длину;
– углубления имеют разную ширину;
– дно углублений выполняется в виде горизонтальных и/или наклонных прямых;
– колеса транспортного средства по кругу катания выполнены с разным диаметром.
Способ эксплуатации предлагаемой железной дороги, включающий движение транспортных средств по двум направляющим колеям, отличается тем, что движение транспортных средств происходит с заранее заданной скоростью по направляющим колеям, рельсы которых содержат углубления на поверхности катания, выполненные на определенном расстоянии друг от друга, при котором стук колес при прохождении по углублениям и зазорам соответствует тональности, громкости звука, размеру такта, темпу, ритму и другим характеристикам, по меньшей мере, одной музыкальной мелодии.
Способ эксплуатации железной дороги может предусматривать исполнение мелодий разных народов мира, в зависимости от национальности и предпочтений ее пассажиров.
Предлагаемое техническое решение может быть применено также для контроля скорости движения транспортных средств.
Данное техническое решение особенно актуально в условиях появления частных железных дорог, конкурирующих между собой за предоставление больших удобств пассажирам. Оно может найти применение в городских условиях при прокладке трамвайных путей или строительстве метрополитена, устройстве аттракционов в местах отдыха.
Наибольшее применение оно найдет при создании аттракционов типа «Американские горки» и других, связанных с перемещением по железной дороге и получаемым при этом удовольствии.
Предлагаемое техническое решение промышленно применимо, обладает новизной и для среднего специалиста из уровня техники явным образом не следует.
Формула изобретения
1. Железная дорога, содержащая две направляющие колеи, образованные состыкованными с зазором рельсами, и предназначенная для использования в аттракционах, отличающаяся тем, что, по меньшей мере, на одном участке как минимум одной направляющей колеи рельсы содержат углубления на поверхности катания на расстоянии друг от друга, соответствующем при определенной скорости движения транспортного средства характеристикам музыкальной мелодии, создаваемой перестуком колес.
2. Способ эксплуатации железной дороги по п.1, включающий движение по ней транспортных средств, отличающийся тем, что движение транспортных средств, по меньшей мере, на одном участке происходит с заранее заданной скоростью.
РИСУНКИ
|
|