|
|
(21), (22) Заявка: 2007112589/02, 04.04.2007
(24) Дата начала отсчета срока действия патента:
04.04.2007
(43) Дата публикации заявки: 10.10.2008
(46) Опубликовано: 10.05.2009
(56) Список документов, цитированных в отчете о поиске:
RU 2136788 C1, 10.09.1999. RU 2166570 C1, 10.05.2001. WO 03054253 A, 03.07.2003. US 4554057 A, 19.11.1985.
Адрес для переписки:
440605, г.Пенза, пр. Байдукова/ул. Гагарина, 1а/11, Пензенская государственная технологическая академия
|
(72) Автор(ы):
Чуфистов Олег Евгеньевич (RU), Борисков Дмитрий Евгеньевич (RU), Чуфистов Евгений Алексеевич (RU)
(73) Патентообладатель(и):
Пензенская государственная технологическая академия (RU)
|
(54) СПОСОБ ПОЛУЧЕНИЯ ПОКРЫТИЙ
(57) Реферат:
Изобретение относится к области гальванотехники и может быть использовано в машиностроении и приборостроении. Технический результат: повышение производительности оксидирования, увеличение толщины, твердости и пробойного напряжения покрытий. Способ включает оксидирование продолжительностью 30-85 минут в водном электролите, содержащем едкое кали 3,0-5,0 г/л и борную кислоту 20,0-40,0 г/л, при плотности электрического тока 25-35 А/дм2 и последующий нагрев деталей до температур не ниже 500°С, при этом электролит дополнительно содержит фотосенсибилизатор синглетного кислорода метиленовый голубой 0,5-0,8 г/л, а оксидирование проводят с вращательным и поступательным движениями деталей при подаче на их оксидируемые поверхности кислорода под давлением через жиклер с воздействием на выходящую из отверстия жиклера струю кислорода лазерным излучением на расстоянии 1-2 мм от оксидируемой поверхности. 2 табл., 1 ил.
Предлагаемое изобретение относится к области обработки поверхностей деталей и может быть использовано в машиностроении и других отраслях промышленности.
Из источников патентной информации известен способ получения покрытий на деталях из алюминиевых сплавов, включающий оксидирование в водных растворах кислот с последующим нагревом [Патент RU 2081947. Способ получения покрытий. Атрощенко Э.С., Розен А.Е., Казанцев И.А.] [1]. Однако получаемые покрытия имеют толщину не более 10-15 мкм, что не позволяет использовать их для упрочнения поверхностей деталей.
Также известен способ получения покрытий на деталях из алюминиевых сплавов, включающий оксидирование в электролите, содержащем едкое кали и борную кислоту, последующее удаление наружной части покрытия и дальнейший нагрев до температур не ниже 490°С [Патент на изобретение 2166570. Способ получения покрытий. Атрощенко Э.С., Чуфистов О.Е., Казанцев И.А., Дрязгин В.А., Симцов В.В.] [2]. Однако получаемые покрытия после удаления наружной части имеют толщину не более 190 мкм и напряжение пробоя не более 2850 В.
В качестве прототипа заявляемого способа выбран способ получения покрытий на деталях из алюминиевых сплавов, включающий оксидирование в электролите, содержащем едкое кали и борную кислоту, и последующий нагрев до температур не ниже 500°С [Патент RU 2136788. Способ получения покрытий. Атрощенко Э.С., Чуфистов О.Е., Казанцев И.А., Дурнев В.А.] [3]. Однако данный способ имеет невысокую производительность, а значения толщины, напряжения пробоя и твердости данных покрытий не превышают соответственно 200 мкм, 3000 В и 17200-234000 МПа (твердость увеличивается по толщине покрытий в направлении от наружной поверхности к границе с металлом).
Технический результат предлагаемого изобретения заключается в комплексом повышении производительности оксидирования, увеличении толщины, твердости и напряжения пробоя покрытий.
Поставленная цель достигается тем, что согласно предлагаемому способу осуществляется оксидирование продолжительностью 40-90 минут в электролите, содержащем едкое кали 3-5 г/л и борную кислоту 20-40 г/л, при плотности электрического тока 25-35 А/дм2 и последующий нагрев до температур не ниже 500°С, причем оксидирование проводится при добавлении в электролит фотосенсибилизатора синглетного кислорода метиленового голубого 0,5-0,8 г/л с вращательным и поступательным движениями деталей при подаче на их оксидируемые поверхности кислорода под давлением через жиклер с воздействием на выходящую из отверстия жиклера струю кислорода лазерного излучения на расстоянии 2-4 мм от оксидируемой поверхности.
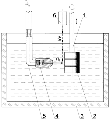
Способ осуществляется согласно схеме, представленной на чертеже.
На валу привода поступательного и вращательного движения 1 закрепляют оксидируемую деталь 2, контактируют ее с анодом и погружают в стеклянную ванну 3 с водным раствором электролита, основными компонентами которого являются борная кислота (20,0-40,0 г/л), едкое кали (3,0-5,0 г/л) и метиленовый голубой (0,5-0,8 г/л). Деталь располагается в ванне так, чтобы оксидируемая поверхность в любой момент движения находилась на расстоянии 10-15 мм от заранее установленного жиклера 4 из нержавеющей стали, контактирующего с катодом и соединенного с трубопроводом 5, через который в жиклер подается под давлением кислород. Источник лазерного излучения 6 устанавливается так, чтобы излучение воздействовало на струю кислорода, выходящую из калиброванного отверстия жиклера и направленную на оксидируемую поверхность детали, на расстоянии 2-4 мм от данной поверхности.
Затем одновременно пропускают по цепи электрический ток, подают кислород через жиклер, запускают привод поступательного и вращательного движения с целью перемещения детали относительно жиклера и направляют лазерное излучение на струю кислорода.
При прохождении электрического тока из электролита выделяется атомарный кислород, который взаимодействует с алюминием, содержащимся в наружных слоях обрабатываемой детали, окисляя его с образованием оксидного слоя (покрытия).
Дополнительная подача кислорода через жиклер одновременно обеспечивает перемешивание, насыщение кислородом и снижение температуры электролита вблизи оксидируемой поверхности. Присутствующий в растворе метиленовый голубой является фотосенсибилизатором синглетного кислорода [4], под воздействием лазерного излучения он переходит в возбужденное состояние:

где С и *С – молекула фотосенсибилизатора соответственно в исходном и возбужденном состоянии; h – энергия кванта лазерного излучения.
Возбужденная молекула фотосенсибилизатора взаимодействует с молекулярным кислородом, обеспечивая его перевод в синглетное (возбужденное) состояние [4]:

где О2 и 1O2– кислород соответственно в молекулярном и синглетном состоянии.
Синглетный кислород является более сильным окислителем, чем молекулярный кислород [4]. Попадая на оксидируемую поверхность, он существенно ускоряет процесс формирования покрытия. Поэтому покрытия повышенной толщины формируются быстрее, следовательно, менее продолжительное время растворяются электролитом и имеют пониженную пористость. Сочетание повышенной толщины и пониженной пористости покрытий обеспечивает и повышенные значения их твердости и напряжения пробоя. Вращательные и поступательные движения детали в процессе оксидирования обеспечивают равномерное распределение кислорода (в том числе синглетного) по оксидируемой поверхности и, следовательно, более равномерные значения толщины, твердости и напряжения пробоя покрытий по всей оксидируемой поверхности.
По окончании оксидирования детали извлекают из ванны с электролитом, промывают водой, помещаются в камеру печи, нагретую до температуры не ниже 500°С, и выдерживают в течение 50-100% от времени оксидирования.
По сравнению с прототипом [3] предлагаемый способ позволяет:
– повысить производительность оксидирования не менее чем на 12%;
– повысить толщину покрытия не менее чем на 7%;
– повысить твердость покрытия не менее чем на 5%;
– повысить пробойное напряжение покрытия не менее чем на 8%.
Пример. Восемь групп одинаковых по форме и размерам цилиндрических деталей (по пять деталей в каждой группе), изготовленных из алюминия АДО, подвергали обработке, включающей оксидирование и последующий нагрев. Оксидирование всех групп деталей проводилось при плотности тока на аноде 30 А/дм2 и средней температуре электролита в ванне 15°С в течение 90 минут при возвратно-поступательных и вращательных движениях деталей. Причем оксидирование деталей первой, второй, третьей и четвертой групп проводилось в водном растворе, содержащем только едкое кали (5,0 г/л) и борную кислоту (20,0 г/л), а оксидирование деталей пятой, шестой, седьмой и восьмой групп проводилось в водном растворе, содержащем едкое кали (5,0 г /л), борную кислоту (20 г/л) и метиленовый голубой (0,8 г/л).
При оксидировании деталей второй, четвертой, шестой и восьмой групп на их поверхности через жиклер под давлением подавался кислород, имеющий температуру 10°С, при его расходе 0,6 м3/мин на один квадратный метр оксидируемой поверхности и при расстоянии между оксидируемой поверхностью и жиклером 10-12 мм.
При оксидировании деталей третьей, четвертой, седьмой и восьмой групп применялось лазерное излучение от точечного источника «Квант». Причем при оксидировании деталей четвертой и восьмой групп излучение воздействовало на струю кислорода, выходящую из отверстия жиклера и направленную на оксидируемую поверхность детали, на расстоянии 3 мм от данной поверхности. При оксидировании деталей третьей и седьмой групп кислород через жиклер не подавался, поэтому лазерное излучение воздействовало на электролит на расстоянии 3 мм от оксидируемой поверхности.
После оксидирования детали всех групп промывали водой, помещали в печь, нагретую до 500°С, и выдерживали 90 минут. Условия обработки деталей всех групп отражены в таблице 1.
Затем по стандартным методикам [5, 6] измеряли толщину, твердость и пробойное напряжение покрытий. Результаты испытаний, приведенные в таблице 2, указывают, что предлагаемый способ позволяет получать покрытия с повышенными значениями толщины, твердости и пробойного напряжения.
| Таблица 1 |
| Условия обработки деталей |
группы деталей |
условия оксидирования |
последующая термическая обработка |
примечание |
| компоненты электролита |
подача кислорода |
лазерное излучение |
| 1 |
едкое кали, борная кислота |
нет |
нет |
есть |
прототип |
| 2 |
едкое кали, борная кислота |
есть |
нет |
есть |
– |
| 3 |
едкое кали борная кислота |
нет |
есть |
есть |
– |
| 4 |
едкое кали, борная кислота |
есть |
есть |
есть |
– |
| 5 |
едкое кали, борная кислота, метиленовый голубой |
нет |
нет |
есть |
– |
| 6 |
едкое кали, борная кислота, метиленовый голубой |
есть |
нет |
есть |
– |
| 7 |
едкое кали, борная кислота, метиленовый голубой |
нет |
есть |
есть |
– |
| 8 |
едкое кали, борная кислота, метиленовый голубой |
есть |
есть |
есть |
предлагаемый способ |
| Таблица 2 |
| Результаты испытаний характеристик покрытий |
группы деталей |
толщина, мкм |
твердость, МПа |
напряжение пробоя, В |
примечание |
| 1 |
195 |
16900-23100 |
2910 |
прототип |
| 2 |
205 |
18250-23350 |
3020 |
– |
| 3 |
191 |
16400-22900 |
2790 |
– |
| 4 |
200 |
18100-23300 |
3000 |
– |
| 5 |
193 |
16700-23050 |
2880 |
– |
| 6 |
202 |
18200-23350 |
3010 |
– |
| 7 |
190 |
16350-22900 |
2780 |
– |
| 8 |
211 |
19050-23500 |
3180 |
предлагаемый способ |
Применение лазерного излучения без введения в электролит метиленового голубого приводит к снижению толщины, твердости и напряжения пробоя покрытия, поскольку образования синглетного кислорода не происходит, и интенсивность окисления алюминия не изменяется, но увеличивается интенсивность растравливающего действия электролита на покрытия из-за нагрева лазерным излучением.
Максимальное повышение производительности оксидирования, а также максимальное увеличение толщины, твердости и пробойного напряжения покрытий обеспечивается при содержании в электролите метиленового голубого 0,5-0,8 г/л.
Введение в электролит метиленового голубого без использования лазерного излучения также не вызывает повышения толщины, твердости и пробойного напряжения покрытий, поскольку образования синглетного кислорода не происходит, и интенсивность окисления алюминия не возрастает, но увеличивается стоимость электролита.
Нагрев до температур не ниже 500°С с выдержкой при данных температурах обеспечивает фазовый переход гидроксида алюминия, образующегося в результате оксидирования, в оксид, который имеет белее высокие физико-механические свойства. Это позволяет увеличить физико-механические свойства покрытий.
Таким образом, по сравнению с прототипом предлагаемый способ обеспечивает увеличение производительности оксидирования и повышение средних значений толщины, твердости и напряжения пробоя покрытий.
Источники информации
1. Способ получения покрытий. Атрощенко Э.С., Розен А.Е., Казанцев И.А. / Патент на изобретение 2081947.
2. Способ получения покрытий. Атрощенко Э.С., Чуфистов О.Е., Казанцев И.А., Дрязгин В.А., Симцов В.В. Патент на изобретение 2166570.
3. Способ получения покрытий. Атрощенко Э.С., Чуфистов О.Е., Казанцев И.А., Дурнев В.А. / Патент на изобретение 2136788, прототип.
4. Хейнс А. Методы окисления органических соединений: Алканы, алкены, алкины и арены: Пер. с англ. – М.: Мир, 1988. – 400 с.
5. Испытательная техника: Справ, в 2-х т./ Под ред. Клюева В.В. М.: Машиностроение, 1982. – 528 с.
6. ГОСТ 9450-76. Измерение микротвердости вдавливанием алмазных наконечников.
Формула изобретения
Способ получения покрытий на деталях из алюминиевых сплавов, включающий оксидирование продолжительностью 30-85 мин в водном электролите, содержащем едкое кали 3,0-5,0 г/л и борную кислоту 20,0-40,0 г/л, при плотности электрического тока 25-35 А/дм2 и последующий нагрев деталей до температур не ниже 500°С, отличающийся тем, что электролит дополнительно содержит фотосенсибилизатор синглетного кислорода метиленовый голубой 0,5-0,8 г/л, а оксидирование проводят с вращательным и поступательным движениями деталей при подаче на их оксидируемые поверхности кислорода под давлением через жиклер с воздействием на выходящую из отверстия жиклера струю кислорода лазерным излучением на расстоянии 1-2 мм от оксидируемой поверхности.
РИСУНКИ
|
|