|
|
(21), (22) Заявка: 2007101401/02, 16.01.2007
(24) Дата начала отсчета срока действия патента:
16.01.2007
(43) Дата публикации заявки: 27.07.2008
(46) Опубликовано: 10.05.2009
(56) Список документов, цитированных в отчете о поиске:
RU 2277598 C1, 10.06.2006. RU 2213792 C1, 10.10.2003. RU 2176277 C1, 27.11.2001. SU 537459 A, 30.11.1976. DE 2222190 B2, 16.11.1972.
Адрес для переписки:
142101, Московская обл., г. Подольск, ул.Плещеевская, 15, ОАО “Подольск-Цемент”, А.Р.Камышановой
|
(72) Автор(ы):
Бурлов Юрий Александрович (RU), Бурлов Иван Юрьевич (RU), Бурлов Александр Юрьевич (RU)
(73) Патентообладатель(и):
Бурлов Юрий Александрович (RU)
|
(54) ПЛАЗМЕННЫЙ ТЕРМОДЕКАРБОНИЗАТОР РЕАКТОР-СЕПАРАТОР (ТДРС)
(57) Реферат:
Изобретение относится к электродуговым плазменным реакторам-сепараторам для получения расплава тугоплавких, металлических и неметаллических материалов и возгонов с высокой степенью вязкости расплава и может быть использовано в цементной, химической отраслях промышленности и металлургии. Реактор-сепаратор снабжен теплообменными устройствами первой и второй стадии для передачи и возврата тепла в процесс производства, причем теплообменное устройство первой стадии выполнено в виде шнекового смесителя для одновременной сушки и нагрева сырьевой шихты до 180-250°С горячим клинкером, поступающим с гранулятора, и дальнейшей передачи нагретой шихты в теплообменное устройство второй стадии, а теплообменное устройство второй стадии выполнено в виде полого корпуса, охватывающего цилиндрическую камеру и нагревающего сырьевую шихту до 400-800°С для дальнейшей передачи ее в ТДРС на поверхность расплава и в полую перегородку, а также дополнительными малыми электродами, погруженными в расплав и установленными в боковых стенках цилиндрической камеры. Изобретение позволяет исключить потери тепла в окружающую среду, максимально использовать энергию экзотермических реакций, минимально потреблять энергоресурсы, необходимые для клинкерообразования, а также повысить качество цементных клинкеров. 3 ил.
Изобретение относится к электродуговым плазменным реакторам-сепараторам для одновременного расплава тугоплавких, металлических и неметаллических материалов и возгонов, преимущественно специальных видов клинкеров искусственных вяжущих, имеющих высокую степень вязкости расплава и сопутствующих цветных металлов, и может быть использовано в цементной, химической отраслях промышленности и металлургии.
Изобретение позволяет значительно снизить энергозатраты за счет сушки и подогрева сырьевой смеси, используя для этого тепло самого реактора, максимально увеличить эффективность работы всего оборудования, резко повысить производительность реактора-сепаратора и качество цементных клинкеров, исключить цикличность работы.
Предлагаемое изобретение относится к устройствам для одновременного получения тугоплавких, металлических и неметаллических материалов и возгонов, преимущественно специальных видов клинкеров искусственных вяжущих, например цементного клинкера, имеющих высокую степень вязкости расплава и сопутствующих сплавов металлов, и может быть использовано в цементной промышленности.
Известно устройство для плавления материала, преимущественно цементного клинкера, содержащее камеру, цельные горизонтальные стержневые электроды, отверстия для ввода отходов и пара, отверстие для вывода отходящих газов (Патент РФ 157060 С2, Н05В 7/00 от 15.12.1998 г. «Плазмохимический реактор» (автор Предтеченский М.Р.)).
Недостатками указанного устройства является низкий ресурс плазматрона (эрозия электродов), низкая производительность агрегата при использовании промышленных отходов, цикличность работы и большой расход энергоресурсов.
Известен плазменный реактор для плавления материала, преимущественно цементного клинкера, включающий цилиндрическую камеру, полые стержневые электроды, проходящие в камеру сквозь верхнюю ее крышку, отверстия для ввода реагентов в своде камеры и вывода в поде, две электромагнитные катушки, охватывающие камеру и расположенные одна над другой по ее высоте (Патент 2213792, С22В 9/22, F27B 14/04 от 10.10.2003 г. (авторы Ю.А.Бурлов и др.)).
Недостатком указанного способа является быстрый износ электродов и необходимость остановки агрегата на их замену.
Наиболее близким по технической сущности и достигаемому результату является плазменный реактор для плавления материала, преимущественно цементного клинкера, включающий водоохлаждаемую цилиндрическую камеру, стержневые полые графитовые электроды, проходящие в камеру сквозь верхнюю крышку, четыре боковых питателя и один верхний питатель для ввода сырьевой шихты, электромагнитную катушку, продольную полую охлаждаемую изнутри сырьевым материалом перегородку, которая разделяет камеру на две равные части и имеет горизонтальные щелевые отверстия для выхода материала и создания дополнительного гарнисажа и отверстие для дуги, расположенное над поверхностью вращающегося в горизонтальной плоскости расплава для эвакуации твердого сырья из-под электродов и перемещения его в зону горения дуги, отверстия для вывода готового материала (Патент 2277598, С22В 9/22, F27B 14/04 от 11.11.2004 г.(авторы Бурлов Ю.А. и др.)).
Недостатком данного изобретения является большой расход энергоресурсов.
В основу настоящего изобретения положена задача исключения потерь тепла в окружающую среду, максимального использования энергии экзотермических реакций, минимального потребления энергоресурсов, необходимых для клинкерообразования, значительного повышения производительности реактора и качества цементных клинкеров.
Согласно предлагаемому изобретению задача решается тем, что плазменный термодекарбонизатор реактор-сепаратор (ТДРС) для одновременного получения расплава тугоплавких неметаллических материалов и металлических материалов и возгонов, содержащий цилиндрическую камеру, стержневые полые электроды с теплообменными элементами, канал для эвакуации отходящих газов и возгонов, электромагнитную катушку, создающую вращение расплава в горизонтальной плоскости для эвакуации сырья из-под электродов и перемещения его в зону горения дуги, боковые питатели с каналами для ввода части подогретого сырьевого материала и/или создания гарнисажа на футеровке в виде конусных откосов на границе зеркала расплава, продольную полую охлаждаемую изнутри сырьевым материалом при помощи двух центральных смонтированных в ней питателей перегородку, разделяющую по всей высоте нижнюю часть камеры на две равные части и проходящую между погруженными в расплав стержневыми полыми электродами, отверстием для дуги в перегородке, расположенным над поверхностью расплава, канал для вывода расплавов тугоплавких неметаллических и металлических материалов, расположенный в донной части камеры, гранулятор для охлаждения и грануляции расплава тугоплавких неметаллических материалов, два теплообменных устройства первой и второй стадии для передачи и возврата тепла в процесс производства, причем теплообменное устройство первой стадии выполнено в виде шнекового смесителя для одновременной сушки и нагрева сырьевой шихты до 180-250°C горячим клинкером, поступающим с гранулятора, и дальнейшей передачи нагретой шихты в теплообменное устройство второй стадии, а теплообменное устройство второй стадии выполнено в виде полого корпуса, охватывающего цилиндрическую камеру и нагревающего сырьевую шихту до 400-800°С, а также дополнительные малые электроды, погруженные в расплав и установленные в боковых стенках цилиндрической камеры.
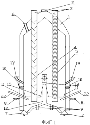
Плазменный термодекарбонизатор реактор-сепаратор (ТДРС) включает (см. фиг.1) теплообменник 1 второй стадии, являющийся полым корпусом реактора и состоящий из внутренней несущей части, внешней части футерованного корпуса и заполнителя (сырьевая шихта) полости, которая при непрерывной работе питателя 2 движется с верхней части корпуса в нижнюю. Теплообменник 1 второй стадии охватывает цилиндрическую камеру вокруг наружного корпуса реактора непрерывного действия для передачи тепла от корпуса реактора с температурой 400-800°С сырьевой шихте, стержневые полые электроды 3, проходящие в камеры сквозь верх полого корпуса, теплообменные элементы в одном из электродов 3 выполнены в виде наклонных пересыпных полок 4, задерживающих падение сырьевого материала и вмонтированных в полости электродов 3, теплообменные элементы второго электрода выполнены в виде шнека 5, канал 6 для эвакуации отходящих газов и возгонов, отверстия 7 в донной части для вывода тугоплавких металлических материалов из камеры, электромагнитную катушку 8, создающую вращение расплава в горизонтальной плоскости для эвакуации сырья из-под электродов 3 и перемещения его в зону горения дуги, каналы 9 для вывода более легкого вяжущего вещества (тугоплавких неметаллических материалов), расположенные между отверстиями 7 для вывода расплава тугоплавких металлических материалов, семь боковых питателей 10 (1′, 2′, 3′, 4′, 5′, 6′, 7′) с каналами для ввода части подогретого в полости теплообменника 1 второй стадии сырьевого материала в зону горения реактора и создания гарнисажа 11 на футеровке в виде конусных откосов на границе зеркала расплава и при необходимости при реверсе питателей, подаче подогретого материала через питающие электроды 3 в полость реактора. Полую продольную охлаждаемую сырьевой шихтой со смонтированными в ней питателями 10 (7′) перегородку 12, разделяющую нижнюю часть реактора на две равные камеры и находящуюся между погруженными в расплав стержневыми полыми электродами 3 с отверстием 13 для дуги, расположенным над поверхностью расплава, которая снабжена горизонтальными щелевыми отверстиями 14 с направляющими для выхода материала и создания дополнительного гарнисажа 15 в виде конусных откосов на границе зеркала расплава.
Гранулятор 16 смонтирован под реактором для охлаждения и грануляции расплава тугоплавких неметаллических материалов, выполненных в виде охлаждаемых изнутри металлических цилиндров, вращающихся вокруг своей оси в противоположные стороны относительно друг друга, дробилку (условно не показана) и шнековый смеситель, являющийся теплообменником 17 первой стадии, для транспортирования и передачи тепла от предварительно дробленого охлаждающегося клинкера с температурой 1000-1200°С сырьевой шихте с одновременной сушкой и нагреванием до температуры 180-250°С, которая при помощи вибросита и/или виброгрохота 18 отделяется от горячего клинкера и подается через питатель 2 в полость теплообменника 1 второй стадии, огненно-жидкие шлаки температурой до 1800°С подают питателем 19 через канал, расположенный в стенке кожуха, через графитовые окна 20 проходят две штанги 21, при помощи которых происходит пуск реактора, дополнительные малые электроды 22 выполняют функцию основных электродов на момент замены последних.
Плазменный термодекарбонизатор реактор-сепаратор (ТДРС) работает следующим образом.
Питание реактора производят через электроды 3 сырьевой шихтой, подогретой до 400-800°С. Подогрев сырьевой шихты первоначально осуществляется в теплообменнике 17 первой стадии, представляющем собой шнековый смеситель непрерывного действия, который служит для передачи тепла от предварительно дробленого охлаждающегося клинкера с температурой 1000-1200°С сырьевой шихте с температурой 5-20°С посредством полного соприкосновения материалов. При совместном перемешивании клинкера и сырьевой шихты за счет разности температур шихта нагревается до 180-250°С. Клинкер же получают в реакторе из клинкерного расплава, который выливают в гранулятор 16 для утилизации теплоты и его грануляции. Гранулятор 16 выполнен в виде вращающихся вокруг своей оси в противоположные стороны друг от друга водоохлаждаемых изнутри металлических цилиндров. Затем отобранная при помощи вибросита или/и виброгрохота 18 подогретая до 180-250°С шихта непрерывно подается питателем 2 в полость корпуса реактора, который служит теплообменником 1 второй стадии. Сырьевая шихта поступает в полый корпус через питатель 2, охлаждает стенки реактора, сама при этом нагревается до 400-800°С и боковыми питателями 10 (1′, 2′, 3′, 4′, 5′, 6′, 7′) вводится по каналам, расположенным в стенках корпуса под углом 90° на одной горизонтальной плоскости относительно друг друга, в реактор на поверхность расплава для создания гарнисажной футеровки из самого материала на границе зеркала расплава, в результате чего образуется гарнисаж 11 в виде конусных откосов на зеркале расплава, тем самым исключается термохимическая коррозия футеровки. В полую перегородку 12 для ее охлаждения при помощи питателя 10 (7′) также подается подогретая до 400-800°С сырьевая шихта, перегородка 12 снабжена горизонтальными щелевыми отверстиями 14 (см. фиг.3) с направляющими для подачи материала и создания дополнительного гарнисажа 15 в виде конусных откосов на границе зеркала расплава. При реверсе питателей 10 (1′, 2′, 3′, 4′, 5′, 6′, 7′) сырьевая шихта, нагретая до 400-800°С, подается через электроды 3 в реактор. Основное питание реактора производится через электроды 3 подогретой сырьевой шихтой (400-800°С). Вводимая подогретая до 400-800°С сырьевая шихта содержит в расчетном количестве химические соединения, обеспечивающие при их плавлении получение искусственных вяжущих, например цементного клинкера.
При применении в качестве сырья отходов, например, химических производств, а также отходов металлургических производств в виде огненно-жидких шлаков в них содержится некоторое количество цветных металлов. Огненно-жидкие шлаки температурой до 1800°С подают питателем 19 через канал, расположенный в стенке корпуса. Вместе с тем поступает дополнительное тепло, резко снижающее энергетические затраты и повышающее производительность реактора и качество цементных клинкеров.
Концы электродов 3 внутри реактора в зависимости от режима поднимают или погружают в расплав на глубину (+50 мм)÷(-50 мм) выше или ниже зеркала расплава.
Для старта плазменного реактора в камеру плавления, разделенную продольной перегородкой 12 на две равные части, через графитовые окна 20, вмонтированные в стене камеры плавления, проходит штанга 21 до электрода 3 с зарядом “+” и образует электрическую дугу. Затем в одну камеру подают питателем 10 (1′) сырьевой материал до получения расплава. Штангу 21 поднимают вверх до уровня отверстия 13 в перегородке 12, тем самым растягивая дугу. Подключаются питатели 10 (2′, 3′). Аналогично проводят и с другой камерой, т.е. штанга 21 проходит до электрода 3 с зарядом “-” и образует электрическую дугу. Подают питателем 10 (6′) сырьевой материал до получения расплава. Подключаются питатели 10 (4′, 5′). Дуга зажигается между этими камерами и проходит сквозное цилиндрическое отверстие 13 в перегородке 12, куда подается плазмообразующий газ. Подключается питатель 2 для подачи подогретого до 180-250°С сырьевого материала в полость корпуса реактора. Для стабилизации дугового разряда плазмообразующему газу придается вращение с образованием вихря. Вихрь должен быть таким, чтобы между электрической дугой и стенкой разрядного канала образовался слой плазмообразующего газа с более низкой температурой и, соответственно, более плотный, который изолирует от высокой температуры дуги стенки канала. Плазмообразующий газ поступает в разрядный канал тангенциально и образует там вихрь. За счет этого материал в камере нагревается до температуры плавления. При обжиге клинкера температура расплава достигает 1600-2100°С.
При подъеме расплава выше катушки 8 подается напряжение на ее обмотку. Стенки камеры выполняются из немагнитного материала, например стали, содержащей большое количество никеля, хрома и титана. Образующееся в результате прохождения тока через катушку электромагнитное поле воздействует на расплав, который в жидком состоянии становится токопроводным. За счет этого происходит вращение (перемешивание) расплава в горизонтальной плоскости для эвакуации из-под электродов 3 твердого сырья и перемещения его в зону горения дуги и к каналам 9 для вывода расплава вяжущих в одном направлении (стрелками показано на фиг.2) одновременно в обеих частях камеры. При наборе некоторой массы расплава и разогреве электродов 3 внутри камеры выше 1000°С подают материал через полости электродов. При этом в электроде 3 с зарядом “+” материал пересыпается с полки на полку, которые нагреты до температуры, близкой к температуре электрода. При относительно медленном (по сравнению с вертикальным падением) перемещении материала и непосредственном контакте с нагретой поверхностью полок происходит передача тепла от полок к материалу и последний (предварительно подогретый), доведенный до температуры диссоциации карбонатов, попадает на поверхность расплава и расплавляется с большей скоростью, т.к. в этом случае идут уже экзотермические реакции, проходящие с выделением тепла. При этом производительность камеры плавления повышается. Тот же процесс подогрева сырьевого материала происходит и в электроде 3 с зарядом “-“, но в этом случае подогрев происходит при движении материала по винтовой поверхности. В результате перемешивания расплава за счет вращающегося магнитного поля, создаваемого трехфазной катушкой, происходит гомогенизация расплава, что активно способствует увеличению производительности реактора и повышению качества продукции. Скорость перемешивания задается изменением частоты переменного тока и регулируется в зависимости от вязкости расплава, а последняя – от его температуры. При расплавлении шихты для получения цементного клинкера, в которой содержится небольшое количество редких металлов, некоторые из них, температура плавления которых несколько выше клинкерного расплава (кроме вольфрама и молибдена), оседают в донной части камеры над клапанами и периодически выпускаются в изложницы. Осаждение металлов идет за счет того, что их плотность минимум в два раза выше клинкерного расплава.
Пары легковозгоняемых редких металлов (например, лития) вместе с диоксидом углерода, выделяемым в результате декарбонизации карбонатных компонентов клинкерной шихты, эвакуируются под действием разряжения, создаваемого в канале 6, в специальные разделительные устройства, где пары оксидов металлов конденсируются, а диоксид углерода может использоваться для получения сухого льда. Возгоны оксидов металлов передаются на дальнейшую переработку для получения кондиционного продукта. Для непрерывного процесса производства при замене основных электродов 3 последние заменяют малыми электродами 22 и с помощью силовой коммутационной аппаратуры включают их в работу.
Таким образом, предлагаемое устройство за счет компактности, использования непрерывного процесса производства, подогрева движущейся в полости корпуса сырьевой шихты и охлаждения при этом стенок реактора, охлаждения клинкера этой же сырьевой шихтой позволяет свести к минимуму энергозатраты, значительно увеличить производительность реактора, а также улучшить качество клинкера и наряду с этим позволяет получать попутные продукты в виде их расплава и возгонов.
Формула изобретения
Плазменный термодекарбонизатор реактор-сепаратор (ТДРС) для одновременного получения расплава тугоплавких неметаллических материалов и металлических материалов и возгонов, содержащий цилиндрическую камеру, стержневые полые электроды с теплообменными элементами, канал для эвакуации отходящих газов и возгонов, электромагнитную катушку, создающую вращение расплава в горизонтальной плоскости для эвакуации сырья из-под электродов и перемещения его в зону горения дуги, боковые питатели с каналами для ввода части подогретого сырьевого материала и/или создания гарнисажа на футеровке в виде конусных откосов на границе зеркала расплава, продольную полую охлаждаемую изнутри сырьевым материалом при помощи двух центральных, смонтированных в ней питателей, перегородку, разделяющую по всей высоте нижнюю часть камеры на две равные части и проходящую между погруженными в расплав стержневыми полыми электродами, отверстием для дуги в перегородке, расположенным над поверхностью расплава, расположенные в донной части камеры каналы для вывода расплавов тугоплавких неметаллических и металлических материалов, гранулятор для охлаждения и грануляции расплава тугоплавких неметаллических материалов с получением клинкера, отличающийся тем, что ТДРС снабжен дополнительными малыми электродами, погруженными в расплав и установленными в боковых стенках цилиндрической камеры, и теплообменными устройствами первой и второй стадии для передачи и возврата тепла в процесс производства, причем теплообменное устройство первой стадии выполнено в виде шнекового смесителя для одновременной сушки и нагрева сырьевой шихты до 180-250°С горячим клинкером, поступающим с гранулятора, и дальнейшей передачи нагретой шихты в теплообменное устройство второй стадии, а теплообменное устройство второй стадии выполнено в виде полого корпуса, охватывающего цилиндрическую камеру и нагревающего сырьевую шихту до 400-800°С для дальнейшей передачи ее в ТДРС на поверхность расплава и в полую перегородку.
РИСУНКИ
|
|